by
DURBIN C. TABB and NEIL KENNY
Institute of Marine Sciences, University of Miami
Miami, Florida, 33149, U.S.A.
Abstract
A brief history of the live bait shrimp fishery of Florida is given as well as descriptions of the methods of capture of the three major bait species.
The present fishery is growing in direct proportion to the growth of tourism and recreational fishing in Florida and it is expected that the bait shrimp fishery will capture more and more of the same shrimp that traditionally have been taken on the offshore grounds.
The major portion of the shrimp catch from Florida estuarine areas is now being caught by roller-frame trawls. The roller-frame trawl evolution is described and construction features of the most advanced design given.
The roller-frame trawls are probably not destructive to the estuarine habitat. Methods of fishing, handling the catch, and kinds of organisms caught are described.
The roller-frame trawls of modern design are relatively inexpensive and easy to construct. They should be adaptable to a wide variety of uses in estuarine areas of the world where shrimp stocks are not now being exploited.
Contribution No. 1070 from the Institute of Marine Sciences, University of Miami, Miami, Florida 33149.
BREF HISTORIQUE DES PECHERIES DE CREVETTES UTILISEES COMME APPAT VIVANT EN VIVANT EN FLORIDE ET DESCRIPTION DES ENGINS ET DES METHODES DE PECHE
Résumé
Les auteurs retracent succinctement l'historie des pêches à la crevette utiliseé comme appât vivant en Floride, et décrivent les méthodes de capture des trois principales espèces employées à cette fin.
A l'heure actuelle, cette activité se développe de manière directement proportionnelle à l'expansion du tourisme et de la pêche recréative en Floride, et l'on pense qu'elle aura à son actif une part croissante des crevettes capturées jusqu'ici sur les hauts fonds.
La majeure partie des crevettes capturées dans les estuaries de Floride sont maintenant prises par des chaluts avec des cadres à rouleaux (roller-frame trawls). L'évolution de cette technique est décrite et le document reproduit les plans de construction les plus modernes.
Le chalut avec cadre à rouleaux n'abime sans doute pas l'habitat des estuaires. Les méthodes de pêche, la manutention de la prise et le type d'organisme capturé sont décrits.
Le chalut moderne avec cadre à rouleaux est relativement peu côuteux et facile à construire. Il doit être possible de l'adapter à des usages multiples dans les estuaires où les stocks de crevettes ne sont pas exploités à l'heure actuelle.
BREVE HISTORIA DE LA PESCA DE CAMARON PARA USARLO COMO CEBO VIVO EN FLORIDA, Y DESCRIPCION DE METODOS Y ARTES DE PESCA
Extracto
Se da una breve historia de la pesca del camarón para usarlo como cebo vivo en Florida, así como descripciones de los métodos de captura de las tres principales especies de cebo.
Actualmente la pesca aumenta en relación directa con el crecimiento del turismo y de la pesca recreativa en Florida, esperándose que con la oferta de camarón vivo para cebo, se aumentará la captura de los que tradicionalmente se han pescado en los bancos de alta mar.
La mayor parte de las capturas de camarones en los estuarios de Florida se obtiene con redes de arrastre de marco con rodillos. Se describe la evolución de éstas y se indican las características de la construcción de las más avanzadas.
Las redes mencionadas probablemente no destruyen al habitat del estuario. Se describen los métodos de pesca, la manipulación de la captura, y las clases de organismos capturados.
Las redes de arrastre de marco con rodillos modernas son relativamente baratas y fáciles de construir. Deberían adaptarse a una extensa variedad de usos en las zonas de todos los estuarios del mundo en los que se explotan actualmente poblaciones de camarones.
The valuable offshore fisheries for shrimp, Penaeus setiferus (Linnaeus), P. aztecus Ives, and P. duorarum Burkenroad, of Florida have been studied for about 20 yr (Idyll, 1957; Joyce and Eldred, 1966) but less investigation has been made of the bait fishery conducted in coastal bays, lagoons and estuaries for juveniles of the same species. The bait shrimp fishery has grown rapidly in importance and has reached an efficient stage of development. There is a heavy demand for live bait shrimp by the recreational fishery of Florida, and considerable quantities of dead bait shrimp are also marketed.
Study of the bait shrimp fishery is important for several reasons. It is exploiting the same shrimp as the offshore fleet, and there may be conflict over future division of the catch. Then, anglers are sometimes concerned that damage may be done to the bay habitat and to young sport fish by the bait shrimpers. In addition, the roller-frame trawl now being used by a majority of the bait shrimpers in Florida is an efficient gear which should prove adaptable in tropical estuaries around the world.
Statistics of this fishery are collected by the Florida State Board of Conservation (Welch, 1965; Jones and Smith, 1966). In 1965, bait shrimp were caught and landed in 25 coastal counties of Florida. During that year 94,698,386 live shrimp and 218,000 kg of dead bait shrimp worth near $1,460,000 at the wholesale level were reported. Retail values may be as much as three times that at the wholesale level.
Year-to-year fluctuations in landings from Nassau, Monroe and Santa Rosa counties suggest that annual abundance changes markedly in some areas (Table I). Counties having the largest estuarine areas generally produce the highest catches of bait shrimp. If man alters these estuarine “nursery grounds” by pollution and other adverse activities, both the bait and the offshore fisheries will suffer decreases in catch.
The bait shrimp industry in Florida probably originated from a need by commercial hook and line fishermen for live bait for spotted seatrout, Cynoscion nebulosus (Cuvier), (Tabb, 1960; de Sylva, 1954). Tourists quickly learned of the value of live shrimp for sport angling, and the bait shrimp industry has risen in direct proportion to the increase in tourism in Florida. Until 1954, the bait shrimp fishery was centered in northeastern Florida between Cape Kennedy and Jacksonville. The white shrimp, P. setiferus, was caught most abundantly in the northern part of that sector while brown, P. aztecus, and pink shrimp, P. duorarum, were most important in the southern part. The fishery in northeast Florida operated originally on diurnal white shrimp which were caught by beach seine, cast net and otter trawls. The nocturnal brown and pink shrimp were fished later, using dipnets or channel nets. The latter are conical bags of ¾- to 1-in stretched mesh netting attached to an iron pipe or reinforcing rod frame and suspended in the upper part of the water column from a bridge or from an anchored boat. This type of fishing is most successful during the monthly new and full moon ebb tides. Channel nets (Fig. 1) are still used in various parts of the state.
Dipnets were first used in conjunction with kerosene lanterns but the gear was probably not effective until the development of the “Coleman” gasoline lantern. Thousands of dipnet-Coleman lantern combinations are now in use in the bait shrimp fishery as well as in a rapidly growing recreational shrimp fishery. Although the dipnet fisherman sometimes catches large numbers of shrimp, his catch depends on surface runs of shrimp which are unpredictable; hence this gear cannot supply the present heavy demands of the bait industry.
The pushnet gear was apparently developed in northeast Florida near New Smyrna Beach about 1950 (de Sylva, 1954; Allen and Inglis, 1958). With this gear, one man can capture shrimp day or night, with 8-h catches ranging from 200 to 5,000 shrimp. Catches with the pushnet vary from 6 to as high as 400 shrimp per “push”, depending on season and fishing area. In 1954 an estimated 1,300 people made their living exclusively from bait shrimp in the area between Jupiter and Jacksonville on the Florida east coast; pushnets supplied most of the shrimp taken by these people. The present industry, with its efficient facilities for holding large numbers of shrimp and transporting them elsewhere in the state, began with the pushnet fishery. Many of the present bait shrimp wholesalers started their businesses in the fishing area near New Smyrna Beach and Jacksonville.
TABLE I
Landings of live bait shrimp by counties, in Florida, during the years 1963, 1964 and 1965 (after Joyce and Eldred, 1966)
| County | Numbers of live shrimp | ||
| 1963 | 1964 | 1965 | |
| Bay | 439,453 | 356,999 | 169,372 |
| Charlotte | 23,000 | - | - |
| Citrus | 3,113,030 | 3,826,615 | 944,747 |
| Collier | 16,500 | - | - |
| Dade | 20,812,557 | 24,629,847 | 26,677,448 |
| Dixie | 1,672,150 | 795,300 | 1,435,000 |
| Duval | 211,000 | 276 | 8,312 |
| Escambia | 110,474 | 171,059 | 232,133 |
| Gulf | 106,700 | 197,553 | 254,772 |
| Hernando | 40,100 | 65,000 | - |
| Hillwborough | 7,500 | - | 70,000 |
| Lee | 3,852,595 | 2,411,070 | 3,068,277 |
| Levy | 6,497,917 | 1,938,367 | 94,950 |
| Manatee | 3,227,780 | 2,419,582 | 2,262,370 |
| Martin | 369,450 | 411,410 | 387,000 |
| Monroe | 735,207 | 272,700 | 347,250 |
| Nassau | 285,256 | 585,400 | 128,700 |
| Okaloosa | 33,300 | 22,400 | 3,000 |
| Pasco | 15,612,364 | 14,912,788 | 28,370,133 |
| Pinellas | 25,620,897 | 26,274,528 | 26,680,667 |
| Santa Rosa | 327,231 | 159,307 | 82,588 |
| St. Johns | 19,500 | 6,000 | 12,000 |
| St. Lucie | 234,135 | 1,178,667 | 209,500 |
| Sarasota | 614,000 | 234,250 | 90,300 |
| Volusia | 5,981,325 | 3,969,905 | 3,170,167 |
| Totals | 89,963,421 | 84,839,523 | 94,698,386 |
Since 1954, when the pushnet fishery was at its peak in northeast Florida, the industry has expanded rapidly. Its present important economic status is an outgrowth of the increase in tourism in Florida which began shortly after the second world war. Many tourists come to fish, and spotted seatrout, caught with live shrimp, is a favored species. At present the pink shrimp is believed to be the most heavily exploited bait species, with brown shrimp second. In Dade Country, southeastern Florida, another species of shrimp, Penaeus brasiliensis Latreille, is also important, and is caught with pink shrimp (Saloman, Allen and Costello, 1968).

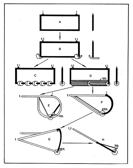
Fig. 1 Diagramatic presentation of the evolution of the roller-frame trawl from the channel net through the “long yoke” and “short yoke” designs and culminating in the Still trawl (H).
A = the channel net, equipped for lifting only
B = the skid-equipped channel net frame (Higman, 1952)
C = the wheel-equipped channel net frame (Higman, 1952)
D = the roller-frame trawl of earliest known design
E = west Florida “long yoke” frame (Woodburn, et al., 1957)
F = Biscayne Bay “long-yoke” frame (Tabb, 1958)
G = Still “short-yoke” trawl frame (Tabb, 1958)
H = Still trawl of 1967 illustrating return to basic simplicity of D but with important modifications
The basic features of the channel net frame have been retained by all these designs and are indicated in black. Design C was a dead end, the wheels apparently failing to provide sufficient bearing surface.
Anglers often complain that the bait shrimpers cause destruction of the bay bottom and of small sport fish. This has stimulated several studies. The bait shrimp fishery of west Florida was described by Woodburn et al. (1957), and by Futch and Beaumariage (1965). Tabb (1958) and Siebenaler (1953) described the Biscayne Bay fishery of southeast Florida, and Higman (1952) reported on shrimping in Florida Bay and the Florida Keys. These studies have concluded that the roller trawls, also called “side-frame” or “roller-frame” trawls, do not harm the estuarine biota.
The fishery of Biscayne Bay, Dade County, Florida, now produces the second largest landings of live bait shrimp in the state, and because it is typical of such fisheries elsewhere, is described below.
Siebenaler (1953) reported 3 bait shrimp boats working in Biscayne Bay during 1952 and 1953. These boats fished mainly from December through March. By 1958, there were 12 boats fishing in the bay, and fishing was year-around (Tabb, 1958). By 1966, bait shrimp boats were placed under a permit system and 46 vessels were fishing in Biscayne Bay. A few of these boats came from as far as Tampa Bay, Charlotte Harbor and Fort Myers on the Florida west coast during times of shrimp scarcity there. These return to their home waters when catches decline in Biscayne Bay.
Until 1958, there were three main fishing areas in Biscayne Bay (Fig. 2). Area A has muddy sand bottom; area B has sparse to heavy seagrass, Thalassia testudinum and Cymodocea manatorum; area C has muddy sand bottom with higher organic content than either A or B, and brown alga is dominant. Bait shrimping has been restricted to the bay south of Rickenbacker Causeway since 1953. There are also prohibitions against fishing too near the mainland shore in areas known to be spotted seatrout fishing grounds.
At present, only areas B and C are being fished heavily; area C now receives the greatest fishing effort because the shrimp are often too small for market in the shallower parts of area B. The otter trawl, once used mainly in area A during winter runs of large shrimp, has almost disappeared from the fishery and has been replaced by the roller-frame trawl described below.
The roller-frame trawl in its earliest form was described by Higman (1952). Since then this type of gear has been constantly modified and improved (Fig. 1). In 1958, Tabb described two types of roller-frame trawls, the “long-yoke” and “short-yoke” roller-frame trawls, that were in common use in Biscayne Bay. These names referred to the configuration of the trawl frames when viewed from the side (Fig. 1, E and F). The long-yoke trawl frames tended to fall forward when used over rough and uneven bottom and when lift was applied at the termination of each drag, causing the towing point to plow the bottom. This increased the amount of debris collected. Because short-yoke trawls of a design invented by Robert Still of Miami (Fig. 1, G) plow less without materially reducing the shrimp catch, fishermen have been required, by State regulation, to use the short-yoke design. The short-yoke trawl did not over-balance the frame because of better weight distribution, and because the towing and lifting points were so close together. Mr. Still subsequently refined his short-yoke design to the most recent configuration (Fig. 1, H).

Fig. 2 The location of bait shrimp fishing grounds of Biscayne Bay, Dade Country, Florida (after Tabb, 1958).
Rollers on the trawls used in the Biscayne Bay fishery prior to 1958 ranged between 4 and 7 in* in diameter, averaging 5 in. Some opposition was expressed against the use of these trawls, observers contending that the slats on the rollers (which were ⅜-in pipe or ½-in solid rods) should be eliminated in favor of smooth rollers, because the slats were thought to damage bay bottom life. But observations have indicated that rollers should be slatted in order that they grip the bottom and turn freely; otherwise they bind and act as scrapers. Rollers of not less than 5 in in diameter are required to prevent bogging and scraping in soft bottom.
The roller-frame trawls now in use in the Florida bait shrimp fishery are efficient, and they catch shrimp with little trash at low operating costs. The trawl is probably the most advanced in the industry, and most fishermen in Biscayne Bay have converted to this gear.
The design of the Still trawl is shown in Figs. 3 and 4. The essentia features of roller, strainer bars and “breaker bar” of the older designs (Fig. 1) have been retained. All other framing features have been eliminated with a corresponding saving in weight and construction costs. The Still trawl has also eliminated the need for separate lifting and towing points required on the long-yoke trawls, and the construction assures that the net frame will not fall forward during towing or lifting, even over rough bottom.
The net position in relation to the frame has been simplified by the use of a fixed breaker bar as opposed to the adjustable bar of earlier models. In the design illustrated, this bar is set at the point most efficient for fishing in the vegetated areas of Biscayne Bay.
The weight of the net frames has been reduced from about 400 lb to about 250 lb (181 to 113 kg). The simplicity of the new frames makes it possible to assemble them, using flat jigs. The new frames cost $60.00 each, of which $40.00 is for material and $20.00 for labor, chiefly welding at $3.00 per h. Although the design presented here is for a 12 ft (3.6 m) frame, smaller frames can be made by reduction of the horizontal scale and by using two rather than three rollers. Frames of the 12 ft width as illustrated are fished from vessels of 42 to 50 ft (13 to 15 m) length; 20 to 24 ft (6 to 7 m) vessels would fish frames of 6 to 8 ft (1.8 to 2.4 m).
These trawls are fished normally in the 10-to 16-ft (3 to 5 m) depths of Biscayne Bay but they are efficient at greater depths. The nets should be set while the vessel is under way since tension on the warp is required to prevent turning of the frame on the way to the bottom in deep water.
Vessels using the new roller-frame trawls are rigged like Gulf of Mexico shrimp trawlers fishing two 40-ft otter trawls (Robas, 1959). This is desirable, especially for fishing deeper water, but in shallow water a double davit arrangement can be employed (Woodburn, et al., 1957, p. 16–17). Pulleys are attached at the outboard ends through which the lifting line can be fed out and recovered from a deck-mounted winch. In such vessels, the towing lines are the same as the lifting lines. In older net frame designs, the lifting lines from the winch are attached to a point on the top of the frame near the center of gravity, while the towing lines are attached to the towing yoke (Fig. 1); the towing lines are set for the depth to be fished and attached to the bow of the vessel. The Still trawl has eliminated the need for separate lifting and towing lines.
* 1 in = 1 inch = 2.54 cm; Other metric equivalents are given in Figs. 3 and 4. Ed.

Fig. 3 Front and side views of the Still roller-frame trawl. Side view shown in fishing attitude.

| DIMENSIONS | |
| (A) | 1.9 cm (¾") I.D. |
| (B) | 1.1 cm (7/16") Rod |
| (C) | 2.9 cm (1 1/8") I.D. |
| (D) | 1.1 cm (7/16") Rod |
| (E) | 1.2 cm (½") Flattened ¾" I.D. pipe |
| (F) | 9mm (⅜") Half of a chain link |
| (G) | 1.1 cm (7/16") Rod (scrap, 2.5 cm long) |
| (H) | 1.1 cm (7/16") Rod |
| (I) | 1.9 cm (¾") I.D. |
| (J) | 6.6 cm (2⅝") Washer, (¼") stock |
| (K) | 2.5 cm (1") Rod |
| (L) | 7.6 cm (3") I.D. |
| (M) | 2.9 cm (1 1/8") I.D. |
| (N) | 1.2 cm (½") I.D. |
| (O) | 1.1 cm (7/16") Rod |
| (P) | 3.5 cm (1⅜")×(¼")Washer |
Fig. 4 Rear view of roller assembly of the Still trawl showing axle, axle housing, “breaker bar” and roller in an exploded isometric projection.
In Biscayne Bay, the larger double-rigged vessels fishing in about 15 ft (4.6 m) of water use approximately 100 ft (30 m) of ⅜-in galvanized wire towing cable for each net; about 75 to 80 ft (23 to 24 m) of cable are in the water during towing. Because galvanized wire rope rusts, it is standard practice to load the winch drums with 450 to 600 ft (137 to 183 m) of wire cable on each winch drum, cutting off the rusted end portions as needed. Some fishermen use ¼-in (6 mm) stainless steel cable but this is reported to cut the sheaves of the lifting tackle.
There is no fixed warp-length to depth ratio; differences in the behavior of the shrimp often dictate that the attitude of the net frames be altered, which requires manipulation of warp length. As a rule, vessel speed and wrap length are adjusted so that the angle between the warp and the water surface is about 20 to 30°. This causes the net frame to fall forward so that the leading edge of the upper net body (Fig. 5) forms an overhang; this prevents the vertical escape of shrimp flipping off the bottom.
The strainer bars are designed to exclude large objects from the net; sponges, water-logged coconuts, etc. cause damage to the catch if permitted to enter the codend. The spacing and orientation of the strainer bars in relation to the rollers is important. In older versions of the roller-frame trawls, the bars were often spaced approximately 4 in from center to center. The Still trawl has the bars spaced 2 1/8 in center to center. The narrower spacing does not hinder the passage of shrimp into the nets but reduces the amount of trash which is thrown up into the overlying water by the rollers.
The bars have been reported to serve as rakes, stirring the bottom to dislodge shrimp, but this is neither their designed nor their actual function. When viewed from the frame ends, the bars point toward the front edge of the roller axle (Fig. 4). In this position they cannot come in contact with the bottom; on vegetated bottom they may part the grass but they do not damage it or reach the root structures.
The “breaker bar” and associated 7/16-in rod (Fig. 3) forms the point of attachment of the lower edge of the net. The netting is securely laced to the 7/16-in rod. Biscayne Bay nets are made of l-in streched mesh netting and are tapered to a codend. The nets are 25 ft (7.6 m) long, of which about 8 to 10 ft (2.4 to 3 m) is codend. A lazy line is attached approximately 8 ft forward of the codend tie, and the free end is tied to the inboard side of the trawl frames in easy reach of the deck when the frames are in the raised position. A styrofoam float is attached to a line on the outboard side of each frame and is used to mark the position of the gear should the towing line part while under way.
4.1 Construction features of the trawl frame
In the interest of economy, the Still trawl frames are made of untested galvanized pipe. The axle sleeves in the rollers require tested pipe, however, since any flaws on the inside of these sleeves could cause the rollers to bind and drag rather than roll.
The roller axle and strainer bars should be constructed of cold-rolled steel for durability. Generally, the frame will last one and a half to two times as long as the rollers, so replacement rollers will be needed. To replace the rollers, the axle must be removed. This means that the welds (Fig. 3, point 17), must be accessible for removal. Spot welds on each end securing axle to frame are preferable to bolts passed through holes in the axle ends because vibration causes bolts to wear rapidly, resulting in the loss of one or more rollers. Spot welds can be removed rapidly. The welds should be inspected every 2 or 3 mo to see that they are secure.
The points of contact of the frame members are strengthened by flattening slightly the ends of the pipe to be welded. This is done at all points except at the bottom (Fig. 4, A to C), where the frame attaches to the axle housing. There, the gaps due to the two different pipe sizes are small and can be filled easily by the welder. With frames as large as the one illustrated (Fig. 3), it is necessary to strengthen the frame at these strain points. This is done by welding lengths of 7/16-in rod stock around the pipe sections (Fig. 3, point 18).

Fig. 5 Top view of the net showing “dovètail” layout, and an isometric projection showing top and bottom prior to sewing.
The frame should be built first without the strainer bars. When strainer bars are added, the frame and cross bar to which the strainer bars are attached will warp from the heat of welding. This can be corrected by placing the completed frame assembly on a flat surface, (with the axle and rollers in place) and applying downward pressure on the frame to re-align it. The free end of the axle can be spot welded then to the end axle housing.
The angle formed by the frame and the breaker bar should be approximately 85° to reduce the amount of bottom debris taken and to increase shrimp catch. The clearance between the breaker bar and the rollers is also important. It should be no more than ⅝ in to keep shrimp from “skipping” under the net. Half of a ⅜ in chain link is welded to the underside of the breaker bar (Fig. 4, point F) at each end. These are for attachment of lines which are incorporated in the net as described below.
The net is made of l-in stretched mesh nylon or dacron bulk netting. The top panel is 220 meshes long and the bottom panel is 190 meshes long. Several net panels are cut from a single piece of bulk netting on a one-to-one taper starting from one end. Then, 50 meshes are counted before the second cut is made (Fig. 5). The second cut is made on an expanding one-to-one taper. By “dove-tailing” pieces in this fashion there is a minimum of wasted material.
With the 220-mesh top panel on top of the 190-mesh bottom panel, the seams are sewn securely. The top forward 30 meshes form an over-hang. A straight cut at 90° (right angle) is made across the 30-mesh top or over-hang to form the sides, which should be securely laced to the breaker bar support rod (Fig. 4, point D). A lightly greased length of polyethylene line is woven along the leading edge of the net mouth to help prevent wear by sand and shell debris. This line also distributes the load over the entire leading edge of the net.
Two- to three-foot lengths of polyethylene line are woven into the seams in the net, one on each side, about one foot from the leading edge of the net. These lines are fastened to the half-link of ⅜-in chain on the breaker bar by a ¼-in shackle and help remove slack in the net when securely tied.
Two styrofoam floats are attached to the top of the net about 1 to 2 ft (0.3 to 0.6 m) from the codend tie. These elevate the codend and prevent its snagging on the bottom.
The catch containing fish, shrimp, plant fragments and other extraneous material is removed from the nets as quickly as possible to avoid harming the shrimp. The catch is sorted on tables mounted to the edge of live boxes provided with circulating sea water. In most cases the sorting tables have raised sides, 4 to 5 in high, with the outboard ends removable. The tables are constructed so that there is a slight slope toward the outboard end. The open end of the tables and the slope, permit crabs and active fish to “sort themselves”. Many drags have almost no trash and are put in the bait tanks after a quick inspection for fish and crabs. If quantities of grass fragments are collected, they are removed completely to avoid the danger of clogging the pump intakes. At such times, the sorting is done rapidly and the fish and animals, other than shrimp, are returned to the bay before the shrimp are placed in the tanks. Observations of catch taken in each of 22 pairs of drags, containing between 6 and 34 lb (2.7 and 15.4 kg) of shrimp, fish and extraneous material, indicated that an average of only 4 ½ min was required to sort each net haul.
Most shrimp recover quickly from sorting and are lively and ready for marketing the following morning. Most fish also survive this handling. Atlantic thread herring, Ophisthonema oglinum, and sardines, Harengula pensacolae, usually survived if not damaged by crabs or by gilling in the trawl meshes. Snappers and other bay species appeared to suffer no ill effects from the brief exposure. The short drags and sorting time, the small amounts of trash and the moist night air, usually prevent the fish from being severely damaged. Only one species, the blackcheek tongue sole, Symphurus plagiusa, was commonly killed by being gilled in the meshes of the trawl.
The quantities of fish, invertebrates and plant material taken in a series of 22 paired drags with 12-ft roller-frame trawls on grassy bottom in Biscayne Bay are shown (Table II). The towing time per drag was about 15 min in 16 ft (5 m) of water.
TABLE II
Quantities of fish, invertebrates and plant material in 44 trawl hauls. Weights are totals for two nets and are in pounds
| Drag No. | Number of nets | Weight of plants | Weight of fish | Weight of invertebrates | Total weight per drag |
| 1 | 2 | 0 | 1.25 | 29.00 | 30.25 |
| 2 | 2 | 0 | 2.00 | 32.00 | 34.00 |
| 3 | 2 | .5 | 1.50 | 25.00 | 27.00 |
| 4 | 2 | 1.0 | 1.50 | 22.00 | 25.00 |
| 5 | 2 | 0 | 2.00 | 32.00 | 34.00 |
| 6 | 2 | 1.0 | 1.50 | 26.00 | 28.50 |
| 7 | 2 | 1.0 | 1.00 | 17.00 | 19.00 |
| 8 | 2 | 2.0 | 2.50 | 16.50 | 21.00 |
| 9 | 2 | 1.0 | 2.00 | 18.00 | 21.00 |
| 10 | 2 | 0 | 1.00 | 28.50 | 30.50 |
| 11 | 2 | .5 | 1.50 | 19.00 | 21.00 |
| 12 | 2 | 2.0 | 1.00 | 19.50 | 22.50 |
| 13 | 2 | 1.5 | 1.00 | 31.50 | 34.00 |
| 14 | 2 | 0 | 1.75 | 5.00 | 6.75 |
| 15 | 2 | 0 | 3.50 | 11.00 | 14.50 |
| 16 | 2 | 0 | 2.00 | 8.50 | 10.50 |
| 17 | 2 | 27.0 | 3.00 | 2.50 | 32.50 |
| 18 | 2 | .3 | 2.75 | 3.00 | 6.00 |
| 19 | 2 | 3.5 | 1.00 | 1.75 | 6.25 |
| 20 | 2 | 0 | 2.50 | 9.25 | 11.75 |
| 21 | 2 | 0 | 1.75 | 11.50 | 13.25 |
| 22 | 2 | 0 | 2.00 | 10.50 | 12.50 |
| Averages | 3.4 | 1.80 | 17.20 | 21.00 | |
Fish catches ranged from 1.0 to 3.5 lb (0.5 to 1.6 kg) per pair of drags, with the average just over 1.75 lb (0.7 kg). The fish were small. As many as 20 species were represented in some drags. Table III presents a list of the species taken and the number of each as a percentage of the total catch from all 22 drags with paired trawls. Size ranges have been included. Only three of the species, the yellowtail snapper, Ocyurus chrysurus, the gray snapper, Lutjanus griseus, and the Lane snapper, Lutjanus synagris, are considered game fishes. The total catch of these three species was 31 individuals of 1,541 fish, or 2 percent. There were 5 pan fish species, (i.e., fishes sometimes kept by anglers for eating but not normally regarded as gamefish). There were white grunt, Haemulon plumieri, bluestripe grunt, Haemulon sciurus, mojarras, Eucinostomus sp., pigfish, Orthopristis chrysopterus, and sand perch, Diplectrum formosum. These amounted to 16 percent of the total.
TABLE III
List of species of fishes taken in 44 roller-frame trawl drags expressed as per cent of total number of fishes. Size range is given in inches total length
| Common Name | Scientific Name | No. | Per cent | Total L.in. |
| Blackedge moray | Gymnothorax nigromarginatus | 2 | .13 | 4 |
| Hogfish | Lachnolaimus maximus | 1 | .06 | 4 |
| Leopard searobin | Prionotus scitulus | 8 | .52 | 4–8 |
| Blustripe grunt | Haemulon sciurus | 19 | 1.23 | 2–6 |
| Bandtail puffer | Sphaeroides spengleri | 5 | .32 | 2–3 |
| Inshore lizardfish | Synodus foetans | 1 | .06 | 8 |
| Sand perch | Diplectrum formosum | 55 | 3.56 | 3–8 |
| Pinfish | Lagodon rhomboides | 36 | 2.33 | 3–6 |
| Dusky pipefish | Synagnathus floridae | 5 | .32 | 6–8 |
| Spotted seahorse | Hippocampus erectus | 18 | 1.16 | 2–4 |
| Striped burrfish | Chilomycterus schoepfii | 82 | 5.32 | 3–8 |
| Hogckoker | Trinectes maculatus | 15 | .97 | 4 |
| Yellowtail snapper | Ocyurus chrysurus | 2 | .13 | 3 |
| Redfin parrotfish | Sparisoma rubripinne | 182 | 11.81 | 2–7 |
| Gray snapper | Lutjanus griseus | 7 | .45 | 2–3 |
| Lane snapper | Lutjanus synagris | 22 | 1.42 | 3–4 |
| Cowfish | Lactophrys quadricornis | 158 | 10.25 | 1–8 |
| Barbfish | Scorpaena brasiliensis | 63 | 4.08 | 2–8 |
| Planehead filefish | Monacanthus hispidus | 16 | 1.03 | 1–3 |
| Fringed filefish | Monacanthus ciliatus | 490 | 31.79 | 1–4 |
| Gulf toadfish | Opsanus beta | 172 | 11.16 | 2–10 |
| White grunt | Haemulon plumieri | 146 | 9.47 | 2–5 |
| Mojarras | Eucinostomus spp. | 25 | 1.62 | 2–5 |
| Spotfin flounder | Citharichthys spilopterus | 2 | .13 | 4–5 |
| Pigfish | Orthopristis chrysopterus | 3 | .19 | 3–8 |
| Eyed flounder | Bothus ocellatus | 1 | .06 | 3 |
| Cardinal fish | Apogon sp. | 4 | .25 | 3 |
| 1,541 |
The roller-trawl is the major fishing gear of the modern live bait shrimp fishery of Florida. Over the years, it has undergone considerable modification, chiefly to reduce weight and to produce large catches of shrimp with as little “trash” as possible. The Still trawl described here is the most advanced design in the industry, to our knowledge, and has been stripped of all but the essentials, such as rollers, strainer bars and breaker bar. Its light weight, low cost, and ease of fishing should make it adaptable in many estuarine areas of the world, particularly in the tropics, where large shrimp resources may exist but which are not now being exploited. It can operate in less than 6 ft of water and by suitable reduction in size can be adapted to small boats.
The gear may also be useful as a quantitative sampler. By the addition of a meter to record revolutions of the roller, the length of the towing track can be measured.
The design features have been developed with the assistance of fishery biologists and ecologists and it is believed that the gear does no significant damage to the biota of the estuaries.
Allen, D.M. and A. Inglis, 1958 A pushnet for quantitative sampling of shrimp in shallow estuaries. Limnol.Oceanogr., 3(2):239–241
de Sylva, D.P., 1954 The live bait shrimp fishery of the northeast coast of Florida. Tech. Ser.Fla.St.Bd Conserv., (11):35 p.
Futch, C.R. and D.S. Beaumarriage, 1965 A report on the bait shrimp fishery of Lee Country, Florida. Fla.St.Bd Conserv., 22 p. (mimeo)
Higman, J.B., 1952 Preliminary investigation of the live bait shrimp fishery of Florida Bay and the Keys. Coral Gables, University of Miami, Marine Laboratory, Report to Florida State Board of Conservation (52–20):8 p. (mimeo)
Idyll, C.P., 1957 The commercial shrimp industry of Florida. Educ.Ser.Fla St.Bd Conserv., 6:1–28 (Originally issued, March 1950, re-issued August 1957).
Inglis, A. and E. Chin (revised by K.N. Baxter), 1966 The bait shrimp industry of the Gulf of Mexico. Fishery Leafl.Fish Wildl.Serv.U.S., (582):10 p.
Jones, H. and J. Smith, 1966 Summary of Florida commercial marine landings 1965. Florida State Board of Conservation, Salt Water Fisheries Division, Marine Fisheries Research, 61 p.
Joyoe, E.A. and B. Eldred, 1966 The Florida shrimping industry. Educ.Ser.Fla Bd Conserv., (15):47 p.
Robas, J.S., 1959 Shrimp-trawling gear as used in the Gulf of Mexico. In Modern fishing gear of the world, edited by H. Kristjonsson, London, Fishing News (Books) Ltd., pp. 311–6
Saloman, C.H., D.M. Allen and T.J. Costello, 1968 Distribution of three species of shrimp (genus Penaeus) in water continuous to southern Florida. Bull.mar.Sci., 18(2):343–50
Siebenaler, J.B., 1953 The Biscayne Bay commercial fishery. Tech.Ser.Fla St.Bd Conserv., (6):19 p.
Tabb, D.C., 1958 Report on the bait shrimp fishery of Biscayne Bay, Miami, Florida. Coral Gables, University of Miami, Marine Laboratory, Report to Florida State Board of Conservation, 12 p. (mimeo)
Tabb, D.C., 1960 The spotted seatrout fishery of the Indian River area, Florida. Tech. Ser.Fla St.Bd Conserv., (33):18 p.
Welch, E., 1965 Summary of Florida commercial marine landings, 1964. Florida State Board of Conservation, Salt Water Fisheries Division, Marine Fisheries Research, 77 p.
Woodburn, K.D. et al., 1957 The live bait industry of the west coast of Florida (Cedar Key to Naples). Tech.Ser.Fla St.Bd Conserv., (21):33 p.