IAN G COWX,
University of Hull, International Fisheries Institute, Hull, HU6 7RX, UK
Abstract
Stocking, transfer and introduction of fish are commonly used to mitigate loss of stocks, enhance recreational or commercial catches, restore fisheries or to create new fisheries. However, many stocking programmes are carried out without definition of objectives or evaluation of the potential or actual success of the exercise. This paper describes a strategic approach to stocking aimed at maximizing the potential benefits. A protocol is discussed which reviews factors such as source of fish, stocking density, age and size of fish at stocking, timing of stocking and mechanism of stocking. The potential genetic, ecological and environmental impacts of stocking are described.
Introduction
Stocking, transfer or introduction of fish are frequently used by fisheries owners, managers and scientists in the belief they will improve the quantity or quality of catches and have long-term beneficial effects on fish stocks. Over the past 50 years, large scale movements of fish have occurred, including a total of 1354 introductions of 237 species into 140 countries (Welcomme 1988). Furthermore, many thousands of stocking events, involving millions of individual fish take place annually in managed fisheries (Hickley 1993).
Although large sums of money have been invested in stocking activities, relatively few programmes have been properly evaluated and the evidence suggests stocking exercises rarely lead to any long-Oterm tangible benefit. This appears to be the result of indiscriminate stocking, without well-defined objectives or prior appraisal of the likelihood of the success of the exercise. However, if stocking programmes are designed and implemented to satisfy defined goals it should be possible to improve the success rate. For example, catches of Arctic charr (Salvelinus alpinus L.) in Lake Geneva showed a dramatic improvement following intensive stocking on an annual basis (Champigneulle and Gerdeaux, 1993).
More recently, concerns have also been expressed about the potential risks associated with the stocking and introduction of fish, and the subsequent interactions with wild stocks. These include the loss of genetic integrity in indigenous fish stocks and ecological imbalance and consequent shift in community structure.
Thus there is a need for fisheries managers to be more aware of the possible impact of stocking, both in terms of the effects on wild populations and the likelihood of improvements in stocks. Of particular importance is the need to develop a strategic approach to stocking which defines the objectives of the exercise and orientates the implementation phase towards meeting these goals.
Objectives of stocking
The reasons for stocking are many and varied but generally fall into four main categories which are related to the status of the wild stocks, the impact of anthropogenic activities and the ease with which factors limiting natural production can be removed or ameliorated.
Stocking for mitigation
This encompasses stocking with fish carried out as a voluntary exercise or statutory function for fishery protection schemes, such as reservoir dam construction, land drainage works or similar habitat perturbation. Mitigation stocking has been considered the simplest way to compensate for such activities. However, stocked fish may be released into unaffected parts of the river catchment or lake, and the impact on the wild stocks in these areas must be considered.
Stocking for enhancement
Enhancement stocking is the principal method used to maintain or improve stocks where production is actually or perceived to be less than the water body could potentially sustain, but where reasons for the poor stocks cannot be identified. This type of stocking is used where fishermen express dissatisfaction with the quality of fishing, or to enhance stocks in sections of river where access is restricted by natural barriers, or in the operation of commercial or put-and-take fisheries where the production of exploited species needs enhancing. It also includes activities carried out to strengthen quality and quantity of spawning stock of a given species so as to improve natural reproduction potential.
The majority of stocking in the past probably falls into this category and it is driven by fishermen complaining about the status of the fishing. However, in many cases it is likely the fishermen's and fisheries managers' assessments of the state of the stock have been unduly pessimistic, resulting from natural fluctuations which can have a profound effect on some fish populations, or merely that the estimates of the potential production have been unrealistically high.
If production is already limited or driven by natural population cycles, it is unlikely that stocking will have a beneficial long-term effect.
Stocking for restoration
Stocking for restoration relates to that which is carried out after a limiting factor to stock recovery or improvement has been removed or reduced, e.g. water quality improvement, habitat restoration or the easing of passage for migratory fish. Re-establishment of fisheries which have previously been eliminated by poor water quality or habitat degradation are in this category. Stocking in this case is justifiable because the underlying problems limiting production have been tackled and long-term benefits are likely to accrue.
Creation of new fisheries
This category includes attempts to establish a new stock of fish in a river, lake or reservoir which has not previously held that stock because of natural barriers, evolutionary isolation, or where new (exotic) species are introduced into existing fisheries in an attempt to increase species diversity, improve fish yield or fill an apparent vacant niche. This is the most controversial stocking procedure and has lead to considerable contention in the past, e.g. the introduction of Nile perch (Lates niloticus L.) into Lake Victoria (Okemwa and Ogari 1993). It needs careful planning to avoid potential catastrophic effects on the natural fish populations.
Protocol for pre-stocking appraisal
Identify need for stock improvement
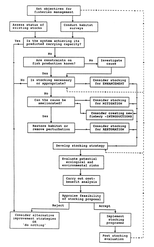
In view of the many concerns that exist about stocking, a responsible attitude towards the activity is essential. A step-by-step approach to planning, assessing and implementing a stocking programme is shown in Fig. 1. It is based on the “project approach” to management activities (Gittinger 1972) and has been described in detail by Crean (1993). Essentially, the activities can be broken down into the following phases: identification, preparation, appraisal, implementation and evaluation.
The first step when considering any stock improvement activity must be to ensure proper clarification of the management policy and objectives. It is only then that the project proposal can be properly formulated to achieve the desired effects. Part of this exercise includes establishing whether the stock is below optimum production level or whether the quality of the stock (e.g. in terms of age or size distribution) could be improved. This requires not only an assessment of the status of existing stocks, but an appraisal of the condition of the water body and the natural and artificial factors that may limit production. These assessments must be based on firm evidence from scientific studies (preferably of a long-term nature to overcome annual fluctuations) and not on hearsay or unsubstantiated complaints (Table 1).
To aid the decision-making process, a technique commonly employed in development project formulation, the logical framework (Anon, 1982), can be used. This approach is useful in setting out the design of the stocking programme in a clear and logical way so that any weaknesses that exist can be addressed at an early stage, or if these are insuperable, the stocking can be aborted. Details of how the logical framework can be used in development of inland fisheries management projects are provided in Crean (1993) and Cowx (1993) (Table 2).
Establish objectives of stocking
If the fishery is of the desired quality, the need for any stock improvement must be questioned. Stocking generally does not tend to improve the catches in waters where there is adequate natural recruitment. Under these circumstances alternative improvement strategies should be considered or the “do nothing” approach adopted.
If production is considered to be below the potential of the system it is important to try and identify the constraints and resolve them before stocking is carried out. If no apparent cause can be identified, enhancement stocking could be considered, but there is probably little sense in stocking a water if it is not capable of supporting a sustainable population. In this case it is probably worthwhile considering alternative improvement strategies or just leave the system alone and concentrate resources on rivers or lakes which possibly can be restored.
Where the limiting factor(s) can be isolated, efforts should be made to resolve the problems before resorting to stocking. If remedial action cannot be taken, as is the case of a dam for example, then mitigation stocking could be considered. This will probably not lead to a sustainable population and stocking may have to be on a continuous basis.
Alternatively, if mitigation stocking is not a viable or statutory option, considerations could be given to creating a new fishery based on species found elsewhere in the catchment or exotic species. If the system has not previously held the species to be stocked, it is important to establish whether it is suitable for the proposed introduction and whether there is likely to be an impact on other indigenous species. In this case the Protocol for Introduction of Aquatic Species drawn up by EIFAC (1988) should be strictly followed.
Finally, if it is possible to remove or minimise the cause of the decline in the fishery, this course of action should be taken. The fishery may then recover without stocking. Habitat improvement is the most desirable option because it should lead to long-term sustainable improvement with minimal deleterious ecological impact. It is also an efficient use of resources because it may have greater long-term benefits than enhancement stocking. In cases where natural recovery may be ineffective, because, for example, the spawning stock has been reduced to an apparently critically low level, restoration stocking may be appropriate to promote stock recruitment.
Development of stocking strategy
If the stocking appears to be worthwhile then implementation of the proposal must be carefully planned to minimise potential problems and risks (Fig. 2).
This formulation phase should assess the resources available to undertake the project, including availability of stocking material, manpower, transport and finance, and identify any constraints which might jeopardise the successful implementation of the stocking programme. The protocol to be adopted to accrue the maximum benefit from the exercise should also be defined. For example, the source of fish, species mix, stocking density, size or age of fish to be stocked, timing and mechanism of release, should all be defined. Details of the factors that need to be considered in devising the stocking strategy are discussed later.
Assessment of proposal
All the ecological factors and consequences must be reviewed, with all the known or predicted advantages and disadvantages being accurately identified. The stocking proposal must also be assessed for its possible impacts on the potential yield and stability of both the introduced stock and the resident species. Details of some of the genetic risks and possible fishery and environmental effects associated with stocking activities are discussed. In determining whether the stocking or introductions will have any undesirable impact, the decision-making process can be enhanced by compliance with appropriate protocols (e.g. EIFAC 1988).
The socio-economic influence of any change can also be crucial and must, therefore, be evaluated, particularly in terms of justifying costs. Estimation of the costs should include all capital and recurrent expenditure and be evaluated against the predicted benefits of the proposal, for example in terms of improved catches. The assessment of benefits should not include the public relations value of the programme, although in many situations this may provide a major incentive for undertaking the work. However, where benefits are real and substantial the opportunity for public relations should not be foregone.
Finally, a complete review of all the accumulated information should be carried out by an independent, impartial authority, and only then should a decision be made whether to implement or reject the original proposal.
Post stocking evaluation
One component of stocking exercises which has been largely neglected is an evaluation of the programme and an audit of the degree of success of the work. Such evaluations should be considered an integral part of the programme, and stocking should not be approved without building on a post project evaluation. The evaluation should assess the efficiency and long-term benefits of the various stocking practices and regimes, and attempt to identify the factors contributing to their success or failure. It should be noted that demonstrating improved catches alone does not necessarily signal a successful stocking exercise, as it may not lead to a good spawning stock or sustainable recruitment. This information will provide a feedback mechanism (Fig. 1) to improve the formulation of realistic management objectives where stocking is a fundamental activity; to improve stocking strategies and techniques; and to provide a database of experiences against which the risks and the feasibility of new proposals can be appraised.
Potential risks from stocking
Genetic interactions
Recently it has been recognised that fish stocks (particularly salmon) from different catchments, and to a lesser extent from within the same catchment, exhibit genetic variation (Davidson et al. 1989; Hauser et al. 1991; Hindar et al. 1991). These geographic, genetic differences may manifest themselves in, for example, growth potential, age at maturity, fecundity, or, in salmon, season of return to fresh water. They may also have some adaptive significance with respect to the performance of the stocks in a particular environment. Consequently, stock from non-indigenous sources may be less well adapted to the riverine or lacustrine environment into which they are released, and stocking may be less successful than expected. In addition, any fish surviving to reproduce with indigenous individuals may also confer a reduced adaptation upon some or all of their offspring. Several examples of this problem exist in the literature, particularly with respect to returning adult salmon, where pure donor stock have a lower return rate than natural stock, and hybrids exhibit an intermediate rate (e.g. O'Grady 1984). This, and other aspects of genetics in fishery management, have been discussed by Allendorf et al. (1987).
Consequently, when embarking on any kind of stocking programme, consideration must be given to maintaining the genetic integrity of the indigenous stocks. Unfortunately, the intensity and long-term nature of many stocking programmes will make it difficult to rectify the situation once genetic integrity has been disrupted. However, where possible, stocking should be restricted to those using fish derived from local populations, habitats which are environmentally similar, or fish that have not been held in captivity for more than one generation.
Ecological interactions
CARRYING CAPACITY OF THE TARGET HABITAT
Perhaps one of the greatest concerns with stocking programmes is that they rarely take into account the capacity of the recipient system to support the enhanced stocks (Kelly-Quinn and Bracken, 1989). If too many fish are present, increased mortality rates, through predation and starvation, reduced growth rates and increased dispersion, generally follow. Thus, whilst stocking may produce large increases in fish numbers at certain times or in localised areas, no more fish will survive than the habitat will allow.
Evidence for such a competitive bottleneck has been provided by Hegge, Hesthagen and Skurdal (1993), where the capacity for enhancing trout stocks in a stream was limited by benthic feeding conditions. Similarly Timmermans (1967) suggested that the capacity of Belgian canals to support intensive stocking of cyprinids must be limited because it rarely produced an appreciable increase in catch rates. In the worst case scenario, overstocking can lead to a reduction in the performance of the fishery, below that prior to the introduction. For example, when the spawning stock of salmon exceeds an optimal level, the number of smolts produced may decrease (SAC 1991).
SPECIES INTERACTION
Stocking of one species may have undesirable effects on endemic stocks either through predation or competition. For example, Kennedy (1984) and Kennedy and Strange (1986) found a reduction in the survival of stocked salmon fry due to competition from resident trout fry and salmon parr. Conversely, changes in trout populations have similarly been recorded following salmon parr stocking. In this case the salmon do not affect trout fry survival, but the presence of the salmon parr does cause a reduction in trout stocks.
The introduction or enhancement of a predator population may have detrimental effects on the recruitment of potential prey species in the receiving system. For example, the introduction of pikeperch (Stizostedion lucioperca L.) into rivers in eastern England allegedly caused a collapse in the cyprinid stocks (Linfield, 1984). Similarly, the introduction of Nile perch into Lake Victoria appears to have resulted in the loss of several hundred species of haplochromine and a decline in the catches of other commercial species (Okemwa and Ogari 1993). There are suggestions that the heavily exploited Nile perch stocks are also declining.
Stocking may also lead to undesirable changes in habitat which may impact on the populations of indigenous species the programme is designed to enhance. For example, the introduction of grass carp may greatly reduce the growth of aquatic macrophytes (Stott 1977), which may be reflected in the productivity of other species which utilize the vegetation either directly or indirectly for food, cover or spawning substrate.
Such habitat and species interactions, which may disturb the ecological balance of the fish community of restrict the potential of success stocking, must, therefore, be considered when planning a stocking programme.
DISEASE CONTROL
With the transfer of stocks between water bodies, there is an obvious risk of disease transmission. In many countries various legislation controls the movement of fish, but this is frequently violated, with consequences that are difficult to reverse. In the ideal situation all fish should be certified disease-free before stocking. This should be possible for fish originating from farms, and must become a statutory function attached to all consent applications.
However, when fish are transferred from one river or lake to another it is improbable that disease-free status can be guaranteed. In this case the disease status of both the donor and recipient stocks should be assessed and stocking only allowed if no new pathogen is being introduced and the stocked fish are healthy and have a low parasite/pathogen loading. If any possibility of disease transfer exists, the fish should be held in quarantine until the risk has been assessed.
Conversely, it is possible that fish introduced from one system to another may not be resistant to an endemic disease or parasite, and the stocking exercise may be unsuccessful. Although this may appear to have little impact on the receiving stock, there is a danger that the introduced fish may act as a reservoir for the proliferation of the disease.
Stocking strategies
When undertaking a stocking programme there are many procedures which should be considered during the implementation phase. It is therefore necessary to plan the stocking exercise to ensure its success. Several of these procedures have been discussed already and will be dealt with only superficially, whilst others, which relate to implementation strategy, will be discussed in more detail. Unfortunately many of the practical aspects have to be considered in a descriptive way because relatively little information is available about the effect of various procedures on the success of stocking. A schematic approach to the planning exercise, to take on board these points, is suggested in Fig. 2.
Source of fish
There is an increasing awareness of the importance of maintaining genetic integrity of fish stocks. Consideration should therefore be given to minimising the dilution of genetic variation by indiscriminate stocking policies with fish of unknown origin. Before implementing a stocking programme, a number of options relating to the source of fish should be considered.
OPTIONS FOR SYSTEMS WHERE SPECIES IS EXTINCT
Donor stock with the same biological characteristics as the recipient system.
Stock chosen from a lake or part of a river with a similar environment (e.g. size of stream, gradient, water temperature, flow regime, altitude, profile).
Artificial propagation based on stock from i) or ii) (sufficient fish should be used as broodstock to avoid reducing genetic variability of the species).
Presume genetic differences of little adaptive significance and obtain stock from anywhere they are cheaply available, ideally from a number of sources, to maximise range of genetic material.
OPTIONS FOR DEPLETED OR RELICT STOCKS
Build up of stock by hatchery production based entirely on local stock and return brood stock to home system.
Redistribution of adults from elsewhere in the catchment (may be unsuited for introduction to other parts with different prevailing conditions).
Choose stock from a system with a similar environment.
OPTIONS FOR RIVERS WHERE NEW SPECIES ARE TO BE INTRODUCED
Farm-reared fish, certified disease-free.
Stock from a lake or part of a river with a similar environment which have been quarantined and certified clear of parasites and diseases alien to recipient system.
No obvious ecological problems likely to be caused - as with introductions of predators.
Stocked fish should not have been reared in captivity for more than one generation in order to limit the possible effects of selection within the hatchery, thus particular care must be taken when obtaining fish from hatcheries.
Preconditioning and acclimatization
There is a growing body of evidence to suggest that fish should be preconditioned to survive the prevailing conditions in the receiving water body. For example fish which have been reared or are to be transferred from still water to a river should be exposed to running conditions for an extended period before their release. This exercising builds up the red muscle tissue in the stocked fish, thus increasing their ability for sustained swimming (Fisher & Broughton 1984).
Acclimatization to temperature is also thought to be important (Philippart and Baras 1988). Prior to stocking barbel into the River Mehaigas they lowered the temperature of the water in which the fish were held over an extended period (10–11 days) until it approximated to that of the receiving water.
Handling and transportation of stock
Berka (1986) provides an overview of the procedures for transportation of fish.
Handling and transportation inevitably causes stress and possibly damage to fish, which can subsequently affect post-stocking survival. As a result, procedures which minimise handling time or frequency should be adopted from the time of capture of the donor fish to planting into the recipient system.
The techniques employed to capture the fish in the first instance should cause minimal damage; seine netting and “controlled” electric fishing are the preferred techniques. During collection and transportation handling should be avoided where possible. Fish should be stored at low density and provided with an ample supply of oxygen.
All fish should be starved for at least 24 hours prior to transportation to reduce oxygen demand, due to increased respiration rates during digestion, and minimise ammonia production. If the fish are to be transported over long distances consideration should be given to reducing the effective toxicity of unionised ammonia by lowering the temperature and pH.
The use of suitable anaesthetics should be considered with a view to reducing physical activity and hence both the risk of damage and rate of respiration. Tertiary amyl alcohol (180–900 mg l-1) and benzocaine (10–40 mg l-1) are suggested as being the most suitable agents.
Finally, there is no point in introducing fish that are in poor condition or health, as this will affect the success of the exercise.
Stocking density
As previously discussed a thorough assessment of the receiving water body should be carried out to determine the optimal stocking density. In lakes a relationship exists between shore line development, depth and predicted fish biomass (Leopold and Bninska 1984). However, no definitive relationship is available for calculating stocking density of different species in rivers; it is generally based on the experience of the managers. If possible, a similar, appropriate relationship should be determined for river fisheries.
Alternatively a database of experiences should be set up to provide guidance on stocking densities which maximise the benefits in terms of improving stocks (Hickley 1993). This should be based on measured success of stocking at different densities. Such data are more readily available for salmon, e.g. see summary in Table 3, but rarely for other species. Thus effort should be made to construct tables to indicate the success of stocking of all species at different densities. This can only be achieved if the outcome of stocking programmes is evaluated and reported.
When calculating the stocking density, consideration must be given to the existing stock biomass and allowances should be given for migration/dispersal, predation and predicted survival of stocked fish. Values of between 10 and 80% annual mortality are given in the literature, so compensatory densities will be difficult to determine. The most important issue is that overstocking is avoided.
Size or age of stock
There has been much debate over the most appropriate size or age of fish for stocking. Many of these arguments can be removed by drawing up tables which illustrate the success of stocking of different age groups. Table 3 gives a summary example for salmon. This suggests that fed fry is probably the most effective life history stage to stock. However, this information should be evaluated in relation to the advantages and disadvantages of obtaining sufficient fish of the appropriate age or size (Table 4). When this comparison is made, eyed ova or unfed fry are probably a more cost-effective life history stage for stocking.
Similar tables need to be drawn up for all species, although the exercise may be somewhat superfiuous because the operation is often dictated by suitability of available donor fish, particularly with cyprinids. In this latter case there is considerable evidence to suggest that fish greater than 10 cm, at least in their second year of life, have a better chance of survival than O-group fish which have not overwintered (A. Henshaw, pers. comm.).
Timing of stocking
There is a considerable volume of literature on the most appropriate time for stocking of salmonids. The general conclusion is that stocking in spring is more efficient (4–12 times) than winter (Aass 1984; Cresswell 1981; O'Grady 1984). Very little similar information is available for other species but a common sense approach probably defines the timing reasonably well. Fish should be stocked when the flow rates, and water temperature are generally low, to minimise displacement of fish and stress respectively. The stocking should preferably take place when the productivity of the receiving water is high, but not during the spawning period as the stocked fish may interfere with natural reproduction processes. Stocking early in the summer, when natural food availability is good and to allow the fish to adjust to the conditions in the receiving water before overwintering, is preferable.
Mechanism of release
Three mechanisms for releasing fish are used:
spot planting - introducing all the fish into the receiving waters at the same site;
scatter planting - introducing fish into several sites in the same region;
trickle planting - introducing fish into the same region over a period of time.
Spot planting can lead to competition amongst the stocked fish, and with natural stocks and in rivers is often associated with considerable downstream displacement to reduce population interactions (Cresswell 1981). Scatter stocking gives a wider dispersal at the outset and minimises competitive pressures. Trickle stocking similarly removes competition, but is often constrained by lack of manpower, finance and available stock.
Evidence suggests that scatter and trickle stocking (Fjellheim et al. 1993; Berg and Jorgensen 1993) are more successful than spot stocking, but the latter is generally carried out because it is the easiest to undertake.
Resource problems
The previous sections have described many of the issues that must be addressed when designing the stocking strategy. However, they are of little importance if the resources for implementing the programme are not available when required. A recurring problem is that the fish for stocking may not be readily available at the ideal time or in the numbers required. Access to the target zone may also be problematic, making scatter stocking difficult. All these circumstances must be addressed, and a compromise strategy for implementation must be drawn up.
Recommendations
Stocking is an important tool in the management of fisheries, albeit for commercial, recreational or conservation purposes. However, the management rationale and implications of stocking activities have not received the attention desired to support such a commonly used tool. It is recommended that a strategic approach to stocking is adopted. As part of this approach a number of aspects should be addressed (modified from Hickley 1993).
Whenever, stocking of fish is to be considered, the aims, and specific objectives of the exercise must be clearly defined and adhered to.
When evaluating stocking as a possible management tool, the relative benefits and cost of all options should be considered. The “do nothing” option should not be disregarded but should be considered as fully as any of the other options under discussion, despite possible public pressure to stock.
The strategy for any programme of stocking, transfer or introduction should be carefully tailored to suit the species in question, taking into account its entire suite of ecological prerequisites, so as to maximise the chances of success.
The potential adverse impacts of stocking in terms of environmental, genetic and ecological interactions should be considered fully and the ‘precautionary principle’ adopted if any adverse impacts are foreseen.
All projects should have in place the methodology to enable adequate monitoring of progress, and ultimately, success or failure. This post-stocking appraisal should include a mechanism of dissemination the outcome to minimise the risk any unforeseen adverse effects in future exercises.
A series of guidelines should be produced for all species which are stocked or introduced, clearly defining the most effective protocol for deciding whether stocking should take place, how it should be implemented and the potential impacts of such activities.
References
Aass P. (1984) Brown trout stocking in Norway. EIFAC Technical Paper 42 Suppl. 1, 123–128.
Allendorf F.W., Ryman N. and Utter F.M. (1987) Genetics and fishery management - past, present and future. In: N. Ryman and F.W. Utter (Eds) Population genetics and fishery management. Seattle, University of Washington.
Anon (1982) The logical framework approach (LFA). Oslo: Norwegian Agency for Development Corporation, 42 pp.
Berg, S. and Jorgensen, J. (1992). Stocking eel (Anguilla anguilla) in streams. In: I.G. Cowx (Ed.) The Rehabilitation of Freshwater Fisheries. Oxford: Fishing News Books, Blackwell Scientific Publications, 314–325.
Berka R. (1986) The transport of live fish. EIFAC Technical Paper 48, 52 pp.
Champigneulle A. and Gerdeaux D. (1993) The recent rehabilitation of the Arctic charr (Salvelinus alpinus L.) fishery in Lake Geneva. In: I.G. Cowx (ed) Rehabilitation of Freshwater Fisheries. Oxford: Fishing News Books, Blackwell Scientific Publications, 293–301.
Cowx I.G. (1993) Fish stock assessment - biological basis for sound ecological management. In: D.M. Harper (Ed.). Ecological basis for river management. London: Wiley. In press.
Crean K. (1993) Planning and development of inland fisheries. In: I.G. Cowx, (Ed.) Rehabilitation of Freshwater Fisheries. Oxford: Fishing News Books, Blackwell Scientific Publications. 21–33.
Cresswell R.C. (1981) Post-stocking movements and recapture of hatchery-reared trout released into flowing waters - a review. Journal of Fish Biology 18, 429–442.
Davidson W.S., Birt T.P. and Green J.M. (1989) A review of genetic variation in Atlantic salmon, Salmo salar L., and its importance for stock identification, enhancement programmes and aquaculture. Journal of Fish Biology 34, 547–560.
EIFAC (European Inland Fisheries Advisory Commission) (1988) Code of practice and manual of procedures for consideration of introductions and transfers of marine and freshwater organisms. EIFAC Occasional Paper No. 23, 23 pp.
Fisher, K.A.M. and Broughton, N.M. (1984) The effect of cyprinid introductions on angler success in the River Derwent, Derbyshire. Fisheries Management 15, 35–40.
Fjellheim, A., Raddum, G.G. and Saegrov, H. (1993). Stocking experiments with wild brown trout (Salmo trutta) in two mountain reservoirs. In: I.G. Cowx (ed) The Rehabilitation of Freshwater Fisheries. Oxford: Fishing News Books, Blackwell Scientific Publications, 268–279.
Gittinger P. (1972) Economic analysis of agriculture projects. Baltimore, John Hopkins University Press, 550 pp.
Hauser L., Beaumont A.R., Marshall G.T.H. and Wyatt R.J. (1991) Effects of sea trout stocking on the population genetics of landlocked brown trout, Salmo trutta L., in the Conway River system, North Wales U.K. Journal of Fish Biology 39: Suppl. A, 109–116.
Hegge O., Hesthagen T. and Skurdal J. (1993) Juvenile competitive bottleneck in the production of brown trout in hydroelectric reservoirs due to intraspecfic habitat segregation. Regulated Rivers: Research and Management 8, 41–48.
Hickley P. (1993) Stocking and introduction of fish - a synthesis. In: I.G. Cowx (ed) The Rehabilitation of Freshwater Fisheries. Oxford: Fishing News Books, Blackwell Scientific Publications, 247–254.
Hindar K., Ryman N. and Utter F. (1991) Genetic effects of cultured fish on natural fish populations. Canadian Journal of Fisheries and Aquatic Sciences 38: 1867–1876.
Kelly-Quinn M. and Bracken J.J. (1989) Survival of stocked hatchery-reared brown trout, Salmo trutta L., fry in relation to carrying capacity of a trout nursery stream. Aquaculture and Fisheries Management 20, 211–226.
Kennedy G.J.A. (1984) Factors affecting the survival and distribution of salmon (Salmo salar L.) stocked in upland trout (Salmo trutta L.) streams in Northern Ireland. EIFAC Technical Paper 42 Suppl. 1, 227–242.
Kennedy G.J.A. (1988) Stock enhancement of Atlantic salmon (Salmo salar L.). In: D.H. Mills and D. Piggins (Eds) Atlantic salmon: Planning for the future. London: Croom Helm, 345–372.
Kennedy G.J.A. and Strange C.D. (1986) The effects of intra- and inter-specific competition on the survival and growth of stocked juvenile Atlantic salmon, Salmo salar L., and resident trout, Salmo trutta L., in an upland stream. Journal of Fish Biology 28, 479–489.
Leopold M. and Bninska M. (1984) The effectiveness of eel stocking in Polish lakes EIFAC Technical Paper 42 Suppl. 1, 41–45.
Linfield R.S.J. (1984) The impact of zander (Stizostedion lucioperca (L.)) in the United Kingdom and the future management of affected fisheries in the Anglian region. EIFAC Technical Paper 42 Suppl. 2, 353–362.
O'Grady M.F. (1984) The importance of genotype, size on stocking and stocking date to the survival of brown trout released into Irish lakes. EIFAC Technical Paper 42 Suppl. 1, 178–191.
Okemwa E. and Ogari J. (1993) Introductions and extinctions of fish in Lake Victoria. In: I.G. Cowx (ed) The Rehabilitation of Freshwater Fisheries. Oxford: Fishing News Books, Blackwell Scientific Publications, 326–337.
Philippart J.C. and Baras E. (1988) The biology and management of the barbel, Barbus barbus (L.) in the Belgian River Meuse basin, with special reference to the reconstruction of populations using intensively-reared fish. In: Proceedings of the 19th (1988) Institute of Fisheries Management Annual Study Course, 61–82.
SAC (Salmon Advisory Committee) (1991) Assessment of stocking as a salmon management strategy. London: MAFF Publications, 18 pp.
Stott B. (1977) On the question of the introduction of grass carp, (Ctenopharyngodon idella Val.), into the United Kingdom. Fisheries Management 8, 63–71.
Timmermans J.A. (1967) restocking of fishing waters with catchable roach. Proceedings of the 3rd British Coarse Fish Conference, University of Liverpool, 30–32.
Welcomme R.L. (1988) International introductions of inland aquatic species. FAO Fisheries Technical Paper 294, 318 pp.

Fig. 1. Planning Assessment and Implementation of a Stocking Programme

Fig. 2. Risk Assessment
Table 1 The project approach to stocking
| Phase | Characteristics |
| Identification | Establishing relevance of overall project to management policy Generation of the Management options Determining the suitability and feasibility of project |
| Preparation | Assessment of the feasibility of the various project options established during the identification stage Review objectives of stocking in relation to the overall project Establish design of stock assessment survey to meet objectives Assessment of technical, financial and resource requirements Preparation of logical framework |
| Appraisal | Review feasibility of carrying out the stocking in relation to the technical, financial and resource requirements Review feasibility of stocking meeting desired improvement in stock levels |
| Implementation | Detailing of work plans and financial arrangements Translation of logical framework into activity schedules Carry out stocking programme |
| Evaluation | Evaluation of the success of the stocking exercise in relation to defined objectives Post project surveys assessing the overall project Feedback of evaluation for future project preparation |
Table 2 Example of the logical framework approach in project development indicating the position of stocking in the overall scheme (from Crean 1993)
| Project structure | Indicators\Means of verification | Assumption\Risks |
| Overall Development Aim: | ||
| Assess the factors which are contributing to poor sports fishing quality of River X | Listing of factors and weighting of key determinants | That there is a real basis to the complaint That the factors contributing to the sports fishery quality of the river can be identified and separated |
| Specific objectives: | ||
| Assess the status of current fish populations Determine whether the sports fishery has declined compared to previous years Suggest and implement remedial action to improve the river fishery (where appropriate) Liaise closely with sports fishery users | Assessment of the fish biomass and species composition of the river fishery Monitoring of sport fishing performance over 30 year period Identification of stock deficiencies and indication of absolute value of shortfall | That the river can be effectively sampled That the methods of population assessment are appropriate and the results reliable That historical records are available and contribute a non ambiguous body of information to the study That causes can be clearly identified and that remedial action is feasible given resource constraints |
| Outputs: | ||
| Generation of clear picture of current status of fish populations Identification of key factors affecting quality of river fishery Identification\implementation of a stock management plan where appropriate | Monitoring of time series data describing fish population (cycles of) abundance Monitoring of changes in water quality, fish population sizes, introductions, climate, etc over the period of the study Monitoring of size\composition of anglers catches over the period Monitoring change in angling technology (e.g. rod weight, bait, line thickness, etc) over time | That good quality time series data are available to be evaluated and assessed That the resources are available to carry out the study That the managers of various data sources collaborate with the study That the data sources indicate unambiguously which factors (if any) are the cause of the perceived problem |
| Inputs: | ||
• a 3 man month survey of the current status of fish population in 10 km stretch of River X | ||
• Survey of research undertaken on river over a 30 year period | ||
• Analysis of supporting environmental data over a similar period of time | ||
• Organised angler opinion survey | ||
• Assessment of all other sources of coverage relating to the river f3ishery over recent history, e.g. historical records, press reports, personal views etc. |
Table 3 Performance of stocking salmon into rivers at different densities and life history stages
| Stage of stocking | Density m2 | % survival to end of growing season | Estimated smolt production 100 m2 |
| Green ova | 6.2–59.0 | 1.7–4.0 | 4.3–10.0 |
| Eyed ova | 0.4–11.0 | 3.5–19.4 | 8.8–48.5 |
| Unfed fry | 0.3–29.3 | 1.3–38.6 | 3.3–96.5 |
| Fed fry | 0.1–1.8 | 6.7–22.7 | 2.5–56.8 |
Table 4 Comparison of life history stages for stocking salmon (after Kennedy 1988)
| Stage | Advantages | Disadvantages |
| Green ova | 1. No hatchery facilities required, therefore low cost. 2. Stocking success can be monitored by follow-up surveys. | 1. Artificial redds required therefore distribution is labour intensive and clumped. 2. Choice of site is crucial to success, i.e. substrate type. 3. Must be stocked out within 48 h of fertilization. 4. Large number required, survival rates low (4% to summer fry. |
| Eyed ova | 1. Three-week period for handling, more robust and easier to transport than fry. 2. As (2) above. 3. Only limited hatchery facilities required. | 1. As (1) above. 2. As (2) above. 3. Some incubation facilities required. 4. Large numbers required, surival rate to summer fry 20%; 11–14% to end of growing season. |
| Unfed fry | 1. Simple to disperse, stocking density can be more easily controlled. 2. As (2) above. 3. Limited hatchery facilities required. 4. Can be stocked into preferential habitat, e.g. riffle where natural spawning is low. | 1. Restricted time period for stocking out, therefore river conditions may be unsuitable. 2. Facilities required for holding alevins after hatching. 3. Survival affected by habitat and interaction with resident stock. |
| O + parr | 1. Fewer eggs required. 2. Relatively easy to disperse. 3. Success of stocking can be monitored by tagging and/or follow-up surveys. 4. As (4) above. | 1. Hatchery and rearing facilities required. 2. Higher survival to smolts (15–20%) 3. As (3) above. 4. Transport tanks required, more difficult to trickle stock. |
| 1 + parr | 1. As (1) above. 2. As (2) above. 3. As (3) above. 4. Interaction with resident population less critical. | 1. As (1) above. 2. High survival to smolts (25–40%) 3. Good transport required, difficult to trickle stock. |
| Smolt | 1. As (1) above. 2. Can be released at critical time and location to maximise migration success. 3. Can be tagged to evaluate return rate. 4. No requirement for production in river system. | 1. Full range of hatchery and rearing facilities required. 2. High costs of production. 3. Return rates 3–4 times less than for wild smolts (e.g. 2–3%). 4. Site and method of release is critical to survival. |