La presentación que se realiza en este capítulo está organizada según las categorías de artes de pesca señaladas en el documento técnico FAO #222. (Nedelec, 1984)
Los dibujos han sido tomados usualmente de los informes nacionales sobre la tecnología pesquera y en algunos casos de otras publicaciones, citando la fuente en la base del esquema respectivo.
Se ha establecido una ficha técnica por cada arte, la cual consta de varios puntos, tratando en lo posible de desarrollarlos todos, hasta donde la información disponible lo ha permitido. El Servicio de Tecnología de Pesca de la FAO pide la colaboración de los técnicos de la región para completar la información sobre los detalles de los aperos. Una categoría de datos, volumen de captura, se considera simplemente a nivel informático y dimensional, sin el carácter estricto de la captura por unidad de esfuerzo, como herramienta de planificación y manejo. La presentación de los dibujos sigue en lo posible las normas establecidas en el Catálogo de Artes de Pesca Artesanal de la FAO, del cual el texto para los anexos 7 y 8 ha sido resumido como explicación.
Como algunas artes son comunes en varios países, una vez ubicados según la categoría correspondiente, de acuerdo a FAO/222, se les indica el nombre que reciben en cada país. En tal caso, se hace un dibujo común o patrón especificando donde sea preciso, la variación en sus dimensiones y las diferentes modalidades de operación.
1.2.- Redes de cerco sin jareta (Lamparos)
| Nombre en América Latina | Red Hondera |
| Descripción | Red de cerco sin jareta, con copo central y dos alas laterales. Largo total entre 90 y 200 m. |
| Distrib. geográfica | Perú (Río Amazonas). |
| Tipo de embarcación | Bote mediano y canoa traditional. |
| Tipo de agua | Remansos de los ríos y cochas del sistema amazónico. |
| Estación hidrológica | Aguas ascendentes principalmente durante las migraciones, denominadas ‘Mijano’. |
| Tipo de carnada | --------- |
| Selectividad | Especies grandes y pequeñas según ojo de malla o mallero utilizado. |
| Volumen de captura | No definida. Usada con fines comerciales. |
| Especies que captura | De tipo pelágico y en cardumen. Boquichico, Palometa, y Ahuarachi, Corvina. |
| Forma de uso | Con 3 pescadores. La canoa con un extremo de la red va cercando el cardumen, en forma circular. Se levanta por la relinga inferior, depositando la captura en el bote base. |
| Efectos sobre recursos y medio ambiente | No definidos. Se usa en areas limpias de vegetación. |
| Ventajas y desventajas | Sería más eficiente llevando anillos en relinga de plomos con su respectiva jareta. (Sánchez, 1985). |
1.2 Red de cerco sin Jareta (Lamparo)


Especies: Boquichico (Prochilodus ssp.)
Palometa (Mylossoma spp.)
Yahuarachi (Gasterostomus lateor)
Figura 2. Red Hondera (Peru)
Fuente: Sánchez (1985)

![]() | Tipo de flotador plástico |
| usado en la red hondera |
Figura 3. Ejemplo de red hondera usual en el Perú
Fuente: Quiroz y Saravia (1979)
2.1.- Artes de playa sin copo
| Nombre en América Latina | Chinchorro de playa -Chinchorro-Red chinchorro -Red de sena-Red de cerco de playa-Arrastradeira. |
| Descripción | Red de tiro son copo compuesta de un paño de variable dimensión, limitado por la relinga superior con flotadores y la inferior con lastres de plomo. Sus dos alas terminan en palos o timones y cuerdas para halarla. |
| Distrib. geográfica | México, Colombia, Venezuela, Perú, Bolivia, Uruguay y Brasil. |
| Tipo de embarcación | Canoas con remos o embarcación con motor fuera de borda. |
| Tipo de agua | Ríos y embalses. Se usa en playas y remansos. |
| Estación hidrológica | En los ríos funciona mejor en aguas bajas. No es específico para una estación determinada. |
| Tipo de carnada | --------- |
| Selectividad | Puede ser selectivo según sus ojos de malla, aunque captura bagres de varias tallas. |
| Volumen de captura | 47 Kg/día (Colombia-bagres). Otros sin información. |
| Especies que captura | Bagre pintado, zúngaro, pacu, jaraqui, tambaqui, curimata, branquiña, pampano, bagres, camarones, etc. |
| Forma de uso | Su operación consiste en dejar uno de sus extremos o cuerda de cobro en la playa, mientras la canoa a remo o motor va soltando la red en el río, encerrando un área determinada por su extensión. Luego la cobran 4–6 pescadores o incluso 2 caballos, recogiendo la captura. |
| Efectos sobre recursos y medio ambiente | Bien utilizada no es perjudicial (Colombia), pero puede hacer daño a zonas de reproducción y cría de algunas especies durante ciertas épocas. Faltan referencias adicionales. |
| Ventajas y desventajas | Es un arte efectivo con aguas bajas. De poca utilización durante aguas altas. Es relativamente costoso. (Colombia: US $300–500). |
2 REDES DE TIRO
2.1 Artes de playa sin copo


Figura 4. Representación general de un Chinchorro

![]() | ![]() |
Boyas usuales en el Chinchorro
Figura 5. Ejemplo de Chinchorro usado en el río Magdalena, Colombia, para capturar Bagre pintado Pseudoplatystoma fasciatum
2.1.- Artes de playa con falso copo
| Nombre en América Latina | Red de arrastre con bolso-Chinchorra-Chinchorro con copo-Red de arrastre-Red de cerco de playa |
| Descripción | Red de tiro compuesta por dos alas y un falso copo o bolsa central. Su relinga superior tiene flotadores y la inferior plomos. Sus alas terminan con dos palos (calones - timones) y cuerdas de cobro para halar. |
| Distrib. geográfica | Panamá, Colombia, Perú, Argentina y Uruguay. |
| Tipo de embarcación | Canoa a remo o con motor fuera de borda. También se usan caballos para cobrar. |
| Tipo de agua | Playas de los ríos o embalses, estanques. Algunas veces en ciénagas (Colombia). |
| Estación hidrológica | Preferiblemente en aguas bajas o época de verano. |
| Tipo de carnada | --------- |
| Selectividad | Depende de sus ojos de malla. En muchos casos su falso copo o bolso tiene mallas de menor tamaño que el resto de la red. |
| Volumen de captura | 200 individuos/calada en promedio (Panamá); es un arte con buena efectividad. |
| Especies que captura | Zungaro, sábalo, acarahuazu, paco, tilapia, camarones, carpas, bogas, pacu, pati, moncholo, bocachico, rayado, tarariras, pacora, nicuro. |
| Forma de uso | Se estiba en un bote, el cual realiza el calamento, localizandose o no el cardumen o presa. El bote hace un semicírculo tendiendo a regresar a la playa, procurando que la relinga inferior esté en el fondo para mejorar su efectividad. Luego se cobra con los cabos o cuerdas aprisionando la captura. Generalmente la maniobran 4–6 pescadores, algunas veces con el apoyo de 2 caballos para sacarla. Hay casos, dependiendo de la captura en que se utilizan tractores. |
| Efectos sobre recursos y medio ambiente | Cuando se usa en ciénagas es perjudicial, pues revuelve el lodo del fondo y esto asfixia los peces. Podría extraer tallas muy pequeñas según los bolsos o copos usados. Podría dañar a zonas de reproducción o cría. |
| Ventajas y desventajas | La modalidad usada en Colombia (Chinchorra) es muy efectiva y peligrosa al recurso, pues extrae individuos muy pequeños. Menos efectivo durante los altos niveles de agua, en consideración a la pérdida transitoria de las playas por aumento del caudal del río. Según el tamaño, es un arte que puede cubrir durante su operación un área grande de la playa. |
2.1 Artes de playa con falso copo


Figura 6. Chinchorro con falso copo o red de cerco de playa.Argentina y Uruguay
Fuente: Ercoli (1985)


Figura 7. Chinchorra. Modalidad Colombiana para capturar Nicuro, Pimelodus clarias
Fuente : Arias P. (información personal)
2.2.- Redes de tiro desde embarcaciones
| Nombre en América Latina | Bolsas de arrastre |
| Descripción | Red en forma de embudo (cónica), en cuyos lados lleva secciones alargadas o alas. Hacia el centro se situa un bolso donde se concentran los peces al capturarlos. |
| Distrib. geográfica | Bolivia. |
| Tipo de embarcación | Embarcaciones con/sin motor. |
| Tipo de agua | Aguas de media profundidad y quietas como lagos y embalses. |
| Estación hidrológica | Cualquiera |
| Tipo de carnada | --------- |
| Selectividad | Puede ser selectivo según sus ojos de mallas. |
| Volumen de captura | Hasta 100 kg por cosecha (Bolivia) |
| Especies de Captura | Ispi (Orestias sp) |
| Forma de uso | Maniobrados desde embarcaciones (una o dos), siendo halados o tirados a partir de sus alas, con acción de barrido desde el fondo. |
| Efectos sobre recursos | Sin referencia. |
| Ventajas y desventajas | Sin referencia. |
2.2 Redes de tiro desde embarcaciones

Figura 8. Ejemplo de red de tiro desde embarcaciones
Fuente : FAO-Capacitación 1.
3.1.- Red de fondo
3.1.3. A la pareja
| Nombre en América Latina | Red de arrastre a la pareja. |
| Descripción | Es una red en forma de saco, caracterizada por tener dos alas laterales y largas, un vientre y su terminación en forma de bolso. |
| Distrib. geográfica | Brasil. |
| Tipo de embarcación | Barcos de eslora 20–27 m y motor de 220–425 HP. |
| Tipo de aqua | Río Amazonas y estuarios |
| Estación hidrológica | --------- |
| Tipo de carnada | --------- |
| Selectividad | De acuerdo a su ojo de malla. |
| Volumen de captura | Sin referencia |
| Especies que captura | Piramutaba, corvina, camarón |
| Forma de uso | Redes de arrastre remolcados por 1 o 2 barcos, tirando de las alas y realizando un desplazamiento determinado, de tal forma que su boca permanece abierta por donde captura los peces. |
| Efectos sobre recursos y medio ambiente. | Sin referencia |
| Ventajas y desventajas | Es un arte muy efectivo que puede producir capturas importantes. Sin medidas de control en aguas continentales o estuarios, puede causar daños y disminución de recursos. |
3.1 Red de fondo pareja

Figura 9. Red de arrastre a la pareja para Piramutaba, Brachyplatystoma vaillanti
Fuente: Veno y otros (1985) en PD P/T 35
3.1 De Fondo


Figura 10. Red de arrastre para camarón - Brasil
Fuente: Veno y otros (1985) en PDP/T35
3.1.- Red de fondo a la pareja
| Nombre en América Latina | Huayanaccana (figura 11) |
| Descripción | Red de arrastre de fondo, cuya boca tiene forma de trapecio con bolsa rectangular, de paños de nylon con diferentes ojos de malla. La profundidad de la bolsa es de 12 a 18 m y su perímetro varía de 60 a 90 m. |
| Distrib. geográfica | Perú y Bolivia |
| Tipo de embarcación | Se necesitan dos botes para su operación. |
| Tipo de agua | Lago pequeño en el lago Titicaca. Aguas más abiertas y profundas. |
| Estación hidrológica | Cualquiera. Se usa de día y de noche. |
| Tipo de carnada | --------- |
| Selectividad | De acuerdo a sus ojos de malla. |
| Volumen de captura | Sin referencia. |
| Especies que captura | Orestias spp |
| Forma de uso | Es un arte que para operarlo, se hala por dos botes, realizando arrastre de fondo y adaptando el arte una forma cilíndrica. |
| Efectos sobre recurso y medio ambiente | Sin referencia. |
| Ventajas y desventajas | Sin referencia. |
3.1.- De fondo a la pareja
| Nombre en América Latina | Aissacahuana (Figura 11) |
| Descripción | Arte en forma de cono truncado, sin marco de madera, cuya bolsa tiene 6 m de profundidad y una periferia de 25 m. |
| Distrib. geográfica | Perú y Bolivia. |
| Tipo de embarcación | 2 botes o balsas. |
| Tipo de aqua | Orillas del lago Titicaca |
| Estación hidrológica | Cualquiera |
| Tipo de carnada | --------- |
| Selectividad | Según sus ojos de malla. |
| Volumen de captura | Sin referencia |
| Especies que captura | Ispi. |
| Forma de uso | Es un arte que se remolca o hala por las dos canoas o balsas en un trayecto aproximado de 150 m hacia la orilla. |
| Efectos sobre recurso y medio ambiente | Sin referencia |
| Ventajas y desventajas | Sin referencia |
3.1 De Fondo
| Nombre en América Latina | Capiccahuana (Figura 11) |
| Descripción | Red de forma cónica sin aleros, con boca de marco rectangular y de madera de 3.00 m por 0.50 m |
| Distrib. geográfica | Perú, Bolivia |
| Tipo de embarcación | Balsa o bote |
| Tipo de agua | Orillas del lago Titicaca |
| Estación hidrológica | Cualquiera |
| Tipo de carnada | --------- |
| Selectividad | Acorde con sus ojos de malla |
| Volumen de captura | Sin referencia. Arte de tipo nativo para la subsistencia. |
| Especies que captura | Ispi, Orestias spp |
| Forma de uso | Se opera desde la balsa o bote, desde el cual se realiza un arrastre perpendicular a la orilla, a una distancia de 100 m. |
| Efectos sobre recursos y medio ambiente | Sin referencia |
| Ventajas y desventajas | Fácil uso. Este arte se ha modificado en su estructura, con la introducción de paños de nylon. |
3.1 De Fondo
| Nombre en América Latina | Sapuro o Jiscaccayana |
| Descripción | Red de paño de nylon consistente en un marco semicircular, que se continúa con la bolsa de red. Es un arte nativo. |
| Distrib. geográfica | Perú, Bolivia |
| Tipo de embarcación | Balsa |
| Tipo de agua | Orillas de lago Titicaca |
| Estación hidrológica | Cualquiera |
| Tipo de carnada | --------- |
| Selectividad | Acorde con ojos de malla |
| Volumen de captura | Captura para subsistencia |
| Especies que captura | Orestias spp |
| Forma de uso | Se lanza el arte, el cual se sumerge, y luego se arrastra por el fondo, halándolo desde la orilla con una cuerda. |
| Efectos sobre recurso y medio ambiente | Sin referencia |
| Ventajas y desventajas | De fácil uso. Modificado en su estructura con la introducción de paños de nylon |
3. RED DE ARRASTRE MANUAL
![]() | ![]() |
![]() | ![]() |

Figura 11. Redes de arrastre
Fuente : Hanek (1982)
(Derechos de propiedad: FAO)
5.1. - Redes Izadas
| Nombre | Cagolahua (Figura 11) |
| Descripción | Arte de forma semiesférica cuya bolsa está construida de algodón o nylon; la boca con marco circular de madera de Colli (Buddleia coriacea) de 1.30 m de diametro, de la cual pende la bolsa. |
| Distrib. geográfica | Perú, Bolivia. |
| Tipo de embarcación | Balsa o bote |
| Tipo de agua | Aguas quietas |
| Estación hidrológica | Cualquiera. Se usa de noche. |
| Tipo de carnada | Aparentemente ninguna. |
| Selectividad | Depende de sus ojos de malla. |
| Volumen de captura | Tiene un carácter de subsistencia. |
| Especies que captura | Orestias spp |
| Forma de uso | Se opera desde una balsa o canoa, sumergiéndolo hasta el fondo con ayuda de un lastre. Luego se iza con la boca hacia arriba, capturando así los individuos. |
| Efectos sobre recurso y medio ambiente | Aparentemente sin efectos negativos. Faltan referencias. |
| Ventajas y desventajas | De bajo costo y fácil maniobra. Faltan referencias. |
5.1 -Redes Izadas portátiles
| Nombre en América Latina | Medio mundo móvil (Figura 12A) |
| Descripción | Consiste en un aro metálico sobre el que se pone en forma de cono invertido una red de mallas pequeñas de fino alambre galvanizado o fibras sintéticas, unida la estructura a un palo largo para maniobrarlo. |
| Distrib. geográfica | Argentina |
| Tipo de embarcación | De uso manual y sin embarcación usualmente |
| Tipo de agua | Se usa en la orilla de los ríos, generalmente con alguna corriente. |
| Estación hidrológica | Uso continuo. |
| Tipo de carnada | Tipo de cebo según la especie. |
| Selectividad | Captura especies menores |
| Volumen de captura | Volumen de captura destinado a carnadas. |
| Especies que captura | Peces de carnada, especialmente ‘mojarritas’ (Familia Characinidae). |
| Forma de uso | El pescador toma el arte por el palo y pasa por el agua en forma rítmica, el medio mundo, hundiéndolo en forma total y extrayéndolo inmediatemente. |
| Efectos sobre recursos | Aparentemente sin efectos negativos. Faltan referencias. |
| Ventajas y desventajas | Sin referencia. |
5.1 Redes izadas portátiles


Figura 12. (A) Medio Mundo Movil (aproximación)
(B) Cóngolo
Fuente: Aproximación a Ercoli (1985)
Arias (1985)
5.1.- Redes Izadas portátiles
| Nombre en América Latina | Cóngolo (Figura 12B) |
| Descripción | Consiste en un aro metálico o vegetal, del cual pende una red en forma de cono. Un armazón de 1 o 2 barras de madera sostienen el aro. |
| Destrib. geográfico | Colombia |
| Tipo de embarcación | De uso manual sin embarcación. |
| Tipo de agua | Aguas correntosas en el río. |
| Estación hidrológica | De uso continuo en el día o en la noche. |
| Tipo de carnada | Sin carnada. |
| Selectividad | Podría ser selectivo según sus ojos de malla. |
| Volumen de captura | En época de máxima producción: 40kg/dia. |
| Especies que captura | Bocachico, y Nicuro principalmente |
| Forma de uso | Usado en forma de cuchara, el pescador ritmicamente lo introduce al agua ‘barriendo’ en la corriente, y lo extrae. |
| Efectos sobre recursos y medio ambiente | Se usa en los rápidos de las partes estrechas del río, por lo cual funciona como ‘filtro’ de las especies de migración con fines de reproducción. |
| Ventajas y desventajas | De bajo costo y muy efectivo no necesita de otro equipo anexo de pesca. |
5.1. - Redes izadas
| Nombre en América Latina | Chinchorro, Red Cuchara, Kipo o Cupo |
| Descripción | Consiste en un aro metálico, de bejuco o madera, del cual pende una red en forma de cono o bolsa. |
| Distrib. geográfica | Panamá, México, Bolivia, Perú. |
| Tipo de embarcación | Sin embarcación y de uso manual. En México se usa desde una lancha como complemento de Pesca. En el lago Titicaca se usa desde balsas de Totora. |
| Tipo de agua | Ríos de corriente y remansos de los mismos. Embalses. Lago Titicaca. |
| Estación hidrológica | De uso continuo. |
| Tipo de carnada | --------- |
| Selectividad | No selectivo. |
| Volumen de captura | Panamá: 0.5kg/hora de faena. |
| Especies que captura | Camarones y sardinas de río (Panamá). Peces que saltan durante su migración (Bolivia). Recoge los peces atrapados con anzuelos (México). Orestias sp. (Perú, Bolivia). |
| Forma de uso | Se sumerge en el agua, tratando de capturar los peces, dirigéndolos al arte (Panamá). Se atrapan al vuelo, en el momento que estos brincan a remontar la corriente (Bolivia). Se prepara previamente una cortina con manojos de Totora fijados al fondo a 2 m de profundidad, con una extensión de 30 – 40 m. En ambos extremos se colocan ablicuamente de 2 cortinas similares a la primera, pero de 5 m de longitud con el fin de guiar a los peces al lugar donde se opera el arte. Se usa para la pesca nocturna de Orestias sp. Perú. (Hanek, 1982). |
| Efectos sobre recursos y medio ambiente | Podría extinguirse las especies si se aumenta el esfuerzo (Panamá). Sin efectos negativos en el medio. |
| Ventajas y desventajas | Pesca individual. Arte y material de fabricación local. |
5.1 Redes izadas portátiles


Figura 13. A Chinchorro o red cuchara (Panamá-Mexico)
B Chinchorro (Panamá)
C Cuchara (Bolivia) (Aproximación)
Fuente: Maturel (1985)
Informes Nacionales México y Bolivia


Figura 14. Modalidad de red cuchara denominado “Kipo o Cupo” y usado en
el lago Titicaca
Fuente: Hanek (1982)
(Derechos de propiedad: FAO)
5.3.- Redes izadas desde la costa-balanzas
| Nombre en América Latina | Medio mundo fijo |
| Descripción | Al muelle se fija un tirante de madera o de hierro con una roldana en su extremo, permitiendo mediante un cabo subir y bajar el arte, el cual es un aro metálico del que pende una red de mallas pequeñas, en forma de cono invertido. |
| Distrib. geográfica | Argentina (Río Paraná). |
| Tipo de embarcación | Se practica desde los muelles. |
| Tipo de agua | Río, aguas no turbulentas. |
| Estación hidrológica | Cualquiera. |
| Tipo de carnada | Cebo adecuado a las especies de la época. |
| Selectividad | Aparentemente selectivo al tipo de especie por carnada. |
| Volumen de captura | En el río Paraná se logran buenas cantidades de individuos en la faena. |
| Especies que captura | Pacu, armado, bogas. |
| Forma de uso | Una vez colocado el aparejo de pesca en su sitio, se le pone en el fondo un trozo de lona extendida y sobre ella un cebo. Se baja lentamente hasta el fondo, dejándolo inmóvil un tiempo prudencial. Luego se levanta rápidamente, capturando los peces presentes con la carnada. |
| Efectos sobre recursos y medio ambiente | Sin referencia. |
| Ventajas y desventajas | Sin referencia. |
5.3.- Redes izadas desde la costa-Balanzas

Figura 15. Medio mundo fijo
Fuente : F.A.O./222
6.1. - Esparaveles
| Nombre en América Latina | Atarraya, tarraya, chili, tarrafa, resallo, red pollera. |
| Descripción | Red circular en forma de sombrilla, en cuyos bordes está la línea de plomos, conformando bolsas pequeñas sucesivas. En su extremo o cúspide la red está unida a un corde. |
| Distrib. geográfica | México, El Salvador, Cuba Panamá, Perú, Nicaragua, Colombia, Venezuela, Brasil, Argentina, Bolivia, Ecuador, otros por confirmar. |
| Tipo de embarcación | Canoa o cayuco. Puede usarse con o sin embarcación. Algunos casos con balsa. |
| Tipo de agua | Aguas poco profundas y calmadas. ciénagas, cochas, lagos, embalses, orilla de los ríos. |
| Estación hidrológica | Cualquier estación. Es menos eficiente an aguas altas. |
| Tipo de carnada | --------- |
| Selectividad | Podría ser selectiva según su ojo de malla y tipo de especie. Aprisiona los peces para capturarlos. |
| Volumen de captura | Colombia: 10 kg/día; El Salvador: 5kg/día. |
| Especies que captura | Bocachico, arenca, nicuro, tilapia, carpa, mojarra, camarón, pejerey, bagres, carachi, lisa, pacora, moncholo, sardinas para carnada y otros. |
| Forma de uso | Esta red es lanzada desde la canoa u orilla, al agua, de tal forma que se abra en forma circular, hundiéndose rápidamente por el peso de sus plomos marginales y encerrando los peces que encuentre. Se extrae lentamente aprisionando la captura y se deposita en la canoa. |
| Efectos sobre recurso y medio ambiente | Sin efectos negativos. |
| Ventajas y desventajas | Relativamente efectivo, bajo costo y construcción artesanal local. Decrece su efectividad en períodos de aguas altas. El algunos sitios, como el Río Sao Francisco de Brasil, se ven atarrayas de hilo polamide monofilamento (0.50 mm diámetro, malla 95 mm en dicho caso). Aunque puede ser más difícil tejer atarrayas de monofilamento, estas pueden caerse más rapidamente que las de multifilamento, y así el monofilamento puede ser más efectivo. |
6.1 Esparaveles



| ◊ 10–100 mm | |
| Rango de materiales y medidas usadas en Atarrayas en America Latina | PA R 71–1900 tex |

Figura 16. Atarraya
Características de una atarraya de PA monofilamento usada en
el Rio Sao Francisco, Brasil.
Ejemplos con diferentes dimensiones observados en el lugar:
de 70 mm y de 45 mm longitud de malla.
Fuente: Drew (1987)

| Especificaciones | ◊ : 50 mm |
| hilo : 210/3 (~ R 75 tex) | |
| diámetro : 3.50 | |
| circunferencia : 11.00 | |
| plomos : 220 Pb 28 g |
Figura 17. Método de las 5 atarrayas. El Salvador
Fuente : Castro (1985)
7.1.- Caladas de fondo o superficie.
| Nombre en América Latina | Mallón, trasmallo, agallera, red de enmalle, enredador, tendal, agallero, red de agallas, agallera invisible, red de espera, malla cacoeira. |
| Descripción | Es una red de un solo paño, cuya relinga superior está dotada de flotadores o boyas plásticas u otro material flotante, y su relinga inferior tiene alma de plomo o pesos de plomo. La red puede ser de nylon tipo monofilamento o multifilamento. |
| Distrib. geográfica | Argentina, Bolivia, Colombia, Nicaragua, Panamá, Cuba, El Salvador, México, Uruguay, Paraguay, Chile, Brasil, Guatemala, Perú y otros por confirmar. |
| Tipo de embarcación | Usualmente un bote se usa para extenderla, revisarla o sacarla. |
| Tipo de agua | Ríos, lagos, embalses, ciénagas y cochas. |
| Estación hidrológica | Cualquiera ya sea en jornadas diurnas o nocturnas. |
| Tipo de carnada | --------- |
| Selectividad | Muy selectiva de acuerdo a los ojos de malla. |
| Volumen de captura | 2 Kg/hora/200 m (Colombia); 20 Kg/día/100 m (Bolivia); 3–25Kg/día (El Salvador). |
| Especies que captura | Sábalo, moncholo, bagre, boga, dorado, pati, trucha, lisa, pejerey, mojarra, carpas, bocachico, pacora, tilapias, cachamas, paiche, zungaro, ispi, paco, gamitana, guapote, tigre, sardina, tiburón, pez sierra y otros. |
| Forma de uso | Por medio de lastres o anclas sujetas a una boya, se cala la red a la profundidad deseada (fondo, medio o superficie), extendiéndose y sujetando el otro extremo de la red con otra boya y su respectivo lastre o peso; pueden colocarse redes o paños seriados. |
| Efectos sobre recursos y medio ambiente | Debe estandarizarse el ojo de malla al tipo de especie que desea capturarse para regular su talla de captura, de lo contrario puede desestabilizar la población. |
| Ventajas y desventajas | Más efectivas hasta profundidades no mayores de 10m (México). Puede ser de fabricación local y artesanal. Fácil manejo y poco esfuerzo para operarlo. Si es de material sintético no se debe secar al sol, porque sus rayos causan la descomposición de los hilos. Si se usan ojos de malla muy pequeños, se capturan muchos juveniles de peces, y si las utilizan para bloquear rutas migratorias de las especies en vías de reproducirse, podría afectar negativamente el potencial de las poblaciones. |
7.1 Redes de enmalle de: Fondo, Media o Superficie (Caladas)

Figura 18. Modalidades de construcción de redes de Enmalle
7.1 Redes de Enmalle caladas en superficie, media o fondo

Figura 19. Red Agallera, de espera o enmalle
7.1 Redes de Enmalle


Figura 20. Ejemplos específicos de Enmalle en América Latina
7.1 Redes de Enmalle caladas

Figura 21. Modalidad de red de Enmalle en Nicaragua- Enredador de bolso
o chinchorro
Fuente : Martínez (1985)
7.2. - De deriva
| Nombre en América Latina | Sardinera o manaita, mallón de surubí, mallón para sábalo, trasmallo para pejerey, malla rodada, tendal, agallera, trasmallo, carceia, arrancón. |
| Descripción | Red de enmalle de un solo paño, cuyas relingas superior e inferior tienen boyas de flotación y plomos respectivamente. Dependiendo de sus tamaños, varía la modalidad de operación y magnitud de su captura. |
| Distrib. geográfica | Argentina, Colombia, Panamá y Brasil. |
| Tipo de embarcación | Canoa con remos o con motor fuera de borda, 5–25 HP. |
| Tipo de agua | Curso de los ríos y sus playones, embalses y lagos. |
| Estación hidrológica | Cualquiera. |
| Tipo de carnada | --------- |
| Selectividad | Selectiva según sus ojos de malla. |
| Volumen de captura | --------- |
| Especies que captura | Surubí, pacu, dorado, manguruyu, moncholo, boga, pati, cachama, tilapia, bagre pintado, anchoita de río, pejerey, sábalo. |
| Forma de uso | Puede maniobrarse en el fondo o superficie del agua. Uno de los extremos de la red se une a un flotador en el río, punto desde el cual la canoa va extendiendo la red con dirección a la playa y en forma perpendicular a la corriente. Luego se recoge y se levanta la red desenmallando la captura para iniciar otra faena. En otros casos la red atravesada en el río se deja llevar por la corriente en un trecho determinado. Ocasionalmente esta red puede ser utilizada en forma de cerco. |
| Efectos sobre recursos y medio ambiente | Vale la pena evaluar la incidencia del arte sobre el fondo de los ríos en su proceso de pesca, al ser operado en el contacto con el fondo, en aspectos de arrastre de sedimentos o desestabilización del nicho ecológico de algunos bagres (Río Meta, Colombia). |
| Ventajas y desventajas | Es un arte muy efectivo especialmente cuando barre el lecho del río, en amplia cobertura. |
7.2 De Deriva

Figura 22. Malla rodada, sardinera
7.2 Redes de Enmalle de deriva



Figura 23. Ejemplos de redes agalleras de deriva en América Latina
7.3. - De cerco.
| Nombre en América Latina | Modalidad: caloneo, rodeo y apaleo, agallera semiactiva; mallón de cerco para sábalo, bolicheo. |
| Descripción | Son redes de enmalle, de diferentes tamaños, que se maniobran en forma de cerco, a nivel de superficie o fondo. |
| Distrib. geográfica | El Salvador, Cuba, Argentina y Colombia. |
| Tipo de embarcación | Cayucos o balsas, canoa a remo o motor, barquitos con motor de 10 HP y 12–14 m de eslora (Argentina). |
| Tipo de agua | Lagos, lagunas, en aguas de poca y mediana profundidad, cauce de los ríos. |
| Estación hidrológica | Cualquiera. |
| Tipo de carnada | --------- |
| Selectividad | Selectiva según sus ojos de malla. |
| Volumen de captura | 17 kg/día (El Salvador). |
| Especies que captura | Tilapia, guapote tigre, sábalo, moncholo, bagre, dorado, pati, lisa. |
| Forma de uso | Este método se usa en tres formas: en los lagos a nivel superficial y a nivel de fondo. En el río se maniobra en las playas. Cuando se usa en la superficie, la red es extendida a partir de sus extremos por dos botes, iniciando en forma de semicírculo y terminando por encerrar un área completamente, junto con los peces que se trata de capturar. Si la red se cala en el fondo, a 3 m aproximadamente, formando un círculo, con una previa limpieza de la vegetación, la captura se extrae con una atarraya lanzada desde la superficie, junto con acciones que espanten los peces y así queden atrapados en la red cuando huyen. Su uso en el río es más generalizado y consiste, en forma similar con los chinchorros, de encerrar un área con la red y atrapar los peces que se encuentren en ese momento. |
| Ventajas y desventajas | Cuando se usa la modalidad de calar la red en el fondo (tipo rodeo-El Salvador) a una profundidad de 3 – 4 m, los pescadores hacen grandes esfuerzos para zambullirse a pulmón conllevando riesgos para ellos durante la faena en el fondo, ya sea en la limpieza del area, la postura de la red o la acción de espantar y guiar a los peces. |
| Efectos sobre recursos y medio ambiente | Cuando con este método se agitan las aguas y los fondos lodosos, mediante palos, remos o el hélice del motor, se puede producir alta turbidéz que provoca la muerte de algunos peces, al tapársele las branquias. Podría desestabilizar el nicho ecológico de algunas especies, si la operación requiere de limpieza del área de vegetación, para calar la red. Dependiendo de los puntos anteriores y del tamaño de la luz u ojo de malla, podría incidir negativamente en las poblaciones de peces. |
7.3 De Cerco

Fuente: F.A.O- Capacitacion 3

Figura 24. La red de Enmalle utilizada como cerco.
7.3 Redes de Enmalle de cerco


Figura 25. Método denominado “Caloneo” El Salvador
Especies : tilapia, guapote tigre, mojarra
(Tilapia spp. & Cichlasoma spp.)
Fuente : Castro (1985)

![]() | ||
| ESPECIFICACIONES DE LA ATARRAYA | ||
| Circunferencia | ~ 11.00 | |
| Altura | 1.75 | |
| Plomos | 210 × 28 g | |
| Luz de Malla | 31 mm | |
| Material | PA R 126 tex | |
Figura 26. Método denominado “Rodeo-Chapola” El Salvador
Especies : guapote (Cichlasoma spp.)
Fuente : Castro (1985)


Figura 27. Método denominado Apaleo “Media Luna” El Salvador
Especies : tilapia, guapote
Fuente : Castro (1985)
7.4. - Fijas
| Nombre en América Latina | Red cortinera, agallera, trasmallo, cortina. Recibe el nombre según la especie que captura: Red paichitera etc. |
| Descripción | Son redes de enmalle de un solo paño, a veces sin relingas superior e inferior que contengan los flotadores y los plomos, sujetos a largos palos clavados en el fondo. |
| Distrib. geográfica | Perú, Colombia. |
| Tipo de embarcación | Canoa o cayucos. |
| Tipo de agua | Aguas quietas y poco profundas (1–2 m). |
| Estación hidrológica | Cualquiera. |
| Tipo de carnada | --------- |
| Selectividad | Muy selectiva dependiendo de sus ojos de malla. |
| Volumen de captura | Aproximadamente 30 Kg/200 m/día (Bocachico, moncholo, pacora) (Colombia). |
| Especies que captura | Bocachico, pacora, moncholo, blanquillo, paco, gamitana, zungaro, paiche, boga, ispi, suche, pejerey, trucha, robalo, tiburones. |
| Forma de uso | La red se cala al fondo por medio de varas o largas estacas, distanciadas entre si cada 10–30 m formando una cortina fija, se pueden unir varios paños de red para operarla. |
| Efectos sobre recursos y medio ambiente | Es muy efectiva y para evitar desequilibrio de las poblaciones, debe estandarizarse bien sus ojos de malla. |
| Ventajas y desventajas | De bajo costo y de construcción local y artesanal. De fácil maniobra y muy efectiva. |
7.4 Fijas



Figure 28. Red cortina o “Trasmallo”
A) Perú. Especies : Gamitana, Paiche, Boquichico
B) Colombia. Especies : Bocachico, Pacora
Fuente : Quiroz y Saravia (1979)
Arias (inf.personal)
7.5.- Trasmallos
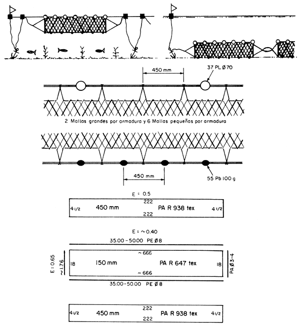
| Nombre en América Latina | Trasmallo, tres telas. |
| Descripción | Es una red formada por 3 paños superpuestos que se arman juntos; los dos paños exteriores tienen un mallero mayor que el central, y este último tiene mayor embando que los laterales, provocando un embolsamiento de los peces al retenerlos. |
| Distrib. geográfica | Perú, Argentina. |
| Tipo de embarcación | Canoa para colocarlo o calarlo. |
| Tipo de agua | Ríos y lagunas. |
| Estación hidrológica | Cualquiera. |
| Tipo de carnada | --------- |
| Selectividad | Está dada por el tamaño de sus ojos de malla. Menos selectivo que la red de enmalle de un solo paño. |
| Volumen de captura | Sin referencia. |
| Especies que captura | Surubí, manguruyu, dorado, pati, armado, pacu, sábalo, bogas. |
| Forma de uso | De deriva, fondo o superficie, se cala, esperando un tiempo considerable para revisión o extracción de la captura. |
| Efectos sobre recursos y medio ambiente. | Sin referencia. |
| Ventajas y desventajas | Sin referencia. |
7.5. Trasmallos

Figura 29. Tres telas o trasmallo
Fuente: Ercoli (1985)