The middle Paraná river development project provides for the construction of not less than two dams whose reservoirs would leave a large part of the floodplain under water (Figure 2). The downstream dam (Cierre Sur or Chapetón) project is in its final stages. Two Volvograd HEP selective channel fish elevators (Poddubnyi, Espinach Ros and Oldani, 1981) will be provided to pass fish over a height of approximately 18 m. The upper channel leading to the elevator will be used to pass characids, which are guided in their migrations by flow velocity gradients. The lower channel will be used for the passage of siluroids, which follow the contours of the river bottom. Operation of this type of elevator is described in Kipper and Mileiko (1967). It would be suitable for the passage of fishes of different orientation characteristics and capacities, provided certain improvements are made (Poddubnyi, Espinach Ros and Oldani, 1981). The volume of the vertical chamber of each elevator will be 289 m and the four channels will pass 800 fish batches per day. Fish entrances will be located at both sides of the turbine discharge.
The proposal to construct a fish elevator followed a relatively intensive study on fish concentrations and movements in the area where the dam will be built, using biotelemetric and echo-sounding techniques. Upstream spawning and breeding grounds were also determined and existing data on fish migrations and movements in the area were analysed (Poddubnyi, Baigún and Quirós, 1981; Espinach Ros, Fortuny and Argüello, 1982).
In the draft project phase a pool and weir-type fish pass had been proposed (López and Castello, 1976). Criticism of that proposal (Poddubnyi and Bonetto, 1980) was based on the fact that a fish pass installation should ensure the passage upstream of a large number of fish species whose migrating capacities and travelling depth differ. A provisional estimate of the annual fish biomass to be passed upstream is 21 000 t (Poddubnyi and Bonetto, 1980). Pool and weir-type passes were retained in the project for relatively low, auxiliary control dams in tributaries on the right bank of the Paraná river (Poddubnyi, Baigún and Quirós, 1981).

Figure 7 Salto Grande dam and location of fish entrances (E) to the lock system (Delfino, Baigún and Quirós, 1986)

Figure 8 Salto Grande dam seen from the Argentine coast. Weir open (Photo: R. Delfino)


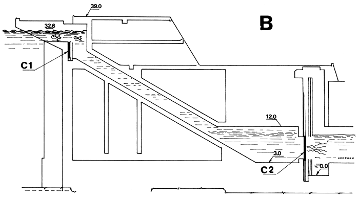
| Figure 9 | Borland lock operation. | |
| A. | Fish entering the lock | |
| B. | Fish leaving the lock | |
| C1. | Upper sluice-gate | |
| C2. | Lower sluice-gate | |
The migrations and movements of the major fish species have been fairly thoroughly studied (Bonetto, 1963; Bonetto and Pignalberi, 1964; Bonetto et al., 1971; Bonetto, Canon Verón and Roldán, 1981). Prochilodus platensis are particularly abundant. With the exception of migrations to the Plata river, most fish were recaptured only short distances away from the tagging point (Poddubnyi and Bonetto, 1980). The following assumptions were put forward in an attempt to explain this behaviour in the middle Paraná: (a) the presence of local stocks consisting of two categories of individual, active migrants and passive migrants (the former being relatively rare) (Poddubnyi and Bonetto, 1980) and, (b) the presence of local stocks whose limited migrations serve to move between their feeding, breeding and wintering grounds (Poddubnyi and Bonetto, 1980; Tablado and Oldani, 1984). The movements of Prochilodus platensis from the main channel, at the level of Cierre Sur (the future Chapetón dam), to and from the Plata river seem to be similar to the movements it normally undertakes across the main channel toward the floodplain. Both movements are related to the rise and fall of the water level in the middle Paraná (Quirós and Cuch, 1986).
The number and biomass of fish to be passed upstream were calculated on the basis of the number of echos obtained through echo-sounding methods and cruising speeds estimates obtained by means of tagging experiments using sonic tags. The number of migrant species to be catered for was estimated on the basis of commercial catches, whilst in order to obtain the average weight of individuals, an experimental fishery was organized using similar gear to that used commercially. It was assumed that 100% of the echos recorded in the main channel and 50% of those in littoral areas and on the slopes represented migratory species. It was further assumed that all those migratory fishes were moving upstream and, finally, that a number or biomass per species equal to the number or biomass calculated is continually moving upstream at a cruising speed equal to that determined telemetrically and for a period per day equivalent to each species' daily activity period. The authors (Poddubnyi, Espinach Ros and Oldani, 1981) consider that underestimations are justified as a means of obtaining acceptable safety margins. It is estimated that 111 600 t of fish will have to be passed upstream during the five months of active upstream migrations.
Since the elevator (capacity 23 120 t/month) will not be able to accommodate the biomass that will congregate, it is also proposed to install a floating unit for holding and transporting the fish. It will consist basically of a self-propelled container and floating storage tank. It will travel to the areas where fish accumulations are largest and, by means of pumps, produce a current to attract the fish into the storage tank. The fish will then be transferred to the container tank by means of mechanical devices. The container will then separate off from the collecting unit and the fish will be taken to the reservoir through the navigation locks. It is planned to work with two containers. One would remain attached to the storage tank and carry out the cycle of work, while the other would move to and from the reservoir (Poddubnyi, Espinach Ros and Oldani, 1981).
It was recommended that in addition to the fish pass installations and mechanisms, hatcheries be established in order to restock the reservoirs with migratory species (see Section 8.0).
The Ilha Grande dam on the Paraná river will be the first of the large dams built by Brazil's electrical sector to be equipped with a fish pass (Figure 2). A 194 m wide pool and weir-type fishway has been proposed to pass fish over a height of not more than 20 m and not less than 17.5 m (Godoy, 1985). The pools and weirs will be 10 m wide and the distance between successive steps will be 4 m. The fish will enter the pass via a 620 m long channel, the entrance to which will be located in the area where the fish are attracted by turbine discharge (Godoy, 1985).
The fish will be able to undertake reproductive migrations in the rivers flowing into the reservoir (Godoy, 1985).
Colombia's first installation is being built in the San Silvestre dam on the Sogamoso river in the Magdalena river basin. It is a fish ladder type of installation and will provide passage over a height of approximately 4 m (Valderrama Barco, 1986).
Pipeline projects for the Uruguay river include three hydroelectric developments, practically on the tail of the Salto Grande reservoir (Figure 2). These developments are to be shared by the Argentina and Brazil (OEA, 1985). In one of them, the Garabí dam, fish will have to be passed over a height of more than 30 m. At the point where this dam is to be constructed, the mean annual flow rate of the Uruguay river is 2 600 m3/sec. Bioecological data on the fish in this reach of the river is virtually non-existent. The only data available has been obtained through tagging experiments conducted downstream in the Salto Grande reservoir. Of the tagged species, Salminus maxillosus and Leporinus obtusidens ascend to the point where the Garabí dam is to be constructed (Delfino and Baigún, 1985). Tributaries of the Uruguay are listed among the breeding grounds of major migratory species and widespread mortality due to the discharging into the river of biocides used in agriculture has been reported there.
It was suggested that a study to determine the size of migrating stocks and their movements in the area be carried out (Boiry and Quirós, 1985). Finally, however, on the basis of an analysis of existing data only, it was proposed to install Borland-type locks, designed to meet the hydrological characteristics of the Uruguay river in that area, incorporating the modifications that were proposed to improve the efficiency of the Salto Grande locks (Boiry and Quirós, 1985) (see Section 4.4). The establishment of a hatchery for restocking purposes would complete the project.
Studies showed that the basin drained by the tributaries flowing into the reservoir of the Corpus dam, scheduled for construction in the Paraná river, was the spawning ground, and possibly the rearing ground, for migratory species such as Prochilodus platensis, Salminus maxillosus and Leporinus spp. (Castello, 1982). The tail of the future reservoir will be above Brazil's Itaipú dam, which is not equipped with fish pass facilities, and above the Iguazú falls, a natural barrier to migratory fishes. In the light of the Brazilian experience, a pool and weir-type fishway was recommended to pass fish over a height of some 22 m. It has been suggested that pumps fitted with diffusers be used downstream to increase the attraction water flow and encourage more fish to enter the system (Castello, 1982).
Each of the two power houses, separated by the weir, will be provided with a ladder with vertical slots and gravity flow. The power houses will also be equipped with sluice-gates and emergency gates, which will operate at all times up to a maximum discharge of 95 000 m3/sec. Two fish entrance structures will be provided for each power house. The fish will swim through the transport channels to the fishways.
Entrances will be the vertical slot-type, providing access for fish travelling in the column of water as well as for those following the contours of the bottom. They will be as close as possible to the downstream “face” of the power house. Water flows in the entrances will be controlled by motor-operated gates. Water velocity in the entrance will vary between 1.2 and 6.6 m/sec. Optimum velocity will be determined during operation. The transport channel will run below the power house. Mean water velocity in the transport channel will be 0.4–0.7 m/sec.
Each ladder will be composed of 74 raised steps. Pools will be 4 m long (including the thickness of the wall) and 4 m wide, with a fall of 0.30 m between them. Each of the 75 walls separating the pools will be provided with a vertical slot, 0.75 m wide. Flows will vary between 3.28 m3/sec and 8.75 m3/sec, with a mean of 4.75 m3/sec. The vertical slots shall be staggered from side to side to provide still-water areas and possible resting places for the fish. Artificial lighting will simulate river conditions.
The Yaciretá dam on the Paraná river is under construction (Figure 2). The tail of the reservoir reaches the site chosen for the construction of the Corpus dam. A fish pass-cum-elevator was proposed to pass fish over an obstacle some 20 m high. The entrance to the pass would be provided with an auxiliary water system using pumps equipped with downstream intakes (Castello, 1982). This recommendation was carried out without any type of study being done regarding the type of fish requiring passage or the size of stocks in the area. It is planned to install fish entrances at both sides of the powerhouse and one in the centre. The fish would enter the pass through a channel running below the power plant in the vicinity of the powerhouse. It would be possible to control attraction water velocity so that it does not exceed 2.4 m/sec. The pass would be the sloping step type, with staggered vertical slots. It would lead to a pool where the fish would be held by mechanical means before being transferred to the elevator. This option was thought to be more efficient than others for a fish fauna about which virtually nothing is known from the ecobiological viewpoint (Dudley, 1975). No fish pass installation is envisaged for the control dam, which closes off the other arm of the Paraná river. During periods of low water the sluice-gates of the weir would be fully open and the fish would be able to ascend (Dudley, 1975).
As the fish move downstream, they would pass through the turbines, which would result in a mortality rate of under 10%. Larger specimens could descend via the weir in high water and through the navigation locks.
Proposed elevator handling capacity is approximately 18 m3. This is low and could result in fish being killed in the elevator through overcrowding (Castello, 1982). An international financing agency advised against building the elevator since there had been no study into the reliability and efficiency of the system proposed (Bienatti, pers. comm.). Bonetto (1980) reports that if one of the two stages fails, the entire system collapses. Attempts are being made to determine whether it would be feasible to use another type of fish pass installation, but, so far, no decision has been taken.
Estimates of migrant stocks were obtained after the fish pass structures, referred to above, had been installed in the Corpus and Yaciretá projects (Biosonics Inc., 1985, 1985a). The studies, spanning the period October 1984 – February 1985, were carried out in two stages, with the river in spate. Double beam hydroacoustic equipment and fixed and mobile stations were used to determine target strength. In both cases, the number of fish per square meter moving downstream was greater than that moving upstream. Mean densities were approximately 8 and 66 fish/m2/day moving upstream and 12 and 160 fish/m2/day moving downstream. In Corpus, the fish usually swam close to the river banks and, in Yaciretá, they used the middle of the channel and one river bank (Biosonics Inc., 1985, 1985a). It would appear that these studies, which could provide useful information on fish biomasses and movements in the areas chosen for the construction of these dams, were not carried out during the period of peak upstream migration (Bienatti, pers. comm.).