Todas las instalaciones para el paso de peces, excepto una, en ríos de América Latina, pertenecen al tipo de escalas en escalones-tanque (Tabla 1).
Sólo tres represas, ubicadas en el río Carcarañá, afluente del río Paraná, en la Provincia de Santa Fé, poseen facilidades para pasaje de peces. Fueron construídas en la década del trienta y su altura es de aproximadamente 2.5 m. Originalmente estaban constituídas por un plano inclinado con un sistema de aletones laterales que actuaban como disipadores. Resultaban ineficientes por completo. En 1960 se les efectuaron algunas modificaciones con el objeto de asemejarlas a las de tipo en escalones-tanque, eficientes en Brasil para ictiofaunas similares (Bonetto, 1980). Las modificaciones introducidas permitieron el pasaje de Prochilodus platensis y Salminus maxillosus. Sin embargo su eficiencia se evaluó como baja (Bonetto et al., 1971).
La primera escala para peces fue construída en 1911 sobre la río Pardo, en la cuenca del Plata (Tabla 1). Actualmente se encuentra en funcionamiento permitiendo el pasaje de algunos de los peces de “piracema” (Godoy, 1985).
En 1920–22 fue construída una segunda escala sobre el río Mogi Guassu en la represa de Cochoeira de Emas, Pirassununga, Estado de Sao Paulo. Salvaba un desnivel de 3 m pero era pequeña y resultó poco eficiente. En 1942 fue demolida y en su lugar se construyó una escala de 5 escalonestanque que funcionó hasta 1966. Permitía salvar un desnivel de 5 m y resultó eficiente en el pasaje de peces (ver punto 6.1). En 1983–84 se reformó la represa y la escala vuelve actualmente a salvar un desnivel de 3 m de altura (Godoy, 1985). El ancho de cada escalón-tanque es de 15 m, el largo de 5 m y su altura de 0.75 m.
Sobre el río Paranapanema, en la represa de Pirajú, Estado de Sao Paulo, se construyó una escala para salvar una altura de 16 m (Godoy, 1985) o 13.5 m (Castello, 1982). Según este último autor consta de 25 escalones-tanque con una diferencia de altura de 0.50 m entre ellos. Uno de ellos de 6 × 5 × 4 m, dos de 6 × 5 × 3 m y los 22 restantes de 3 × 5 × 2 m. Su longitud total es de 84 m. Describe una amplia curva y su entrada se ubica por debajo del resalto hidráulico de las salidas de turbinas. Los empleados de la central manifiestan que es funcional aunque en opinión de Castello (1982) para su funcionamiento en aguas bajas sería necesario incluirle 2 o 3 escalones extras.
La escala de Salto Mauá, sobre el río Tibagi, Monte Alegre, Estado de Paraná, tiene, según Godoy (1985), 6 m de altura para una presa de 20 m de altura según Castello (1982). Es del tipo de escalones-tanque y por ella ascienden Prochilodus sp., Salminus sp., Pseudoplatystoma sp., Astyanax spp., Acestrorhynchus sp., Pimelodus sp., Pimelodella sp. y Plecostomus sp.
Tabla 1. Facilidades de pasaje de peces en funcionamiento y proyectadas en América Latina.
| Río | Cuenca | Represa | Desnivel (m) | Tipo | Año de Construcción | Funcionamiento | Fuente |
| Argentina | |||||||
| Carcarañá | del Plata | Carcarañá | ‡ 2.5 | 1 | 1935? | + (a) | Castello 1982 |
| Carcarañá | del Plata | Lucio V. López | ± 2.5 | 1 | 1935? | + (a) | Castello 1982 |
| Carcarañá | del Plata | Andino | ± 2.5 | 1 | 1935? | + (a) | Castello 1982 |
| Paraná | del Plata | Chapetón | 18 | 2 | Proyecto | Poddubnyi et al. 1981 | |
| Saladillos | del Plata | Chapetón | 4 | 1 | Proyecto | Poddubnyi et al. 1981 | |
| Brasil | |||||||
| Pardo | del Plata | Itaipava | 7 | 1 | 1911 | + | Godoy 1985 |
| Mogi Guassu | del Plata | Cachoeira de Emas | 3 | 1 | 1922 | - | Godoy 1985 |
| Mogi Guassu | del Plata | Cachoeira de Emas | 5 | 1 | 1943 | + | Godoy 1985 |
| Sorocaba | del Plata | Fazenda Cachoeira | ± 6 | 1 | 1942 | ? | Godoy 1985 |
| Tibagi | del Plata | Salto Mauá | 6 | 1 | 1943 | + | Godoy 1985, Castello 1982 |
| Mogi Guassu | del Plata | Cachoeira de Cima | 3.0 | 1 | ? | - | Castello 1982 |
| Paranapanema | del Plata | Piraju | 16 | 1 | 1971 | + | Godoy 1985, Castello 1982 |
| Paranapanema | del Plata | Uberlandia | ? | 1 | ? | + | Castello 1982 |
| Tijuco | del Plata | Salto do Moraes | 10.5 | 1 | 1972 | ? | Godoy 1985 |
| Paraná | del Plata | Ilha Grande | 20 | 1 | Proyecto | Godoy 1985 | |
| Jacuí | Jacuí | Amarópolis | 5 | 1 | 1973 | + | Godoy 1985, Castello 1982 |
| Jacuí | Jacuí | Anel de Dom Marco | 5 | 1 | 1973 | + | Godoy 1985, Castello 1982 |
| Jacuí | Jacuí | Fandango | 5 | 1 | 1973 | + | Godoy 1985, Castello 1982 |
| Taquarí | Jacuí | Bom Retiro do Sul | 9 | 1 | 1973 | + | Godoy 1985, Castello 1982 |
| Pandeiros | Pandeiros | ? | 1 | no opera | Godoy 1985 | ||
| Itapocu | Guaramirim | ± 2 | 1 | 1985 | - | Godoy 1985 | |
| (Estado de Rio Grande do Norte) | Mendubim | 6.6 | 1 | 1973 | + | Gurgel et al. 1977 | |
| (Embalse Poço do Barro, Ceará) | Poço do Barro | 15 | 1 | 1980 | + | Godoy 1985 | |
| Colombia | |||||||
| Sogamoso | Magdalena | San Silvestre | 4 | 1? | en construcción | Valderrama Barco 1985 | |
| Venezuela | |||||||
| Guanare | Orinoco | ? | ± 3.5 | 1 | ? | + (b) | Lilyestrom y Taphorn 1978 |
| Argentina - Brasil | |||||||
| Uruguay | del Plata | Garabí | 32 | 3 | Proyecto | (c) | Boiry y Quirós 1985 |
| Argentina - Uruguay | |||||||
| Uruguay | del Plata | Salto Grande | 30 | 3 | 1982 | ± (d) | Delfino et al. 1986 |
| Argentina - Paraguay | |||||||
| Paraná | del Plata | Corpus | 22 | 1 | Proyecto | COMIP 1986 | |
| Paraná | del Plata | Yaciretá | 20 | 4 | Proyecto | (e) | EBY 1986 |
(a) originalmente eran del tipo en plano inclinado con disipadores, y no eran eficientes.
(b) funciona deficientemente por falta de mantenimiento.
(c) falta decisión final.
(d) ver 6.2.
(e) posiblemente sea modificado, no hay decisión final.
Sobre el río Jacuí, Estado de Río Grande do Sul, se han construido hasta la fecha tres escalas del tipo en escalones-tanque (Tabla 1). Las tres salvan un desnivel de 5 m (Godoy, 1985). La escala de Fandango, Cachoeira do Sul, es utilizada por Salminus maxillosus en su migración reproductiva (Castello, 1982). Según Godoy (citado por Castello, 1982) la escala tiene escalonestanque de 1 m de ancho y es utilizada también por Prochilodus sp. y Plecostomus sp.
Sobre el río Taquarí, afluente del Jacuí, en Bom Retiro do Sul, se construyó una escala del tipo en escalones-tanque para salvar una altura de 9 m. Por ella ascienden las mismas especies de peces que en la escala de Fandango (Castello, 1982).
Según Godoy (1985) en el período 1957–80 se construyeron escalas para peces en 23 represas (açudes) del NE brasileño, y todas ellas funcionan satisfactoriamente. La primera de estas estructuras, construida en el açude de Piloes, Estado de Paraiba, permitió que subieran 1380 peces por hora en el invierno de 1960 (Fontenele, 1961, citado por Gurgel, 1981).
En el açude de Mendubim, Açu, Estado de Río Grande do Norte, se construyó una escala de 16 tanques, con una altura total de 6.65 m. Durante cuatro años se estudió el movimiento migratorio de los peces y se registró el pasaje de 98.312 ejemplares de Prochilodus cearensis, con una media de 332 peces por hora (Gurgel et al., 1977).
Una escala del tipo en escalones-tanque fue construida en 1980 en el açude de Poço do Barro, Morada Nova, Estado de Ceará. Tiene un largo total de 163 m y una altura de 15 m. Se registró el pasaje de peces a partir de 1980 (Fontenele, 1981, 1984, citado por Godoy, 1985).
Sobre el río Guanare, perteneciente a la cuenca del río Orinoco, en el Estado Portuguesa se construyó una escala para peces en una represa del sistema de riego. Tiene una altura aproximada de 3 m y es utilizada por Prochilodus mariae en sus migraciones. Presenta deficiencias en el diseño de los accesos a la escala. Estos se encuentran ubicados aguas arriba de las compuertas, lo cual provoca que parte de los peces sean atraídos por las salidas de las mismas. Se citan deficiencias en el mantenimiento de la escala y la pesca predatoria en los escalones-tanques (Lilyestrom y Taphorn, 1978).
La represa de Salto Grande ubicada en el tramo medio del río Uruguay (Fig. 2) representa un obstáculo, de aproximadamente 30 m de altura, a las migraciones de los peces. El río Uruguay soporta una importante pesquería de Prochilodus platensis en su tramo inferior (Vidal, 1967; Bonetto et al., 1971). En su tramo medio su nivel de explotación puede considerarse como muy bajo y vuelve a hacerse importante a partir del punto en que el río se transforma en el límite político entre Argentina y Brasil (Fig. 2). Prácticamente sólo es explotado desde la margen brasileña (Boiry y Quirós, 1985). A comienzos de la década del setenta el ente binacional encargado de la construcción y manejo de la represa de Salto Grande consultó a los biólogos pesqueros argentinos y uruguayos sobre la conveniencia de que la represa tuviera en su estructura una estructura para el pasaje de peces. La respuesta fue negativa basándola en: (a) el desconocimiento de la dinamica migratoria de los peces del río Uruguay, y (b) que los peces tenían la alternativa de remontar el río Paraná. En ese entonces ya era del conocimiento común que los peces realizaban migraciones ascendentes principalmente durante el otoño (fines de marzo, abril y mayo). A pesar de la recomendación en contrario la Comisión Técnica Mixta de Salto Grande tomó la decisión de incluir una instalación para el pasaje de peces en la represa. La empresa constructora incluyó en el proyecto de obra dos esclusas para peces tipo Borland. Esta decisión parece haber sido tomada basándose exclusivamente en que la altura a salvar era de más de 20 m, para lo cual no era recomendable el uso de escalas del tipo en escalonestanque, y posiblemente en razón de sus bajos costos relativos (ver punto 9.0).
El conocimiento que se poseía en ese entonces sobre las migraciones de peces en el río Uruguay era prácticamente nulo, así como el del tamaño de los stocks que se desplazaban en la zona de la futura represa. Sólo se tenía conocimiento de que algunos de los peces marcados a la altura del bajo río Uruguay y en el Río de la Plata realizaban migraciones ascendentes por el río Uruguay (Bonetto y Pignalberi, 1964; Bonetto et al., 1971).
A partir de los estudios de desplazamientos y migraciones arriba mencionados y de los realizados por Godoy (1957, 1959, 1967) en Brasil, sólo se disponía de información sobre la velocidad de crucero media para unas dos o tres especies de peces en particular, Salminus maxillosus y Prochilodus platensis, y en ningún caso tal información correspondía al río Uruguay.
Como una forma de obviar esta total falta de información sobre los stocks de peces del río Uruguay, o quizás a pesar de ello, se tomó la decisión de incluir en la represa las esclusas tipo Borland. Estas ya habían sido evaluadas como eficientes para el pasaje de peces pequeños o con capacidades natatorias limitadas, de bajo costo de instalación para represas de altura entre 18 y 60 m, y de costos de operación bajos (Clay, 1961). También se conocían en ese entonces sus limitaciones, en particular para el pasaje de stocks migrantes de importancia.
Las esclusas tipo Borland de la represa de Salto Grande son básicamente de diseño similar a las que se describen en la literatura sobre el tema (Clay, 1961), pero a escala física de un río cuyo caudal medio anual alcanza casi los 4,500 m3/s. Constan fundamentalmente de dos cámaras: la inferior o cámara de acumulación y la superior o de salida de peces, ambas cámaras se encuentran unidas por un conducto inclinado (Fig. 6). Aguas abajo de la cámara inferior se extiende el cuenco de acumulación en el que se encuentran ubicadas las entradas de peces. La cámara inferior o de acumulación tiene un volumen máximo de 370 m3 dependiendo del nivel del río aguas abajo. Esto en condiciones ideales permitiría transferir 37,000 kg de peces por ciclo. Este límite superior parece difícil de alcanzar debido a las limitaciones de las esclusas Borland para lograr que los peces abandonen la cámara superior (Clay, 1961; Larinier, 1976). La salida de la cámara superior se encuentra adyacente al vertedero.
Los cuencos de acumulación de peces, que se comunican con cada una de las esclusas, se encuentran ubicados entre el vertedero y cada una de las casas de máquinas (Fig. 7). Sus entradas están dirigidas hacia la zona de vertedero y ubicadas por debajo del resalto del mismo. Aunque no está especificado en los manuales de operación provistos por la empresa (CTM Salto Grande, 1978, 1983) el sistema no operaría con el vertedero abierto, aunque sólo sea por la imposibilidad física de los peces de alcanzar las entradas al sistema (Fig. 8).


Figura 6. Esclusas para peces tipo Borland de la represa de Salto Grande. A. Corte. B. Planta. 1. Entrada de peces. 2. Cuenos de acumulación. 3. Cámara inferior. 4. Conducto de la esclusa. 5. Cámara superior. 6. Zona de descarga de turbinas. 7. Zona de vertedero. 8. Entradas de agua auxiliar (Delfino et al., 1986)
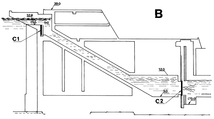
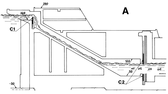
La circulación de agua y la entrada y salida de los peces se logra por medio del accionar sincronizado de los compuertas. La compuerta superior (C1) separa la cámara superior del agua del embalse y la compuerta inferior (C2) separa la cámara inferior del cuenco de acumulación de peces (Fig. 9). La compuerta inferior fue originalmente diseñada en dos tramos, superior e inferior. Este último se vinculaba al primero por un sistema regulable que permitiera una sección de salida de agua acorde al nivel del río aguas abajo y con el fin de mantener las condiciones de funcionamiento de la esclusa, (CTM Salto Grande, 1978). Actualmente el único tramo que se encuentra en operación es el superior.
El agua de atracción está provista por el sistema de esclusa. Cuenta además con una fuente auxiliar de agua de atracción provista por la diferencia de presión entre la zona de descarga de turbinas y el cuenco de acumulación (Fig. 6). Esta fuente auxiliar es variable dependiendo del número de turbinas en funcionamiento en la respectiva casa de máquinas.
El funcionamiento de cada esclusa es tal que se establece una circulación de agua desde el nivel superior al inferior que induce la entrada de peces al sistema, su posterior desplazamiento en sentido contrario al del flujo de agua, y salida hacia el embalse aguas arriba. El funcionamiento fue previsto de tal manera que se pueda accionar en forma automática o manual (CTM Salto Grande, 1978). El proceso completo puede considerarse que se realiza, según diseño, en cuatro etapas:
Primera etapa: Entrada de peces a la esclusa
Los peces acumulados en el cuenco de acumulación aguas abajo son inducidos a entrar a la cámara inferior. La compuerta superior permanece parcialmente abierta permitiendo según diseño una descarga de 0.5 m3/3. La compuerta inferior permanece abierta para que se mantenga una velocidad del agua de 0.25 m/s en su sección.
Segunda etapa: Subida del nivel de la esclusa
La compuerta superior permanece en la misma posición que en la primera etapa. La compuerta inferior se cierra y se llena la esclusa de agua hasta alcanzar el nivel del agua del embalse.
Tercera etapa: Salida de los peces
La compuerta superior se abre completamente, mientras la inferior permanece parcialmente abierta en forma tal que permita la circulación de un caudal de 0.6 m3/s. En tal condición la velocidad en la sección de salida de la esclusa sería de 0.25 m/s. En estas condiciones los peces deben desalojar la cámara superior nadando hacia el embalse inducidos por la corriente en sentido contrario.
Cuarta etapa: Bajada del nivel de la escala
La compuerta superior vuelve a la posición indicada en la primera etapa y la inferior se abre lo suficiente para permitir el vaciado de la esclusa sin que la velocidad del agua exceda los 0.25 m/s.

Figura 7. Represa de Salto Grande y ubicación de las entradas de peces (E) al sistema de esclusas (Delfino et al., 1986)

Figura 8. Vista panorámica de la represa de Salto Grande desde la costa argentina. Vertedero abierto. (Foto: R. Delfino)
Finalizado el vaciado de la esclusa la compuerta inferior retorna a la posición indicada en la primera etapa y se repite el ciclo.
Previo a su construcción el diseño fue modificado, según lo recomendado, con el fin de aumentar su versatilidad (Dirección Nacional de Pesca Continental, 1978; Delfino et al., 1986). Se incluyó la posibilidad de manejo manual y de que los tiempos de entrada y salida de peces se pudieran variar entre 20 y 60 minutos. Los caudales a circular por el paso varían entre 0.25 y 1.0 m3/s con la posibilidad de alcanzar velocidades de más de 1 m/s en la sección que separa la cámara inferior del cuenco de acumulación de peces, o sea en la sección de la compuerta inferior. Se incluyó además un dispositivo de control para cada esclusa, con un panel de señalización analógico que permite determinar la posición de las compuertas y los niveles de agua en el sistema. Los tiempos de llamada de peces (primera etapa) y de salida de peces (tercera etapa) son programables a voluntad del operador (Fig. 9). Estos dispositivos no fueron ubicados en la sala de control de turbinas y compuertas de la central hidroeléctrica, a pesar de la recomendación en ese sentido (Delfino et al., 1986).
Fue recomendada la instalación de un contador de peces de canal único del tipo de funcionamiento por desbalance de un puente de conductividad. Dadas las dimensiones de la cámara superior no detectaba peces de por lo menos 50 cm de largo total. Finalmente fue instalado un contador del mismo tipo pero de canales múltiples. Posteriormente debió ser retirado pues el pasaje de los peces, en particular Prochilodus platensis, se realiza en cardúmenes numerosos, lo cual provocaba el choque de los peces con el dispositivo de conteo (Delfino et al., 1986).
Previo a la instalación final del conjunto de compuertas el contratista propuso una serie de modificaciones al sistema que incluían: un dispositivo de protección contra la entrada aguas arriba de troncos o basura que dañaran el sistema, un sistema mecánico en la cámara aguas arriba para desalojar los peces de la misma, y la instalación de un válvula “by-pass” en la compuerta inferior para el vaciado controlado de la esclusa y evitar así corrientes de alta velocidad que podrían confundir o desorientar a los peces en su entrada a la esclusa. Sólo se implementó la última de las recomendaciones. Con el vertedero cerrado ya se preveía que una gran proporción de los peces se dirigiría hacia la zona de descarga de turbinas (ver punto 6.2). Otra recomendación que no fue implementada fue la iluminación en tres niveles que permitiera simular las condiciones del río en el exterior del sistema (Delfino et al., 1986).
La inclusión de la válvula “by-pass” se realizó no sólo por la razón arriba mencionada sino también por problemas mecánicos de vibración en la compuerta inferior (C2) durante el vaciado de la esclusa. Actualmente el vaciado de la misma se realiza por medio de dicha válvula y no por el juego de compuertas especificado en el diseño original (Fig. 9).


Figura 9. Funcionamiento de las esclusas Borland. A. Etapa de entrada de peces. B. Etapa de salida de peces. C1. Compuerta superior. C2. Compuerta inferior