by
Dr. E. Halsband
Institut für Küsten- und Binnenfischerei
Bundesforschungsanstalt für Fischerei
Hamburg, Federal Republic of Germany
The electric fishing technique has aroused great interest in many countries in recent years. The reason could be the increased interest in fisheries - particularly sea fisheries - from which many people have expected great results by using electric current for fishing.
Moreover, the introduction of pulsed currents (which have a considerably greater physiological effect on the living organism than direct currents, and which have been used for a long time in human medicine) into electric fishing, has increased considerably the possibility of using electricity for fishery purposes.
It is now possible for the first time to design impulse generators driven by gasoline engines, which affect and even narcotize the fish by means of electrical impulses. In the eel fishery also great progress has been achieved by using electric fishing machines.
It will be of value to state some of the basic principles of electric fishing:
When direct current is passed into a fish tank, it can be observed that nearly all fish swim toward the anode, but before reaching it, they usually become stupefied and turn upside-down. When the current is switched off they recover and swim away.
There are several phases of reaction with the gradually increasing current density. The first visible reaction of the fish, if in a parallel position to the current direction, is that their bodies are vibrated by the current. The second reaction which occurs, if in the same position relative to the current direction, is that the fish swims towards the anode. The third reaction occurs when the fish turn on their sides towards the anode and are no longer able to move of their own accord. This reaction is called galvanonarcosis.
It has always been observed that the same relation exists between the reaction of the isolated nerve and that of the whole animal.
Polar excitability of the electrophysiology is valid also for the reaction of the whole fish. In the range of the cathode the nerves and muscles and also the whole fish are excited, in the range of the anode we have a narcotizing effect.
The best type of current to catch eels is direct current or else that produced by the discharge of a condensor - that is with a quick increase and a slow decrease. As regards the impulse frequency there exists a characteristic limiting number for each species of fish examined at which the paralysing effect is achieved with the use of the minimum power. The limits for eels are between 30 and 100 Hz, the optimum frequency being 30–50 Hz. In the laboratory we have made many experiments to establish the basic principles necessary for practical eel fishing. The present stage of technical development makes possible the manufacture of standard equipment, which can be applied effectively in several different ways. It is only necessary to adapt the ancillary fishing gear (electrodes, cables and similar equipment) to the local requirements, and to the species and size of fish to be caught.
Such standard equipment should be adjustable over a wide range as regards voltage, impulse rate and impulse period, so that it can be employed in both fresh water and salt water.
Before electric fishing commences it is necessary to know all the details about the type of fishing to be done; the condition of the water and the bottom (conductivity, current etc.) and any special local conditions. The optimal data, such as intensity, voltage, rate of impulse and impulse period should be ascertained by means of a universal testing apparatus. With the aid of modern techniques several types of electrical fishing gear have been developed and designed to operate with either direct or impulse current.
One can catch eels by the electrified hoop-net method, in which the hoop net consists of a net with a metal ring, which acts as an anode and attracts the fish to this positive pole where they are narcotized and can be lifted out of the water. The cathode is a metal net or a metal plate. Practical experience has shown that the ratio of the sizes of the anode and cathode should be about 2:3.
The efficiency of electrical fishing gear depends very much on the size of the electrodes, especially on their relative sizes. The size of the electrodes is naturally limited by the nature of the waters to be fished. They must be of a handy size because the waters are frequently overgrown by shrubs and trees or are difficult to pass along and sometimes are shallow. The size used depends also on the energy of the electric fishing machine, because there is a relation between the surface area of the electrodes and the amperes which are produced.
The electrodes are connected to the electro-fishing apparatus which can be a direct current gasoline generator or an impulse gear. The impulse gear consists of an alternating current gasoline generator fitted with an impulse producer operated by thyristors. Voltage, frequency and impulse time can be regulated. For catching eel the best frequency lies between 30–50 Hz.
A method has been developed to make the eel-schokker-fishery more efficient. Heretofore, when fishing for eels by the so-called “schokker” a great number of fish escaped because the fishing net created a back-watering effect in the water which the eel experienced and as a result passed along the front of the fishing-net and avoided it. To overcome this, a guiding arrangement, comprising two chains of electrodes (the outer electrodes) as cathodes and one chain of electrodes as anode, was constructed.
The first outer electrode leads from the draw net of the first “schokker” to the bank of the river and is 40 m long. It consists of two steel cables one of which lies at the surface of the water and is attached to and insulated from the upper beam of the trawl net and from the bank, by a system of cordage (rigging), while the other is on the bed of the river.
The second outer electrode chain also consists of two steel cables, one laid on the bed of the river, the other being attached to the upper beam of the draw net of the second schokker and continuing to the front side of the first “schokker” (Fig. 1) being fixed and insulated from both nets in the manner already described.
The anode consists of two galvanised iron pipes threaded on a nylon cable which is fastened between the draw net of the first “schokker” and the bank of the river as shown in Figure 1. The pipes are 0.75 m long and 1 m long and are located within a distance of 5 m from the mouth of the net. The electrodes are connected with an impulse gear of 12.5 kW which consists of an alternating current generator and the impulse gear operated by thyristors. By using this electrified guiding system in the river “Rhine” it was possible to catch between 80–100 per cent more eels than with the unelectrified net.
In a lake in the north of Germany eels were caught by means of the so called “cathodic net”. The cathodic net is a large net wall, whose head rope and sole rope are fitted with a cable. These cables are connected to the negative pole of the electric fishing gear and act as electrodes. By drawing the net by means of two boats across the water the fish are frightened and driven in front of the net to a place near the bank where the water is shallow and where they can be caught by the usual electrified hoop-net (Fig.2).
Another method of catching eels is the electrified seine net. I have tested this method at first in the south of France, in the lakes and channels of Camargue.
In view of the trend towards further intensification of fishing in lakes, more efficient seine nets are desirable. It is generally believed that by using electricity one will be able to improve the results being achieved by the net itself. This is also the case as regards the use of the electrified trawl for the capture of eels.
In the use of seine nets the problem is that the enciroled fish escape in large numbers during the last phase of fishing, when the nets are being drawn and the concentration of fish becomes too great. In the Camargue a net with wings of 20 m width and 10 m length was drawn through the water. The upper and lower line were electrified by a 20 kVA gasoline generator which produced direct current. Because of the conductivity of the water, 130–150 V and 20–30 amperes were necessary for best results.
The width of the mouth of the net was 25 m. The length of the cables was 50 m. The catch with this net was very good. Within one hour 15 hundredweights of eels were caught, due, in part, to the great population of eels in the area fished.
In a lake in the north of Germany a seine net, 10 m long, was drawn across the water. Here again the upper and lower line of the net were supplied with cables. The length of the cable, which was drawn by two boats, was 80 m long. The electrodes employed in the fishing were connected with an apperatus of 7.5 kW, 100 volts and 20 amperes. By drawing this net over a distance of 500 m, 12 hundredweights of eels and other fish were caught. With an unelectrified net a fisherman would catch the same quantity of fish only by drawing the same size net over a distance of 6 km. This means that the rate of catching by the electrified net was increased 12 times over the normal rate for an unelectrified net. The following ideas and requirements emerged from these results:
Fish should fall into the net bags from which they are not able to escape during the whole process of drawing and not only in the last phase, after being concentrated by wings, as is the case with the conventional seine net.
The electric field should be produced at the net mouth. By immobilizing the fish there, the possibility of escape is expected to be prevented. In this way the number of fish falling into the net bags during the whole process of drawing should be substantially increased.
Fish should be under the influence of the electric current for as short time as possible. In order to achieve this, the end side of net bags must be located at a minimum of 10 m away from the electric field.
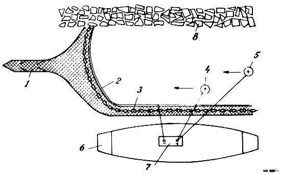
A model of the electric seine net is illustrated in Figure 3.
In Poland Mr. Chmielewski has carried out tests with another electrified net where a net partition of 30 m was placed in between the wings of a seine net. An alternating current of 50 Hz was switched on when there was still 400 m of wings to be drawn. The result was 700 – 1500 kg of fish for one operation.
Figure 4 shows the conventional seine net with the electrified net partition between the wings as employed in Poland. The seine net itself was modified for the purpose of electrification. The seine net, which has been used, was 600 m long. After the first 200 m the electrified net partition of 30 m was fixed between the wings.
Another model which was constructed in Poland and which is seen in Figure 5, consists of a number of net bags, attached to the frontal part of the seine net with rather short wings. The length of the frontal part is about 100 – 150 m. The wings are 50 – 75 m long. The net bags are fitted with special devices which make it impossible for fish to escape. The length of the net bags is 25 – 30 m. Electrodes are installed only in the frontal part of the net and are energized by a petrol engine driven A.C. generator, or two of them in parallel if necessary.
It is assumed that the net will be drawn by two anchored boats. With the width of the front being 100 m, the area fished by the net will be 10 – 20 ha. The hauling rate lies between 1 – 2km/h. Four or five people will be enough to operate the whole gear.
The Prototype of the Polish trawl was constructed in the Laboratory of Olsztyn. Tests under practical conditions were carried out at the State Fish Farm “Gizyoko”.
The net portions of the trawl are formed in the shape of a sack with short wings. The horizontal opening is about 8 m. Top and bottom lines are about 18 m apart and are fitted with electrodes. The electric energy is supplied from a petrol-driven A.C. generator, with step-down transformer and insulated electrical conductors fastened to one of the towing lines. No rectifiers or impulse units are used. The trawl is towed by two boats at the rate of about 1.5 km/h. The best type of boats for this purpose are those fitted with Diesel engines, with special belt transmission provided. With such an arrangement two people can carry out the whole operation. The length of towing line and the distance the boats are apart when towing depends on the depth of the water. The relationship between these two factors is given in Table I.
TABLE I
| Water depth in m | Length of towing lines in m | Distance the boats are apart in m |
| 3 | 30 | 40 |
| 5 | 40 | 50 |
| 7 | 50 | 60 |
| 10 | 65 | 80 |
| 15 | 90 | 100 |
| 20 | 115 | 130 |
The electric field, created in the plane of the net mouth of the trawl paralyses the eels in its path. Escape becomes very difficult and the eels fall back into the sack located about 15 – 20 m away from the net mouth. The voltage gradient is very low there. Because of this the eel recovers quickly and is therefore in good condition when caught and reaches the market alive.
Fishing performance per one hour of towing depends on the population of eels in the area fished.
By means of the methods described above it is possible to make eel fishing with nets more efficient and more productive.
DISCUSSION:
McGrath - the experience in Ireland had been that a triangular wave-form D.C. pulse of 10 Hz was effective for the capture of silver eels while a pulse of 40 – 50 Hz was more efficient for the capture of yellow eels.

Fig. 1 The eel-shokker fishery with electric current


Abb. 2: Fang-Scheuchvorrichtung mit 2 Kathodennetzen
1 = bewegliches Kathodennetz, das von 2 Booten gezogen wird
2 = gescheuchte und in den Bereich der beiden Anoden + gelangte Fische
3 = Fixiertes Kathodennetz, das als Leitarm dient.
2
Fig. 2 The “cathodic net” of Hager.

Fig. 3 The model of the electro-trawl for eel-fishery

Fig. 4 Polish electrified net for eel-fishery.

Fig. 5 Polish electrified net with several net-bags.

Fig. 6 Fishing gear to make the eel-fishery of Camargue more intensive

Fig. 7 Fishing gear of 7.5 and 12.5 KVA for eel-fishery

Fig. 8 French electrified eel-fishing net.

Fig. 9 French eel-buck (electrified).