J.P. MELCION
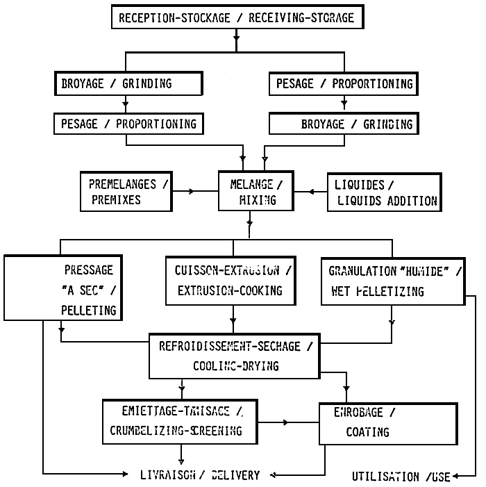
1. GENERAL FLOW-SHEET (Fig.1)
2. GRINDING
2.1. Definitions
The purpose of grinding is to reduce the raw materials into small particles in order:
to facilities the mixing operation,
to improve their nutritional utilization.
The yield of a grinder is the output (t/h) or the specific production (t/Kwh); the particle analysis describes the quality of the ground product: it can be measured by sieving.
The most commonly used equipments in grindings materials are hammermills, because of their rusticity and flexibility.
2.2. Hammermill description (Fig.2)
Hammermill consists of stationary or swinging hammers mounted on a rotor driven at speed usually from 1500 to 3 000rpm (50–100m/sec). The materials are first contacted by hammers, until the sizes of particles would be near the desired size. A negatives draw of air through the hammermill will assist in moving the sized particle towered the screen.
2.3. Grinding parameters
- related to the grinder (tab.1)
- related to the materials:
moisture: the specific production is reduced from 12 to 25 % when the moisture increases from 12–14 to 17–18 ‰
type of raw materials (Fig.3)
The particles sizes will be different with each type of material within the same grindings conditions.
A very small particles size is important for fish Feeds (0.5mm).
3. MIXING
3.1 Definitions
Blending consists to associate ground and proportioned raw materials, in order to distribute them homogeneously within the mixture.
Mixing quality is homogeneity: it can be measured with tracers.
The word “homogeneous” means every element of a mixture must be present in a feed sample, as small as the sample will be.
For a given ingredient, there is a relationship between the number and the size ratio of the particules.
3.2. Mixing equipments (fig. 4)
The horizontal ribbons mixer is the most commonly used equipment for mixing dry materials (until 18% moisture).
Running condition:
Degree filling: 50 – 100 % of the total volume
- mixing time: 4–5mn
- full bottom discharge
- use of premix for inclusion under 0.5 to 1‰
3.3. Demixing
Particle segregation may occur during transportation, conveying and delivery of the feed when the sizes and densities of the ingredients particles are quite different.
4. “DRY”PELLETING
4.1. Definitions
Pelleting can be defined, as the agglomeration of small particles into a larger solid with a given shape and texture, by means of a mechanical process in combination with moisture, heat and pressure.
The quality of the pellets is expressed as hardness, durability, water stability, sinkability, rehydratiom. Water stability is to be considered because of the leaching effect of water: loss of nutritive elements (soluble nitrogen, vitamins), and ponds eutrophisation.
4.2. Principle and equipment(fig. 5 and 6)
The pellet mill:
The rolls act to compress the material and to extrude it through the holes of the die. Steam is eventually added to the meal with conditioner.
4.3. Factors affecting pelleting
The main factors are (tab. 2)
- Ingredients characteristics (fat, starch).
- Moisturizing or steaming of the meal prior to pelleting (1 – 3%)
- Diameter (2 – 4mn) and die thickness (compression ratio 12): the higher the die thickness for the same diameter, the harder are the pellets, but the lower is the specific production.
- Binders: the feeds may disintegrate into water unless ingredients such as wheat gluten or pre-gelatinized starches are included to help form a continuous matrix producing adhesion between particles. their use is optimal.
4.4. Further operations (fig. 7)
4.4.1. Cooling
The temperature of the pellets leaving the pellet mill is high (60 to 80 ° C): they must be cooled prior other operation or delivery. Equipment: vertical or horizontal coolers.
4.4.2. Crumbling (fig. 8)
Crumble rolls are used to take relatively small pellets and break them into smaller particles for special feeding applications, especially for fingerlings and young fishes (d=0, 025 x fish length).
4.4.3. Screening
Fines from cooled pellets are usually removed prior to delivery. Particles from the reground pellets are separated by screening into various sizes according to the fingerlings sizes.
4.4.4. Coating
Some dry pellets or expanded products (salmon) are coated with fat in order to include to the diet essential fatty acids or liposolubles vitamins,and to form an hydrophobic layer out of the product. Liquid fat is applied by spraying a mist of liquid over the product as it enters a rotating drum or screw.
5. EXTRUSION-COOKING
5.1. Principle
Extrusion cooking can be defined as to squeeze a mealy product through a small hole, the die, under action of very high pressure (30 to 120 bars) with the aid of one or two screws, which compress and shear the material before it passes through the die. A part of mechanical energy is converted into heat, generated by friction: the product is cooked at variable intensities, depending from from the degree of treatement and the additional heating (80 to 250 C). The water, which under pressure in the meal, evaporates on leaving the die, creating the very low density and expanded structure. On emergence,the product is cut by a rotating knife, cooled and dried to approximately 10 to 12% moisture for safe storage.
5.2. Extruders (fig. 9)
- mono screws and twin-screws
- 3 sections : feeding, compressing, melting.
The equality of the extruder feeds is expressed by:
- Geometry expansion ratio, density,
- Functional properties: water stability, rehydration, floatability,
- Biochemical modifications : starch, available amino-acids.
5.3. Extrusion variables
Extrusion-cooking is a process of difficult to control because of numerous parameters. Its mechanism are practically unknown.
5.4. Application to feeds for marine animals (appendix 1)
6. WET GRANULATION(or PELLETIZING) (fig. 10)
Diets are normally prepared by mixing the ingredients into a dough like mass (25 to 40 % moisture), extrusion of the dough through a mincer plate or similar forming device, at low pressure and temperature (30 – 60 c).
Ingredients are:
Fresh or refrigerated by-products and fish offals, blended with oilseed cakes or fish meals,extruded into moist strands and refrigerated until requried. This type of feed obliges to dispose of fresh meet and to be produced on the farm. It is suitable for sea-trout, turbot, sole.
Meals from meat, fish, oilseeds and cereals, mixed with solution of binders wheat gluten fig - 8% alginates associated with Ca++ to produce a firm water soluble gel. Products must be dried, or added with additives (2–4% propylen-glycol) to keep them from microorganism spoilage if stored and use as a wet from. Binders may be useful fools for preparation of experimental shrimp feeds, mainly at larval stages.
FIGURE 1
DIAGRAMME GENERAL/GENERAL FLOW-SHEET

![]() | ![]() |
| FIGURE 2 | |
| Broyeur a Marteaux Hammermill |
TABLEAU 1 / TABLE 1
| Paramèters | Rendamant (débit horaire) | Qualité (finesse de la farine) |
| marteaur | ||
vitesse | +++ | +++ |
nombre | - | + |
largeur | + | - |
usure | - | 0 |
| aspiration grille | + | - |
diamétre | +++ | --- |
surf.ouverte | + | - |
épaisseur | - | + |
usure | -- | ++ |

FIGURE 4
MELANGEURS A CUVE FIXE ET MOBILE D'AGITATION MECHANICAL MIXERS

FIGURE 5 : THE DIE AND ROLLER ASSEMBLY ENSEMBLE FILIERE & ROULEAU DE PRESSE

FIGURE 6 : PRESSE A AGGLOMERER
PELLET MILL

FIGURE 7
TYPICAL FLOW DIAGRAM . EXEMPLE TYPIQUE DE DIAGRAMME

FIGURE 8 CRUMBLE ROLLS / CYLINDRES EMIETTEURS
TABLEAU 2 / TABLE 2
| Stability of pelleted fish feeds in water | |
| Process variables | Water stability % of pellet retained after 10 mins in running water |
| Unground, no steam, thin die | 21.5 |
| Unground, no steam, thick die | 24.3 |
| Unground, added steam, thin die | 31.3 |
| Unground, added steam, thick die | 78.9 |
| Ground, no steam, thin die | 65.8 |
| Ground, no steam, thick die | 74.5 |
| Ground, added steam, thin die | 84.9 |
| Ground, added steam, thick die | 89.0 |
| Notes. | |
1. Unground feed particle size range 0.2.2.0mm, 40% of particles less than 0.6 mm dia. | |
2. Ground feed particle size range 0.15,70% of particles less than 0.6mm dia | |
3. Chemical analysis of diet Moisture 9.5, tat 9.0%, crude protein 30.2%, crude fibre 10.0%, ash 10.4% | |
4. Data adapted from Hastings2. | |

FIGURE 9a
COUPE EXTRUDEUR MONOVIS
VIEW OF A SINGLE - SCREW EXTRUDER

FIGURE 9b
COUPE EXTRUDEUR BIVIS
AVEC CONTRE-FILET EN POSITION TERMINALE
VIEW OF A TWIN SCREWS EXTRUDER (with
reverse flight screw in terminal position)

MELANGEUR et GRANULATEUR par voie humide | ![]() |
MIXER and WET PELLETIZER | |
FIGURE 10 | |
SECHOIR en lit fluidisé | |
Fluidised bed DRYER |
APPENDIX 1
PREPARATION BY EXTRUSION-COOKING OF IMPROVED FEEDS FOR MARINE ANIMALS
The feeding behaviours of marine animals are quite different and often badly known. Extrusion-cooking is a way to obtain unusal physical caracteristics of feeds measured by the rehydration, the water stability, the consistency and the floating or sinking ability.
Extrusion-cooking at moderate temperatures (80 – 90°C) and water additions (22 p. 100) of a gluten containing meal gives favourable water stability (76 – 89 p. 100) to shrimp feeds.
On the contrary, salmon and turbot feeds need expansion to increase water and/or oil absorption.
Expansion would be given by extrusion at fairly high temperature (180°C) of a meal added with pregelatinized starches. Rehydration capacity of the product is between 250–330 p. 100.
A good floatability is usual with such a feed, well adapted to salmon and trout behaviour, but the problem of the sinking ability of a turbot feed is difficult to solve.
Compared with other techniques, extrusion-cooking is expensive and has a tremendous effect on the vitamins of the feed, but it seems to be actually well adapted to produce foods for salmonids and flat fishes.
CARACTERISTIQUES PHYSIQUES RECHERCHEES DES ALIMENTS POUR ANIMAUX AQUATIQUES
(Requested physical properties of feeds for aquatic species)
| “TRUITE DE MER”ET SAUMON (“sea-trout”and salmon) | TURBOT (Turbot) | BAR ET DAURADES (Sea bass and sea breams) | SOLE (Sole) | CREVETTE JAPONAISE (Japanese shrimp) | |
| (a) | (b) | (c) | (d) | (e) | |
| REHYDRATATION (Rehydration) | ++ | + | (+) | ||
| STABILITE A L'EAU (Water stability) | + | ++ | + | +++ | +++ |
| APTITUDE A FLOTTER (Floating ability) | ++ | -- | + | -- | -- |
| CONSISTANCE (Consistency) | - | - | - |
(a) Salmo Gairdneri, Onchorynchus Kisutch, Salmo salar,
(b) Scophtalmis maximus,
(c) Dicentrarchus labrax, Sparus sp:, Chrysophrys sp:,
(d) Solea solea,
(e) Penaeus Japonicus.
| MAIN FACTORS | ADDED WATER [%] | TEMPERATURE [deg.C] | |
| Rehydration Floatability | pre-cooked starches | 20–22 | 180 |
| Rehydration Sinkability | starches | 17–18 | 120 |
| No rehydration Sinkability | gluten | 22–25 | 80 |
Annexe 2
BIBLIOGRAPHIE
(Liste non limitative)
A. OUVRAGES GENERAUX
DAVID L., 1985. Alimentation animale - Tome 1: L'usine; conduite et entretien (sauf presses). L. DAVID ed. 17 220 - LA JARRIE (France) – 111 P.
DAVID.L., LEFUMEUX J., 1976. Pratique de la compression. L.DAVID ed. 17 220 - LA JARRIE (France) -270 p.
Feed manufacturing technology 111, 1986. AFMA ed. ARLINGTON, Va (USA) – 608 p.
B. ARTICLES SPECIALISES
Aquacop, 1978. Equipement pour fabriquer des granulés par voie humide destinés aux animaux marins. Symp. FAO-EIFAC/CECPI on finfish nutr. and fishfeed technol., HAMBURG (RFA), 20 – 23.06 – 15 p.
Aquacop, 1983. Production of feed to support shrimp farming in Tahiti (French Polynesia). 1st biennal conference on warm water aquaculture crustacea, 2–9/11/83, Brigham Young Univ., HAWAI (USA) - 9 p.
HASTINGS W.H., MEYERS S.P., BUTLER D.P., 1971. A commercial process for water stable fish feeds. Feedstuffs, 43, (47), 38.
HILTON J.W., CHO C.Y., SLINGER S.J., 1981. Effect of extrusion processing and steam pelleting diets on pellet durability, pellet water absorption, and the physiological response of the rainbow trout. Aquaculture, 25, 185-194
LOVELL R.T., 1986. Fish food formulation and processing. In “Feed manufacturing technol. ”, AFMA ed., Chap. 67, 534–540.
MELCION J.P., GUILLAUME J., MEHU J., METAILLER R., CUZON G., 1983. Preparation d'aliments pour animaux marins par cuisson - extrusion. Revue alim. animale, no 371, 26 – 31.
MEYERS S.P., ZEIN-ELDIN Z.P., 1972. Binders and pellet stability in development of crustacean diets. Proc. 3rd annual workshop World mariculture Soc., 3, 351–364.
PERSON-LE RUYET J., 1986. L'élevage des poissons plats: sole, turbot. In Aquaculture. Tech. et Doc. éd. PARIS, 667–712.
SLINGER S.J., RAZZAQUE A., CHO C.Y., 1979. Effect of feed processing and leaching on the losses of certain vitamins in fish diets. Symp. FAO-EIFAC/CECPI on finfish nutr. and fishfeed technol., HAMBURG, 20–23/06/78.
STOREBAKKEN T., 1985. Binders in fish feed: 1) effect of alginate and guar gum on growth, digestibility, feed intake and passage through the gastro-intestinal tract of rainbow trout. Aquaculture 47, 11–26.
WOOD J., 1982. The recipe for success scaling to make feeds for fish. Milling feed and fertilizer, february, 32–34.
C. REVUES TECHNIQUES: (comprenant des aspects technologiques) :
Revue de l'Alimentation Animale (Français)
Aliscope (français)
Aqua-revue (français)
Kraftfutter (deutsch)
Die Muhle (deutsch)
Feedstuffs (english)
Aquaculture (english)
Progressive Fish culturist (english)
Animal Feed Science and Technology (english)
Milling and Feed Fertilizer (english)
Annexe3
CONSTRUCTEURS DE MATERIELS
Liste non limitative
A. BROYEURS, MELANGEURS, PRESSES
FRANCE
PROMILL - BP 109 - F - 28 104 - DREUX - Cedex
Tél. (37) 43 20 74 - Tlx 760 732 F
STOLZ SA. Division Rousselle-Wailly Beaucamp - F. 62 170 - MONTREUIL SUR MER
Tél. (21) 81 26 11 - Tlx 820 728 F
SUISSE
Pelleting Service International (PSI), CH - 9 402 - MORSCHWIL
Tél. (071) 96 18 88-Tlx 71 299 PSI CH
BUHLER-MIAG - CH - 9 240 - UZWIL
Tél. (073) 50 11 11 - Tlx 77 541 GBU CH
ALLEMAGNE
KAHL - Postfach 1 246 - D - 2 057 REINBEK bei HAMBURG
Tél. (040) 72 77 10 - Tlx 0217 875 KAHL D
SALMETC - Bahnhostrasse 15 - D -2 125 - SALZHAUSEN
T eél. (041) 72 87 47 - Tlx 2 180 422 SALM D
DANEMARK
MATADOR - Glentevej - DK - 6 700 - ESBJERG
Tél. (05) 14 03 33 - Tlx 54 177 EEMEM DK
PAYS BAS
OTTEVANGER - Postbus 3 - MOERKAPELLE (NL)
Tél. (017) 93 11 14 - Tlx 330 17 NL
VAN AARSEN-Heelderwg 11 - PANHEEL (L) 5 427 (NL)
Tél. (047) 47 15 44 - Tlx 58 039 NL
GRANDE BERTAGNE.
SIMON BARRON - Bristol Road-GLOUCESTER GL 26 BY (GB)
Tél. (0452)3 65 11 - Tlx 43 231 GB
SIZER - HULL HU8 8 AW (GB)
Té (0482) 2 31 55 - Tlx 52 236
CHRISTY - NORRIS - Bromfield Road - CHELMSFORD CM 1 1 SA (GB)
Tél. 64 30 77 - Tix 99 266
ITALIE
La Meccanica - Casa Post. 28 - 1. 35013 CITTADELLA (Padova)
Tél. (049) 59 01 87
ETATS UNIS
California Pellet Mill (CPM) Europe NV. Distelweg 89 - AMSTERDAM - N (NL)
Tél. (020) 27 32 32 - Tlx 14 422 NL
B. EXTRUDEURS
FRANCE
CLEXTRAL - l, Rue Colonel Riez - F. 42701 - FIRMINY
Tél. (77) 56 81 60 - Tlx 330 402 F
DIEVET-Parc Industriel d'Incarville - F. 27 100 - LE VAUDREUIL
Tél. (32) 40 27 11 - Tlx 180 775 F
ALLEMAGNE
WALTER - Postfach 10 02 49 - D. 4 020 METTMANN
Tél. (021) 04 14 03 0 - Tlx 8 581 230
WERNER-PFLEIDERER - Postfach 30 12 20 - D. 7000 STUTTGART 30
Tél. (0711) 8 95 61 - Tlx 7 251 214 WPS D
ITALIE
GONDRONA NIMET - Str. di Settimo 224/11, l - 10 156 - TORINO
Tél. (011) 24 37 15 - Tlx 220 248 GRONIM I
MARPIANTI - Via Europa 23 - l. 35051 - GALLIERA VENETA
Tél. (049) 56 91 33
GRANDE BRETAGNE
BAKER-PERKINS
en France: Avenue de la Trentaine, ZI - F - 77500 - CHELLES
Tél. 9574285 - Tlx 692062 F
ETATS UNIS
SPROUT - WALDRON - KOPPERS
en France: 374, rue de Vaugirard - F - 75 015 - PARIS
Tél. 1 250 90 00 -Tlx 200 848
INSTAPRO
en France: SAVIMEG, 27, rue de Marignan - F -75 008 - PARIS
Tél. 1 42 89 44 45 -Tlx 280 753
WENGER EUROPE-Fr. Rooseveltplaats 12, B - 2 008 - ANTWERPEN
Tél. 03 232 70 05 -Tlx 31 413 WENGER B
ANDERSON Europe - 5, avenue du Moulin -CH - 1 110 - MORGES
Tél. (021) 71 04 04 - Tlx 24 679 ANDER CH
C. MELANGEURS ET GRANULATEURS PAR VOIE HUMIDE
KUSTNER - 103, Av. Rouget de l'lsle - F. 94 400 - VITRY SUR SEINE
Tél. 1 680 26 02
HOBART France - 39, rue Cambon - F - 75001 - PARIS
Tél. 1 261 54 49 - Tlx 220 546
COLLETTE - Keerban 70 - B. 2 220 - WOMMELGEM
Tél. (031)53 80 51 - Tlx 33 009 COLLLET B
LODIGE - Postfach 2 050 - D - 4790 - PADREBORN
Tél. (052) 51 30 90 - Tlx 936 839 GLOE D
MORITZ - 3 Avenue de Pomereu - F - 78 400 - CHATOU
Tél. 966 50 20 - Tlx 696 997 F MORITZ
EURO - MACHINES - 37–45, Rue Emile Zola - f - 69 150 - DECINES
Tél. 7 869 07 77 - Tlx 300 203
MORTON - New House Ind. Estate - MOTHERWELL ML1 5 SW (GB)
Tél. 0698 73 20 21 - Tlx 778 575 GB