
Fig. 1
MAP OF THAILAND SHOWING
BRACKISHWATER FISHERIES STATIONS
OF THE DEPARTMENT OF FISHERIES
1977
Fig. 2 PRODUCTION OF SHELLFISH (MOLLUSCS) IN THAILAND 1957–1975

Fig. 3 Distribution of Green Mussel Farms and Potential Sites

Fig. 4 Distribution of Horse Mussel Farms and Potential Sites

Fig. 5 Distribution of Cockle Farms and Potential Sites

Fig. 6 Distribution of Oyster Farms and Potential Sites


FIG. 7. ORGANIZATIONAL SET-UP OF THE DEPARTMENT OF FISHERIES, THAILAND

Fig. 8 ORGANIZATION CHART OF BRACKISHWATER FISHERIES DIVISION

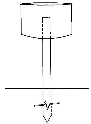
Fig. 9 Concrete peg, rod and tube used in oyster culture

Figure 10. Paphia undulata, (x 1) hoi lai or carpet shell or short-necked clam

Figure 11. Mytilus smaragdinus (x 1), hoy maeng-pu green or sea mussel

Figure 12. Stakes using date palm trunks for the culture of green mussel

Figure 13. Drying green mussel meat

Figure 14. Modiolus senhausenii, (x 1) hoy kapong or horse mussel

Figure 15. Anadara granosa (x 1) hoy kraeng, cockle or ark shell

Figure 16. Crassostrea sp., hoy nang rom, hoy ta-krom or oyster

Figure 17a. Oyster culture using cylindrical blocks of concrete

Figure 17b. Details of cylindrical block showing how it is fastened to substratum

Figure 18. Oyster culture on hollow cylindrical blocks