| NACA/WP/86/42 | November 1986 |
![]() |
A Preliminary Study of Hydrogen Sulphide Toxicity on Juveniles of Macrobrachium rosenbergii (de Man) |
Research Conducted under Secondment of Young Scientists Programme
NETWORK OF AQUACULTURE CENTRES IN ASIA
BANGKOK, THAILAND
Hyperlinks to non-FAO Internet sites do not imply any official endorsement of or responsibility for the opinions, ideas, data or products presented at these locations, or guarantee the validity of the information provided. The sole purpose of links to non-FAO sites is to indicate further information available on related topics.
This electronic document has been scanned using optical character recognition (OCR) software. FAO declines all responsibility for any discrepancies that may exist between the present document and its original printed version.
by
S.C. Jayamanne 2
Static bio-assays were performed for 96-hour period to determine the mean lethal concentrations (LC50) of hydrogen sulphide toxicity on juveniles of Macrobrachium rosenbergii. Two broods were tested and LC50 values were determined for 24, 48, 72 and 96 hours The LC50 values were 6.36, 4.25, 3.09 and 2.57 mg/l H2S for brood l and 5.57, 4.79, 4.25 and 4.20 for brood 2 respectively, for 24, 48, 72 and 96 hours. The safe concentration of hydrogen sulphide determined for juveniles of M. rosenbergii was 0.26 mg/l.
2 Scientific Officer, National Aquatic Resources Agency, Crow Island, Colombo-15, Sri Lanka
Hydrogen sulphide is a toxic gas which is harmful to aquatic life, specially when in the unionized form. It may occur naturally at levels which can be inimical to fish production and survival (Colby and Smith, 1967). Under natural conditions it is produced by the anaerobic decomposition of organic materials in the sediments. It can also be produced either by the decomposition of organic effluents from municipal sewage and many industries (Colby and Smith, 1967) or released directly in industrial effluents from pulp mills (Van Horn et al. 1949), from oil refineries (Dorris et al. 1960), and from chemical and gas manufacturers (Ellis, 1937). In culture ponds it is liberated as a result of decomposition of food and organic matter (Boyd, 1979).
The literature on toxic effects of Hydrogen sulphide to fish has been reviewed by Adelman and Smith (1970). Smith and Oseid (1972) reported the reduced swimming endurance of bluegill sunfish (Lepomis macrochirus) after exposing to 0.04 mg/L H2S. Even very low concentrations of H2S are shown to be detrimental to fish eggs, fry and juveniles (Colby and Smith, 1967; Adelman and Smith, 1970; and Smith and Oseid, 1972). Long term exposure of fish to sub-lethal levels can cause slower growth, increase in mortality and reduction in fecundity. Sub lethal levels of H2S also can influence the hatching time of fry (Colby and Smith, 1967) and anatomical malformations (Adelman and Smith, 1970). Fish mortality due to H2S was reported by Colman et al. (1982) in Clarias batrachus grow out ponds. They observed that the mortality depends primarily upon the presence or absence of H2S. Peturiyawate (1982) determined the median lethal concentrations (LC50) for the fingerling of Clarias batrachus. She concluded the levels of 6.32 mg/l and 5.31 mg/l of H2S as the LC50 values for 24 hours and 48 hours respectively.
However, there are very few studies carried out on the effect of H2S on crustaceans. Smith (1971) studied the effects of H2S on various arthropods (Gammarus pseudolimnaeus and Hexagenea limbata) which are useful as fish food, and indicated safe levels ranging between 0.002 and 0.003 mg/l.
In the present study, bio assay experiments were performed in order to determine the LC50 values for giant freshwater prawn Macrobrachium rosenbergii. This species was selected for study, due to two main reasons, namely, 1) Its importance as an economically valuble and popularly cultured species in the Indo-Pacific region. 2) Unsolved sudden mortalities occuring in grow out ponds during the latter part of the culture period. The results obtained can be used as a guideline to conserve and protect the species from H2S pollution.
Static bio-assays were performed for 96-hours period on two separate broods of 21-day and 2 month-old juveniles. The mean body weights of the 1st ans 2nd broods were 0.0028 ± 0.006 gm and 0.005 ± 0.002 g while the mean body lengths were 7.25 ± 0.85 mm and 15.08 ± 1.08 mm respectively.
Test solutions were prepared by diluting the Na2S.9H2O fresh stock solution (1000 mg/L) - which was prepared using deoxygenated distilled water. Dilution water used for all bio assay was aged well water. The dilution water was tested for dissolved oxygen, pH, total alkalinity, total hardness, temperature and dissolved sulphides, prior to the experiment and once daily after the experiment was started. Temperature was measured using a thermometer, pH by an Orion pH meter. Dissolved oxygen was measured using (YSI model DO meter. Total alkalinity, total hardness, and total sulphide were measured titrimetrically (APHA et al, 1985).
Preliminary test was conducted to find out the critical range prior to the full scale experiment. For the full scale experiment concentrations of 1 mg/l, 2 mg/l, 4 mg/l, 6 mg/l and 8 mg/l were tested along with a control. All test solutions were renewed every 24 hr; at that time the H2S concentration was never less than 88% of the specified levels.
Tests were performed in 2 liter flasks covered with cork lids. Ten juveniles were placed in each flask and each concentration was run in tripicate for a total of 30 animals per concentration. Each experiment was repeated twice. The juveniles were starved for 24 hrs prior to the commencement of experiment and were not fed during the experimental period.
Dead prawns were counted and recorded at the exposure times of 1, 2, 3, 6, 9, 12, 48, 72 and 96 hrs respectively. The death was defined as opaqueness in immobile animals and the dead prawns were removed from the test solutions immediately.
The LC50 values and 95% confidence intervals were calculated as described by Finnay (1971). The data were analyzed statistically by two-way ANOVA, the dependant variable being the time of death for each juvenile. Mortality of the controls, was 0% at the end of 96-h period. The LC50 value and 95% confidence limits of 96-h period for brood 2 was calculated according to Litchfield and Wilcoxon (1949) method.
The chemical characteristics of dilution water is shown in Table 1. The dilution water used for brood 2 indicated higher pH and DO although the water was obtained from the same tank. Differences in temperature between brood 1 and 2 is specially due to the climatic changes. First brood was tested in late December, 1985 where the weather was cool while brood 2 was tested early February, 1986 where the weather started getting warmer.
In all the tested solutions prawns exhibited erratic movements. In the highest concentration (8 mg/l) erratic movement began just after 30 minutes of exposure; while it began only after 80–96 hrs in the lowest concentration (1 mg/l). The prawns swam up and down around the flask at the beginning and later jumped to the sides of the flask. They began to lose balance, swam to the surface came down rapidly in upside down position and in a zig-zag manner. They moved weakly at the bottom and died finally. A similar behaviour of Macrobrachium rosenbergii juveniles exposed to lead was documented by Kalayanamitr (1983). He reported that the erratic movement may be due to the affected central and peripheral nervous system. The major effects of hydrogen sulphide is exerted on the nervous system, the eyes and the respiratory system. The type of poisoning depends on the duration and level of exposure to gas (NTIS, 1974). In the present study it is observed that the prawn lost balance indicating that the nervous system was affected.
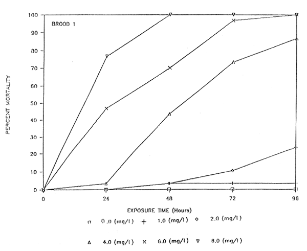
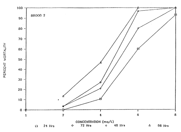
Percentage mortality of prawns in relation to exposure times are given in Table 2, Fig. 1 and 2. A 100% mortality occured both in brood 1 and 2 within 24 hours period at the highest concentration (3 mg/l). At the 6 mg/l concentration 100% mortality occurred at 96 hr period. No mortality occurred in the controls. No mortality observed either in controls or in other test solutions due to cannibalism although the species is well known for their cannibalistic nature. Some attempts of preying on dead bodies were observed but prevented by removing the dead bodies immediately. The relationship between exposure time and % mortality is different from that observed for fish. In a study of Clarias batrachus, Peturiyawate (1982) observed that the fish get adapted to the toxic environment after 24 hrs of exposure. In the present study the mortality increased with the time of exposure until the end of the experiment.
Percent mortality of prawns in relation to concentrations are given in Fig. 3 and 4. Percent mortality increased with the increase in concentrations.
The two broods of juveniles were similar in susceptibility to H2S concentration. Two broods were tested using two-way ANOVA considering % mortality to be the dependent variable at exposure times of 24, 48, 72 and 96 and no significant difference was found (p 0.005).
The LC50 values, their confidence limits and slope function are presented in Table 3. LC50 value for 96 hrs were 2.57 mg/l and 4.2 mg/l respectively for brood 1 and brood 2. The differences in LC50 values of brood 1 and brood 2 may probably be due to either the size of the prawns or the water quality, specially pH, DO and temperature. According to the toxicity curve (Fig. 5) the smaller juveniles seem to get adjusted to toxic environment easily compared to the bigger ones. However, during the test of brood 2 pH and DO were higher compared to the brood 1. Adelman and Smith (1972) reported that lower oxygen resulted to lower LC50 values. Colby and Smith (1967); Adelman and Smith (1970) found this same effect in other species. although the latter authors found no effect of oxygen difference on toxicity of hydrogen sulphide to northern pike eggs. In the present study, the brood 2 which has low dissolved oxygen showed low LC50 also, Jones (1948) and Bonn and Follis (1967) mentioned that raising pH could in turn lower the toxicity of unionized hydrogen sulphide. At higher pH, the greater proportion of hydrogen sulphide is in the form of ionized hydrogen sulphide which is less toxic. It was also observed in the present study that the higher pH in brood 2 showed less toxicity effects. Anyhow, the difference in pH is not great.
The toxicities of hydrogen sulphide to other aquatic organisms were also reported by various authors. Doudoroff and Katz (1950) reported that the concentration below 10 mg/l (mostly 1–6 mg/l) were lethal to several species such as Lepomis gibborus, Salmo gairdneri, Catostomus commersoni, Carassius auratus and Cyprinus carpio Bonn and Follis (9167) reported that fish could survive in H2S concentrations between 0.3 and 4.0 mg/l. Colby and Smith (1967) showed that 0.3 mg/l sulphide were acutely lethal to Gammarus pseudolimnaeus eggs and fry. Bonn and Follis found that 24-hr LC50 for fingerlings of channel catfish (Ictalurus punctatus) ranged from 0.53 to 0.8 mg/l of H2S. Peturiyawate (1982) reported that the 48-hr LC50 for Clarias batrachus as 6.52 mg/l. The LC50 values obtained in this study lies within the range given by Doudoroff and Katz (1950). The value is lower than that observed for Clarias batrachus and Carassius auratus Peturiyawate, 1982; Adelman and Smith, 1972). Unfortunately, it is impossible to compare the obtained values with other prawn species since the data are not existing. The safe concentration of H2S found in this study was 0.26 – 0.43 mg/L of hydrogen sulphide.
I wish to express my sincere gratitude to NACA for providing the opportunity and funding for this study.
I am also grateful to Dr. C. Kwei Lin, who suggested this study, Dr. Mali Boonyaratpalin and Dr. Maitree Duangsawasdi who guided me and helped me during the experiment. Thanks are also due to Mr. Arnnop Jirawithayaboon for his assistance throughout the study, and Miss Chujit Thongprapai for typing the manuscript. My special thanks are due to Mrs. J. L. Antiporda for improving the manuscript.
Adelman, I.R., and Smith, Jr. 1970. Effect of hydrogen sulphide on northern pike eggs and sac fry. Trans. Amer. Fish. Soc. 99:501–509.
American Public Health Association, American Water Works Association, and Water Pollution Control Federation. 1975. Standard method for the examination of water and waste water. 14th ed. New York, N.Y. 874 p.
Bonn, E.W., and B.J. Follis. 1967. Effects of hydrogen sulphide on channel catfish (Ictalurus punctatus). Trans. Amer. Fish. Soc. 96:31–37.
Boyd, C.E. 1979. Water quality in warm water fish ponds. Agricultural Experimental Station, Auburn University, AL, USA.
Colby, P.J., and L.L. Smith, Jr. 1967. Survival of walleye egg and fry on paper fiber sludge deposits in Rainy River, Minnesota, Trans. Amer. Fish. Soc. 96:278–296.
Dorris, T.C., W. Gould, and C.R. Jenkins. 1960. Toxicity bio assay of oil refinery effluents in Oklahoma, p. 276–285. In Biological problems in water pollution. Trans. 1959. Semin. R.A. Taft Sanit. Eng. Cent.
Doudoroff, P. and Katz, M. 1950. Critical review of literature on the toxicity of industrial wastes and their components to fish. allealines acids, and inorganic gases. Sewage Industrial Wastes, 22:1432–1458.
Ellis, M.M. 1937. Detection and measurements of stream pollution. Bull. Bur. Fish. 48:365–437.
Finney, D.J. 1971. Probit Analysis. 3rd ed. Cambridge University Press. London. 333 p.
Jones, J.R.E. 1948. A further study of the reaction of fish to toxic solutions. Journal of Experimental Biology, 25:22–34.
Kalyanamitr, C. 1983. Effects of water temperatures on the acute toxicity of lead to giant freshwater prawns, Macrobrachium rosenbergii De Man. M.Sc thesis. Mahidol University, Bangkok. 59 p.
Litchfield, J.T., and F. Wilcoxon. 1949. A simplified method of evaluating dose-effect experiments. J. Pharmacol. Exp. Ther. 96:99–113.
National Technical Information Service. (NTIS). 1974. Hydrogen sulfide health effects and recommended. PB-233. 15 p.
Peturiyawate, O. 1982. Effects of Hydrogen Sulfide on Catfish (Clarias batrachus Linnaeus) and its antogonistic actions with some inorganic compounds. M. Sc. Thesis. Mahidol University Bangkok. p. 55.
Smith, L.L. 1971. Influence of hydrogen sulfide on fish and arthropods preliminary completion report EPA Project. 18050 PCG. 30 p.
Smith, L.L., Jr., and D. Oseid. 1972. Effects of hydrogen sulfide to fish eggs and fry. Water Res, 6:711–720.
Van Horn, W. M., J.B. Anderson, and M. Katz. 1949. The effect of kraft pulp mill wastes on some aquatic organisms. Trans. Amer. Fish. Soc. 79:55–63.
Table 1. Fluctuation of chemical characteristics of the dilution water used in bio assay within 24 hrs. (all the values are in mg/L).
| Parameter | Brood 1 | Brood 2 |
| Dissolved oxygen | 5.4 ± 1.21 | 6.1 ± 1.32 |
| pH | 8.0 ± 0.2 | 8.8 ± 0.15 |
| Temperature | 21.6 ± 0.72 | 26.1 ± 0.5 |
| Alkalinity as CaCO3 | 224 ± 4.26 | 242 ± 5.68 |
| Total hardness | 290 ± 2.78 | 301 ± 3.83 |
Table 2. Percent mortality of the M. rosenbergii juveniles exposed to different concentrations of Hydrogen Sulphide for 24 hrs, 48 hrs, 72 hrs and 96 hrs.
| Concentration of H2S (mg/L) | Number tested | Brood | Exposure time (hrs) | |||
| 24 | 48 | 72 | 96 | |||
| 0 | 30 | 1 | 0 | 0 | 0 | 0 |
| 2 | 0 | 0 | 0 | 0 | ||
| 1.0 | 30 | 1 | 0 | 3.3 | 3.3 | 3.3 |
| 2 | 0 | 0 | 0 | 0 | ||
| 2.0 | 30 | 1 | 0 | 3.3 | 10.3 | 23.3 |
| 2 | 0 | 3.3 | 3.3 | 13.3 | ||
| 4.0 | 30 | 1 | 3.3 | 43.3 | 73.3 | 86.7 |
| 2 | 10.3 | 20.7 | 26.7 | 46.7 | ||
| 6.0 | 30 | 1 | 46.7 | 70.0 | 96.7 | 100 |
| 2 | 60.0 | 80.0 | 96.7 | 100 | ||
| 8.0 | 30 | 1 | 76.7 | 100 | - | - |
| 2 | 93.3 | 100 | - | - | ||
Table 3. LC50 95% confidence limits, and slope function (S), at indicated times during 96 hr test of the toxicity of Hydrogen Sulphide.
| Time (hrs) | LC50 | 95% confidence limits* | Slope function S | |||
| Brood 1 | Brood 2 | Brood 1 | Brood 2 | Brood 1 | Brood 2 | |
| 24 | 6.36 | 5.57 | 5.81–6.95 | 5.13–6.04 | 1.09 | 1.08 |
| 48 | 4.25 | 4.79 | 3.36–5.39 | 3.77–6.09 | 1.26 | 1.27 |
| 72 | 3.03 | 4.25 | 2.65–3.46 | 3.03–5.95 | 1.14 | 1.40 |
| 96 | 2.57 | 4.20 | 2.21–2.98 | 2.38–7.39 | 1.16 | 1.76 |

Fig 1. Percent mortality of M. rosenbergii in various concentrations of hydrogen sulphide at the exposure times of 24, 48, 72 and 96 hrs.

Fig 2. Percent mortality of M. rosenbergii in various concentrations of hydrogen sulphide at the exposure times of 24, 48, 72 and 96 hrs.

Fig 3. Percent mortality of the juveniles of M. rosenbergil (brood 1) exposed to different concentrations of hydrogen sulphide for 24, 48, 72 and 96 hrs.

Fig 4. Percent mortality of the juveniles of M. rosenbergii (brood 2) exposed to different concentrations of hydrogen sulphide for 24, 48, 72 and 96 hrs.

Fig 5. The toxicity curve of hydrogen sulphide on the juveniles of Macrobrachium rosenbergii.