In visiting FSDC hatcheries, the consultant found some similar problems and difficulties.
Construction is suggested of multipurpose rectangular troughs, which could be used for breeders as well as for hatchlings and incubation purposes after small adjustments. If not, some part of the rectangular troughs should be converted for holding and conditioning the breeders.
The number of cisterns for breed fish and the volume should be given by the hatchery manager or production manager according to production plans. The calculation should be prepared keeping in mind the larger capacity of funnel hatching nets (at least 200 000–300 000 eggs per funnel), the shorter period of holding the spawn at the hatchery and the loading capacity of brood fish according to the CPU guidelines 15 kg/m3.
Water supply to the breeders' troughs should be prepared in two arrangements: one through the showers or nozzles, the second through the simple high capacity valve.
It is recommended to have additional independent sources of water aeration at the indoor hatchery, for example: showers, air compressor or low pressure air blower with distribution pipes, oxygen cylinders clamped to the wall with temporary flexible distribution hose, and repumping system for chemical treatment of fish.
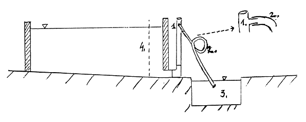
Water discharges from the rectangular troughs through the standpipes or turn-down pipes with overflow connection and flexible hose. No valves are recommended on the outlet (See report ADCP/Circ./82/5, Section 4.7.1.3 1.

Fig. 2 - Sketch of turn-down pipe installation, with overflow (1) and flexible hose (2) which could be used to collect spawn at the collecting canal (3); screen (4) if necessary

Fig. 3 - Standpipe drainage system made from PVC pipes. Screening could be provided for holding spawn as well. Removable plastic standpipe/set (1) of different lengths could be used for slow draining; outlet (2) to the collecting canal (3). The outlet pipe should be a little longer through the wall of the canal for easier fixing of the hatching hapa
It should be made possible to cover the breeder troughs and spawning pools with nets to stop fish jumping out. Simple hooks or net holders at the outside wall would help to keep the nets stretched.
Each hatchery should prepare the following equipment:
2–3 large canvas bags or special hammocks for transporting breeders from the more distant ponds (See page 147 in Woynarovich, 1980)1; 5–10 small bags for one or two breeders; 2–5 scoop nets of different diameter, opened on both ends, made from soft cotton cloth.
10–20 pieces of smooth, soft cotton cloth 0.8 × 0.4 m.
2–3 small rectangular containers/1.0 × 0.5 × 0.5 m could be used for tranquilization of fish.
A sufficient numbers of 15 1 plastic buckets (10 to 20) depending on the size of the hatchery.
One or two light wooden frames prepared according to the width and depth of the troughs and covered with strong plastic net could be of help as separators during hypophization work.
5 to 10 measuring cups or mugs, 5 to 10 plastic bowls Æ 30 to 40 cm and 2 or 3 milt collectors calibrated up to 5 to 10 ml (Woynarovich, 1980, Ibid) are necessary for stripping of exotic carps.
5 to 10 collecting hapas for eggs and 10 to 20 hapas for collecting the spawn, adjusted to the size of the collecting canal, should be prepared to start the work at the indoor hatchery.
Some difficulties occurred in the constructing of the hatching funnels. The simple pattern shown on Page 82 in the FAO Fisheries Technical Paper by Woynarovich and Horvath 1 should be followed for this work, taking into consideration the information on funnel type incubators on Pages 68 and 117 in the document. Attention should also be paid to Page 16, 1(d) in the report by the hatchery engineering consultant 2.
The general rules for construction of funnel incubation nets are as follows:
The funnel incubation net and the shower on the bottom should be fixed in a vertical position.
Only the collar (the upper part of the incubator about 15 to 20 cm high) can be made from mesh size net. The mesh must be small enough to hold the eggs but large enough to let the spawn go through without difficulties.
The top of the nets with the rust-free wire ring could be prepared from any smooth material easy to stitch but strong enough to last for several years.
The basic part of the incubator, the lower part, could be made from any material good enough to be watertight. The larger this part is, the larger the holding capacity of the incubator.
The conical part should not be wider than 60° to avoid “dead corners”. The heavier the eggs, the narrower the conical part should be.
Construction of the funnel hatching net should allow a steady flow of water through all the surfaces.
All construction should be stretched on the rings to avoid folds, which could cause mortality of the eggs.
There should be no rough surfaces or sharp metal parts inside the finished incubator.
Individual water supply should be provided to each incubator with the possibility of adjustment of the water flow.
The water flow during incubations should not enter the funnel rapidly, thereby stirring the eggs. Eggs should be kept floating on a gentle current. Use of the showers with plenty of small openings all over the surface is similar to the use of the perforated disc suggested by the hatchery engineer (See Report ADCP/Circ./83/7) 2. Dead eggs and egg shells remaining after incubation should be removed from the incubators by siphoning.
It may be necessary to provide showers or submerged flexible hose at the hatchling troughs to keep the spawn moving.
Screening should be large enough to avoid fast water current, which could press the larvae against the filtering surface.
Keeping in mind the favourable climatic conditions, as well as abundant natural food in carefully prepared ponds, on the one hand, and the danger of insufficient artificial feeding on the other, it is suggested to stock nursery ponds with three day old spawn with almost resorbed yolk sacks.
1 Woynarovich, E. and L. Horvath. The artificial propagation of warmwater finfishes:
a manual for extension. FAO Fish.Tech.Pap., (201). Rome, 1980, 183 p.
2 FAO. Inland Fisheries Project in India. Report of hatchery engineering consultant
to assist the Government of India/World Bank Inland Fishery Project, 1 November – 2 December 1982. Rome, 1983. Aquaculture Development and Coordination Programme,
UTF/IND/151/IND, ADCP/Circ./83/7, 22 p.
In case of necessity, only the first feeding could be prepared with: zooplankton collected in ponds, soyabean milk, fat-free milk and egg yolk. Proportions of the mixture ingredients could be 2:1:1:1. Some water should be added and the mixture homogenized in a high speed mixer to a consistency like fresh “curd”. One millilitre of this suspension, forced through a mesh size of about 0.08 mm is enough to feed 100 000 spawn. Food particles should be no larger than 50 to 150 microns.
Too much of this food should not be used because it will cause negative physico-chemical changes of the water in the troughs.
Spawn which will be sent to other fish farms in polyethylene bags should not be fed.
All the transfer operations of breeders, spawn, fry and fingerlings should be done after careful control of the water temperatures in ponds and indoor hatcheries to avoid thermal shock. In case of large differences, slow tempering will be necessary.
There were no larger problems connected with rearing of fry/fingerlings and harvesting the crop.