Page précédente Table des matières Page suivante


4. Politique d’ajustement structurel et de stabilisation et sécurité alimentaire


4.1 - Le PAS et ses modalités d’application
4.2 - Conséquences des PAS sur les SADA et la sécurité alimentaire

4.1 - Le PAS et ses modalités d’application

Les déséquilibres macroéconomiques et financiers constatés à la fin des années 70 tiennent à la combinaison de politiques internes inadaptées (recours à l’emprunt faute d’épargne, projets non productifs, prélèvements sur l’agriculture pour financer l’appareil administratif, interventions publiques inefficaces et coûteuses, etc.) et à un environnement international instable et défavorable (inflation, chocs pétroliers, fluctuations des prix des matières premières). Au cours de la décennie 1980-90, nombre de pays de la zone subsaharienne ont eu recours à des PAS, justifiés par la nécessaire solvabilité des Etats. Le FMI et la Banque Mondiale accordent une révision de la dette avec conditionnalités. Les PAS sont construits sur trois objectifs fondamentaux: retour à l’équilibre budgétaire, à l’équilibre de la balance commerciale et à l’équilibre de la balance des paiements. Pour cela, ils s’appuient sur les trois principes suivants:

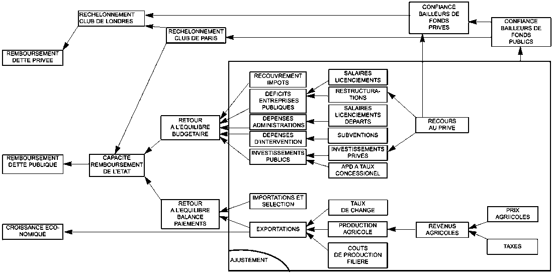
L’ajustement structurel définit ainsi un «cercle vertueux» du fonctionnement économique (voir figure 2) aboutissant à une dynamique du développement axée sur les exportations (Griffon, Henry et Lemelle, 1991).

4.2 - Conséquences des PAS sur les SADA et la sécurité alimentaire


4.2.1 - Conséquences immédiatement perceptibles
4.2.2 - Quel pourrait être l’avenir dans ce contexte?

L’évaluation de l’impact des PAS se heurte à des difficultés méthodologiques. Selon Azoulay et Dillon (1993), plusieurs angles d’analyse peuvent être distingués:

En ce qui nous concerne, nous avons opté pour une analyse portant sur les différents éléments de la sécurité alimentaire: disponibilités, accessibilité, risques, durabilité.

4.2.1 - Conséquences immédiatement perceptibles


4.2.1.1 - Disponibilités
4.2.1.2 - Risques

La situation que nous avons constatée n’est pas seulement la conséquence directe de l’ajustement structurel, mais l’aboutissement de vingt ans de planification centralisatrice et de dix ans d’ajustement structurel. La libéralisation a souvent permis de mettre à jour des carences déjà existantes des SADA, mais a eu par ailleurs des impacts négatifs sur l’organisation et le fonctionnement des SADA.

4.2.1.1 - Disponibilités

Les disponibilités de produits alimentaires dépendent du niveau de la production, du développement des industries, du bon fonctionnement du système de commercialisation. Examinons brièvement les différents agents de ces secteurs des SADA.

a) Producteurs

Le système agraire évolue peu, la population agricole n’est pas renouvelée et vieillit. Les charges de population par agriculteur augmentent: par exemple, actuellement un agriculteur ivoirien doit nourrir un urbain alors qu’il y a trente ans, le rapport était de cinq pour un. Cette évolution est moins forte au Burkina, par exemple, qui reste encore profondément rural (taux d’urbanisation de 12 pour cent). Seules l’intensification de la production et l’amélioration des conditions de vie des agriculteurs permettront de pourvoir aux besoins des populations et aux besoins d’exportation, l’agriculture étant souvent la seule source possible de devises.

La production vivrière est importante et serait suffisante avec la maîtrise des déchets et des pertes (8 millions de tonnes de vivriers en Côte-d’Ivoire). On constate une diffusion relativement correcte de la production locale sur les marchés, mais on ne saurait ni la quantifier ni déterminer l’origine géographique et les circuits empruntés par ces flux. Ceci constitue une lacune importante pour l’amélioration de ces approvisionnements dans le temps et dans l’espace.

Figure 2 Schéma simplifié des objectifs et du fonctionnement de l’ajustement structurel

Source: CIRAD/MG/avril 1986
Les potentialités de l’agriculture sont importantes: si l’extension des terres n’est plus souhaitable parce qu’elle se fait à présent sur des terres fragiles, mettant en danger la pérennité de l’environnement écologique, l’intensification au moyen de techniques simples serait possible. Les agences de vulgarisation jadis publiques, comme l’ADER en Côte-d’Ivoire, ont été démantelées, mais sans aucune structure de remplacement. La conscience des enjeux de l’alimentation fait défaut, pourtant des exemples montrent que si le désir politique est fort, des efforts considérables peuvent être fournis (exemple de la Côte-d’Ivoire qui est devenue autosuffisante en riz en sept ans par la mise en place de la SODERIZ pourvue de moyens). Au Burkina, l’Etat continue à maîtriser la vulgarisation; toutefois, la réorganisation des services a permis la mise en place de stations pilotes avec démonstrations par cession de parcelles dans les villages par des agents techniques. L’ANADER en serait responsable. L’un des problèmes majeurs est de recréer la confiance des agriculteurs envers les agents techniques. Jadis fonctionnaires spécialisés dans un seul produit, les agents se succédaient et émettaient parfois des conseils contradictoires. Aujourd’hui, les techniciens doivent être polyvalents et compétents de façon à raisonner sur l’exploitation dans son ensemble.

L’agriculture très atomisée n’est pas organisée (nous ne parlons pas là de l’agriculture de rente pour l’exportation qui a sa propre organisation et ses règles). Pourtant une organisation des producteurs constitue un contre-pouvoir face aux commerçants, qui est tout à leur avantage. Par exemple, les producteurs de café ivoiriens touchaient 10 pour cent de la valeur de marché du produit, aujourd’hui ils en perçoivent 60 pour cent (entretien avec des responsables du Ministère de l’agriculture). Une agriculture contractualisée constituerait une garantie pour le commerçant ou l’industriel, mais elle ne peut se créer qu’avec des groupements de producteurs pour faire des économies d’échelle; or, les mentalités sont-elles prêtes pour cela? Les accords entre agriculteurs et commerçants se développent timidement.

La non-planification de la production engendre un manque à gagner important pour les producteurs. En effet, les mêmes produits arrivent en abondance sur les marchés en même temps, ce qui fait chuter les prix. La mise en place de calendriers de production pallierait cet effet. Les produits de contre-saison sont souvent trop coûteux à cause des pertes et de l’irrigation nécessaire. En période sèche, le choix se fait entre l’eau pour la bouche et l’eau pour irriguer.

La libéralisation a temporairement profité au secteur productif du fait des hausses des prix; cet effet dynamique peut produire un effet boomerang dans la mesure où les hausses de prix ont conduit à une surproduction qui a créé une mévente ou une chute de prix. Les agriculteurs découragés peuvent se détourner de ces produits et l’on peut assister à une nouvelle pénurie.

Pour l’élevage, le système est de type extensif sur la base de la transhumance, aussi le cheptel est-il limité. D’autre part, il constitue un mode de capitalisation sûr en l’absence de systèmes bancaires; il n’y a décapitalisation qu’en fonction des besoins numéraires des éleveurs qui sont volontairement limités pour ne pas voir disparaître le capital au nom de la solidarité familiale. Pour pallier à l’insuffisance de viande bovine, des tentatives de développement de l’aviculture ont été menées avec succès en rationalisant les méthodes d’élevage traditionnelles, notamment à Ouagadougou. L’avantage d’une telle production est la proximité de la ville et l’occultation des problèmes de conservation par la vente de volailles vivantes. Elle est toutefois limitée par l’insuffisance d’aliments pour les volailles.

La pression foncière est très forte. L’Etat avait hérité de la législation coloniale, selon laquelle tout appartient à l’Etat. Aujourd’hui, la propriété se transfère aux individus sous condition de mise en valeur des terres soit par des cultures, soit par l’immobilier. Le droit coutumier et le droit légal s’affrontent et le rapport de force a toujours été en faveur de l’administration; aujourd’hui, les droits coutumiers resurgissent et une réglementation serait nécessaire pour éviter les installations sauvages et les colonisations de terres non prévisibles. Les nouveaux arrivés négocient avec les coutumiers et achètent illégalement des terres. L’Etat reste actuellement le principal aménageur foncier dans les villes.

Une ceinture maraîchère s’installe autour des villes. Ce circuit est très court: production dans la ville ou à 10 ou 20 km de la ville. Il s’agit d’une filière dynamique (les périodes de rupture s’amenuisent) et encore lucrative. L’organisation du secteur est indispensable car les pertes sont importantes et les pics de disponibilités de produits trop forts, ce qui baisse les prix aux producteurs. Une meilleure productivité serait souhaitable mais elle est fortement dépendante de la qualité des semences: l’usage est de constituer ses propres semences, ce qui a des répercussions sur la qualité des produits et leur rendement. La production est aussi très dépendante du statut foncier: les parcelles se raréfient avec l’extension des villes et la production maraîchère s’effectue sur des terres louées, dégagées des autres productions. Il n’existe par ailleurs aucune structure de services (froid, emballage, etc.).

Le crédit agricole, nerf de la guerre, est sporadique, les institutions d’Etat ayant souvent été dissoutes et les privés n’ont pris le relais qu’avec beaucoup de réserve. Actuellement, il existe quelques services de crédits sur une base mutualiste. Il existe aussi des fonds sociaux qui sont des prêts aux opérateurs économiques avec nécessité de garanties qui posent problème.

Au fond, le drame des pays d’Afrique de l’ouest est que l’agriculture n’est pas considérée comme un métier, elle est une composante sociale et culturelle. La désorganisation de l’aval ne valorise pas les efforts réalisés en amont.

Par ailleurs, une analyse sociologique de la société africaine permettrait de comprendre certains blocages au progrès. Par exemple, la remise en cause des techniques culturales ancestrales constitue une désobéissance aux règles de respect et de soumission aux anciens. Comment lever de telles entraves? Une illustration peut être faite à partir du cas burkinabé, où l’on observe un refus de l’application de techniques d’intensification pour les céréales traditionnelles (mil, sorgho), alors qu’il n’y a pas d’entrave pour une culture nouvelle comme le maïs.

b) Commerçants et distributeurs

Le problème de la commercialisation se pose avec plus d’acuité dans certains pays comme la Côte-d’Ivoire ou le Sénégal que dans d’autres comme le Burkina, qui commercialise seulement 10 pour cent de sa production, le reste étant autoconsommé. Il existe un partage social du commerce. Le commerce des céréales est réservé aux hommes (maïs, mil, sorgho, riz), le commerce du vivrier est le fait des femmes (manioc, igname, plantain, fruits et légumes). En Côte-d’Ivoire, 90 pour cent du commerce vivrier est assuré par les femmes; ce sont elles aussi qui maîtrisent dans les villes les ventes de produits artisanalement transformés ou préparés.

Les commerçantes assurent une fonction de distribution qui n’existe pas au niveau le plus atomisé; elles font preuve d’une très grande adaptabilité aux moyens et aux besoins des consommateurs. Elles maîtrisent l’ensemble de la chaîne alimentaire depuis les crédits jusqu’à la vente et constituent un contre-pouvoir dont il faut tenir compte.

L’organisation de la commercialisation est une condition sine qua non du développement de l’agriculture et de la constitution du CEMAOC, grand marché régional regroupant 20 pays de l’Afrique occidentale et centrale. Ce grand marché passe par une diminution des points de contrôle qui immobilisent les produits et entretiennent les taxes illicites, un allégement des procédures administratives, la mise en place d’une réglementation commune et d’une liste de commerçants agréés. Pour éviter les cartels et les monopoles, il est envisagé de faciliter les syndicats et les Chambres de commerce afin de créer une interprofession par filière. Des infrastructures de communications routières, de stockage et de marchés seraient nécessaires pour drainer les flux et limiter les pertes qui sont élevées (20 à 40 pour cent en Côte-d’Ivoire, par exemple).

Il n’est pas envisageable de planifier la production tant que le transport ne sera pas régulier, suffisant et moins coûteux. Les transporteurs, peu nombreux, sont plus enclins à transporter des produits rémunérateurs comme le cacao, le café, le coton, les produits d’exportation, que les vivriers, pour pouvoir compenser les lourdes taxes illicites dont ils sont les cibles. Ils en viennent à réclamer eux-mêmes le paiement d’une patente qui les délivrerait de ces taxes diverses.

Actuellement, aucun marché de gros, au sens européen du terme, n’existe. Le premier est en création à Bouaké. Des marchés se créent spontanément aux lieux de rupture de charge et près des lieux de consommation. L’Etat utilise ces carrefours naturels pour implanter des marchés structurés, dont la gestion et l’entretien sont assurés aujourd’hui par les collectivités locales. Par manque de personnel qualifié, de moyens et de volonté, l’état des marchés laisse à désirer. Seul le grand marché de Ouagadougou fait figure d’exemple; boudé lors de sa création, il abrite aujourd’hui 4 000 commerçants et doit faire face à 20000 demandes. Sa gestion et son entretien sont sous-traités à une entreprise privée. Si les services de contrepartie de la patente sont convaincants, le marché organisé peut drainer la majorité du commerce, sinon il y a risque de voir se développer des marchés parallèles (c’est un pari pour le marché de gros de Bouaké qui doit convaincre 600 grossistes de son utilité).

Les infrastructures de marché sont sommaires et ne disposent pas de chambres froides, ce qui contraint à des ventes dans la journée pour les produits périssables, notamment la viande.

En Côte-d’Ivoire, trois centres de collecte ont été créés pour drainer les flux vers Abidjan, en substitution aux marchés de production. Ce changement, bien que plus rentable sur le plan du transport et de la commercialisation, s’avère, à l’usage, être un frein à la transparence du marché dans la mesure où il déconnecte les producteurs des commerçants. C’est sur les marchés de production que le prix de première mise en marché se constitue. En l’absence d’informations, cette déconnexion aggrave l’opacité du marché.

Les commerçants occupent souvent une fonction de crédits auprès des agriculteurs. Leurs collecteurs font office d’intermédiaires et sont les pourvoyeurs d’informations nécessaires à la négociation des prix. Les années de faible production, les commerçants mènent une politique de clientélisme en abaissant les charges légales de taxes à la valeur ajoutée. Pour les gros commerçants, la spéculation sur les produits par stockage est financièrement plus intéressante au terme de la période d’immobilisation qu’un placement bancaire d’une somme équivalente. Les commerçants utilisent très largement les fluctuations de la production pour faire une capitalisation à risque mais très fructueuse, au détriment du consommateur qui paye ses produits plus chers.

La majorité du commerce des produits alimentaires s’effectue dans l’informel. L’utilité de la fonction que remplit l’informel n’est pas mise en cause mais les avis sont très partagés sur la nécessité de formaliser ce secteur ou de soutenir le secteur informel (voir plus loin la discussion sur la place du formel et de l’informel)

c) Les industriels

Le tissu industriel est faible et organisé seulement pour les produits d’exportation. Une petite technologie de transformation des produits adaptée aux petites exploitations rurales ou aux commerçantes de rue visant à alléger le travail manuel des femmes (traitement du manioc, moulins à grains) serait nécessaire. Cette technologie existe mais se heurte à sa diffusion. Pour cela une étude sociologique serait utile pour comprendre les réticences et les moyens de les vaincre; il est notamment efficace de convaincre d’abord le chef d’un village de l’utilité d’une technique, au risque d’assister à un conflit d’autorité entre les chefs et les agents administratifs.

Pour les industries destinées à approvisionner les centres urbains, les industries de grande taille et/ou sophistiquées ne sont pas appropriées, les services et biens intermédiaires et la maintenance étant trop coûteux. Elles réclament par ailleurs des niveaux de formation du personnel hors de portée. L’urgence semble être sur l’approvisionnement des masses à bas prix, pour des produits entrant dans les pratiques alimentaires (pâte de manioc, attiéké, farine de maïs, autres préparations à base de maïs, fruits et légumes, etc.).

La petite industrie locale est encore embryonnaire et se limite à des confitures ou quelques conserveries de fruits et légumes. Le prix de ces produits n’est pas compétitif car le contenant est plus coûteux que le contenu.

4.2.1.2 - Risques

Deux types de risques sont à prendre en considération: les risques liés à la qualité des aliments et les risques nutritionnels liés aux défauts d’accès aux aliments et à une ration alimentaire équilibrée.

Le contrôle sanitaire et de la qualité des produits alimentaires est l’une des composantes de la sécurité alimentaire. Bien qu’il y ait généralement des contrôles à l’entrée des pays, dans les abattoirs et aux marchés, le système souffre d’une nette insuffisance d’infrastructures de contrôle, d’organisation et de formation du personnel. Les laboratoires de contrôle existants étaient conçus essentiellement pour les produits d’exportation; ils devraient être étendus aux produits locaux. Par ailleurs, les textes de référence sont vagues et permettent toutes les interprétations. La libéralisation a eu pour conséquence le transfert de certaines réglementations et d’attributions aux collectivités locales. Celles-ci ne disposant pas du personnel formé en la matière effectuent les prélèvements de taxes auprès des marchés, par exemple, sans pour autant rendre les services de contrepartie.

Les services d’hygiène maîtrisent assez bien l’amont de la chaîne alimentaire mais absolument pas l’aval. La priorité devrait être accordée au contrôle sanitaire dans les abattoirs, sur les marchés, dans les «maquis» et dans l’alimentation de rue où le recyclage de produits périmés est courant. Les gestionnaires des marchés, les commerçants, les consommateurs n’ont aucune connaissance de base en matière d’hygiène alimentaire. La gestion des marchés a été globalement transférée aux collectivités y compris les aspects sanitaires; or ils n’ont ni les moyens, ni les compétences pour assurer cette fonction. Les détournements de la réglementation ne sont pas rares et les pouvoirs locaux se heurtent au pouvoir administratif. Même en cas de saisie de produits non consommables, les structures de stockage et de destruction de ces produits font défaut.

Une difficulté majeure du bon fonctionnement du contrôle de la qualité est la dispersion des règles et des intervenants dans le contrôle: Ministère de l’Agriculture, du Commerce, de la Santé, de l’Education, etc. On pourrait imaginer une structure unique de normalisation et de répression avec une mise en application par les différents organes de l’Etat. Mais la nécessité préalable d’un règlement sanitaire général avec un volet sur l’hygiène alimentaire réclame une procédure de plusieurs années. Dans l’attente, une campagne nationale sur l’hygiène ne serait-elle pas utile?

Au niveau de l’UEMOA, il est prévu de mener une réflexion en 1997 sur des normes de qualité consensuelles, acceptées par les opérateurs des différents pays. Pour cela, il est nécessaire de s’informer des réglementations actuelles, de les confronter, de les faire accepter.

4.2.2 - Quel pourrait être l’avenir dans ce contexte?

Les pays de l’Afrique francophone se trouvent à un tournant de leur société. L’environnement paraît difficile: un pouvoir d’achat qui s’érode, une désorganisation complète de l’économie, une absence de relais au retrait massif et brutal de l’Etat, une déréglementation à tous les niveaux de la chaîne alimentaire.

Paradoxalement, ces difficultés peuvent être l’occasion d’un réel démarrage à condition qu’il y ait aussi une réelle volonté politique de relancer l’économie et d’assurer la sécurité alimentaire des populations.

En effet, la libéralisation a mis les agents face à leurs responsabilités et les contraint à adopter des stratégies de survie; ils entrevoient à présent la nécessité de s’organiser et réclament eux-mêmes des règles de production et de marché pour ne plus subir les abus de l’informel. La libéralisation a permis de mettre à jour une carence de réglementations ou de leur application au cours des trente années de monopole d’Etat.

La libéralisation permet les échanges commerciaux. L’Afrique occidentale possède suffisamment de potentialités pour assurer convenablement les approvisionnements alimentaires de toute la zone: riz, maïs, mil, sorgho, fruits et légumes, produits de l’élevage. Sans pousser à la spécialisation extrême de chacun des pays constituant l’UEMOA (ce qui peut mettre en danger le principe de sécurité alimentaire), il est remarquable que l’ensemble de ces pays présente des complémentarités du point de vue alimentaire. Par ailleurs, ces pays présentent un avantage commercial indiscutable avec une monnaie commune et un langage commun. Pour cela les Etats devraient lever leurs contradictions actuelles: profiter de la libéralisation pour écouler leurs produits sur les pays voisins mais se protéger des flux de ces mêmes voisins. Le bon sens serait une libéralisation interne à l’UEMOA sans pousser à l’absurde les avantages comparatifs, tout en se protégeant aux frontières régionales. Cela suppose des réglementations communes internes et externes.

La libéralisation permet enfin de recréer la confiance des opérateurs. Il est en effet remarquable qu’à tous les niveaux, il y ait une suspicion et un manque de confiance envers les informations, les contrôles, les décisions émanant des gouvernements. Ce climat rendra difficile la bonne marche de services publics indispensables. La meilleure preuve est la création de services privés parallèles non-officiels. La restauration de la confiance sera longue et ne pourra se faire qu’à preuve de compétences.

Au-delà de la libéralisation, la dévaluation constitue une nouvelle chance. Bien qu’elle ait contribué à une perte de pouvoir d’achat, du fait du renchérissement des produits alimentaires importés et de biens et services intermédiaires, elle a favorisé le report de la consommation vers les produits locaux relativement moins chers. Les pratiques alimentaires se sont modifiées et favorisent les produits locaux. C’est donc l’occasion d’une relance économique du secteur agroalimentaire. Bien sûr, le gouvernement doit maîtriser l’inflation au risque de voir les bénéfices de la dévaluation vite perdus. Heureusement, l’économie libérale a correctement fonctionné et les prix après une flambée, se sont stabilisés à un niveau inférieur.

Enfin, par rapport au thème central du programme qui est l’urbanisation, son accélération est source d’inquiétude car il faut rapidement drainer des flux croissants de marchandises vers ces points de concentration et organiser la distribution interne aux villes. Autre paradoxe: ce phénomène est une chance pour la dynamique de l’agriculture et du commerce car il assure un marché stable. La demande autrefois rurale, diffuse et fluctuante n’était pas structurante. Aujourd’hui, il y a garantie de débouchés pour des quantités et des qualités stables, voire croissantes.

L’environnement, contrairement aux apparences, est donc tout à fait favorable au secteur alimentaire, bien que les tâches de reconstruction soient considérables. Les mesures d’accompagnement aux plans d’ajustement structurel à mettre en place, doivent l’être rapidement au risque de voir se constituer des cartels privés qui n’auraient même pas le devoir de sécurité alimentaire des populations, comme l’avait l’Etat.


Page précédente Début de page Page suivante