Yang Huazhu
Hu Baotong
Chinese integrated fish farming is so broad in scope and has so many models that there is no comparative farming system in the world. The Chinese system had developed its own characteristics and has attracted world attention. The reason for this is the full systems's development and utilization of local natural resources and subsequent production of food and attainment of economic self-sufficiency.
Advantages of Integrated Fish Farming
Artificial ecosystem with no waste
In developed countries, farming becomes more intensive as industry develops. As farming becomes more intensive, waste material accumulates. In Japan, for example, cattle, pigs, and chicken produce more than 70 × 106 t/year of waste material. If this excreta is not disposed, the environment becomes polluted and people's health jeopardized.
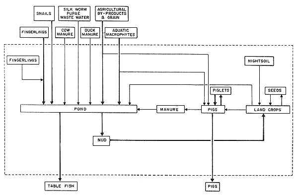
Livestock and poultry manure are good organic fertilizers for fish farming: 40–50 kg of organic manure will produce 1 kg of fresh fish. Combining fish farming with mulberry cultivation, sericulture, and silk extraction from cocoons allows the pupae to be used as fish feed and the worm feces and wastewater from the processing factory to be used as pond fertilizers. The dregs, lees, and wastewater obtained from starch processing and wine brewing may also be used as fertilizers. Pond silt can be used as fertilizer for fodder crops, which in turn, can be used to raise live-stock and poultry or as fish feed. Thus, a recycling ecosystem is formed (Fig. 7.1).
Increasing the food supply
The limited supply of protein food is currently a serious problem in China and around the world. Therefore, using only pelleted grain and animal protein fish feeds is not economical and reduces the food available for human consumption. If grains such as wheat are used in fish culture, output could reach 4815–9750 kg/ha. However, the average food conversion factor of grain is 3, i.e., 3 kg grain (dry weight) will produce 1 kg fresh fish. This conversion rate is unsuitable for countries in need of food. Natural food organisms cultured in fish ponds using organic manure could completely replace pelleted feeds. Fertilizing with animal manure will not change the quality of fish. Being cultured, the daily output could reach 15–33 kg/ha or even higher. For example, the Helei Fish Farm in Wuxi not only has 69.4 ha of fish ponds but also has a dairy with 100 cows, pig-pens with 1,000 pigs, and duck yards producing 10,000 eggs/day. It is now a subsidiary food-production base that integrates aquaculture, industry, and commerce. Fish farming is combined with livestock and poultry farming, with fish farming having priority. The fish farm not only supplies enough fertilizer to produce a large quantity of fish but also produces pork, eggs, milk, poultry etc.

Fig. 7.1. Recycling of material in a well managed integrated fish farm.
The scope of integration in an integrated fish farm can be considerably wide. Geese and ducks may be raised on the pond, pond dikes may be used for fruit tree and mulberry cultivation or for raising pigs, and dike slopes may be used for fodder crops. Thus, an integrated fish farm can produce not only fish but also meat, milk, eggs, fruit, vegetables, etc. Integrated fish farming can fully utilize the water body, the water surface, the land, and the pond silt to increase the food available for human consumption.
Employment
Because of the varied nature of an integrated fish farm, more jobs are available than on a unitary fish farm. For example, on Helei there are 149 jobs related to integrated farming of fish and other products. Among these there are 48 people involved in duck farming, 19 in cow farming, and 14 in pig farming.
Increased output and economic benefit
The current problem in aquaculture is the prohibitive cost of pelleted feeds. This is related to the shortages of energy and protein. The integrated fish farm produces feeds and fertilizers for itself, thereby saving energy and reducing expenditures. For example, in 1981, Helei Fish Farm produced 5.5 × 106 kg of pig manure, 1.85 × 106 kg of cow dung, 1 × 106 kg of duck manure, and 9.5 × 106 kg of wastewater from the silk-extracting workshop. Therefore, the total amount of organic fertilizer produced was 17.85 × 106 kg. The utilization of animal excreta as fertilizer could reduce the production costs of a fish pond by about 97 yuan/mu.
Helei Fish Farm began to raise ducks, cattle, and pigs in 1976, became involved in the food-processing industry in 1979, and began to actively trade produce in 1980. From 1977 to 1981, the fresh fish yield increased from 115,000 to 600,000 kg (the same area). The yield of livestock and poultry increased from 135,000 to 490,000 kg. By 1981, the average per-capita income had increased by 120.8 per cent since the establishment of the fish farm in 1966 (Fig. 7.2). The annual net fish production of integrated fish farm in China could reach 6,000 kg/ha by using only organic manure.

Fig. 7.2. (a) Increase of income of Helei Fish Farm, Wuxi, from 1977 to 1981.

Fig. 7.2. (b) Average production value and wages of workers of Helei Fish Farm, Wuxi, from 1977 to 1981.
The Characteristics of Chinese Integrated Fish Farming
China is a vast country with a large population and varied natural environments. The agricultural structure and economic conditions of each locality can be quite different. Therefore, various integrated fish-farming practices have developed into complicated structural networks unique to local conditions. The Pearl River Delta is located south of the Tropic of Cancer. The annual solar radiation is 110 kcal/cm2, the average temperature is 22°C, there are 2 or 3 days of frost per year; there is more rain and higher temperature in the summer (maximum temperature, 37°C; relative humidity, 76–85 per cent), and the annual amount of sunshine ranges from 2000 to 2500 h. Such geographic and climatic conditions are conducive to the cultivation of mulberry trees, sericulture, and fish farming. Hence, the farmers of the Pearl River Delta have been able to take advantage of local natural resources by integrating mulberry cultivation and sericulture with fish farming, leading to the establishment of a complete “mulberry plot-fish pond” man-made ecosystem.
In the same geographical region, the items of integration may be completely different. Helei Fish Farm, Xinan Fish Farm, Helei First Fishery Brigade, Wangzhuang Fish Farm, and the Municipal Fish Culture Farm in Wuxi have different items of integration (Figs. 7.3, 7.4, 7.5 and 7.6). Liutan village has recently incorporated agriculture, sideline occupations, aquaculture, and commerce into its integrated system. The farm site was originally a 17.33-ha water-logged paddy field, subject to annual flooding and with a low yield of agricultural crops. Based on the topography of the land, the farmers restructured the land into 10.67 ha of fish ponds in the winter of 1979 and the spring of 1980. The farm consists of 15 grow-out ponds (8 ha) and 11 fingerling ponds (2.67 ha). Apart from pig raising, green fodder farming is the major item of integration. There is 1.33 ha of pond dykes, and this area is used for the cultivation of ryegrass (Lolium perenne) and sow thistle (Ixeris denticulata). A wild rice stem (Zizania latifolia) field was used to cultivate duckweed, with an average yield of 37,500–45,000 kg/ha. Grass carp and wuchang fish are the dominant cultured species, with a yield of 5250 kg/ha (45 per cent of the total fish production). This example indicates that maximum efficiency of an integrated fish-farming system can only be obtained through the proper use of the natural conditions and the agricultural characteristics of the particular region.
Socio-economic conditions should be considered when developing an integrated fish-farming system. The development of a diversified economy depends on the harmonious interaction between socio-economic conditions, agricultural production, and regional environmental conditions. Because the development of an integrated fish-farming system is site-specific and because each site is unique, the integrated systems in China are becoming more and more complex. Simple models involving the mono-integration of fish-cum-animal husbandry, fish-cum-poultry, or fish-cum-crops are disappearing in China, except in small-scale individual farms.
There are various methods of utilizing organic wastes in an integrated fish-farming system.
Fresh animal manure can be applied directly to the fish ponds. Pigpens, poultry coops, and pens for ducks and geese can be constructed on the dikes or above the ponds. Fresh manure thus enters the ponds directly, and energy losses as a result of processing and transportation are avoided. Livestock feeds that are not fully digested can be directly utilized by the fish. The number of animals should be compatible with the pond area.
Residues of anaerobic fermentation to produce biogas can be used to fertilize fish ponds. The compost remaining after fermentation can also be used for pond fertilization.
Animal manure can be used indirectly through one or two trophic levels in a food chain. For example, animal manure is used to grow fodder crops that are used to feed herbivorous fish, it is also used to produce earthworms or other animal feedstuff for carnivorous fish, or as a component of pelleted feeds.
Poultry manure can be used to feed pigs and pig manure can, in turn, be used for pond fertilization.

Fig. 7.3. Xinan Fish Farm, Li Yuan People's Commune.

Fig. 7.4. Fishery Team Number 1, Helei People's Commune.

Fig. 7.5. Wang Chuan People's Commune Fish Farm.

Fig. 7.6. Wuxi Fish Farm, Li Yuan People's Commune.
Further Development and Research Needs
The prosperity of the agricultural economy and the application of new technology stimulated and improved production in integrated fish farming. For example, the use of mechanized aerators to a certain extent, raised the production efficiency of classical Chinese fish culture. Although integrated fish farming has long been practiced in China, much experience has been gained through years of improvement, and considerably high yields have been achieved, the scientific basis for some of the existing techniques still needs clarification.
To raise further the efficiency of integrated fish farming, the biological basis of integrated fish-farming must be studied and aquaculture technology must be developed. In theory, two ecosystems must be clarified. First, the structure and function of the integrated fish-livestock-crop ecosystem must be studied, with the goal of establishing an optimal ecosystem. Second, the pond ecosystem must be studied.
Structural research concerns the biological interactions between fish, live-stock, and crops and their matched proportions. Material cycling and energy flow should be measured to clarify their biological and quantitative relationships. In the integrated ecosystem, crops are producers, livestock and fish are consumers, and aquatic and soil microorganisms are decomposers; it is a complete ecosystem. In this system, proper energy circulation demands that there be no wastage in any link of the system and the production not be hindered by a lack of energy. For these reasons, the fish pond ecosystem must first be thoroughly studied.
A manure-loaded pond is a semiclosed, artificial ecosystem. Animal manure added to the pond is decomposed by bacteria. The conversion of animal manure into fish protein is a complex process involving physical, chemical, and biological (food chain) factors. To investigate the relationships between biological and non-biological factors, the cooperation of scientists from various disciplines such as aquaculture, ecology, botany, microbiology, and chemistry is required.
Fish-cum-crop integration is the oldest and most popular form of integrated fish farming in China. Fish farming and crop cultivation can be combined because of the demand for fish feeds and the excess of pond silt. On the one hand, abundant silt deteriorates the pond water and, on the other hand, pond silt is a high-quality manure for crop cultivation. These crops can in turn be used as fish feeds. Therefore, pond silt in the link in fish-cum-crop integration.
Formation and Function of Pond Silt
Large quantities of feed and manure are added to the fish ponds every year. This results in a considerable amount of residue settling on the bottom of the pond. Moreover, fish and aquatic animal excrement and bodies, and alluvial soil also settle on the bottom of the pond. The organic material decomposed by bacteria forms a great deal of humus, which combines with the sludge on the bottom of the pond to form silt.
The thickness of the silt depends on many factors. Even in the same pond, silt thickness may vary with location. The mean silt thickness in a high-yielding earthen pond with a target yield of 500 kg/mu and no slope protection is 10–20 cm. This translates to an annual accumulation of 50–95 m3/mu (100–190 wet weight).
An appropriate amount of silt is beneficial to the pond as a fertilizer; however, an excessive amount of silt is detrimental to water quality. It accumulates rapidly when large quantities of feeds and manures are applied. The pH of the water will decline, the biological oxygen demand (BOD) will increase, and nitrites and gases such as NH3, H2S, CH4 and PH3 will accumulate and harm the fish. The median tolerated limits (Tlm) of silver carp and bighead to NH3 over 24 h at a temperature of 25°C are 0.91 and 0.46 mg/L, respectively. Grass carp is more susceptible to NH3 (Lei Xingzhi et al. 1983). Surplus nitrites will induce haemorrhagic septicemia in the fish. Silt contains a lot of ichthyopathogenic parasites and other harmful organisms. The thicker the silt, the more the pond water will deteriorate. Fish yield is directly affected. Thus, excess silt should be removed after the pond is drained.
There is a large amount of organic matter sediment in pond silt. Pond silt often lacks oxygen so that the fermentation of organic matter is restricted. Part of oxidation is hindered and part of it proceeds in a reversible reaction. Thus, large quantities of transition and inorganic reduction materials settle to the bottom of the pond and the surface of the pond silt. These materials have a strong affinity for oxygen. In an intensive fish pond, convection of the upper layer and the bottom layer often occurs at night. When the upper-layer water, with a high dissolved oxygen content, comes down, the oxygen consumption of the inorganic material in the pond silt abruptly increases; inorganic reduction material and water respiration also increase. This is the main reason why fish surface and gasp for air during the night.
Silt is a high-quality manure containing several nutritive elements (Tables 7.1 and 7.2).
The nitrogen content of the annual accumulation of pond silt per mu is equivalent to 481 kg of ammonium sulphate (Table 7.2). In the Pearl River Delta and the Taihu Lake basin, pond silt is removed 3 to 6 times every year. Generally, two-thirds of the silt is removed annually and per mu, this is equal to 1.2 t of NPK fertilizer. The quick-acting component of the silt is equivalent to 119 kg of fertilizer. As a fertilizer, silt increases the thickness of the cultivation layer, improves the soils particle structure, strengthens its ability to absorb N,P and K, and improves the soil's capacity to hold water. It is also a slow-acting fertilizer, which is beneficial to late crops.
If only silt is used as a fertilizer, 100 kg of silt (dry weight) can produce 10 kg of ryegrass. The annual removal of 50 m3/mu of silt is sufficient to cultivate 6 mu of rice, producing 500 kg rice/year. If the same amount of silt is used to cultivate ryegrass, production could reach 6000 kg/mu. The yield per unit of paddy field using 10–15 of silt composed with green grasses is close to that obtained when 5 t of composed animal manure is used. In addition, the cost of digging silt in China is less than the cost of purchasing animal manure from outside the fish farm.
Table 7.1. Nutritive content of various silts.
| Silt variety | Organic material (%) | Total N (%) | Total P(P2O5) (%) | Total K(K2O) (%) | NH3 N (ppm) | NO3 N (ppm) | Quick-acting P (ppm) | Quick acting K (ppm) |
| Pond silt | 2.45 | 0.20 | 0.16 | 1.00 | 273 | 6 | 97.0 | 245.0 |
| Silt in pig manured pond | 2.10 | 0.20 | 0.33 | 2.39 | ||||
| Silt in pond with composite feeds and manures | 3.23 | 0.21 | 0.27 | 22.5 | 562.2 | |||
| River silt | 5.28 | 0.29 | 0.36 | 1.82 | 1.25 | 1.4 | 2.8 | 17.5 |
Table 7.2. Equivalent weight of fertilizers (kg) to pond silt.
| Fertilization | Total NPK | Quick-acting NPK | ||
| 100 kg/dry silt | Annual dry silt/mu | 100 kg dry silt | Annual dry silt/mu | |
| Ammounium sulphate (21% N) | 0.962 | 481 | 0.134 | 67 |
| Urea (46% N) | 0.435 | 217 | 0.061 | 31 |
| Calcium superphosphate (16% P as P2O5) | 1.000 | 500 | 0.061 | 31 |
| Potassium oxide (60% K as K2O) | 1.667 | 834 | 0.041 | 21 |
Feed Demand Fish Farming
The demand for both commercial feeds and natural food organisms in fish farming is great; however, their supply can be limited. In addition, transportation costs and energy consumption are surprisingly high. A fish pond with a targer net yield of 250 kg (100 kg of herbivorous fish, 100 kg of plankton-eating fish, and 50 kg of omnivorous fish) needs 1500 kg of aquatic grass, 1000 kg of vegetables, and 150 kg of grains in addition to 3000 kg of pig manure. To meet the demand of commercial feeds and natural foods and to reduce costs, fish farming should be combined with crop cultivation.
Feasibility of Fish-cum-Crop Integration
Aquaculture can provide large amounts of silt and fertile water for agriculture and land on fish farms has much agricultural potential. The average pond dyke is 3 m wide with a slope gradient of 1:1.5 to 1:3. The mean area of a fish pond is 10 mu. The average ratio of arable land area (pond dyke and slope) to water surface area is 1:5. There is more arable land before May, when the water level in the pond is low. With an extra 0.3 mu of forage field attached to 1 mu of fish pond in addition, all the areas already available the ratio of arable land area to water surface area could reach 1:2 or even higher. Aquatic plants can also be planted on scattered, unused surface.
It is necessary and feasible to integrate fish farming with crop production to fully utilize pond silt, arable land, and water surface. As a result, the demand for fish feeds can be wholly or partially satisfied.
Fish-cum-Terrestrial Crop Integration
All or most parts of the crops planted in the fodder crop field and corner plots on the pond dykes and slopes are used as green fodder for the fish and as fertilizers for the ponds. This is the most popular pattern in fish-cum-crop integration.
Crop variety
Crops that are palatable to the fish, rich in nutrition, resistant to disease, easy to manage and have well-developed roots to protect the slope should be used. If the crop serves as a straw manure, it should decompose easily (Table 7.3). The average yield of some leguminous plants (e.g. Trifollium repens, Trifollium pratense, Medicago sativa, Astragalus sinicus) can reach 5000–7500 kg/mu. These grasses serve as both feeds and fertilizers. The average yield of some gramineous plants (e.g., Pennisetum purpureum, Phalaris arundinacea, Pennisetum alopecuroids x Pennisetum purpureum) can reach over 10,000 kg/mu. The seeds and young crops of other grains such as barley, wheat, maize, and rice are also palatable fish foods. The tender, juicy vines and leaves of sweet potatoes (Ipomoea batatas) and squash (Cucurbita sp.) are pulverized and fed to grass carp in the Wuxi area. Cooked tuber and squash are fed to feed eaters.
Collection of production period
Ingestive variation between fish is due to different growth characteristics and environmental conditions. Among environmental conditions, seasonal variations in water temperature are important. Production periods, therefore, must be collocated with peak fish ingestion times to synchronized daily foddergrass production with daily fish feeding. The periods of lowest ingestion by cultivated fish in the Changjiang River drainage are February-March and November-December. Peak ingestion occurs between June and September accounting for 50 per cent of the annual total ingestion (Fig. 7.7).
Table 7.3. Main terrestrial fodder crops and green manure.
| Varieties | Yield (kg/mu) | Sowing time | Seed (kg/mu) | Sowing type | Harvesting time (months) | Use | Food conversion rate (FCR) |
| Rye grass and Lolium perenne | 5,000–10,000 | Aug-Sept | 2.0–2.5 | Spreading drilling and transplanting | June-Dec. | Stalk as food | 17–23 |
| Sudan grass | 7,500–13,000 | April | 2 | Drilling, spreading dibbling and transplanting | May-Oct. | Stalk as food | 19–28 |
| Ixeris denticulata | 5,000–75,000 | Mar-Aug | 1 | Drilling, spreading | May-Sept. | Leaves as food | 30–35 |
| Symphytum peregrinum | 7,500–12,500 | Mar-Apr | 2,500 seeds | Transplanting | May-Oct. | Leaves as food | 40–45 |
| Chinese cabbage | 2,000–3,000 (per crop) | 4–5 crops a year | 0.75–3 | Spreading and transplanting | 4–5 crops a year | Leaves as food | 40–45 |
| Cabbage | 2,000–4,000 (per crop) | 3–4 crops a year | 0.75–2 | Spreading and transplanting | 3–4 crops a year | Leaves as food | 40–45 |
| Broad bean (young plant) | 3,000–7,500 | Oct-Nov | 10–15 | Dibbling | Jan. & Apr. (cutting) | Stalks as food | 40 |
| Soybean | 50–130 | Mar or June | 6.0–7.5 | Dibbling | July & Oct. | Bean milk as feed, bean cake as manure | 3 |

Fig. 7.7. Annual variation in food intake of fish ( , in Shanghai area; ----------, in Linhu area; .........., in Wuxi area.) and daily output of ryegrass and Sudan grass (x — x).
The production mode of Italian ryegrass and sudan grass coincides with fish feed demands. Ryegrass is sowed in September, transplanted in October and mowed in December in the Changjiang River drainage. Peak production occurs between April and May (Table 7.4). Enough ryegrass alone is produced on the integrated fish farm to sustain the fish. Sudan grass is sowed in mid-April and mowed for the first time when it reaches 50 cm in height, just before ryegrass withers and dies. Peak production occurs between June and September (Table 7.4). The daily output is about 100 kg/mu. The annual production of the two grasses can reach 15,000 kg/mu under proper management. There are three other methods of collection. First, gramineous grasses (ryegrass, sudan grass) and leguminous fodder grasses can be intercropped. Using this method the unit area output of the two families of fodder grasses will be increased and the quality will be improved. Second, an ensiling method can be adopted if there is a surplus of ryegrass or ryegrass can be pelleted with other materials to ensure a sufficient feed supply during the crop change in June. Third, sowing and transplanting can be conducted in stages and the grasses can be mowed in turn (Fig. 7.8).
In the Changjiang River drainage, sudan grass seeds are sowed by stages in April and can be mowed in mid-May. To maintain the fertility of the land, pond silt must be fully utilized and some additional organic fertilizers must be used. In addition, the grasses should be harvested such that a “stubble” remains in the field.
Table 7.4. Monthly production (kg/mu) of sudan grass and rye grass.
| Dec-Feb | Mar | Apr | May | June | July | Aug | Sept | Oct | Total | |
| Sudan grass | 250 | 2,350 | 4,000 | 3,000 | 1,400 | 400 | 11,400 | |||
| Rye grass | 1,800 | 1,250 | 1,800 | 2,000 | 650 | 7,500 | ||||
| Totala | 1,800 (9.5) | 1,250 (6.6) | 1,800 (9.5) | 2,250 (11.5) | 3,000 (15.9) | 4,000 (21.2) | 3,000 (15.9) | 1,400 (7.4) | 400 (2.1) | 18,900 (100.0) |
a Values in parentheses are percentages of the total grass production.

Fig. 7.8. Rotational operation of fodder crop plots.
Water surface to crop area ratio
The water surface to crop area ratio refers to the total area of cropland collocated with 1 mu of culture pond. The following factors must be taken into consideration: source and cost of feeds and fertilizers; quantity of land; yield and stocking ratio of the various fish and crop species. For a self-sufficient system, the necessary crop area can be calculated by one of the following methods.
Non rotational cultivation — If only one kind of fodder crop is cultivated, the crop area can be calculated using equation 7.1:
![]() | [7.1] |
Where S is the crop area (mu) collocated with 1 mu of fish pond Yi is the target net yield (kg/mu) of herbivorous fish and other grain feeders in polyculture pond, Fi is the food-conversion factor of the same feed for herbivorous fish and other grain feeder, P is the average output of the crop (kg/mu) and N is the number of consecutive crops (N >-1). If several food conversion factors are approximately the same or if there is only one food-conversion factor, equation 7.1 can be simplified:
![]() | [7.2] |
If several crops are planted at the same time, the crop area of each species can be calculated separately according to their different feed requirements and then added together. Another method involves using the most common feed as a standard to calculate the numerator of the equation, i.e., the feed demand:

The demand of other feeds is calculated according to equation 7.3:
![]() | [7.3] |
When m is the amount of the other feed (kg), which is equivalent to the deficient part of the standard feed needed, M is the unavailable standard feed, f is the food-conversion factor of the other feed, F is the food-conversion factor of the standard feed, and R is the ratio of the other feed of the standard feed.
After the requirement of each crop is calculated, it should be divided by the average annual yield of the crop per mu, i.e., the denominator of equation 7.1. The total and specific areas of crop fields can then be calculated. For example, if 50,000 kg of clover is required, 10 mu of fields must be cultivated: however, if only 6 mu of clover are planted, only 30,000 kg can be produced. The remaining demand for 20,000 kg of clover should be met by Chinese cabbage. The food-conversion factor of clover is 25; that of Chinese cabbage is 40. Each Chinese cabbage crop can produce 2000 kg/mu. According to equation 7.3, the shortage of clover (20,000 kg) is equivalent to 32,000 kg of Chinese cabbage. This demand can be met by planting five crops of Chinese cabbage on 3.2 mu. The total area of crops, therefore, is 9.2 mu. If the feed supply is not adequate for the system, the purchase requirement can be calculated using equation 7.3.
Rotational plantation — When two or more crops are planted in rotation in a year, only one crop should be used as the standard feed because it is difficult to calculate fish yield in the middle of the production period.

We can calculate the requirement for the whole year. The requirement for the standard feed in certain period of rotational cultivation can then be calculated using the following equation:

The area of a certain crop in a specific period of rotational cultivation can be calculated as follows:
![]() | ||
| or | ![]() | [7.4] |
For example, a fish farm wishes to produce 300 kg of grass carp (net yield) by planting grass to feed the fish. In the first half of the year, ryegrass is planted; in the second half, sudan grass is planted. Ryegrass yields 6,000 kg/mu; sudan grass, 10,000 kg/mu. The food-conversion factors are 20 and 30 respectively. The food intake in the first of the year accounts for 30 per cent of the total annual food intake. What is the crop area collocated with each mu of fish pond (water surface)?
Assuming ryegrass is the standard feed, the demand for the whole year is 6000 kg/mu. Therefore, 1800 kg is needed for the first half of the year. They should plant 0.3 mu of ryegrass. According to the equation 7.4, the demand for sudan grass is as follows:
M = 300 × (1 - 30 per cent) × 30 = 6300 kg
Therefore, 0.63 mu of sudan grass, should be planted.
Grains, melons, and yams can only be used 3 months after planting. Therefore, with a long period of cultivation, the requirements for grains, melons, and yams should be calculated separately and should be planted 6 to 12 months before fish rearing.
In the Changjiang River drainage, about 0.3 mu of ryegrass, including pond dykes and slopes, is collocated with 1 mu of fish pond. There is also about 0.6 mu sudan grass or Pennisetum alopecuroids X Pennisetum purpureum. If the water and manure are well managed, grass yields can reach 8000 kg. This amount of grass might be converted into 400 kg of fish (net yield), if over 300 kg are herbivorous and the rest are filter-feeding or omnivorous fish. If the crop area is expanded, surplus fodder can be silaged and used as feed for the second half of the year. Thus, the crop area could be somewhat reduced. The areas devoted to the two crops may be equal.
Fish stocking models — In many fish farms, the main or sole source of feed and fertilizer is the cultivated pasture grasses. The major species should be: silver carp and bighead (20–30 per cent) and assorted omnivorous fish (10 per cent). The omnivorous fish not only can utilize residues and detritus but also clean the fish pond for the herbivorous fish. To supply natural food organisms to silver carp and bighead after stocking, mow the grass and make a compost to fertilize the pond water, or stock silver carp and bighead 2 weeks after stocking grass carp. If the farm produces a lot of compost, the proportion of omnivorous fish may be increased a little.
The use of pond silt
Pond silt can be directly used as a base manure for fodder crops. The silt should be harrowed and smoothed after it dries; the seeds can then be sowed. There is no need to harrow with a transplant field. To save labour and time, the seedlings could be interpolated. If the silt is used as an additional manure, it should be dressed-top to the roots of the plant. In the summer, silt is applied to the fields with water. This method is beneficial to the release and diffusion of nutritional elements. It also improves the dissolved oxygen content of the bottom layer of water.
Pond silt and grass can be used to make a compost. There is usually a surplus of pond silt in the winter and a shortage of pond silt in the summer. Therefore, in the winter dig a pit 5 × 5 m with a depth of 1 m near the crop field and fill it with pondsilt and grass (straw manure and stable matted grass are preferable) and cover the pit with mud. After fermentation, the manure is more effective. The compost is usually used as a base manure, but is sometimes mixed with water and used as a top-dressing.
Pond silt is a safe manure. The amount applied is not necessarily limited, with an average rate of 5–15 t/mu or a thickness of up to 35 cm.
Economic efficiency
Fish-cum-crop integration increases the number of feed and fertilizer sources, the feed source is relatively stable, the cost could be reduced by one third, and the quality of feed and fertilizer is high. In addition, the energy consumed in transporting and purchasing feeds and fertilizers could be reduced.
Fish farming is seasonal work. The input of labour varies greatly. In the slack season, excess labour can be used for crop production. This provides more jobs and increases incomes.
A well-managed fish-cum-crop integration is a self-sufficient system. Pond silt is used to fertilize the fodder crops that, in turn, are used to feed the fish. As the fish grow, pond silt accumulates. This cycle fully utilizes the sunlight, land, pond silt, and fertile pond water and improves the ecological condition of the pond; it has been reported that planting grass on pond dykes reduces the soil erosion by 57 per cent.
Rotation of Fish and Grass
Because of the noncontinuity of fish farming production, most nursery ponds and grow-out ponds are left fallow for a period of time, e.g., a yearling rearing pond is left fallow from November to June of the next year. During this period, fish ponds can be used to plant green fodder or green manure crops, leading to the full utilization of the fish ponds.
Single-pond rotation
Fish and grass are “rotated” in the same pond. This method is usually adopted after transferring the fingerlings to other ponds.
Drain the pond, trim the pond dyke, smooth the bottom, dig a drainage ditch, and then sow ryegrass or barnyard grass seeds on the pond bottom and the slope. The seeds of ryegrass are broadcasted in November at a rate of about 2 kg/mu and barnyard and rice seeds are generally sowed in late April or early May in Jiangsu Province. To extend the growing period, germinated seeds could be sowed in the first 10 days of April at a rate of 5–6 kg/mu.
After sowing, birds and water depth must be controlled and different field management techniques must be adopted for different plants. Ryegrass is a dry crop and cannot endure waterlogging. Barnyard grass seedlings prefer to grow in water with a depth of 5–6 cm. During their growth period, both grasses can be used as green fodder. Ryegrass can be harvested four times, with a yield of 3000-5000 kg/mu; barnyard grass and rice can be mowed once with the yield of about 2000 kg/mu.
The last rationing plants should be submerged for fermentation as manure; The amount of grass should be controlled to 4–5 kg/m2, and water should be added to a level of about 2 m. These controls will ensure sufficient oxygen in the pond water. Summerlings are stocked 11–15 days later. After stocking, water quality must be closely monitored, adding fresh water accordingly.
Barnyard grass can be mowed and submerged in stages on the basis of their growth and then different summerlings can be stocked by groups.
Multipond rotation
With a set of fish ponds, a few can be used to grow grass or green manure crops. Because grow-out ponds have a short fallow period, a few ponds are drained and planted with grass as early as possible and stocked with fish later than the other ponds. This extends the growing period of the grass. The other ponds are stocked with fish first. This system continues on a rotational basis. One or two fish ponds, used to grow crops, can provide feed to the fish in the other ponds (Fig. 7.9).
Effects of fish and grass rotation
Fish and grass “rotation” fully utilizes the potential productivity of the fish ponds to provide both green fodder crops for fish and green manure crops to propogate the natural food organisms in the pond. At the Suzhou Municipal Fish Farm, phytoplankton reach a peak density of 3 × 108/1 and the growth of summerlings is 1.8–2.5 mm/day in the first month. If the annual yield of barnyard grass in a pond is 5000 kg, 40 kg of grass can be transformed into 1 kg of fingerlings. It can economize on 0.5–0.8 kg of commercial feeds and reduce 10 per cent of the cost.
| grass 1 | fish 2 | fish 3 | fish 4 | grass 1 | fish 2 | fish 3 | |
| ---------------------------------------→ | ----------------------------------→ | ||||||
| -------------------------------→ | |||||||
Fig. 7.9. Multi-pond rotation.
In this system, crops utilize the nutrients in the pond silt. After submergence, crop nutrients return back the pond, improving water quality and increasing soil fertility. In practice, fish yields do increase after the submergence of crops. For example, Suzhou Municipal Fish farm, which adopted this method had experimented in 1979, increased average annual yield ever since: from 150 to 391 kg/mu in 1982.
Fish-cum-Aquatic Plant Integration
In a network of rivers such as the lower reaches of the Changjiang River, a fish farm is often near lakes, rivers, waterlogged areas, or inlets and outlets of irrigation canals. These bodies of water are rich in nutrients, especially effluent from cities and fish farms. Fish farmers in southern China often culture aquatic plants in these water bodies. The principal aquatic plants cultured are the “three Ap's” i.e., water hyacinth (Eichhornia crassipes), water lettuce (Pistia stratistes), and water peanut or alligator weed (Alternanthera philexeroides). Secondary aquatic plants include duckweeds such as Spirodela polyrhiza, Wolffia arrhiza, and Lemna minor.
The output of aquatic macrophytes is highest with green fodder crops. The yield ranges from 15 to over 25 t/mu. In fact, aquatic macrophytes grow too fast, causing many problems in the tropics and subtropics. Aquatic macrophytes, however, have a high nutritive content (Table 7.5).
Water hyacinth is known as the “king of aquatic plants”. Per unit area, it produces 6–10 times more protein than soybean. Aquatic macrophytes are easy to manage with less labour and lower costs. One person can manage about 50 mu of three aquatic plants and can produce 13.1 crude protein in 6 months. The cost of 1 t of three aquatic plants (including wages) is only about 1 Yuan.
Table 7.5. Nutritive contents of “three aquatic plants”
| Dry matter (%) | Crude protein (%) | Crude fat (%) | Non-N extract (%) | Crude fibre (%) | Ash (%) | Ca (%) | P (%) | Yield (ton/mu) | |
| Alligator weed | 9.2 | 2.18 | 0.18 | 2.49 | 1.19 | 1.25 | 0.23 | 0.03 | 15–25 |
| Water lettuce | 4.6 | 1.07 | 0.26 | 1.63 | 1.10 | 1.30 | - | 10–20 | |
| Water hyacinth | 7.3 | 1.90 | 0.25 | 2.21 | 1.11 | 1.33 | 0.11 | 0.03 | 10–26 |
To produce feeds in a variety of sizes for the various species of fish, the three Ap's are processed in different ways. To nurture fry, three Ap's should be mashed into a paste. After filtering out the residue of the leaves, the paste is sprinkled over the whole nursery pond. Table salt, 2–5 per cent of the weight of the plant should be added to the water-peanut paste to counteract the toxic effects of saponin. The equivalent ratio of the three Ap's to soybean in fish farming is 17.5:1 to 25:1; 5 kg soybean will nurture 10,000 summerlings, as will 87.5–125 kg three Ap's. However, soybean costs 13–18 times that of three Ap's. In addition, when supplied with three Ap's, fry grow faster and with higher survivability than with soybean. For example, the Zhang Aquaculture Brigade, Wuxian County, stocked 80,000 fry in 1977, after 16 days of nurturing, the transfer size was 3.33 cm with a 94.6 per cent survivability from the pond supplied with water-peanut paste; in the pond supplied with soybean milk, however, the transfer size was 2.93 cm with a 92.8 per cent surviability.
The three Ap's are especially good to rear fingerlings of silver carp and bighead. The plants should be mashed into a paste, but the residue could not be removed. The rear adult fish, with herbivorous fish as the major species, three Ap's are often pulverized with a green fodder crops pulverize and fed to the fish.
Experiments show that about 45 kg of three Ap's can be converted into 1 kg of fish. The macrophytes per mu can be converted into more than 400 kg of fish. If rice and wheat brans are used as feeds, 1600 kg of brans is needed to produce the same amount of fish. The cost of three Ap's is about 10 per cent that if brans, but three Ap's are less effective if they are not processed. Moreover, since the contents of N, P, and K in three Ap's are high, grass paste could also serve as manure in fish ponds.
The three Ap's are also palatable to various animals in integrated fish farms. For this purpose, they need little or no processing. The rate of utilization, therefore, is high: with a small amount of wheat and rice brans, 900–1000 kg of three Ap's can rear one piglet to an adult with a body weight of 60–70 kg. The excreta of one pig can be converted into more than 40 kg of fish per year. In Helei Fish farm, water hyacinth is fed to ducks at a daily rate of 150 g/duck with a little wheat and rice brans. Feeding 22,000 ducks, this method can save 10,000 Yuan over 6 months. The excreta of one duck (about 52 kg) can be converted into 3 kg of fish per year.
Dyke Pond System
On some farms, the broad dyke crown around a fish pond is devoted to economic crops (mulberry, sugarcane, fruit trees, etc.) or to intercropping grains and grasses; mulberry plot-fish pond is the most common combination. According to historical records, mulberry cultivation and fish farming can be traced back to the 5th century B.C.; however, a well-linked dyke-pond system did not exist until the 16th century. Most dyke-pond systems are in the Pearl River delta and the Taihu Lake basin.
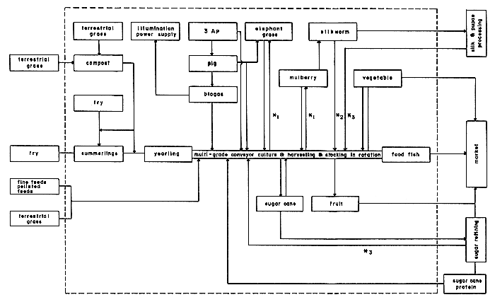
This system includes mulberry cultivation, sericulture, silk extraction, and fish farming using silkworm feces, silkworm pupae, and waste water. Mulberry is the producer, silkworm is the first consumer and fish are the second consumers, ingesting the silkworm feces directly (Fig. 7.10; 7.11.). In the fish ponds, there are four energy-flow patterns:
Silkworm feces are directly consumed by the fish and part of the detritus is filtered by the filter-feeding fish.
Inorganic nutrients in the silkworm feces are utilized by phytoplankton and heterotrophic bacteria and these phytoplankton and bacteria are, in turn, consumed by filter-feeding fish, either directly or indirectly.
Leftover feeds and fish feces are decomposed by hydromicrobes, releasing inorganic nutrients; and then, the same process occurs as in paragraph above.
At the same time, pond silt which is composed of all kinds of sediments returns to the pond dyke and the new material cycle begins.
Pond silt
Pond silt is the main source of manure for crops on the pond dyke. Silt from 1 mu of pond can fertilize 1–2 mu of pond dyke. In the winter, pond mud (more silt than water) is removed from the fish ponds after draining and applied between mulberry bush lines on the pond dyke or bailed (with a little water) onto the ponds dykes and spread evenly after drying. Winter crops are then planted between mulberry bush lines. In the summer and the autumn, liquid silt, known as “nihua” (less silt than water) is bailed onto the pond dyke after mulberry leaves have been picked once or twice. This is performed 2 or 3 times in the Pearl River delta and 5 or 6 times in the Taihu Lake basin every year. Soil is increased in fertility and, when the base thickness of the soil plants increases by 5–6 cm, subsequent crops also benefit.

Fig. 7.10. Network of Dyke-Pond System in Pearl River Delta.
Note: *1 Silt; *2 Silkworm dregs; *3 by products and the wastes from sugar refining and silk extracting; dash line means out of the unit

Fig. 7.11. Network of Dyke-Pond System in Taihu Lake Basin.
Note: *1 silt; *2 silkworm dregs; *3 pupae and waste water from pupae; *4 rapeseed cake; *5 soyabean milk; dash line means out of the unit
Feeds
Mulberry plots supply fish feed directly or indirectly. Pasture grass, vegetables, and mulberry leaves, can be grown, harvested, and applied directly to the pond. Grasses and vegetables, which are planted after mulberry leaves are harvested in the autumn, can be harvested at a rate of 3000 kg/mu. This converts into about 100 kg/mu of herbivorous fish and 40 kg/mu of other fish.
To provide feeds indirectly, silkworm wastes, which are a mixture of silkworm feces, worm sloughs, and mulberry leaf residues, can serve as both fertilizers and feeds. They are rich in nutrients (organic material, 87 per cent; N, 2.2–3.5 per cent; P2O5, 2.0–2.5 per cent; K2O2, 1.5–2 per cent; several trace elements), having a higher nutritive content any livestock or poultry manure. Mulberry plots can annually produce 2400-2500 kg/mu of mulberry leaves. When fed to silkworms, 100 kg of mulberry leaves can produce 30–50 kg of silkworm waste. Therefore, a 1-mu mulberry plot produces an average of 980 kg/year of silk worm waste. The food-conversion factor of silkworm wastes in fish ponds is 8; therefore, 980 kg of silkworm waste (l-mu plot) can be converted into around 125 kg of fish.
Pupae, which are by-products of the silk extraction of cocoons, are an appropriate feed for herbivorous fish and grain feeders. Pupae are 55.8 per cent protein and 29.1 crude fat. Their food-conversion factor is 1.5–2.0. In the Pearl River delta, a mulberry field annually produces 160–175 kg/mu of pupae. Of this, about 130 kg/mu can be obtained and used as fish feed. This amount of pupae can be converted into 90 kg of grain feeding, herbivorous, filter-feeding, and omnivorous fish. Wastewater, which is obtained when cocoons are steamed and processed at the factory, contains large amounts of protein detritus and soluble protein. According to practice, 200 kg of wastewater can be converted into 1 kg of fish. Around 2500 kg of waste water can be obtained from the processing of cocoons gained from sericulture on a l-mu mulberry plot. Therefore, 12.5 kg of fish can be produced with the wastewater obtained from a l-mu plot.