Previous Page Table of Contents Next Page


Energy for development


The distillation of wood
The promise of gasifiers
Electricity from wood

The importance of charcoal One relatively simple way for a country to use its forest resources for development is to promote its charcoal production for domestic ends or for industrial use. An FAO study in Cameroon has shown that, simply by improving the efficiency of charcoal production and introducing improved stoves, about 1.9 million m3 of fuelwood a year could be freed for other purposes. The use of kerosene in towns and cities could thus be reduced and life in rural households made much easier. Furthermore, the move would free some of the imported fossil fuel for other uses, such as chemical feedstock.

There are good arguments for promoting a charcoal industry wherever wood fuel has to be transported long distances. Such an industry also provides a number of social and economic benefits. It will:

· create employment
· distribute money from the urban to the rural sector
· save foreign exchange
· earn foreign exchange if the charcoal is exported
· provide a chemical and fuel base for industry
· increase forest profitability
· provide a smokeless fuel for cities

Charcoal production can be particularly profitable in forests where valuable hardwoods are grown. Here the more valuable trees will benefit if the less valuable species are regularly thinned out. This is a time-consuming task which is often not cost-effective. But if the thinnings are turned into charcoal, the forestry cost is nil, and wood which would otherwise have been wasted is turned into fuel. At the same time jobs are created.

The existence of a charcoal industry can provide both small and large industries with an alternative to fossil fuels. Charcoal is, in fact, the preferred fuel for some small-scale rural industries. Mixed with limestone it can be fired to produce quicklime. It can also be used as a pulverized fuel to produce cement - about 1 tonne of charcoal is needed to produce 4 tonnes of Portland cement.

Its reducing properties are also useful in metal extraction where it is held to be as good as, if not better than, coke. Charcoal-iron industries exist in Brazil, Argentina, Malaysia, Australia and India. The Brazilian steel-making firm Acesita uses about 480 000 tonnes of charcoal a year for steel smelting, 250 000 tonnes of it supplied from eucalyptus plantations grown for the purpose. Charcoal also has many uses as a chemical raw material, rather than a fuel, in water purification and sewage works, and in the manufacture of materials such as gunpowder, pigments, rubber and some animal feeds.

Finally, an FAO study has shown that a number of countries could export charcoal to neighbouring countries, with beneficial results for both, providing certain economic problems can be overcome and excessive import taxes are not charged.

The distillation of wood

Charcoal is a useful by-product of wood obtained by the process of carbonization. Other valuable products can be obtained by treating wood in different ways. Destructive distillation (also known as pyrolysis or wood distillation) is similar to carbonization except that the wood is heated in a closed container and the gases and liquids given off are collected. Some of the gases can then be condensed to provide a range of useful chemicals; those that do not condense can be used as a gaseous fuel for the distillation process itself, or for some other use.

One tonne of dry wood treated in this way produces 300 kg of charcoal, 140 m3 of combustible gas, 14 litres of methyl alcohol, 53 litres of acetic acid, 8 litres of esters, 3 litres of acetone, 76 litres of wood oil and light tar, 12 litres of creosote oil and 30 kg of pitch. Many of these products can be used directly and others can provide chemical feedstocks for other industries.

Wood distillation is really another way of making charcoal. The equipment needed is more complicated than that for conventional charcoal production but the process is also more energy-efficient. Making charcoal in a retort and condensing the effluent gases can substantially increase the amount of energy recovered. Countries which made their charcoal in this way would have much to gain simply from the extra energy obtained. In addition, they can use the by-products in simple but effective ways; for example, in Ghana and Costa Rica the gases produced are used to dry fuelwood used in heating systems and the liquids employed as an effective wood preserver.

The potential energy savings of this technique have been studied in detail for Ghana - a country which produces about 100 000 tonnes of charcoal a year. This is equivalent to some 420 000 barrels of fuel oil. The yield is 15 per cent and so about 700 000 tonnes of dry biomass are needed. With new pyrolysis equipment, some 500 000 tonnes of charcoal, oils and gases could be recovered, representing 70-80 per cent of the energy content of the original biomass, and worth the energy equivalent of more than 2 million barrels of oil. The difference of more than 1.5 million barrels of oil is worth about $45 million in foreign exchange at today's prices and is equal to nearly a quarter of Ghana's total energy consumption.

The new fuelwood technologies have considerable potential. FAO is promoting their use, for example, by publishing technical manuals on both simple and industrial methods of making charcoal. It is also helping a number of developing countries by organizing training courses, workshops and seminars on charcoal production. In addition, it is helping countries evaluate the possibilities of using fuelwood as a substitute for the industrial use of fossil fuels, as in the "Wood for Energy" programme in Honduras. There studies are being made of the technical and economic possibilities of using fuelwood in the cement, lime and brick-making industries; and in generating steam for use in the food processing and forest products industries.

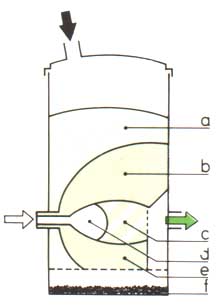
Of the three main types of gasifier, the updraught model (A) is usually used to provide gas for direct heating and the downdraught model (B) for shaft power. The crossdraught model (C) is now produced commercially in Brazil and is used for running engines of up to 50 kW power A updraught (a)

a biomass
b gas
c drying
d pyrolysis
e reduction
f combustion
g grate
h air

Of the three main types of gasifier, the updraught model (A) is usually used to provide gas for direct heating and the downdraught model (B) for shaft power. The crossdraught model (C) is now produced commercially in Brazil and is used for running engines of up to 50 kW power B downdraught (B)

Of the three main types of gasifier, the updraught model (A) is usually used to provide gas for direct heating and the downdraught model (B) for shaft power. The crossdraught model (C) is now produced commercially in Brazil and is used for running engines of up to 50 kW power C crossdraught (c)

a moisture drawn off
b tars and other volatiles driven off
c C+2H2® CH4
C+H2O® CO+H2
C+CO2® 2CO
d C+O2® CO2
e burning char
f ash

The promise of gasifiers

Pyrolysis should not be confused with the process of gasification in which wood, charcoal or other organic materials are burnt in a restricted air supply, giving off a combustible gas in the process. This gas, called producer gas, can be used for a variety of purposes; it is an ideal fuel for either petrol or diesel engines and hence can be used in transport, to run stationary motors and to produce electricity.

Many industrial uses of wood have a long history and are now being rediscovered by developing countries unable to afford huge bills for importing fossil fuels when their exports are declining, Gasification is one of these technologies. It was last used on a wide scale in Europe during World War II when it kept 700 000 vehicles running at a time when other fuels were virtually unobtainable. In 1941 the Swedish state railway company was operating more than 100 trains on producer gas.

Today gasifiers are being produced in the Philippines where 44 per cent of export earnings are spent on fuel imports - for only $50 per kilowatt (kW). In its first year of production the Filipino firm of GEMCOR sold 850 small gasifiers: 450 rated at 12 kW to power the small inshore fishing boats called bancas; another 200 rated at 45 kW to power irrigation pumps; and the rest to run light commercial vehicles. GEMCOR was expected to sell 4 000 units in 1983 and the Filipino demand for gasifiers is estimated at 419 000 over the next five years achieving an energy saving worth more than $ 1 000 million on oil imports.

In Brazil, some 60 companies are involved in gasifier technology Gasifiers are being used to run vehicles, power furnaces and kilns, and to produce lime (an industry in which it is claimed that gasifiers can reduce wood consumption from 2.5 to 0.8 tonnes of wood per tonne of lime produced). In Brazil only charcoal is used as a fuel for gasifiers because this reduces the cost of the equipment - gasifiers using other fuels must be capable of getting rid of large quantities of sticky tar. Maize husks, wood waste in the form of chips or blocks and coconut shells can all be used to fire gasifiers. Research is still needed on more difficult fuels such as sawdust and rice husk briquettes.

In Paraguay, second hand engines have been modified to run off producer gas. Since 1981, the Sapire sawmill - and the houses of nearby labourers - have been supplied by electricity generated in this way. This has saved substantial quantities of diesel fuel, which previously had to be purchased in the nearest town 100 km away. FAO has also designed an integrated energy system for Sri Lanka. The idea behind this project is to demonstrate the feasibility of using wood gasification to generate electricity in rural communities. Finland is supporting this Trust Fund project.

In many parts of Thailand the wood waste from the sawmilling industry is not put to constructive use. However, recent FAO reports suggest that it would be economic to feed gasifiers with woodchips and use the gas to produce electricity. Experiments at the Sri Maharaja Sawmill in Cholburi Province claim that 54 kg of chips can produce 14 kWh of electricity. Small units on nearby farms might be used to increase productivity - experiments in the Philippines suggest that gasifiers can be profitably used in crop drying and rice milling. Gasifiers fed on coconut husks and shells are already supplying electric power on the Pacific Islands of Zahiti and Kiribati and are being built in Western Samoa for copra drying.

A similar technique which FAO is promoting in Costa Rica is the development of a small convertor to produce charcoal from sawdust, and at the same time produce energy in the form of heat, electricity or shaft power via a steam engine. The fine particles of charcoal which result from the process are valuable in the production of cement and lime, and as reducers in the metallurgical industries, and can be used to save considerable quantities of fossil fuels.

A related but simpler technology, which may once again be of considerable economic interest, is that of the traditional boiler and steam engine. With the new technologies and materials which are available today, cheap and efficient machines can now be coupled to a boiler run on such fuels as sawdust, rice husks and straw. These fuels can be burnt in their natural state, without expensive preparation. Boilers of this type can now burn several different fuels simultaneously, even mixtures of solids, liquids and gases.

All the techniques mentioned so far involve some knowledge of chemical and mechanical engineering. The only way of producing fuels which are similar to oil products from trees directly is to find a species which exudes a latex with the right technical properties. Several are currently being investigated, most of them members of the euphorbia family. Calculations have suggested a plant processing 1000 tonnes of Euphorbia lathyris a day, from a 13000 ha plantation, could yield 80 tonnes of oil a day at a cost of $40-60 a barrel. Other calculations have suggested that euphorbia oil could be produced for as little as $20 a barrel.

Modern gasifiers in action: (1) in the lime production industry in Brazil

Modern gasifiers in action: (2) in a Filipino fishing boat

Modern gasifiers in action: (3) powering a concrete mixer in the Philippines

Modern gasifiers in action: (4) powering a tractor in Brazil

There are other possibilities. Sunflower oil, for example, is already used as an additive to diesel fuel in some countries. The Brazilian plant Copaiba multijuga produces oil in its leaves and a borehole in its trunk can provide a yield of 20 30 litres in 2-3 hours. Diesel engines have been run off oil taken directly from this tree.

However, more research is needed before any of these naturally-producing trees can be expected to yield a commercial fuel. One exciting possibility for the future is that genetic manipulation might be used to tailor a tree to produce a fuel with such good specifications that it might not need further refining.

Electricity from wood

The wood-processing industry has, naturally enough, nearly always used wood fuel to power some of its activities. However, the paper industry is particularly energy-intensive and has come to rely heavily on oil. An FAO study carried out by a Finnish firm has concluded that, in the developing countries, wood can provide energy for mills producing paper and newsprint more cheaply than oil, whether the wood is used to produce process heat in the form of steam, or power in the form of electricity.

Similar conclusions have been reached for mills producing sawn lumber and wood panels. Although wood-fired plants are more costly to build than oil-fired ones, they are much cheaper to run. The extra investment required, according to the FAO report, is paid back in 3 to 4.5 years as a result of fuel savings. Sawn wood, according to this calculation, would cost $11/m3 with fuel oil as the energy source but only $6 7/m3 using wood fuel. Similar savings are possible when producing plywood.

There are now also real possibilities of using timber to generate electricity economically outside the area of forest industries. One place where this technology is being tested is in the Pacific islands, where imported fuel is very expensive and many of the trees in coconut plantations are nearing the end of their useful life.

Replanting is needed but burying or burning the old trees is expensive. However, a recent FAO study suggests instead that the old trees be turned into electricity - and indeed that large coconut plantations could provide a steady stream of fuel for power stations. If the cost of felling, splitting and removing the timber is regarded as a charge against replantation, the result can be very cheap electricity.

Sawmills are ideal for conversion to wood power. An FAO report suggests that sawn wood can be produced for $11/m3 using fuel oil as the energy source but for only $6-7/m3 using wood fuel

The report analyses three sizes of plant - a 20 kW generator to be run 8 hours a day to supply a Fijian village with power, a 100 kW set to supply a coconut research station on the island of Santos in Vanuatu and a 1000 kW installation for an urban centre on Efate Island in Vanuatu. A power station of 1000 kW could be run for one week either on 41270 litres of diesel or on the wood from about 5.5 ha of senile coconut plantations. The island has 7000 ha of coconuts and production could be sustained if 250-300 ha were replanted every year. This would provide sufficient timber to run the power station continuously. The report concludes that the electricity would be considerably cheaper than if diesel were used; similar plants could be built in Tonga or Papua New Guinea, for example.

Wood-fired power stations - otherwise known as dendrothermal plants - have already been built elsewhere, in areas not blessed with an abundance of old coconut trees. In India the State of Gujarat operates one such plant, fuelled from specially grown plantations. In the Philippines, extensive plans are being made for dendrothermal plants which will be fuelled with ipil-ipil (Leucaena leucocephala) grown in nearby plantations. The first unit of 3 megawatts is being built at Pangasinan, Cape Bolinas, on the island of Luzon. It will be followed by others. By 1990 there is expected to be as much as 200 MW of wood-fired generating capacity in the Philippines.

Such activities are not confined to developing countries. Ireland, for example, has a long history of generating electricity by burning peat. Many of its peat fields, however, are now depleted. Ireland plans to replant the exhausted areas with trees, and use the wood produced to fire power stations on a continuous basis. Several other developed countries are also investigating the possibilities of dendrothermal plants.


Previous Page Top of Page Next Page