Chapter 15. Pays de Caux: a temperate, field-crop region in north-western France
PROTECTING THE DRAINAGE SYSTEM AND IMPROVING INFILTRATION
Françoise Ouvry, Agricultural Engineer, Association Régionale pour l'Etude et l'Amélioration des Sols, St Valéry en Caux, France
The situation
Local conditions
Hazards: the erosion process and its negative effects
Solutions and measures adopted
Runoff, soil erosion and flooding have become more frequent and more serious in the Pays de Caux region in the past 20 years (Auzet 1990; Papy and Boiffin 1988) - as they have in a large part of north-western France.
A very real desire for soil and water conservation has been growing for some years now. At first action was confined to combating catastrophic floods, but in recent years, local authorities in the Seine Maritime department have spent US$ 4 million on check dams. Efforts are now being made to implement comprehensive, long-term programmes for whole watersheds (regional operation set up in 1985 with the Board of Agriculture).
These programmes have two components:
an agricultural component, to reduce soil erosion and runoff on slopes by increasing the roughness and infiltration capacity of the soil surface, with interventions by the individual farmer;
a water-management component, for collective schemes to control the inevitable flows, and hence curb erosion and flooding in the valleys.
In the agricultural sphere, various techniques perfectly integrated with existing production systems have been developed in successive stages:
precise definition of the type of erosion, and the factors on which intervention is possible (Boiffin, Papy and Eimberck 1988);
investigation of the actual amounts involved in erosion phenomena (internal SRAE reports 1989, 1990, 1991) (Daix 1991, Ouvry 1992);
analysis of production systems and points where manoeuvre is possible (in financial and technical terms) and the time available on farms (Papy and Boiffin 1988, Puojade 1989);
research into and propagation of agricultural solutions that are suited to the specific production systems, in order to increase accumulation and infiltration while preserving the potential and profitability of plots as well as facility of tillage;
solutions are at first implemented individually so that each farmer can see that there is room for manoeuvre for him, and so that the rural community can then take collective control of the whole agricultural catchment area.
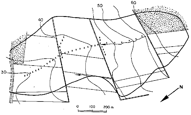
FIGURE 84 The dynamics of the erosion process in Haute-Normandie (cf. Boiffin, Papy and Peyre 1986)

The Pays de Caux area lies along the coast in the Seine-Maritime department. It is a chalky undulated upland area, with gentle slopes (1 to 5% on tilled land) throughout. It has no drainage system because of the underlying karst, and also because of a very tight network of dry valleys. Intensive multicropping is practiced in these uplands.
The soil cover is fairly homogeneous. Brown, slightly leached soils have formed on the windblown Holocene that covers the uplands. The amount of clay in the tilled horizon varies between 10 and 15%, and the organic matter in the tilled silt is close on 1.6%.
The climate is oceanic in type with gentle rainfall averaging 900 mm annually, spread evenly throughout the year. The heaviest day's rainfall in a 10-year period is only 48 mm.
Hazards: the erosion process and its negative effects
The erosion process is typical of that from concentrated runoff as described by Ouvry (1982,), Boiffin, Papy and Eimberck (1988), Boiffin, Papy and Peyre (1986) and Auzet (1990). Erosion phenomena are linear and generally confined to the thalweg axis, although they can also appear on the headlands (ends of fields) or on any lines of concentration between plots. Occasionally, erosion takes the form of shoestrings or parallel rills on slopes steeper than 4%. Damage often occurs in winter even though rainfall intensity is under 5 mm/in, and sometimes during summer storms. Soil losses are always confined to the thalweg, but vary greatly, ranging between 0 and 500 m³/km² per year (Ouvry 1992).
On the basis of erosion type, Boiffin, Paw and Peyre (1986) divide the catchment area into two distinct zones (Figure 84):
the sides and head of the catchment area, which produce runoff;
the thalweg and other lines of concentration where the flow cuts into the soil.
The runoff in this region of very gentle rainfall depends mainly on factors related to the state of the soil surface, notably its roughness, and the speed of formation and extent of slaking crusts.
In winter, after the last tillage, 30 to 40 cumulative centimetres of rainfall of any intensity are enough to form the first thin slaked surfaces and sedimentation crusts. The roughness of the seedbeds allows a maximum surface retention of 3 to 6 mm and a minimum of 1 mm to zero, depending on the type of crop, the preceding crop, soil moisture when tilled, the type of implements used to prepare the seedbed, the number of farm machinery passes, and the type of tractor equipment (Boiffin, Papy and Eimberck 1988).
Solutions and measures adopted
There are two consequences of the process of concentrated erosion:
different solutions must be found and advised for slopes and thalwegs (unlike the case of regions where rainsplash is the most telling factor), and farmers must learn to treat these distinct sectors of a single plot in different ways;
farmers' motivation varies, depending on whether their plots are located upstream in the watershed or in a small valley where erosion is more of a threat.
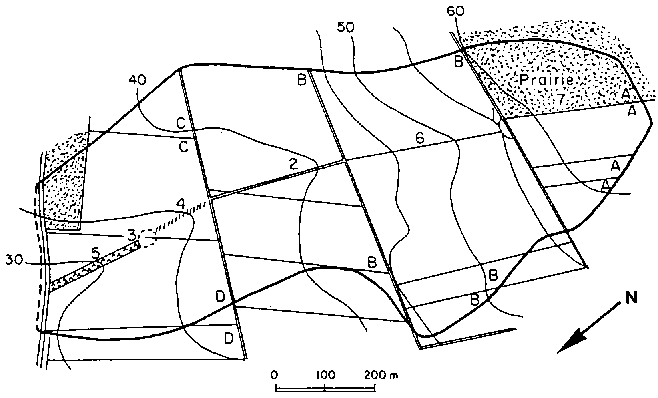
The example of a watershed at Bourg-Dun given in Figure 85 covers 60 hectares, five of which were still under grassland in 1991. Consolidation dates from 1957, when the boundaries were fixed, with parallel plots lying in the direction of the slope. The production systems on the four farms consist of intensive multicropping.
FIGURE 85 Detailed survey and erosion dynamics of a catchment area in Bourg-Dun, France

LINEAR EROSION
Erosion recorded during the winter of 1988-89 (Ludwig)
Maximum erosion recorded at different dates between 1985 and 1988
CROPS IN ROTATION ON PLOTS: winter wheat, sugar beet, pea, potato, vegetables, maize for silage
Starting in 1978, erosion began to appear regularly on different sectors along the thalweg line, as Figure 84 shows. Ludwig, Boiffin and Masclet (1992) estimated the volume of the rills to be 100.8 m³ during the winter of 1988-89.
By 1986, some of the farmers wanted to control soil erosion. When the rills and gullies started preventing them from moving harvesting equipment as they wished, the problem was serious enough to spur them into action. Loss of time for all the tillage work and loss of area in terms of non-harvestable zones and others where weeds could not be controlled were much more important issues for the farmers than the actual grooves caused by erosion - and in any case the area lost by cutting along the thalweg is very minor (between 0.1 % and 1 % of the land under cultivation).
MEASURES TAKEN
As a first phase, a relationship of mutual trust was established with these farmers, based on a thorough knowledge of agricultural constraints, farming systems and farm finances.
In a second phase, the farmers tested very simple agricultural solutions on their own plots solutions that cost nothing and were usually based on observation and commonsense, so that they gradually realized that runoff and erosion are not inevitable, but can be curbed. The most delicate operation is that of distinguishing the different zones within a plot, and then selecting the right solutions for each. After this, collective action is needed to control and manage water over the entire watershed.
FARMING PRACTICES
All the solutions aim primarily at roughening the soil surface and ensuring good macroporosity, and secondly at slowing the formation of slaking crusts, then breaking them (Ouvry 1987).
For example, all wheel-marks must be eliminated, since they can cover between 5 and 33 % of the soil surface for beet and maize, depending on the type and make of seed-drill and secondary implements (such as wheel-mark obliterators). For crops, the condition of the surface is determined at planting-time. A cloddy seedbed is prepared without crushing or rolling the soil surface, depending on the previous crop, residues and soil moisture. Highly articulated implements are not recommended: better a cultivator with rigid or vibrating tines which can prepare the soil in one operation, or sometimes two (Ouvry 1989).
For widely-spaced crops, it is recommended that fine tillage be confined to the seeding strip, i.e., one-third of the area, leaving the space between rows very cloddy. Use of a mechanical weeder or hoeing between the rows so as to break the slaking crust is also recommended for these crops. The choice of tine, either a blade-like jointer (not recommended) or a hoe-type shape (recommended) is very important, in view of its effect on the risk of summer erosion.
There is more room for manoeuvre over intercropping. Without going into detail, the solutions depend on the following points:
the surface should be cloddy and rough for maximum surface retention by the last tillage;
tillage should be perpendicular or diagonal to the slope; it may even be partial if there are strong climatic or time constraints;
a mulch of crushed straw should be used;
a green manure (or intermediate crop) can also be planted, so long as it is dense enough and grows quickly enough to protect the soil fast and maintain an infiltration rate of 10 mm/h; there must also be good control over its effects on subsequent crops.
DRAINAGE
The aim is to install runoff harvesting structures, alternating with storage structures, in order to control flow (Boiffin, Papy and Eimberck 1988, Ouvry 1987, 1992). In this watershed the farmers have gradually set up the various components of such a system, as shown in Figure 86 (Ouvry 1987).
FIGURE 86 Reorganized drainage of the Bourg-Dun catchment area

HYDRAULIC ASPECTS OF THE ACTION TAKEN
4 farmers concerned A - B - C - D
1 - Pond 1987
2 - Drainage ditch 1988
3 - Pond 1990 abandoned due to sedimentation caused by erosion on sector 4 in 1990 and 1991
4 - Strip recompacted 1992
5 - Strip grassed 1992
6 - Boundary of the plot 1992
7 - Rangeland turned over in 1991
Some erosion control structures are permanent, while some, such as compacted strips, are temporary and have to be redone after each tillage. The strips have the attraction of being very simple, but are suited to very specific conditions, being limited, for example, to mild rainfall. However, they demonstrate three points to the farmers:
something can be done;
the two operational sectors must be treated differently;
if this is not sufficient, a more radical solution will have to be devised, using ditches to divide the plot, or grass strips.
DIFFICULTIES ENCOUNTERED
All this work required considerable time. Furthermore, one of the farmers was not motivated, since his plots were located uphill and suffered no damage. This means that if measures to limit runoff are to be applied throughout a given area, they have to be an integral part of the agricultural advice given by all the experts and field staff.
If the expert advice is not followed, there may be various reasons:
lack of time;
humid climate;
lack of suitable equipment;
cost of green manure;
side effects of green manure.
The search for solutions must therefore take account of these limitations.
COST
The cost of all these control measures comes under two headings:
the average annual cost of one person totally engaged in regional mobilization for erosion control would amount to US$ 90000;
the cost of the solutions: the solutions sought always have the lowest cost possible, generally nil, apart from time; full advantage is taken of existing farm machinery and structures.
The only direct cost is that of green manure, which varies between US$ 20 and 60/ha.
The cost of drainage solutions varies widely:
compacted strip = 0;
ploughed furrow on the edge of the plot along the thalweg axis = 0;
grass strip: grassing = US$ 0.6/m² (seed), and terracing under contract = US$ 6/m²;
ditch (section # 1 m²) = US$ 7/m²;
pond 100 to 500 m³ = US$ 8/m³.
All the larger dams come under the responsibility of the local communities in association with the farmers:
a flood meadow (pasture located at the bottom of the valley and barred by a compacted bank at least 1 m high), which could hold 1000 to 10000 m³, would cost between US$ 6 and 12 per m² stored;
a classic basin dam costing between US$ 20 and 40/m³, or a cost per hectare of the catchment area of between US$ 300 and 3000.
CONCLUSIONS In view of the importance of the condition of the surface of cultivated plots in determining runoff and erosion risks, the farmers' rôle is clearly critical. This surface condition depends on how the soil is used, the cropping system, tillage, and the choice of implements. Preventive and remedial treatment of these phenomena will therefore be carried out with the farmers or not at all. This long-term undertaking will be done by agricultural experts, working to show farmers how to integrate erosion and runoff control measures into their overall approach. Moreover, preventive measures, dictated by the type of erosion, must be implemented simultaneously. This entails planning and establishing a drainage system at the time of consolidation of holdings, a step now being carried out jointly by the farmers and the members of the communal consolidation commissions. Plots may also be aligned diagonally to the slope to take full advantage of any possible spreading, for saving 1 or 2 mm of runoff through surface roughness represents 30 to 50% of the total flow. As a last resort, when runoff cannot be totally avoided, dams will have to be built to protect the village, in addition to the agricultural and drainage measures implemented at various points in the watershed. Such structures are certainly of interest to all parties: soil erosion will be restricted on the farm; siltation of dams will be reduced; pollution will be reduced in regularly scoured catchments and rivers; and floods will also be less serious and less frequent in the rural towns. Measures
such as these, which will bear fruit in the long term,
must be carried out within the framework of a
comprehensive rural development policy decided by elected
provincial and regional representatives. |