1. The final product: A tool for decision-making
1. The final product: A tool for decision-making
The final product of the mapping and measurement process presented in these Guidelines is composed of:
a) maps presenting the erosion status and erosion processes;
b) measurement results;
c) interpretation of these maps and results; and
d) management proposals for professionals and decision-makers.
In addition, reports on mapping phase, measurement phase, interpretation and proposals will be presented either separately or within a final report including a summary report for decision-makers.
The following points illustrate the approach to the presentation of final documents:
1.1 Presentation of results in a management-oriented manner
The report should contain a summary written in a way that is understandable and useful for decision-makers.
a) The benefits obtained with the mapping and measurement programme should be presented. This will include the list of the new information obtained in it (basic interpretation of mapping results, rainfall, runoff, runoff coefficients, peak discharges, dissolved loads, suspended loads, erosion rates). A comparison with the spatial and temporal resolution of the data obtained through customary schedules by water or soil Authorities should also be discussed.
b) The environmental significance of the information obtained should be presented, combining the information existing before the mapping results and the results of the measuring programme with the more quantitative information obtained during it. The integration with the information obtained during the mapping programme is highly desirable. The fact that this information is the most realistic possible (neither catastrophic nor optimistic) should be highlighted. Although the design of erosion control works or land management strategies is not a direct purpose of the mapping and measurement project, the need for these policies as well as some general recommendations for their implementation should be presented.
c) A generalisation of the provided information should be made. This should include an estimation of the environmental significance of areas with similar problems in other parts of the country, as well as the comparison with other areas where erosion rates are known. A comparison of the quality of data provided by the Programme with other data should also be made. The information on sediment transport rates and processes is to be used together with the mapping information to identify and assess the sediment sources within the catchments. Land management strategies for erosion control must be directed to sediment sources and pathways to improve the effectiveness/cost ratio.
d) Finally, some recommendations on the future application of the results of the mapping and measurement programme should be made. These could include aspects like changing the scale of the study either to more detailed scales (plot studies) or to wider ones (bigger catchments); checking the quality of other data on erosion rates; implementing similar programmes in other areas with erosion problems; or using the instrumented catchments to check the effectiveness of erosion control works or land management strategies.
From the point of view of the management aspects, the implementation of the erosion mapping and measurement programme as has been described implies the existence of several prerequisites that include:
A co-ordinated and integrated management effort comprising various Government/authorities levels: the responsible and interested national ministries, as well as lower-level and local authorities. Relevant sectorial decisions have to be prepared, discussed and approved, securing harmonisation with other sectorial activities, adequate and timely information, financial and other logistical elements defined, and implementing agency/institution nominated;
The implementing agency to be nominate: the necessary professional and organisational level achieved, equipment provided, training performed (if necessary);
The erosion control programme for the area to be formulated and approved, preferably as a part of the National Erosion Control Programme, and in harmony with the priorities established at the national level;
Institutional, logistical, managerial, legal and other problems, if any: identified in time and resolved with respect to the mapping and measurement area, field visits, equipment to be installed /maintained;
Timely and adequate training of staff: to be organised at the level of implementing institution, information and general training at other levels, if necessary and appropriate;
Management elements to be included in the programme: harmonisation and correlation of the field measurements with the mapping exercise; interpretation of the results achieved; formulation of proposals for mitigation/control or prevention measures to be implemented within the erosion control programme; interpretation of the results and proposed measures at ICAM level in order to achieve firstly intra-sectorial integration, and secondly multi-sectorial integration;
Implementation team: details of the composition, organisation of work and involvement of the implementation team are contained in the respective chapters of the Part I and Part 11.
2. Recommendations and proposed actions for managers
2.1 Developing strategies
2.2 Catalyzing regional programmes
2.3 Coordinating international actions
Erosion is primarily the result of misuse of land, over-exploitation of natural resources, intensification of agriculture, anarchic development of tourism, communication, urbanization, etc. Mediterranean coastal areas have been subject to tremendous development for several decades to the detriment of interior regions which, on the contrary, have seen the population and human activities diminish. Often integrated development master plans are nonexistent, non integrated, incomplete or obsolete because they have been overtaken by the actual development of the region. Decision makers often lack the political will to stop or at least brake this wealth-generating development.
In order to prevent future degradation due to uncontrolled erosion and to mitigate existing erosion problems, as a starting point, every Government should:
make an inventory of land resources (climate, soil, water, biota), gathering fragmented data and filling in gaps by survey and remote sensing combined with geographic information systems;
assess potentials and constraints of local development projects including all different sub-sectors that coastal areas of the Mediterranean are likely to offer: farming, industry, communication, urbanization, tourist facilities (sport grounds, hotels, camps, aquatic sports, etc.) and conservation practices, and identify options to raise land productivity and decrease risks while reducing degradation;
study reasons behind poor land use, including land tenure problems, pricing of agricultural produces and inputs, subsidies, taxes, laws and social customs;
plan phased changes to develop land management practices and to encourage individual operators and farmers to adopt sustainable forms of land use and development.
This will help identify strategies for an anti-erosive, land conservation programme; it will also help national and local governments avoid schemes which treat symptoms rather than the causes and encourage the awareness and the participation of all land users. Past land conservation and rehabilitation projects have oh-en relied heavily on the construction of physical infrastructures. Such practices are expensive per unit area conserved and/or rehabilitated and maintenance is a problem after support staff and equipment are withdrawn. Also, it is difficult to apply these strategies widely or quickly enough to overcome erosion problems of a large scale. Consequently, the ideal erosion control programme is one in which land users plan and implement solutions. To this end, governments should create greater awareness of erosion control and land improvement potentials while addressing land degradation issues. This implies the use of the media and training of technical staff to assist land users in this new approach.
Each Mediterranean country must develop policies and strategies relevant to local circumstances. Under the guidance of a high level advisory commission composed of erosion mitigation specialists, land use planners, as well as of responsible authorities and political representatives, one clearly defined ministry department should have the overall responsibility and authority to:
back up services to land users by rationalizing and strengthening institutions plus appropriate training, research and legislation to support the conservation effort;
appraise the conservation components of regional development programmes, with political, social and economic information used to formulate a policy and long-term anti-erosion and conservation strategies;
develop detailed programmes, about 3 to 5 year rolling plans which must be reviewed and updated annually; and
promote local programmes according to the present needs.
2.2 Catalyzing regional programmes
Regional programmes give each country the chance to benefit from other countries' successes in anti-erosion and land conservation efforts, and in particular:
Overall training needs should be assessed so that appropriate multidisciplinary courses can be developed in key regional universities and specialized institutes.
As research is expensive, efforts can often be pooled where conditions are similar and priorities identified.
Research findings can be spread through simple networks and newsletters.
2.3 Coordinating international actions
In order to control or prevent erosion, and maintain permanent installations, many countries need the support of technical agencies.
Governments should commit themselves to the long-term policies, programmes and financial requirements that can bring about sustainable forms of land use.
Technical organizations should help formulate overall programmes. By doing so they can identify where and how their inputs can best be used and they can fit contributions together in an overall national action plan.
1.1 ICAM - A Major Tool of Sustainable Development and Environment Protection of Coastal Areas
Coastal area could be defined as an organic whole consisting of the littoral land, coastal strip, shoreline, and the adjacent sea. These areas are characterized by intensive physical, biological, social, cultural and economic processes, and their interactions. Changes in any segment of the system often have impacts in other, sometimes remote segments.
Due to their specific character, most valuable resources and diversity, the coastal areas offer good base and conditions for economic growth and socio-cultural development, so that they have been attracting population during the entire history of the mankind. In the recent past, those conditions led to a strong, often uncontrolled development, high increase of coastal population, and unsustainable use and depletion of many precious resources. The consequence was a dramatic deterioration of the state of the environment and the quality of living. In many coastal areas, the increasing pressures on the eco-systems and high pollution resulted in irreversible disruption of the most fragile ecosystems.
The ever growing concern related to ultimate consequences of such trends resulted in the formulation of the concept of sustainable development in the 1980s, and most recently, in the adoption of the UNCED Rio 1992 documents. One of those, the "Agenda 21" establishes the principles, and defines goals and activities to be implemented by the states towards achieving sustainable development. Chapter 17 of the "Agenda 21" is related to coastal areas and at the moment represents, perhaps, the most important international document related to ICAM.
There are several usually quoted definitions of sustainable development. Here, the original Brundtland definition will be presented as recently amended by the MAP-Blue Plan (UNEP/MAP-Blue Plan, 1995):
"The sustainable development is a development in respect of the environment, technically appropriate, economically viable and socially acceptable to meet the needs of the present generations, without compromising the possibility of future generations satisfying theirs. "
With reference to coastal areas, the same concern was reflected still in the early 1970s in the development of the concept and first instruments of ICAM. Initiated in the USA, ICAM was gradually development and implemented in many coastal states and areas throughout the world. Within the MAP, the PAP and the Blue Plan have been implementing ICAM related activities since the early 1980s. FAO is also involved in a number of ICAM activities and projects.
ICAM is a continuous, pro-active, and adaptive process of resource management for sustainable development in coastal areas. ICAM focuses on:
strengthening of sectorial management and their integration;
preserving and protecting the productivity and big-diversity of coastal eco-systems; and
promoting rational development and sustainable use of coastal resources.
Based on the integration of multi-level and multi-sectorial activities and decisions, ICAM is not a substitute for sectorial planning, but it integrates the sectorial plans in order to achieve comprehensive goals, such as, among others:
define the sustainable mode and level of resource use;
renew or rehabilitate damaged resources;
ensure that the rate of loss of resources does not exceed the rate of replenishment;
reduce risks to vulnerable resources;
respect natural dynamic processes, preventing adverse interferences; and
protect traditional resource uses.
Table A-1. Stages, phases activities and outputs of the ICAM process (source: UNEP, 1995)
Sectoral inputs |
Stages |
Phases |
Activities |
Outputs |
Political decisions |
Triggers: past decisions new decisions external influences |
INITIATION |
INITIATION OF ICAM |
Analysis of prerequisites for ICAM |
Proposal for the preparatory phase
of ICAM |
To start ICAM |
Tentative boundaries of the area. |
|||||
Preparation of the proposal for
initiation of ICAM |
|||||
Sectoral Problem Identification |
PLANNING |
PREPARATORY ACTIVITIES |
Definition of coastal area. |
Coastal Profile |
To establish ICAM as a continuous
and long term process |
Identification of sectoral and
cross sectoral problems. |
ICAM programme |
||||
Proposal for general goals and
objectives. |
|||||
Preparation of development
environment, outlooks and tentative strategy. |
|||||
Identification of information
gaps. |
|||||
Definition of legal, financial and
institutional requirements for ICAM. |
|||||
Proposal for integrated Coastal
Master Plan preparation procedure. |
|||||
Sectoral analysis and forecasting |
ANALYSIS AND FORECASTING |
Issue-oriented new surveys
(generation of missing primary data) |
Alternative scenaria |
||
Analysis of natural and socio
economic systems. |
|||||
Forecasting of future demand. |
|||||
Generation of cross sectoral
scenaria and selection of preferred scenario |
|||||
Definition of sectoral goals and strategies |
DEFINITION OF GOALS AND STRATEGIES |
Proposal for sectoral and cross
sectoral goals and objectives. |
Management strategy |
Approval of goals objectives and
strategies |
|
Preparation of alternative
strategies including legal requirements, financial
implications and institutional arrangements. |
|||||
Evaluation and selection of
strategy. |
|||||
Sectoral plans |
INTEGRATION OF DETAILED PLANS |
Allocation of land and sea uses. |
Integrated Coastal Master Plan |
Adoption of Integrated Coastal
Master Plan and relevant policies |
|
Proposal for implementation
procedures (legal, institutional, financial) and relevant
instruments (EIA, CBA, etc). |
|||||
Definition of implementation
stages. |
|||||
Draft Integrated Coastal Master
Plan presented to relevant body for approval. |
|||||
Sectoral plans and policies |
IMPLEMENTATION |
IMPLEMENTATION OF PLANS |
Phasing of ICAM proposals and
policies. |
EIA |
Approval of implementation
instruments used in the development control process |
Application of economic,
regulatory, and environmental evaluation instruments in
development control |
CBA |
||||
Adaptation of institutions to
ICAM. |
|||||
Sectoral monitoring |
MONITORING AND EVALUATION |
Redefinition of cross sectoral
problems. |
Evaluation study |
Update of ICAM process |
|
Identification of inadequacy of
instruments. |
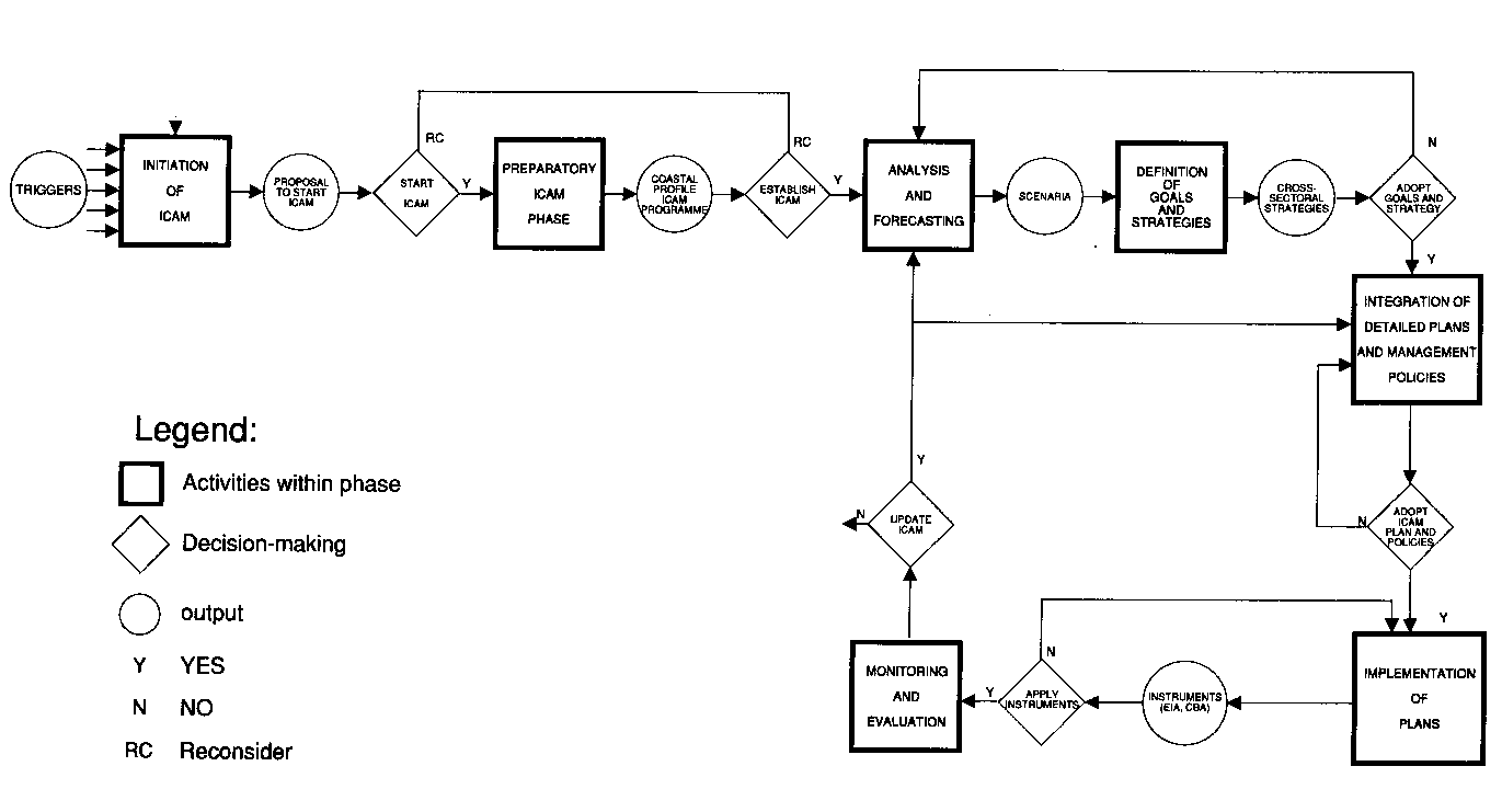
Figure A-1. Flowchart for ICAM process (source: UNEP, 1995)

ICAM is a long-term and feed-back process, basically composed of three stages:
initiation;
planning; and
implementation.
The planning stage contains the following phases:
preparatory activities;
analysis and forecasting;
definition of goals and strategies; and integration of detailed plans.
The implementation stage contains:
implementation of plans;
monitoring; and
feed back.
Each ICAM phase/stage is defined by a sequence of activities, outputs, decisions, and feed-back. The stages and phases of ICAM are presented in Table A-1 and Figure A-1, according to UNEP/PAP.
1.2 Mapping and Measurement of Erosion Processes - Role in ICAM
Mapping and measurements of erosion phenomena are the basis for assessment and evaluation of the causes, present state, intensity, and trends of erosion. The impacts of erosion on coastal resources, economic activities, agriculture in particular, environment, and pollution, as well as their social consequences are of primary importance for many Mediterranean coastal areas. Therefore, erosion assessment makes part of the basic diagnosis exercise for the ICAM process. Maps of erosion-affected areas, prepared on the basis of the common consolidated methodology, represent in many cases an indispensable input for the mapping phase of ICAM, and particularly for GIS, if applied. Furthermore, ICAM programmes usually encompass large coastal areas and are, in many cases, based on regional or multinational cooperation. Consequently, the application of the common consolidated methodology has to be considered not only as a benefit, but primarily as a must. Even in the cases when in the initial phase of ICAM the analysis of available information indicates the absence of severe erosion-generated impacts in the relevant coastal area, the identification and mapping of potential erosion-effected sites is indispensable. Again, in cases of severe erosion processes, the mapping using the common consolidated methodology is needed for the same reasons (cooperation, comparative evaluation, inclusion in GIS or other overlaying mapping techniques). The mapping procedure can be completed in a reasonably short time, avoiding thus to affect the general time-table of the ICAM programme or project.
Both mapping and measurements need adequate interpretation for ICAM, including recommendations of erosion control measures to be considered as input in the ICAM planning phase. With respect to ICAM, the important elements to be interpreted are most frequently related to the following impacts:
primary impacts: land degradation, loss of productive soil, sediment transport, landscape degradation;
secondary impacts: loss of productivity, decline of relevant activities (Mediterranean agriculture, cattle raising), deposition of eroded material (water ways, dams), change in sediment flux and natural balance along the shoreline, pollution of fresh waters and the adjacent sea; and
tertiary impacts: change in rainfall pattern, endangered big-diversity, social impacts (poverty, migrations), economic impacts (life time and economic value of dams, impacts on tourism if beaches are eroded or polluted).
The interpretation of the above and/or other, if any, existing or potential impacts on sustainable use of resources and coastal management pattern have to be carefully considered and interpreted during the analysis of the results achieved by erosion mapping and measurements.
With reference to ICAM phases and stages presented in the point 1.1, the role and place of erosion control activities is presented in the Table A-2.
Table A-2: Role of Erosion Control Activities (ECA) in ICAM (source: UNEP, 1995)
ICAM |
Phase |
ECA |
Stage |
||
Initiation |
- |
Analysis of prerequisites and
needs for ECA. |
Planning |
Preparatory |
Problem identification, evaluation
of data and information, of human and institutional
capacities. Rapid assessment of affected or potentially
affected areas. Training for mapping using common
methodology. Mapping. |
Measurements initiated, if needed. |
||
Analysis and forecasts |
Mapping completed. Analysis of
information including maps. Forecast of erosion
consequences. Development of alternative erosion control
scenarios. Selection of preferable scenario. Study of
legal and/or institutional improvements, if needed. |
|
Goals and strategies |
Definition of erosion control
goals, and development of the First Best Strategy.
Development of management structures. Measurements
completed, updating of FBS, if needed. Development of
erosion control programme. |
|
Integration of detailed plans |
Integration of erosion control
programmes in ICAM plan. Measures for harmonized,
integrated implementation. |
|
Implementation |
Implementation |
Implementation of erosion control
plans within ICAM plan. |
Monitoring |
Field monitoring and measurements,
if needed. Redefinition of erosion control plan, if
needed. Feed-back and updating of erosion control
activities. |