Página precedente Indice


APÉNDICE III: ANTEPROYECTO DE CÓDIGO DE PRÁCTICAS REVISADO PARA LA ELABORACIÓN Y MANIPULACIÓN DE LOS ALIMENTOS CONGELADOS RÁPIDAMENTE


INTRODUCCIÓN
SECCIÓN 1: OBJETIVO
SECCIÓN 2: ÁMBITO DE APLICACIÓN Y DEFINICIONES
SECCIÓN 3: PROGRAMA DE REQUISITOS PREVIOS
SECCIÓN 4: CONTROL DE LA CADENA DE FRÍO: ASPECTOS RELACIONADOS CON LA INOCUIDAD
SECCIÓN 5: CONTROL DE LA CADENA DE FRÍO: ASPECTOS RELACIONADOS CON LA CALIDAD
SECCIÓN 6: GESTIÓN DE LA TEMPERATURA EN LA CADENA DE FRÍO
ANEXO 1: EJEMPLO ILUSTRATIVO DE LA APLICACIÓN DE PCC EN UNA INDUSTRIA DE ALIMENTOS CONGELADOS RÁPIDAMENTE
ANEXO 2: EJEMPLO ILUSTRATIVO DE LA APLICACIÓN DE PCD EN UNA INDUSTRIA DE ALIMENTOS CONGELADOS RÁPIDAMENTE
ANEXO 3: VIGILANCIA Y CONTROL DE LA TEMPERATURA EN LA CADENA DE FRÍO

INTRODUCCIÓN

El presente Código de Prácticas para la Elaboración y Manipulación de los Alimentos Congelados Rápidamente constituye una versión revisada del Código Internacional Recomendado de Prácticas para la Elaboración y Manipulación de los Alimentos Congelados Rápidamente (CAC/RCP 8-1976), incluidos el Anexo I-1978: Método para comprobar la temperatura del producto, y el Anexo II - 1983: Código Internacional Recomendado de Prácticas para la Manipulación de los Alimentos Congelados Rápidamente Durante el Transporte.

Este Código de Prácticas se ha modificado a efectos de incorporar el enfoque de Análisis de Riesgos y de Puntos Críticos de Control (HACCP) descrito en el Código Internacional Recomendado de Prácticas - Principios Generales de Higiene de los Alimentos (CAC/RCP 1-1969, Rev. 3 (1997)) y en su Anexo: Directrices para la Aplicación del Sistema HACCP, documento que de aquí en adelante se denominará PGHA. El Código describe un programa de requisitos previos que comprende unas directrices tecnológicas y los requisitos de higiene esenciales para la elaboración de productos alimenticios congelados rápidamente que sean inocuos para el consumo humano y satisfagan, por lo demás, los requisitos de las correspondientes normas del Codex sobre productos. El Código también contiene orientación para el uso del sistema HACCP, cuya aplicación se recomienda para garantizar la elaboración higiénica de unos productos alimenticios congelados rápidamente que satisfagan los requisitos de salubridad e inocuidad.

En el ámbito de este Código se ha aplicado un enfoque sistemático similar al HACCP para asegurar el cumplimiento de las disposiciones sobre calidad, composición y etiquetado incluidas en las correspondientes normas del Codex sobre productos. En todo el Código este sistema se ha denominado “análisis en puntos de corrección de defectos (PCD)”.

El Código resultará útil a quienes se dedican a la manipulación y elaboración de productos alimenticios congelados rápidamente o bien se ocupan de su almacenamiento, transporte, venta al por menor, exportación, importación y venta, para lograr productos seguros y sanos que puedan venderse en los mercados nacionales o internacionales y satisfagan los requisitos de las normas del Codex. Cuando no existan tales normas se deberán tener en cuenta los reglamentos nacionales y/o las especificaciones comerciales.

El Código se refiere únicamente a los alimentos congelados rápidamente. Un alimento congelado rápidamente deberá haber sufrido el proceso apropiado de congelación rápida, y deberá mantenerse a una temperatura de -18 °C o más baja en todas las etapas de la cadena de frío. De conformidad con la legislación nacional se podrán aplicar tolerancias en relación con este valor térmico.

SECCIÓN 1: OBJETIVO

La finalidad del Código es proporcionar la información de base y el asesoramiento necesarios para elaborar, en los países donde aún no se hayan desarrollado, unos sistemas de gestión de la producción de alimentos congelados rápidamente y manejo de la cadena de frío que incorporen a las buenas prácticas de fabricación (BPF), y para aplicar el sistema HACCP. Asimismo podría utilizarse en la capacitación de los empleados de la industria de alimentos congelados rápidamente. La aplicación práctica de este Código requerirá algunas modificaciones y enmiendas a la luz de las condiciones locales y las exigencias específicas de sus consumidores.

SECCIÓN 2: ÁMBITO DE APLICACIÓN Y DEFINICIONES


2.1 ÁMBITO DE APLICACIÓN
2.2 DEFINICIONES

2.1 ÁMBITO DE APLICACIÓN

El presente Código de Prácticas se aplica a la elaboración, manipulación, almacenamiento, transporte y venta al por menor de los alimentos congelados rápidamente.

2.2 DEFINICIONES

Las definiciones que figuran a continuación se proporcionan exclusivamente para los fines de este Código.

ATP

Acuerdo sobre el transporte internacional de productos alimenticios perecederos y sobre la utilización de equipo especial para su transporte, Comisión económica para Europa de las Naciones Unidas - División de Transportes; 1970, revisado en 1996; Ginebra; Suiza.

Blanqueo

Un tratamiento técnico suficiente para inactivar determinadas enzimas.

Enfriamiento

Procedimiento mediante el cual se enfría un alimento hasta una temperatura apropiada, a menudo de 5 °C o más baja, pero evitando la formación de cristales de hielo.

Cadena de frío

Término que indica la continuidad de los medios empleados sucesivamente para mantener la temperatura de los alimentos congelados rápidamente desde la producción hasta el usuario final.

Cámara frigorífica

Edificio empleado para mantener los alimentos congelados rápidamente en condiciones de refrigeración.

Defecto

Condición detectada en un producto que no se ajusta a las disposiciones esenciales de calidad, composición y/o etiquetado de la correspondiente norma del Codex sobre productos.

Punto de corrección de defectos (PCD)

Una etapa en la que es posible aplicar un control y evitar un defecto, eliminarlo o reducirlo a un nivel aceptable, o bien eliminar el riesgo de etiquetado incorrecto.

Ciclo de descongelación

Operación destinada a eliminar los depósitos de escarcha de la superficie de un serpentín refrigerante.

Deshidratación

Pérdida de humedad por sublimación de los productos congelados rápidamente.

Congelador

Equipo diseñado para congelar productos alimenticios mediante una rápida reducción de su temperatura.

Glaseado

Aplicación de una capa protectora de hielo que se forma en la superficie de un producto congelado mediante su rociado o inmersión en agua potable o agua potable con aditivos aprobados, según proceda.

IIF

Instituto Internacional del Frío

ISO

Organización Internacional de Normalización

Coeficiente K

Coeficiente global de transmisión de calor; representa la capacidad aislante del equipo.

Agua potable

Agua idónea para el consumo humano. Las normas de potabilidad no deben ser inferiores a las que figuran en la última edición de las Directrices para la calidad del agua potable de la Organización Mundial de la Salud.

Programa de requisitos previos

Programa que debe aplicarse antes de poner en práctica el sistema HACCP para garantizar que todos los componentes de la cadena de frío funcionan con arreglo al Código Internacional Recomendado de Prácticas del Codex: Principios Generales de Higiene de los Alimentos, el código de prácticas apropiado, y la legislación pertinente en materia de inocuidad de los alimentos.

Planta de elaboración

Locales donde tiene lugar la preparación, la elaboración, la congelación, el envasado o el almacenamiento de los productos alimenticios congelados rápidamente.

Proceso de congelación rápida

Proceso mediante el cual se supera con [la mayor] rapidez [posible] la escala de temperaturas de máxima cristalización del hielo. No se podrá considerar terminado antes de que la temperatura del centro térmico del producto haya descendido a -18 oC (0 °F) o un valor inferior tras la estabilización térmica.

Alimento congelado rápidamente

Producto alimenticio que se ha sometido a un proceso de congelación rápida y se ha mantenido a una temperatura de -18 °C o más baja en la cadena de frío, con sujeción a las tolerancias térmicas permitidas, y que se etiqueta como tal.

Materia prima

Alimento fresco o elaborado que puede utilizarse para la producción de alimentos congelados rápidamente destinados al consumo humano.

Sistema (unidad, planta) de refrigeración

Equipo que proporciona una fuente de frío a fin de reducir la temperatura de un alimento o mantener un alimento a temperaturas de congelación.

Aire de retorno

Aire que retorna al enfriador de aire.

Temperatura indebida

Elevación de la temperatura de un alimento congelado rápidamente hasta un valor que supera toda tolerancia [nacional] permitida [, por lo que puede afectar la calidad o la inocuidad del alimento].

Vigilancia de la temperatura

Acción que consiste en efectuar una serie programada de observaciones o mediciones de la temperatura de los sistemas refrigerados o los productos alimenticios congelados rápidamente a efectos de verificar que tales temperaturas se mantengan dentro de las tolerancias establecidas.

Indicador térmico (IT)

Dispositivo que al ser activado utiliza una reacción física o físico-química para producir un cambio observable e irreversible cuando se supera un límite térmico determinado previamente.

Centro térmico

Punto en el interior de una pieza de un alimento donde se registra la temperatura más elevada al terminar el proceso de congelación rápida.

Indicador térmico-temporal (ITT)

Dispositivo que indica el historial térmico a lo largo del tiempo desde el momento de su activación inicial.

[Tolerancias]

[Fluctuaciones a corto plazo que sufre la temperatura del producto en la cadena de frío, dentro de los límites establecidos por la legislación nacional, que no afectan la inocuidad de los alimentos.]

[Rastreabilidad/seguimiento]

[Un sistema que permite la recuperación de información sobre el historial y el origen de un producto en cualquier etapa de la cadena de frío.]

Punto de transferencia

Punto en que el alimento se transfiere de un volumen frío a otro, mientras su temperatura se mantiene a los niveles reglamentarios.

SECCIÓN 3: PROGRAMA DE REQUISITOS PREVIOS


3.1 EMPLAZAMIENTO
3.2 DISEÑO Y CONSTRUCCIÓN DE LAS INSTALACIONES
3.3 INSTALACIONES
3.4 HIGIENE PERSONAL Y SALUD
3.5 CAPACITACIÓN
3.6 PROCEDIMIENTOS DE RETIRO DE PRODUCTOS DEL MERCADO Y [RASTREABILIDAD/SEGUIMIENTO]

Antes de aplicar el sistema de HACCP a cualquier segmento de la cadena de producción de alimentos congelados rápidamente, es necesario que ese segmento sea apoyado por un programa de requisitos previos que se basará en las buenas prácticas de higiene (y las buenas prácticas de fabricación) o en los requisitos exigidos por la autoridad competente. Los programas de requisitos previos deben ser específicos para cada establecimiento, y requerirán actividades de seguimiento y evaluación para garantizar su constante eficacia.

Se deberán consultar otros códigos de prácticas[7] para obtener más informaciones que ayuden a formular el programa de requisitos previos de una planta de elaboración.

Cabe señalar que algunos de los aspectos enumerados más abajo se relacionan con el mantenimiento de la calidad de los alimentos más bien que de su inocuidad, por lo que no siempre serán indispensables en un programa de requisitos previos de un sistema HACCP destinado a asegurar la inocuidad de los productos alimenticios.

Además de los Principios Generales de Higiene de los Alimentos (PGHA) se aplicarán los siguientes requisitos previos:

3.1 EMPLAZAMIENTO

En el caso de alimentos congelados rápidamente que se elaboran con materias primas [perecederas], la ubicación de las plantas de elaboración debe ser tal que la calidad de los productos se modifique lo menos posible antes de su congelación.

3.2 DISEÑO Y CONSTRUCCIÓN DE LAS INSTALACIONES


3.2.1 Diseño de la planta de elaboración
3.2.2 Diseño de la cámara frigorífica
3.2.3 Diseño y construcción de los equipos

3.2.1 Diseño de la planta de elaboración

Las instalaciones de elaboración deben están diseñadas para elaborar, congelar y almacenar rápidamente los productos alimenticios. Deberán seguir un esquema de flujo que permita reducir al mínimo aquellas demoras del proceso que podrían determinar una reducción de la calidad de los alimentos. Muchas materias primas y productos alimenticios son sumamente perecederos, por lo que deben manipularse con cuidado para que su calidad se mantenga hasta el comienzo del proceso de congelación.

3.2.2 Diseño de la cámara frigorífica

En la publicación Cold Store Guide, IIR/IIF, 3ª edición, 1993, se proporciona asesoramiento para un adecuado diseño de la cámara frigorífica. Las paredes, el suelo, el techo y las puertas de ésta deben aislarse de manera apropiada para reducir el consumo de energía y ayudar a mantener las temperaturas de los productos. Es importante que el diseño de la cámara frigorífica garantice lo siguiente:

3.2.3 Diseño y construcción de los equipos

El equipo debe estar diseñado y construido de manera tal que se reduzcan al mínimo los daños físicos a las materias primas y los productos, p. ej., garantizando que no presente ángulos cerrados o esquinas puntiagudas. El diseño y la construcción de los congeladores debe asegurar que en un funcionamiento correcto satisfagan los requisitos del proceso de congelación rápida.

3.3 INSTALACIONES


3.3.1 Servicios
3.3.2 Programa de limpieza
3.3.3 Sistemas para combatir las plagas

Además de las recomendaciones incluidas en los PGHA se aplicarán las siguientes disposiciones:

3.3.1 Servicios

3.3.1.1 Electricidad

En caso de pérdidas de energía eléctrica la planta debe disponer de un plan de contingencia para mantener la temperatura de los alimentos congelados rápidamente.

El suministro eléctrico no debe acusar fluctuaciones de voltaje que podrían dañar el equipo de refrigeración.

3.3.2 Programa de limpieza

Se aplicarán las recomendaciones contenidas en las secciones pertinentes de los PGHA.

3.3.3 Sistemas para combatir las plagas

Se aplicarán las recomendaciones contenidas en las secciones pertinentes de los PGHA.

3.4 HIGIENE PERSONAL Y SALUD

Se aplicarán las recomendaciones contenidas en las secciones pertinentes de los PGHA.

3.5 CAPACITACIÓN

Es sumamente importante la capacitación en materia de higiene de los alimentos; asimismo el personal debe ser consciente de la importancia de un adecuado control de la temperatura y del mantenimiento de la calidad.

3.6 PROCEDIMIENTOS DE RETIRO DE PRODUCTOS DEL MERCADO Y [RASTREABILIDAD/SEGUIMIENTO]


3.6.1 Procedimientos de retiro del mercado
3.6.2 [Rastreabilidad/seguimiento]

3.6.1 Procedimientos de retiro del mercado

Deben establecerse procedimientos eficaces y documentados que permitan retirar con prontitud del establecimiento de venta al por menor cualquier lote de alimentos congelados rápidamente.

Se aplicarán las recomendaciones contenidas en las secciones pertinentes de los PGHA.

3.6.2 [Rastreabilidad/seguimiento]

La rastreabilidad/el seguimiento es esencial para un procedimiento eficaz de retiro del mercado y constituye un componente necesario de un programa de requisitos previos, ya que ningún proceso está exento de fallas.

El sistema de rastreabilidad debe:

SECCIÓN 4: CONTROL DE LA CADENA DE FRÍO: ASPECTOS RELACIONADOS CON LA INOCUIDAD


4.1 MATERIAS PRIMAS
4.2 ELABORACIÓN PREVIA A LA CONGELACIÓN
4.3 PROCESO DE CONGELACIÓN RÁPIDA

Cuando sea apropiado, cada operación de la cadena de frío deberá elaborar su propio plan de HACCP. Este se formulará de conformidad con las recomendaciones contenidas en el Anexo de los PGHA.

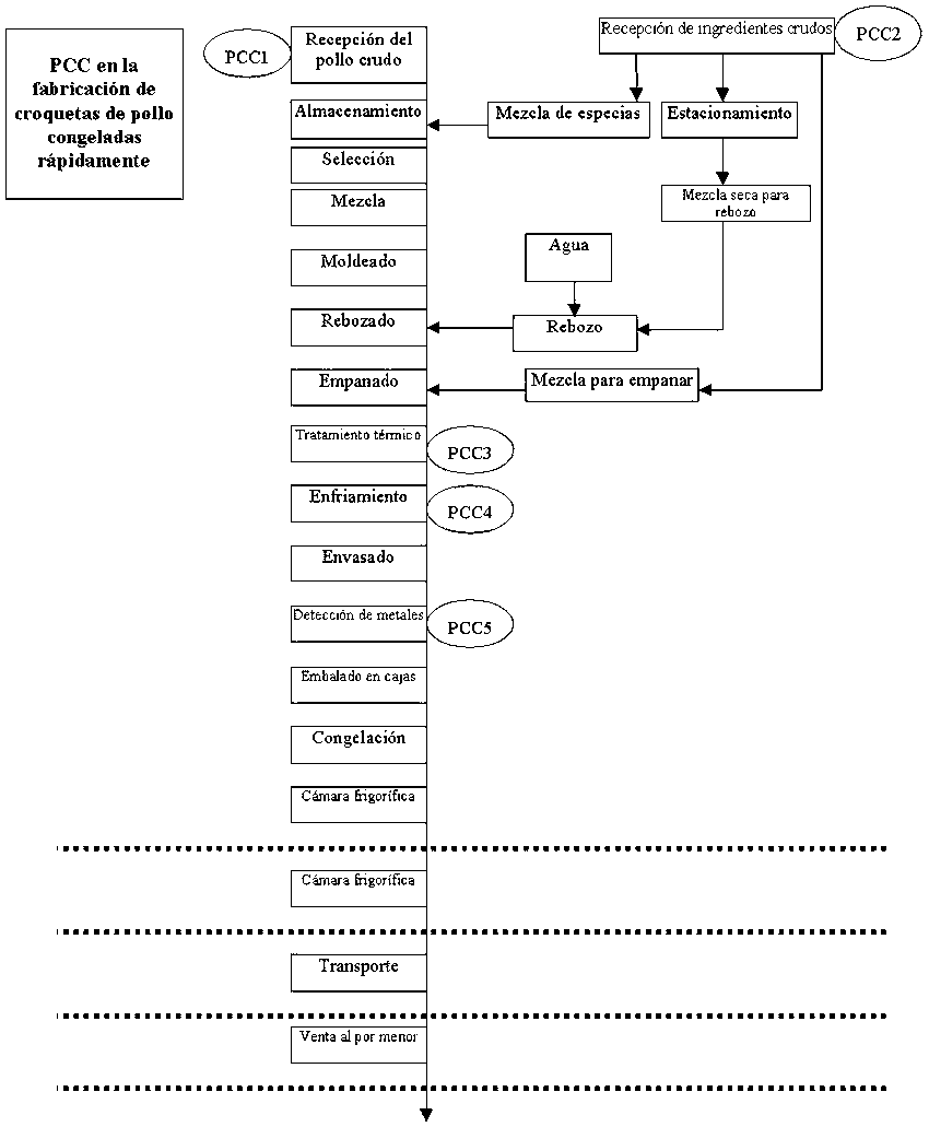
En el Anexo 1 se proporciona, únicamente a título ilustrativo, un ejemplo de uso de PCC en la producción y distribución de un producto congelado rápidamente, concretamente croquetas de pollo.

4.1 MATERIAS PRIMAS

La congelación no debe considerarse como un tratamiento letal contra la contaminación microbiológica de los alimentos. Sin embargo, puede determinar la muerte de ciertos microorganismos e inhibirá el desarrollo de otros.

Las materias primas que se utilicen deben ser inocuas y sanas, y por consiguiente la inspección y los criterios microbiológicos suelen considerarse como PCC. En el caso de productos sumamente perecederos, como los empleados en el ejemplo del Anexo 1, también se podrá considerar un PCC el control de la temperatura en el momento de la recepción.

Se aplicarán las recomendaciones contenidas en las secciones pertinentes de los PGHA.

4.2 ELABORACIÓN PREVIA A LA CONGELACIÓN

Antes de la congelación los alimentos pueden someterse a diversas formas de elaboración; por ejemplo se podrán limpiar, seleccionar, cortar, rebanar, acondicionar, curar, filetear, calentar. El hecho de que estos procedimientos se consideren o no como PCC o PCD dependerá de las condiciones concretas, y en particular de cuánto tiempo se mantiene el alimento dentro de la gama crítica de temperaturas comprendida entre 10 °C y 60 °C.

Cuando se hace necesario el almacenamiento de los productos alimenticios (materias primas o productos intermedios) antes de su posterior elaboración, las condiciones de almacenamiento, y en particular la temperatura, deberán ser apropiadas para el producto alimenticio en cuestión.

El tratamiento térmico de muchos alimentos precocidos, como p. ej. comidas preparadas, debe ser suficiente para garantizar que se inactiven los agentes patógenos que suscitan mayor preocupación. En tales casos el tiempo-temperatura de tratamiento y el enfriamiento subsiguiente podrán considerarse como PCC; véase al respecto el Anexo 1.

Cuando se utilizan materias primas congeladas y el proceso comprende una etapa de descongelación, el método empleado en ella se deberá definir claramente, y se precisará un atento seguimiento del plan de descongelación (parámetros temporales y térmicos). Para seleccionar el método de descongelación se deberán tomar en cuenta, en particular, la dureza y la uniformidad de tamaño de los productos. El tiempo/temperatura de descongelación y los límites térmicos críticos del alimento deberán seleccionarse de forma de controlar el desarrollo de microorganismos. Los parámetros temporales y térmicos de la descongelación pueden constituir un PCC.

4.3 PROCESO DE CONGELACIÓN RÁPIDA

Cuando se congelan grandes lotes de alimentos o las piezas del alimento son de gran tamaño (por ejemplo, pavos congelados) es necesario dejar espacios o canales que permitan la circulación del aire entre los alimentos a granel o las cajas de productos. Si no se disponen tales canales, la propia masa del alimento podría ser tal que incluso con una corriente de aire rápida y a temperaturas bajas las partes interiores del lote se enfríen y congelen con lentitud. Es importante que el centro térmico del producto se enfríe con la mayor rapidez posible para evitar la proliferación de microorganismos patógenos o la producción de toxinas microbianas. El tiempo de congelación puede constituir un PCC.

SECCIÓN 5: CONTROL DE LA CADENA DE FRÍO: ASPECTOS RELACIONADOS CON LA CALIDAD


5.1 MATERIAS PRIMAS
5.2 ELABORACIÓN PREVIA A LA CONGELACIÓN
5.3 PROCESO DE CONGELACIÓN RÁPIDA
5.4 ENVASADO Y ETIQUETADO
5.5 ALMACENAMIENTO EN CONGELADOR
5.6 TRANSPORTE Y DISTRIBUCIÓN
5.7 VENTA AL POR MENOR
5.8 PUNTOS DE TRANSBORDO

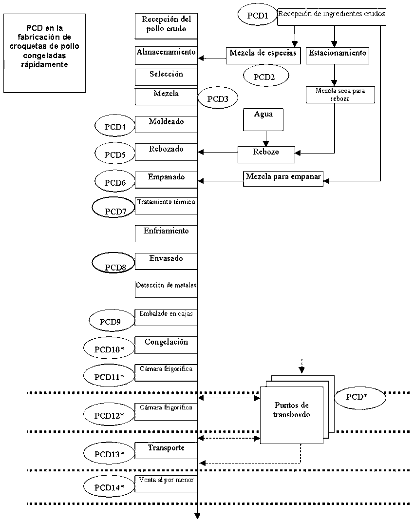
El Código no solamente se propone tratar los aspectos relacionados con la inocuidad de los alimentos congelados rápidamente sino también otros aspectos de la producción, incluidas las disposiciones en materia de calidad, composición y etiquetado que figuran en las normas sobre productos elaboradas por la Comisión del Codex Alimentarius. Por consiguiente se incluyen en él los puntos de corrección de defectos (PCD). En la determinación de estos últimos se consideran los parámetros de calidad en las distintas etapas, mediante la aplicación de un enfoque sistemático.

En el Anexo 2 se proporciona un ejemplo ilustrativo del empleo de PCD en la producción y distribución de un producto congelado rápidamente, concretamente croquetas de pollo. El enfoque adoptado para el análisis en PCD es optativo, de manera que también podrían considerarse otras técnicas que permitan alcanzar el mismo objetivo.

5.1 MATERIAS PRIMAS


5.1.1 Aspectos microbiológicos
5.1.2 Otros aspectos relacionados con la calidad de las materias primas

La congelación no puede mejorar la calidad, por lo que es necesario utilizar materias primas íntegras y sanas en condiciones óptimas de frescura y madurez. Los productos que han de congelarse se seleccionarán en función de su idoneidad para la congelación.

Se deben reducir al máximo los posibles cambios químicos o bioquímicos, mediante un control apropiado de la temperatura. Si se utilizan materias primas congeladas y el proceso comprende una etapa de descongelación, se deberá definir con claridad el método empleado para efectuarla y se vigilará atentamente el plan de descongelación (parámetros de tiempo y temperatura). En la selección del método de congelación se tendrá en cuenta, en particular, la dureza y uniformidad de tamaño de los productos. Los parámetros de tiempo y temperatura de la descongelación pueden constituir un PCD.

5.1.1 Aspectos microbiológicos

En los productos que han de congelarse la cantidad inicial de microbios debe mantenerse lo más baja posible; esto ayudará a lograr un tiempo de conservación apropiado al reducir los problemas relacionados, por ejemplo, con aromas, colores o sabores desagradables durante el almacenamiento en congelador.

La congelación puede determinar la muerte de ciertos microorganismos e inhibir el desarrollo de otros. Sin embargo no debe considerarse como un tratamiento letal para los microorganismos presentes en los alimentos.

5.1.2 Otros aspectos relacionados con la calidad de las materias primas

5.1.2.1 Contaminación

En la medida en que sea viable, los productores de alimentos congelados rápidamente deberán aplicar medidas para controlar los contaminantes, fertilizantes, medicamentos veterinarios, residuos de plaguicidas, contaminantes industriales, etc. presentes en las materias primas, de conformidad con las recomendaciones contenidas en las secciones pertinentes de los PGHA.

Los fabricantes de productos alimenticios deberán colaborar con los productores de sus materias primas a fin de limitar dicha contaminación mediante el desarrollo de programas de control documentados.

5.1.2.2 Otras medidas relacionadas con la calidad

Para reducir al mínimo el deterioro, las materias primas deberán enfriarse y almacenarse en condiciones apropiadas (p. ej. preenfriamiento), o bien transportarse y congelarse en el menor tiempo posible.

Se deberán establecer procedimientos para garantizar la calidad de los materiales que entran a la planta de elaboración.

Los productores deberán disponer de procedimientos para clasificar y separar alimentos e ingredientes de alimentos que evidentemente no son idóneos para una elaboración ulterior.

5.2 ELABORACIÓN PREVIA A LA CONGELACIÓN

Antes de la congelación las materias primas pueden someterse a distintas formas de elaboración; por ejemplo se podrán limpiar, seleccionar, cortar, rebanar, acondicionar, curar, filetear, calentar. Para cada uno de estos procesos habrá que analizar si debe o no considerarse como PCD.

En la producción de hortalizas congeladas se utiliza con frecuencia el blanqueo para inactivar enzimas que determinarían problemas de calidad (sabor, color) durante el almacenamiento en congelador. El plan de blanqueo debe determinarse de manera que garantice el resultado de calidad deseado, y constituye un PCD.

Cuando se hace necesario el almacenamiento de ingredientes intermedios antes de proseguir la elaboración, las condiciones de almacenamiento, y en particular la temperatura, deberán ser apropiadas para el producto alimenticio en cuestión.

Si en la elaboración se utilizan materiales intermedios congelados, se deberán aplicar las medidas apropiadas de control y vigilancia de la temperatura.

5.3 PROCESO DE CONGELACIÓN RÁPIDA

El proceso de congelación rápida deberá realizarse de tal manera que se reduzcan al mínimo los cambios físicos, bioquímicos y microbiológicos, tomando en cuenta el tipo de aparato de congelación y su capacidad, la naturaleza del producto (conductividad, dureza, forma, temperatura inicial) y el volumen de producción. En la mayoría de los productos el mejor sistema para ello es hacer que el alimento pase rápidamente por la gama de temperaturas de máxima cristalización del hielo, comprendida habitualmente entre -1 °C y -5 °C en el centro térmico del producto.

El proceso de congelación rápida no se considerará completo mientras en el centro térmico del producto no se haya alcanzado una temperatura de -18 °C o más baja tras la estabilización térmica. El producto que sale del aparato de congelación no deberá exponerse a humedad elevada ni a temperaturas cálidas, y habrá de trasladarse cuanto antes a una cámara frigorífica. Lo mismo vale para aquellos productos que se envasan para la venta al por menor después del proceso de congelación rápida.

5.4 ENVASADO Y ETIQUETADO

En términos generales, el envase:

El envasado o reenvasado de alimentos congelados rápidamente deberá efectuarse de manera tal que el aumento de la temperatura de los productos en cuestión no afecte la calidad.

Los alimentos envasados congelados rápidamente deberán cumplir con los requisitos de la Norma General del Codex para el Etiquetado de los Alimentos Preenvasados (CODEX STAN 1-1985, Rev. 1-1991).

5.5 ALMACENAMIENTO EN CONGELADOR

Las cámaras frigoríficas deben estar diseñadas y funcionar de tal manera que la temperatura del producto se mantenga a -18 °C o un nivel más bajo, con fluctuaciones mínimas; véase la sección 3.2.2. La temperatura de la cámara frigorífica podrá constituir un PCD.

Las existencias se someterán a rotación para garantizar que los primeros productos en salir de la cámara frigorífica sean los que han entrado primero.

5.6 TRANSPORTE Y DISTRIBUCIÓN

Para transportar los alimentos congelados rápidamente se utilizarán equipos con un aislamiento adecuado, que mantengan el producto a una temperatura de -18 °C o más baja. La temperatura del producto durante su transporte y distribución constituirá un PCD.

Los compartimientos de los vehículos o contenedores deberán preenfriarse antes de la carga. Se tendrá cuidado de no menoscabar su eficiencia ni reducir su capacidad de refrigeración.

El usuario del vehículo o contenedor debe asegurar[8]:

Se podrá tolerar un breve aumento de la temperatura del producto durante su transporte, según lo permitido por la legislación nacional. Sin embargo, en cualquier producto que presente una temperatura superior a -18 °C ésta deberá reducirse a -18 °C tan pronto como sea posible, ya sea durante el transporte o inmediatamente después de su entrega.

Las operaciones de carga y descarga de los vehículos, así como de los almacenes refrigerados, deben ser tan rápidas como sea posible; para efectuarlas se aplicarán métodos que reduzcan al mínimo el aumento de la temperatura de los productos.

La distribución de los alimentos congelados rápidamente destinados a los minoristas deberá efectuarse de tal manera que todo aumento de temperatura del producto por encima de -18 °C se mantenga en un valor mínimo. Después de la entrega la temperatura del producto deberá reducirse lo antes posible a -18 °C.

5.7 VENTA AL POR MENOR

Los alimentos congelados rápidamente deberán ofrecerse a la venta en armarios frigoríficos destinados a ese fin. Los armarios frigoríficos deberán ser capaces de mantener la temperatura del producto a -18 °C (0 °F) y se harán funcionar de modo que mantengan el nivel citado. Se podrá tolerar un aumento de la temperatura del producto dentro de la gama de temperaturas definida por la legislación nacional. La temperatura del armario frigorífico constituirá un PCD.

Los armarios utilizados para la venta deben estar provistos de un dispositivo para medir la temperatura, véase al respecto el Anexo 3, sección 1.4.

Los armarios expositores se ubicarán de tal manera que la parte abierta no esté expuesta a corrientes de aire o calor radiante anormal (por ej. luz solar directa, luz artificial intensa, o expuestos directamente a la calefacción).

Los ciclos de descongelación se programarán de forma tal que, en la medida de lo posible, tengan lugar fuera de los períodos de mayor venta.

El contenido del armario frigorífico no deberá superar nunca la línea de carga.

Las existencias se rotarán para asegurar que se vendan primero los productos que han llegado primero.

La tienda al por menor debe disponer de un almacén de reserva para los productos congelados rápidamente.

5.8 PUNTOS DE TRANSBORDO

Se deberá prestar atención a fin de que el traslado de los alimentos congelados rápidamente de la cámara frigorífica al vehículo/contenedor, del vehículo/contenedor al almacén refrigerado y de éste a los armarios expositores se realice con la mayor celeridad que razonablemente pueda lograrse. A menudo el transbordo coincide con la transferencia de responsabilidad (propiedad) de los productos.

SECCIÓN 6: GESTIÓN DE LA TEMPERATURA EN LA CADENA DE FRÍO


6.1 VIGILANCIA DE LA TEMPERATURA
6.2 TEMPERATURA INDEBIDA

6.1 VIGILANCIA DE LA TEMPERATURA

Los operadores deberán asegurarse de que existen sistemas apropiados para vigilar la temperatura del aire durante el proceso de congelación y a lo largo de la cadena de frío, a efectos de que los productos congelados rápidamente se mantengan a una temperatura de -18 °C o más fría. Podrán aplicarse tolerancias nacionales.

Los registros de estas mediciones deberán mantenerse durante el tiempo que sea legal o comercialmente apropiado.

El Anexo 3 ofrece asesoramiento técnico sobre estos aspectos.

6.2 TEMPERATURA INDEBIDA

En la inspección de alimentos congelados rápidamente se recomienda aplicar un enfoque progresivo; véase al respecto el Anexo 3.

Se deberán identificar y separar inmediatamente las cargas o partes de cargas cuyas temperaturas sean superiores a las requeridas para los alimentos congelados rápidamente. Se suspenderá la entrega, retirada y venta de estas cargas. Será responsabilidad de la persona que esté en posesión del alimento cerciorarse de que la temperatura de éste se haga bajar inmediatamente y, más en general, adoptar todas las medidas necesarias para la preservación del alimento.

En estos casos, la persona que esté en posesión del alimento deberá informar inmediatamente al proveedor de que puede haber habido un accidente. En caso de que se conozca la identidad del comprador se le deberá informar de que existe esta posibilidad, ya que aunque no sea responsable de la carga de los productos es, ante la ley, el receptor de los mismos, y por consiguiente se le deberá notificar de cualquier accidente que le afecte.

ANEXO 1: EJEMPLO ILUSTRATIVO DE LA APLICACIÓN DE PCC EN UNA INDUSTRIA DE ALIMENTOS CONGELADOS RÁPIDAMENTE

Se deberá analizar cada fase para establecer si se necesita con un PCC

CUADRO 1. DESCRIPCIÓN DE LOS PCC

Número de PCC

Etapa del proceso

Descripción del peligro

Límite del PCC, si existe

Procedimiento de control

Medidas correctivas

Registros

1 Control de la temperatura

Recepción del pollo sin elaborar.

Biológico - recepción del pollo crudo a las temperaturas apropiadas.

Los camiones deben cumplir la temperatura máxima especificada.

Control de la temperatura del camión para cada cargamento de pollo que se recibe. Las notas de despacho del vendedor deben cumplir las especificaciones de la empresa.

Evaluar el producto: retener, dejar pasar o rechazar. Empleado de recepción, supervisor y garantía de calidad (GC).

Material que entra. Formulario de inspección. Empleado receptor.

2 Inspección física

Recepción de otros ingredientes sensibles.

Niveles aceptables de peligros físicos, incluido el contenido de huesos de pollo y materias extrañas en los ingredientes de revestimiento.

Contenido máximo de huesos especificado en el pollo recibido. Los materiales de revestimiento se ajustan a las especificaciones sobre materias extrañas.

Las notas de despacho de cada vendedor muestran que el producto cumple las especificaciones. Deben acompañar cada cargamento.

Evaluar el producto: retener, dejar pasar o rechazar. Empleado receptor, supervisor y GC.

Materiales que entran Formulario de inspección Empleado receptor.

3 Temperatura de la freidora y el horno

Tratamiento térmico (freidora/horno)

Peligros biológicos en el pollo cocido.

El pollo debe cocinarse a una temperatura interna mínima durante el tiempo especificado.

Registrador de temperatura para vigilar la temperatura del horno. Control de las temperaturas del horno y del producto a intervalos especificados.

Si se superan los límites retener la producción para evaluación biológica: dejar pasar, volver a elaborar o destruir. Investigar las causas y corregirlas. Supervisor y GC.

Registros de temperatura: iniciales del operario encargado. Registro del proceso sufrido por el producto: Iniciales del personal de GC.

4 Enfriamiento

Enfriamiento a temperatura de refrigeración.

Peligros biológicos en el producto terminado

El producto debe enfriarse a la temperatura especificada, dentro del tiempo especificado.

Control del sistema de enfriamiento, por ej. registro de la temperatura, comprobación del método de apilado. Comprobación de la temperatura del producto a intervalos especificados.

Si se ha enfriado con demasiada lentitud, retener la producción para evaluación biológica: dejar pasar, volver a elaborar o destruir. Investigar las causas y corregirlas. Supervisor y GC.

Registro de la temperatura: iniciales del operario encargado. Registro del proceso del producto: iniciales del personal de GC.

5 Detector de metales

Detección de metales.

Peligro físico en el producto terminado.

Detección de metales de tamaño y tipo especificados.

Funcionamiento continuo. Control de la cadena a intervalos especificados, aplicando una norma definida.

Detener la línea hasta la corrección. Los productos de la última línea de control deben pasar por un segundo detector operativo. Supervisor y GC.

Registro de GC del detector de metales. Personal de GC.

ANEXO 2: EJEMPLO ILUSTRATIVO DE LA APLICACIÓN DE PCD EN UNA INDUSTRIA DE ALIMENTOS CONGELADOS RÁPIDAMENTE

Se deberá analizar cada fase para establecer su necesidad con un PCD

CUADRO 2. DESCRIPCIÓN DE LOS PCD

Número de PCD

Descripción del defecto

Límite del PCD, si existe

Procedimiento de control

Medidas correctivas

Registros

1 Recepción de ingredientes sensibles

Control de identidad e integridad.

Identidad o integridad no conformes.

Inspección visual y sensorial. Las notas de despacho de cada vendedor cumplen las especificaciones.

Evaluar el producto: retener, dejar pasar o rechazar. Empleado receptor, supervisor y garantía de calidad (GC).

Materiales que entran. Formulario de inspección. Empleado receptor.

2 Mezcla de especias

Mezcla de especias no uniforme

Evidente distribución no uniforme de los componentes

Comprobación visual de la distribución uniforme de los componentes de la mezcla de especias.

Evaluar el producto: volver a mezclar si es necesario. Operario encargado y GC.

Registro de producción rellenado.

3 Mezcla

Mezcla no uniforme de los componentes.

Evidente distribución no uniforme de los componentes.

Comprobación visual de la distribución uniforme de los componentes.

Evaluar el producto: volver a mezclar si es necesario. Operario encargado y GC.

Registro de producción rellenado.

4 Moldeado

Forma y peso no conformes a lo especificado.

Forma inadecuada. Peso dentro de los límites especificados.

Evaluación visual de la forma. Pesar el producto moldeado (p.ej. 5 muestras cada 30 min.).

Evaluar el producto: devolverlo para nuevo procesamiento. Operario encargado y GC.

Registro de producción rellenado.

5 Rebozado

Cobertura incompleta.

Cobertura incompleta.

Evaluación visual.

Evaluar el producto: investigar las causas y corregirlas. Operario encargado y GC.

Registro de producción rellenado.

6 Empanado

Cobertura incompleta.

Cobertura incompleta.

Evaluación visual.

Evaluar el producto: investigar las causas y corregirlas. Operario encargado y GC.

Registro de producción rellenado.

7 Tratamiento térmico

Color de cocción excesiva y pérdida de revestimiento

Color más oscuro que el especificado. El producto presenta un porcentaje de revestimiento discontinuo superior al especificado.

Evaluación visual en comparación con normas de color, detección de la pérdida de revestimiento.

Evaluar el producto: investigar las causas y corregirlas. Operario encargado y GC.

Registro de producción rellenado.

8 Envasado

El producto no se ajusta al peso indicado en la etiqueta.

Peso del producto inferior al indicado en la etiqueta.

Comprobación del peso del producto (p. ej. 5 muestras cada 30 min.)

Evaluar el producto: retener, dejar pasar o rechazar. Supervisor y GC.

Registro de producción rellenado.

9 Embalado en cajas

Número incorrecto de envases por caja. Cierre incorrecto de las cajas.

El número de envases es conforme a la etiqueta. Cierre incorrecto de la caja.

Comprobación física del cierre y el número de envases por caja.

Evaluar el producto: retener, dejar pasar o rechazar. Supervisor y CG.

Registro de producción rellenado.

10 Congelación*

Nos se ha congelado a -18°C dentro del tiempo especificado.

Excede el tiempo especificado.

Medir la temperatura del producto después de la congelación.

Evaluar el producto: retener, dejar pasar o rechazar. Supervisor y CG.

Registro de producción rellenado.

11 Cámara frigorífica en la planta de elaboración*

Excesiva pérdida de calidad por temperatura de almacenamiento elevada.

Temperatura del producto superior a -18°C.

Registro de temperatura para controlar la temperatura de la cámara frigorífica.

Si se superan los límites, retener la producción para evaluación biológica y sensorial: dejar pasar o destruir. Investigar las causas y corregirlas. Supervisor de la cámara frigorífica y GC.

Registro de temperatura: iniciales del supervisor.

12 Cámara frigorífica*

Excesiva pérdida de calidad por temperatura de almacenamiento elevada.

Temperatura del producto superior a -18°C.

Registro de temperatura para controlar la temperatura de la cámara frigorífica.

Si se superan los límites, retener la producción para evaluación biológica y sensorial: dejar pasar o destruir. Investigar las causas y corregirlas. Supervisor y GC.

Registro de temperatura: iniciales del supervisor.

13 Transporte*

Excesiva pérdida de calidad por almacenamiento a temperatura elevada.

Temperatura del producto superior a -18°C.

Registro de temperatura para controlar la temperatura del vehículo/contenedor.

Si se superan los límites, retener la producción para evaluación biológica y sensorial: dejar pasar o destruir. Conductor del vehículo y CG.

Registro de temperatura: iniciales del conductor del vehículo.

14 Almacenamiento en los puntos de venta al por menor*

Excesiva pérdida de calidad por almacenamiento a temperatura elevada.

Temperatura del producto superior a -18°C.

Control de la temperatura a intervalos regulares.

Si se superan los límites, retener la producción para evaluación biológica y sensorial: dejar pasar o destruir. Supervisor.

Registro de temperatura rellenado por el supervisor.

(*) Nota: Cada punto de transbordo entre los PCD 10 y 14 también podría considerarse como un PCD cuya descripción del defecto, límite, procedimiento de control, medidas correctivas y mantenimiento de registros serán respectivamente similares a los de los PCD indicados.

ANEXO 3: VIGILANCIA Y CONTROL DE LA TEMPERATURA EN LA CADENA DE FRÍO

INTRODUCCIÓN

El control de la temperatura es parte integrante de la gestión de la cadena de frío. En general es posible elegir entre diversos sistemas para el control de los productos congelados rápidamente, que incluyen la medición de las temperaturas del aire durante el funcionamiento de los sistemas de refrigeración y mediciones directas o indirectas de la temperatura del producto [o la medición de la temperatura en un producto simulador].

En el control de la temperatura del aire se utilizan sensores térmicos fijos para comprobar la temperatura del aire en el sistema refrigerado. La temperatura del producto puede medirse en forma directa o indirecta. La medición directa puede llevarse a cabo en forma destructiva o no destructiva.

Aunque la medición de la temperatura del producto puede brindar mayor seguridad en cuanto al cumplimiento de los requisitos de temperatura, la aplicación de este sistema no siempre resulta práctica en los períodos de mayor actividad de la producción y distribución.

1 CONTROL DE LA TEMPERATURA DEL AIRE

El control de la temperatura del aire permite:

1.1 EQUIPO DE CONTROL DE LA TEMPERATURA DEL AIRE

Los termómetros electrónicos consisten en un sensor (colocado en el aire frío) y un sistema de lectura o registro. El sensor puede hallarse lejos de este último, o bien estar incorporado al mismo. Hay también un registrador capaz de almacenar los datos, en general electrónicamente, aunque en las cámaras y contenedores frigoríficos siguen siendo muy comunes los registradores de cinta.

1.2 CONTROL DE LA TEMPERATURA DEL AIRE EN LA CÁMARA FRIGORÍFICA

Los sensores se colocarán en los lugares más cálidos de la cámara frigorífica, mientras que es más conveniente que los registradores se ubiquen fuera de la misma o en las oficinas de control.

Los sensores deben ubicarse en un lugar elevado, y bastante lejos de los ventiladores del enfriador y de las puertas de entrada y salida a fin de evitar temperaturas exageradamente bajas o amplias fluctuaciones térmicas.

Las cámaras frigoríficas pequeñas (menos de 500 m3) quizás necesiten solamente un sensor, mientras que las que tengan hasta 30 000 m3 de capacidad requerirán dos sensores. Las de capacidad comprendida entre 30 000 m3 y 60 000 m3 necesitarán cuatro sensores, y seis las de más de 60 000 m3.

En el caso de tiendas al por menor de capacidad inferior a 10 m3, será suficiente que estén dotadas de un solo termómetro visible.

1.3 CONTROL DE LA TEMPERATURA DEL AIRE DURANTE EL TRANSPORTE

La medición de la temperatura del aire que retorna al grupo refrigerador proporcionará una buena indicación de la temperatura de la carga, siempre y cuando se logre una corriente de aire suficiente en toda la longitud del vehículo.

En los vehículos más largos (más de 6 metros) se recomienda recurrir a la canalización del aire para garantizar que la parte trasera del vehículo reciba suficiente aire frío. Se recomienda instalar en el compartimiento dos sensores: uno para medir la temperatura del aire de retorno y otro situado entre dos tercios y tres cuartos de la longitud del vehículo, en los conductos del techo. La diferencia entre estas dos temperaturas debería dar una indicación en cuanto al funcionamiento de la refrigeración. Una diferencia grande o variable podría delatar un preenfriamiento insuficiente, la estiba inadecuada de las plataformas de carga, o demoras innecesarias en el cierre de las puertas. El registrador se colocará en la cabina del vehículo o bien se montará en el exterior, por lo general junto a los controles de la refrigeración.

1.4 CONTROL DE LA TEMPERATURA DEL AIRE EN LOS ARMARIOS EXPOSITORES

2 CONTROL DE LA TEMPERATURA DEL PRODUCTO

2.1 MEDICIÓN DIRECTA DE LA TEMPERATURA

2.1.1 ESPECIFICACIÓN DEL SISTEMA DE MEDICIÓN

El dispositivo que ha de emplearse para medir la temperatura del producto deberá tener una precisión mayor que el utilizado en el control de la temperatura del aire. Se recomiendan las siguientes especificaciones para el sistema constituido por el sensor y el dispositivo de lectura:

2.1.2 PREENFRIAMIENTO DE LA SONDA

2.1.3 MEDICIÓN NO DESTRUCTIVA DE LA TEMPERATURA

La comprobación no destructiva es rápida, y puede efectuarse sin perturbar excesivamente la carga. Sin embargo, considerando que lo que se mide es la temperatura exterior del envase o la caja, podrán existir diferencias de hasta 2°C entre la temperatura real del producto y la lectura obtenida. La medición no destructiva de la temperatura superficial del producto debe:

2.1.4 MEDICIÓN DESTRUCTIVA DE LA TEMPERATURA

Las sondas térmicas no están diseñadas para penetrar en los alimentos congelados rápidamente. Por consiguiente, se hace necesario practicar un orificio en el producto para insertar en él la sonda. El orificio se practicará utilizando un instrumento metálico de punta afilada, por ejemplo una perforadora de hielo, un taladro manual o una sonda, que se enfriará previamente. El diámetro del orificio deberá ajustarse con precisión al de la sonda. La profundidad a la que ha de insertarse esta última dependerá del tipo de producto, a saber:

2.2 MUESTREO DE LOS PRODUCTOS PARA MEDIR SU TEMPERATURA

2.2.1 DURANTE EL TRANSPORTE

Posiciones de muestreo del vehículo cargado

Posiciones de muestreo del vehículo descargado

2.2.2 VENTA AL POR MENOR

En caso de que se haga necesario medir la temperatura de alimentos congelados rápidamente contenidos en armarios expositores para su venta al por menor, se seleccionará una muestra de cada una de las tres ubicaciones representativas de los puntos más cálidos de los armarios frigoríficos. La ubicación de estos puntos será diferente para los distintos tipos de armarios expositores empleados en la venta al por menor.

[3 MEDIOS AUXILIARES OPTATIVOS PARA EL CONTROL DE LA TEMPERATURA: MEDICIÓN INDIRECTA DE LA TEMPERATURA

3.1 PRODUCTO SIMULADOR

Cuando resulta difícil controlar la temperatura del aire, será posible utilizar una muestra simuladora del alimento. Se trata de un objeto de forma similar a la del producto que se desea controlar, hecho de un material con propiedades térmicas parecidas y que da un factor de enfriamiento análogo al del alimento en cuestión. Materiales como el nailon, el polistireno, el cloruro de polivinilo, el pérspex y el politetrafluoroetileno poseen propiedades térmicas similares a las de la mayoría de los alimentos. Este tipo de dispositivo puede llevar incorporado de manera permanente un sensor térmico, y ser embalado junto con los envases de alimentos para efectuar mediciones cuando sea necesario. El producto simulador también puede incorporarse a un dispositivo de medición de la temperatura.

3.2 REGISTRADORES COLOCADOS ENTRE LOS ENVASES

Es posible colocar registradores térmicos pequeños y sólidos entre los envases o dentro de una carga, p. ej. en las cajas, a fin de registrar la temperatura durante largos períodos. Tales registradores se pueden programar, y las mediciones obtenidas se recuperarán por medio de un ordenador.

3.3 TERMÓMETROS QUE NO SON DE CONTACTO

Estos dispositivos miden la temperatura del alimento registrando su radiación infrarroja. La cantidad de radiaciones varía entre los distintos materiales, que las absorben, reflejan y trasmiten de manera diferente. Los termómetros de infrarrojos pueden ser portátiles y por lo general tienen forma de pistola, a veces con un dispositivo de láser para la lectura. El tamaño de la mirilla puede ser importante, ya que el instrumento saca un promedio de toda la radiación que registra en su campo visual. La interpretación de los resultados obtenidos por estos dispositivos en alimentos congelados rápidamente exige cierta cautela: un envase recoge rápidamente la radiación de su entorno, de manera que puede existir una diferencia entre la temperatura superficial y la del interior del producto. Además, el tipo de envase influirá en la radiación. En particular, los envases en lámina de aluminio pueden dar errores considerables puesto que este material refleja la radiación con mayor eficacia que el cartón. Ciertos dispositivos nuevos compensan este tipo de errores y miden la radiación a través de una ventana.

También se utilizan termómetros de infrarrojos fijos, similares a videocámaras. Estos aparatos proporcionan imágenes térmicas que permiten el control industrial de los procesos de calentamiento o enfriamiento para garantizar una elaboración uniforme. Lo mismo vale para el proceso de congelación. Por consiguiente es posible explorar un gran número de productos y escoger algunos “focos críticos”, pasando luego a mediciones más precisas de la temperatura.

3.4 INDICADORES DE LA TEMPERATURA (IT) E INDICADORES DE TÉRMICO-TEMPORALES (IIT)

Se han patentado muchos mecanismos que provocan un cambio de color cuando se ha excedido ya sea una temperatura específica (IT) o bien la exposición integrada a una cierta temperatura durante un cierto tiempo. Ha habido cierta renuencia a utilizar IT e ITT en los envases de venta al por menor, por una serie de razones: en particular, porque estos indicadores se encuentran en la superficie de los envases y no dentro del alimento, y por su posible conflicto con las fechas de durabilidad indicadas. Sin embargo se pueden emplear en el exterior de las cajas o plataformas para detectar si se han infringido los límites de temperatura durante la distribución desde las cámaras frigoríficas a los almacenes de los minoristas, y permiten vigilar el transbordo de los alimentos congelados rápidamente en situaciones en que quizás no se disponga de registros de control.]

4 CONTROL DE LA TEMPERATURA - ENFOQUE PROGRESIVO

1. Inspección visual

Þ

2. Inspección del alimento
Examen de los registros de la temperatura del aire

Þ

3. Medición no destructiva de la temperatura

Þ

4. Medición destructiva de la temperatura


En la inspección de alimentos congelados rápidamente antes de su carga y durante la descarga se recomienda aplicar un enfoque progresivo. Si éste indica que se ha alcanzado una temperatura indebida, se seguirá el procedimiento indicado en la sección 6.2.

1. Antes de la carga y durante la descarga se recomienda efectuar una inspección visual para verificar la condición de los alimentos.

2. En primera instancia se deberán examinar los registros de control de la temperatura y otras lecturas de la temperatura anotadas en la documentación que acompaña a los alimentos. Si la temperatura de carga ha sido correcta, el sistema de refrigeración funciona bien y no existen irregularidades en la diferencia de temperatura entre el aire que sale de la unidad de refrigeración y el aire de retorno, no será necesario adoptar otras medidas.

3. En caso de existir dudas sobre alguno de los aspectos mencionados se podría efectuar una medición no destructiva de la temperatura del producto. Esto comportará la lectura de la temperatura entre las cajas o entre los envases (véase la sección 2.1.3 del Anexo 3). Si la medición no destructiva indica que la temperatura del alimento se halla dentro de la tolerancia legal, la inspección podrá detenerse en este punto.

4. Únicamente si la medición no destructiva del producto indica que se excede la tolerancia o el límite legal, habrá que llevar a cabo una medición destructiva de la temperatura (véase la sección 2.1.4 del Anexo). Esta operación se realizará tras haberse colocado la carga en un ambiente refrigerado, a efectos de evitar el recalentamiento de los alimentos. La medición destructiva de la temperatura requiere tiempo, perturba el flujo de los alimentos a lo largo de la cadena, y resulta costosa porque los productos alimenticios en que se efectúa deben ser destruidos o eliminados de alguna otra forma.


[7] Concretamente, el Código de Prácticas del Codex para el Pescado y los Productos Pesqueros, el Código de Prácticas de Higiene para la Producción Primaria y el Envasado de Frutas y Hortalizas Frescas y su Anexo sobre Frutas y Hortalizas Frescas Precortadas Listas para el Consumo, y el Código Recomendado de Prácticas de Higiene para la Leche y los Productos Lácteos.
[8] Tratado en detalle en Guide to Refrigerated Transport, IIR/IIF, 1995


Página precedente Inicìo de página