(RAS/79/041)
| SCS/GFO/81/WP-1 | Villegas, C.T., Culture and screening of food organisms as potential larval food for finfish and shellfish |
| SCS/GFO/81/WP-2 | Tech, Elsie, Culture of phytoplankton |
| SCS/GFO/81/WP-3 | Tech, Elsie, Culture of zooplankton (Brachionus and Moina) |
| SCS/GFO/81/WP-4 | Junalon, N.A., R.F. Figueroa, A.G. Mabaylan and D.G. Estenor., Biology, use and culture of Artemia |
| SCS/GFO/81/WP-5 | Villegas, C.T., Yeasts as food organisms in aquaculture |
| SCS/GFO/81/WP-6 | Guerrero, R.D. III., Culture of invertebrates as food organisms for village-level fish hatcheries |
SCS/GFO/81/WP-1
CULTURE AND SCREENING OF FOOD ORGANISMS AS POTENTIAL LARVAL FOOD
FOR FINFISH AND SHELLFISH
by
Cesar T. Villegas1
1. INTRODUCTION
Fishes, as all animals, require adequate nutrition in order to grow and survive. Nature offers a great diversity of food to fishes including nutrients in solution and a host of different plants and animals.
By definition, food organisms include all plants and animal life grazed upon by economically important fishes. In an aquatic environment, they constitute the most valuable resource for extensive fish farming. If one considers the relative position of the eaters and the eaten, the herbivores and carnivores are at different vertical positions (trophic levels) of a food pyramid. The green plants occupy the bottom level that binds the solar energy for further transfer through the living world. Then comes the intermediate level composed of the herbivores - molluscs, many crustaceans and fishes. Finally, there is the highest trophic level, occupied by the carnivores, in which there may be several fishes that prey on other fishes (Lagler et al., 1962). The production of phytoplankton controls the production of zooplankton living on the former as well as that of fishes, crustaceans, and molluscs living on the latter plankton.
1 Researcher, Tigbauan Research Station, SEAFDEC Aquaculture Department, Iloilo, Philippines
In the context of mass seed production (hatchery of finfish, many crustaceans and molluscs) one of the most important factors governing survival and growth of larvae and fry is the availability of proper food. An understanding of the best items of food relishing and nourishing for the larvae and of the changing pattern of the feeding habits as the larvae grow towards the advance fry stage is of great importance for their successful rearing.
2. GROWING MEDIA FOR FOOD ORGANISMS
Different workers have reported different formulas for preparing artificial media and for enriching seawater for the culture of micro-algae. Artificial media have been reported to show the most constant results for the culture of microalgae in contrast to enriched seawater which show varying results depending upon the place and time at which the water was collected. Although artificial media may be the best media for small-scale culture because they produce constant results, some species do not grow in artificial media due to unknown factors affecting their growth. Some of the artificial and enriched media that have been developed and tested for culture of microalgae are enumerated as follows:
(a) A S P Artificial Media (Provosoli et al., 1975).
| A M O U N T | |||
| Chemical composition | A S P | A S P - 2 | A S P - 6 |
| NaCl | 2.4 g | 1.8 g | 2.4 g |
| Mg SO4.7H2O | 0.6 g | 0.5 g | 0.8 g |
| KCl | 0.06 g | 0.06 g | 0.07 g |
| Ca (as Cl-) | 40 mg | 10 mg | 15 mg |
| NaNo3 | - | 5 mg | 30 mg |
| K2 glycero phosphate | - | - | 10 mg |
| Na2SiO3 . 9H2O | 2.5 mg | 15 mg | 7 mg |
| “TRIS” | - | 0.1 g | 0.1 g |
| Vit B12 | 0.02 ug | 0.2 ug | 0.05 ug |
| Vitamin Mix 8* | 0.05 ml | - | 0.1 ml |
| Vitamin Mix S3** | - | 10 ml | - |
| Na2 EDTA | 1.0 mg | 3.0 mg | - |
| Na3 Versenol | - | - | - |
| Fe (as Cl-) | 0.01 mg | 0.08 mg | 0.2 mg |
| Zn (as Cl-) | 5.0 ug | 15.0 ug | 0.05 ug |
| Mn (as Cl-) | 0.04 mg | 0.12 mg | 0.1 mg |
| Co (as Cl-) | 0.1 ug | 0.3 ug | 1.0 ug |
| Cu (as Cl-) | 0.04 ug | 0.12 ug | 2.0 ug |
| H3BO3 | 0.2 mg | 0.6 mg | 0.2 mg |
| Mo (as Na Salt) | - | - | 0.05 mg |
| H2O | 100 ml | 100 ml | 100 ml |
| pH | 7.6 | 7.6–7.8 | 7.4–7.6 |
(b) Enriched media (used at Phycology Laboratory at SEAFDEC)
“F” medium (Guillard and Ryther, 1962) The composition of this medium is given in Practical Exercise No. 3.
Species cultivated in 1-liter dextrose bottles and 1-gallon jars are Skeletonema costatum, Phaedactylum tricomotum, Nitzschia closterium, Isochrysis galbana, Chaetoceros calcitrans and C. gracilis.
Walne's Medium (Walne, 1974) The composition of this medium is given in Practical Exercise No. 3.
Species cultivated in 1-liter dextrose bottles, 1-gallon jars and 20-liter carboys are Chlorella virginica, Chlorella sp., Scenedesmus sp., Tetraselmis tetrahele, T. chuii, Tetraselmis sp., Nanochloris sp., Isochrysis galbana.
TMRL Medium (Tungkang Marine Laboratory, Taiwan. Liao and
Huang, 1970)
The composition of this medium is given in Practical
Exercise No. 3
Species cultivated in 20-liter carboys and 200-liter tanks are Skeletonema costatum and Chaetoceros calcitrans.
3. ISOLATION METHODS
Many methods are used to obtain monospecific culture (unialgal culture). These methods can be used not only to isolate single species from natural plankton but also to isolate cultured strains that have become contaminated.
3.1 Repeated subcultures
This is a very simple and very useful isolation method. Put a drop of the plankton water that was collected by plankton net or other means into each of several small Erlenmeyer flasks (50 to 100 ml) or test tubes. It may be necessary to dilute the plankton water to lower the concentration of organisms and reducing the number and kinds of organisms in a drop. The flask or test tube should contain a variety of media such as natural seawater, enriched water or artificial media of different salinities. Then incubate under different conditions of temperature, light intensities, illumination time, etc. After a few days under these conditions, a dominant species will appear in each flask. When these happens, repeat the process by transferring a drop from each flask to a new flask containing the same media and then incubate this new flask under the same conditions. This second isolation will probably produce monospecific culture.

3.2 Agar plate method
First add agar powder to the medium at a 1.5% concentration (1.5 g per 100 ml medium), then heat the medium to dissolve the agar, and pour it into Petri dishes. This agar solution will solidify as it cools. Plankton water should be diluted to several trial concentration. Put a drop from each concentration of plankton water on a separate agar plate, and spread it over the surface of the medium with a glass rod. Then incubate the agar plates under favourable conditions. (Agar plates should be placed upside down so that water drops will not form on the lid and then fall on the culture). After 10 days or more, a few colonies of microalgae will appear on the surface of each plate. If one or more of the trial plankton concentrations is favourable, some of the colonies on at least one of the agar plates should be monospecific. Under a microscopic, pick up each monospecific colony together with some of the agar using a fine hook or other tool, if necessary. To determine if a colony is monospecific, it may be observed under a higher power microscope with a small amount of water added, and transferred to an Erlenmeyer flask containing the same liquid medium to continue the subculture in a liquid medium. A sterilized tool should be used for each colony.

Agar plate Method
3.3 Hooking and pipetting method
For this method, pour the plankton water, dilute if necessary into a Petri dish. Then pick up the desired species with a fine hook or a capillary pipette under a microscope, preferably a binocular microscope. Transfer the organism into an agar plate and examine it again under the microscope to be sure only one species is present. If only one species is present, it may be incubated on this agar plate or transferred to liquid medium in a flask. If another isolation is necessary to achieve a monospecific culture, either the repeated subculture method or agar plate method may be used or the hooking and pipetting procedure may be repeated.

Hooking and Pipetting Method
4. METHODS OF CULTURE
4.1 Phytoplankton
The mass culture of phytoplankton is achieved under laboratory controlled conditions and under field/outdoor conditions. Under laboratory conditions, sterilized or thoroughly cleaned containers are filled with filtered/sterilized seawater (28–34 ppt) and enriched with the addition of fertilizers, i.e., Guillard and Ryther's F. medium, Walne's medium or TMRL medium as enumerated above. The culture containers are inoculated with pure strains of the desired phytoplankton previously cultured in the laboratory. They are provided with heavy aeration and light through light bancs in a controlled laboratory with temperature of 25 ± 2°C. The exponential growth phase is generally observed in 36 hours to 3 days after inoculation. Cell density of 1.5 to 4.5 million cells per ml could be recorded.
The Japanese method of larval rearing in the hatchery involves direct fertilization of the tank water containing natural populations of phytoplankton. The fertilization is applied as follows:
| Sodium nitrate (NaNO3) | - 2 ppm |
| Iron chloride (FeCL3) | - 0.2 ppm |
| Potassium phosphate (K2HPO4) | - 0.2 ppm |
| Sodium silicate (Na2SiO3) | - 1.0 ppm |
| Clewat 32* | - 1.0 ppm |
As a sufficient quantity of phytoplankton inoculum usually is present in the coarsely filtered seawater when the nutrients are added, a phytoplankton bloom develops in a course of few days under substantial sunlight. However, it happens sometimes that diatom bloom is inhibited by lack of sunlight or due to the nature of seawater in the tank. In such cases, the addition of new seawater and/or addition of ferric chloride in small amounts may stimulate instant resumption of the diatom culture. Even though P. japonicus zoea have been reared on a diet of Skeletonema costatum, this diet has continued to be a major drawback using direct fertilization. At the temperature suitable for shrimp larvae (27°C), S. costatum bloom diminishes as the latter cannot be sustained at a temperature above 27°C. Consequently, S. costatum has been cultured separately (Hudinaga, 1942). Therefore, three factors determine the effectiveness of the fertilization method, namely, the phytoplankton inoculum present in the seawater, nutrients supplied and solar energy.
| * Clewat 32 (contents in 1 kg): | Iron | - 3.8 g |
| Manganese | - 7.7 g | |
| Copper | - 0.07 g | |
| Molybdenum | - 6.3 g | |
| Boron | - 24.7 g | |
| Cobalt | - 0.17 g | |
| EDTA | - a proper quantity |
For large-scale culture of S. costatum, Chaetoceros calcitrans and C. gracilis in 200-liter, 1-ton and up to 40-ton tanks at SEAFDEC, the use of starter diatoms consisting of pure culture is often employed. Normally, filtered fresh seawater is enriched with commercial inorganic fertilizer such as urea (46–0–0), 15 g/ton; 16–20–0, 15 g/ton and 21–0–0, 100 g/ton or 14–14–14 at the rate of 30 g/ton for Chlorella sp. and Tetraselmis sp. They are provided with heavy aeration and light. A rapid growth is observed in two days after inoculation except when the sun does not shine brightly in the case of outdoor cultures. A cell density of over one million cells per ml can be recorded. Other techniques for the mass culture of diatoms have been reported (Reynolds, 1975; Griffith et al., 1971; Palmer et al., 1975).
4.2 Zooplankton
The mass culture of zooplankton has been carried out under two methods: (a) those organisms which are likely to utilize organic matter directly, e.g., some rotifers and ciliates. These are to be cultured in a medium containing high quantities of organic matter, and (b) those which feed on phytoplankton like some copepods and cladocerans and fed daily or several times a day with phytoplankton grown in unialgal cultures.
Mass culture of freshwater zooplankters such as Daphnia lumhotzi Moina dubia and Brachionus mulleri has been successfully achieved in yard experiments (Nandy, undated; Nandy et al., 1977). The population and growth of D. lumhotzi, M. dubia and B. mulleri resulted in multiplication of the order of 15 000, 10 000 and 8 000 units per liter, respectively, in a sevenday period from an inoculum of 10 units per liter in each case. The population of D. lumhotzi is high in 1 ppm uniform suspension of dried brewer's yeast. In the case of Moina dubia, freshly cultured Scenedesmus obliquus at a feeding level of 0.025 ml/ind/day has served as suitable feed for the animal. Mahua oil cake at 740 ppm was food suitable to obtain sustained culture of Brachionus mulleri. The peak density was maintained for a period of two and half months (Nandy, undated; Nandy et al., 1977).
Reynolds (1974) has grown Brachionus plicatilis in an algal culture of Phaeodactylum tricomotum or Dunaniella sp. in natural seawater. Nandy et al. (1977) found that mahua oil cake alone at a dose of 740 ppm and in combination with raw cowdung and urea in the ratio of 6:3:1 (1 000 ppm concentration) was found to be suitable for sustained yield of B. mulleri with 8 000 and 7 500 units per liter in three weeks, respectively. Nitrogen in organic form gave better results than in inorganic form. Hirata and Nori (1967) have successfully produced Brachionus plicatilis using Chlorella sp. and Dunaiella sp.
5. SCREENING/EVALUATION OF FOOD ORGANISMS
Knowledge of natural food organisms and feeding habits of selected fishes are essential since high production depends on the balancing of converters at different trophic levels for maximum utilization of bioproductivity. Through observation in the field and examination of the content of the digestive tract, biologists have learned about feeding behaviour and the kinds of organisms that are eaten. Phytoplankton and zooplankton form the major food of many cultivable species. Diatoms, filamentous and some green algae, and a number of blue-green algae are very often found in the gut of various fin and shellfishes and they appear to be directly utilized as fish food (Esguerra, 1975; Schuster, 1960).
Karen and Aldrich (1970) reviewed the food and feeding habits of penaeids in general. Penaeids have been designated as omnivorous, carnivorous, plant and detritus feeders by many investigators. These suggest that penaeid shrimps have a wide range of diets.
As indicated by long experience in shrimp culture in Japan, one of the basic problems in mass seed production is to find out the appropriate food materials for the animals (Shigueno, 1970). Hudinaga (1942) in his early works on Penaeus japonicus used the diatom Skeletonema costatum which he considered to be excellent for the larval shrimp. The mass seed production as practiced at present has made pure culture unnecessary and mixed populations of diatoms have been found adequate. The phytoplankton which constitute the major food of the larvae from zoea to succeeding stages are varied in species composition represented by Melosira, Nitzschia, Skeletonema, Thalassiosira, Rhizosolenia, Chaetoceros and others. The mysis stage feeds on the diatom but it has been experienced that they feed also on animacules such as oyster eggs and its larvae as well as on the rotifer, Brachionus plicatilis. For feeding the post-larvae which succeed the mysis, the brine shrimp Artemia salina are supplied to the water during the final stage of the mysis up to post-larva 5 stage, the feeding of the larvae is shifted to either meat of clam or synthetic foodstuff.
In Tahiti, larval rearing of four species of penaeids as Penaeus merguiensis, P. aztecus, P. japonicus and P. monodon have been conducted. Difficulties in the mass production of Skeletonema costatum has led to its replacement by Cylindrotheca sp. and Tetraselmis sp. Cylindrotheca sp. of 150 000 cells per ml constitute the first food, then at the end of zoea 2, Tetraselmis at 10 000 to 40 000 cells per ml is used. The mysis receives the rotifers (10 ind/ml) and Tetraselmis (20 000 cells/ml), the post-larvae, Artemia salina nauplii (5 ind/ml). Locally isolated stocks of Isochrysis sp and Tetraselmis tetrahele have given equally good results. Isochrysis alone does not seem to perform as well as Cylindrotheca sp. but mixed with Tetraselmis it gives comparable results (AQUACOP, 1977).
Cook and Murphy (1966; 1969) and later Mock and Murphy (1970) used S. costatum to feed Penaeus aztecus and P. setiferus at feeding density of 15× 103 cells per ml at Galveston Laboratory. They have also tried algal food organisms such as Thalossiosira sp., Cylotella nana, Phaedactylum sp., Dunaniella sp., Gymnodium splendeus and Exuvielle sp. which have all been used successfully as food for the protozoeae. Isochrysis appeared to be the least suitable feed and the mixed algae and Thalassiosira as the best feed. Newly-hatched brine shrimp (Artemia salina) are supplied for food during the mysis stage at the rate of 3 Artemia nauplii per ml. The addition of algae is stopped one day after the introduction of brine shrimp.
The Tungkang Marine Laboratory in Taiwan has succeeded in propagating P. japonicus, P. semisulcatus, P. teraoi, Metapenaeus monoceros and M. joyneii. The larvae were fed with small plankters such as S. costatum and Nitzchia closterium. Optimal feeding density was found to be approximately 5 × 103 cells per ml. Chaetoceros was not suitable food and its long bristles got entangled with the appendages of the larvae. Starting from the mysis stage, Artemia nauplii (80 nauplii/larvae/day) or zooplankton like rotifers and copepods were supplied. As they reach the post-larvae 2 stage a mixture of minced bivalves, pig blood, squid and low class shrimp was given (Liao and Huang, 1970).
Larval rearing of milkfish, Chanos chanos Forskal has been reported by Liao et al., (1979). The larvae were fed with fertilized oyster eggs and its larvae, rotifers, copepods, brine shrimp, flour, prepared food together with Chlorella. Although Chlorella was added at a density of 50–350 × 104 cells per ml starting at day 1 to day 21 to maintain water quality and provide food for the rotifers that are consumed by the larvae, there was no evidence that the larvae were directly feeding on them. Larval survival rate obtained ranged from 8.8 to 46.8%.
At present, the feeding schedule for milkfish larvae at SEAFDEC, Tigbauan for the first 21 days rearing period is shown below (Juario, 1980):

Feeding schedule for the first 21 days
Five hours before hatching, the developing eggs are transferred to 600-liter fiberglass tanks and provided with strong aeration until the larvae start to hatch, i.e., 24 to 25 hours after fertilization. Stocking rate is about 10 000 eggs or 20 eggs/liter. Only one-day old Chlorella and Tetraselmis cultures are added to the rearing tanks. Rotifers, harpacticoid copepod and newly hatched Artemia nauplii are concentrated and washed thoroughly with aged and filtered seawater before adding them to the rearing tanks.
On the third day, water is changed with aged and filtered seawater whenever necessary - usually every 3 days during the 21-day rearing period or when the dissolved oxygen falls below 4.5 ppm. Continuous mild aeration is provided in each rearing tank. Highest average survival rate obtained is 38%.
Basically, the same techniques are used for rearing siganids (Siganus vermiculatus and S. canaliculatus) and mullet larvae (Mugil cephalus) except that instead of Chlorella, Isochrysis galbana is introduced into the rearing tank at a density of 67 × 103 cells/ml for siganids. The highest survival rates obtained so far were 0.1 and 0.4% for siganids and mullet, respectively.
No food other than unicellular algae has been found satisfactory for the larvae of Ostrea edulis (Walne, 1974) and within this group of plants, different species vary from complete food to ones which support no growth at all. Early experiments with the species of Cocconyxa and Chlorella gave little or no growth and it was suggested that their rather thick cell wall could not be attacked by the digestive system of the larvae. The related minute form Nannochloris atomus which is only 2 to 3 microns in diameter and perhaps more readily digested did produce spat in two experiments out of nine; in some of the others, it is probable that cell density was too low. Isochrysis galbana has been used as standard food for many years. The Bacillariophyceae family which comprises the diatoms are mostly too large to be eaten by oyster larvae. Some tests with Phaeodactylum tricornotum gave irregular and unsatisfactory results. Trials with Chaetoceros calcitrans and Cyclotella nana have given excellent results although they are difficult to maintain in large-scale dense cultures at all times. Later works demonstrated that better results can be obtained with mixed diets. A mixture of any of the three species - Isochrysis galbana, Tetraselmis suecica and the diatom, Chaetoceros calcitrans gave larvae which are significantly larger and contain a greater proportioned eye, after 8 days than any of the food on their own.
Loosanoff et al., (1963) showed that Monochrysis lutheri, Isochrysis galbana, Platymonas sp. and Dunaniella sp. are useful foods and Manochrysis or Isochrysis is good as a single food for many kinds of sea bivalve larvae. They also said that mixed food of these phytoplankton has an excellent effect for the growth in shell height. Davis et al., (1958) also attained the same results from their trials. Sato (1970) as cited by Takeda (1974) reported that the food effect of Chaetoceros calcitrans f. pumilis is better than Phaeodactylum tricomotum for the growth in shell length in the planktonic stage of the European flat oyster. Takeda (1974) studied the food effect of Chaetoceros calcitrans (10 000 cells/ml/day), Monochrysis lutheri, Chlorella ellipsoidea (40 000 cells/ml/day) divided into two and fed twice a day for larval oyster Ostrea edulis. Chaetoceros and Monochloris cells were suitable as single food for larvae but that the food effect of Chaetoceros cells for increasing shell length of the larvae was a little better than that of Monochrysis. Survival rate was 88.89%. On the other hand, Chlorella cells were eaten well by the larvae but could not be digested in the digestive organ. Therefore, the growth effect on larvae was not observed at all. Walne (1970) studied the food value of 19 genera of algae to juvenile bivalves of Ostrea, Crassostrea, Mercennaria and Mytilus. Marked differences were found in the food value of different algal species, with Dicrateria, Isochrysis, Skeletonema, Tetraselmis, Chaetoceros and Monochrysis giving good results with oysters. The results with clams were similar except that Monochrysis and Dicrateria were not so prominently good. Feeding at the correct concentration was particularly important for oysters but less so for clams.
6. NUTRITIVE VALUE AND SUITABILITY OF FOOD ORGANISMS
The diet of fishes must be balanced and contain the primary or basic food components - proteins, carbohydrates and lipids (fats) - in requisite though differing amounts for different species of fishes. Vitamins and minerals are also required for growth, sustenance and replacement of tissues as well as for normal metabolism.
Parson et al., (1961) analyzed the chemical composition of 11 species of marine phytoplankters grown under similar physical and chemical conditions and when cells were in their exponential phase of growth.
The proximate analyses of various algal species are shown below.
| Species | METABOLITES (PERCENTAGE DRY WEIGHT OF CELLS) | |||||
| Protein* | Carbohydrates | Fat | Total pigment** | Ash | Total | |
| Chlorophyceae | ||||||
| Tetraselmis maculata | 52 | 15.0 | 2.9 | 2.1 | 23.8 | 96 |
| Dunaniella salina | 57 | 31.6 | 6.4 | 3.0 | 7.6 | 106 |
| Chrysophyceae | ||||||
| Monochrysis lutheri | 49 | 31.4 | 11.6 | 0.8 | 6.4 | 99 |
| Syracosphaera carterae | 56 | 17.8 | 4.6 | 1.1 | 36.5 | 116 |
| Bacillariophyceae | ||||||
| Chaetoceros sp. | 35 | 6.6 | 6.9 | 1.5 | 28.0 | 78 |
| S. costatum | 37 | 20.8 | 4.7 | 1.8 | 39.0 | 103 |
| Coscinodiscus sp. | 17 | 4.1 | 1.8 | 0.5 | 57.0 | 81 |
| Phaeodactulum tricornotum | 33 | 24.0 | 6.6 | 2.9 | 7.6 | 73 |
| Dynophyceae | ||||||
| Amphidinium carteri | 28 | 30.5 | 18.0 | 2.4 | 14.1 | 93 |
| Exuviella sp. | 31 | 37.0 | 15.0 | 1.1 | 8.3 | 92 |
| Myxophyceae | ||||||
| Agmenellum qudruplicatum | 36 | 31.5 | 12.8 | 1.5 | 10.7 | 93 |
** Chlorophylls and carotenoids (sum of mg and MSPU/100 mg dry weight)
The relative suitability of the four major groups of algae produced in brackishwater ponds used for milkfish production was studied by Tang and Huang (1967). The nutritive ratio of fresh Chaetomorpha, phytoflagellates, filamentous blue-greens and the diatoms are respectively 1:33.44; 1:2.37; 1:1.18 and 1:1.54. The Chaetomorpha detritus has likewise been found to give a nutritive ratio of 1:1.66. The fresh Chaetomorpha is undesirable for milkfish and for management of ponds because; (i) it competes with the milkfish for living space and (ii) its coarseness and fibrous nature make milkfish unable to take it as food. The growth of phytoflagellate (Chlamydomonas and Chilomonas) is harmful to the life of milkfish and gives a great deal of trouble to fish farmers in the management of their ponds. The suspension of this microscopic organism in tremendous number (i) furnishes an unfit feed for the type of feeding apparatus of milkfish, (ii) reduces schooling and grazing activities of the milkfish by blinding their eyes, (iii) prevents the growth of desirable groups of algae on the stratum by shutting out the sunlight penetration, and (iv) often causes the high mortality of the milkfish by depleting the dissolved oxygen in the pond water resulting from the decomposition of the organic matter that accumulate from lead flagellates following full bloom.
The filamentous blue-greens (Oscillatoria, Lyngbia, Phormidium, Spirulina and Microcoleus) and the benthic diatoms (Navicula, Pleurosigma, Mastogloia and Nitzschia) serve as the most desirable food for the milkfish at various growing stages in ponds. Besides, they are palatable and nutritious and fit for the feeding mechanism of milkfish. A luxuriant growth of these algae on the stratum can also crowd out the undesirable algae and possibly harmful organisms in the ponds and furnishes the milkfish with better environmental conditions for growth.
7. CHOICE OF FOOD ORGANISMS
It is generally known that a number of aquatic algae form the food of fishes (finfish, many crustaceans and molluscs) directly or indirectly. Important criteria for the selection of food organism and best food condition for larvae are as follows:
Size and feeding density - it must be suited to the size of mouth of the aquatic animal to be bred. The diameter of the mouth of a larvae varies according to species.
Motility and floating capacity - it must have the moving power (to be moving at all times) and to have floating capacity. One with moving power but is sinking at the bottom is not desirable.
It must be nutritive.
It must be digestible and absortive. High nutritive value with poor digestibility is not desirable.
Preferably coloured. Feed having reddish tone is preferable to the transparent or white ones.
It must be obtainable or produced in large quantities.
It must have low production cost.
8. REFERENCES
Aquacop. 1977 Larval rearing of penaeids in a tropical environment (Translated from the original French by J.H. Primavera, March 1977).
Cook, H. and M.A. Murphy. 1966 Rearing penaeid shrimp from eggs to postlarvae. Proc. Conf. Southeastern Assoc. Game Commrs. 19: 283–288.
Cook, H. and M.A. Murphy. 1969 The culture of larval penaeid shrimp. Trans. Amer. Fish Soc. 98(4): 751–754.
Davis, H.C. and R.R. Guillard. 1958 Relative value of ten genera of microorganisms as food oyster and clam larvae. Fish Bull. 136: 293–304.
Esguerra, R.S. 1975 Enumeration of algae in Philippine bangus fishponds and in the digestive tract of the fish with notes on conditions favourable for their growth. Proc. Nat'l Bangus Symposium, Phil. Village Hotel, July 25–26, 1975.
Griffith, G.W., M.A. Murphy Kenslow and L.A. Ross. 1971 A mass culture method for Tetraselmis sp. - a promising food for larval crustaceans. Proc. First Annual Workshop World War. Soc. pp. 289–294.
Guillard, R.R.L. and J.H. Ryther. 1962 Studies of marine planktonic diatoms I. Cyclotella nana Hustedt and Detonula confervacea (Cleve) Gran Can. Jour. Microbiology 8: 229–239.
Hirata, H. 1974 An attempt to apply an experimental microcosm for the mass culture of marine rotifer, Brachionus plicatilis Muller. Mem. Fac. Fish. Kagoshima University 22: 165–172.
Hirayama, K. and T. Kasano. 1972 Fundamental studies on physiology of rotifer for its mass culture. II. Influence of water temperature on population growth of rotifer. Bull. Jap. Soc. Sci. Fish. 38(12): 1357–1363.
Hudinaga, M. 1942 Reproduction, development and rearing of Penaeus japonicus Bate. Jap. Jour. Zoology 10(2): 305–393.
Juario, J.V. 1980 Induced breeding of saltwater finfish in the Philippines. Paper read at the Induced Fish Breeding Workshop Sponsored by International Development and Research Council of Canada. Singapore, 25–28 November 1980.
Karim, M. and D.V. Aldrich. 1970 Influence of diet on the feeding behaviour, growth and thermal resistance of postlarval Penaeus aztecus and P. setiferus. Sea Grant Publication No. TAMU-SG-70–226. Texas A and M University.
Lagler, K.F., J.E. Bardach, R.R. Miller and d.R. May Passino. 1977 Ichthyology. Second Edition. John Wiley and Sons, Inc. New York. London. Sydney.
Liao, I.C. and T.L. Huang. 1972 Experiment on the propagation and culture of prawns in Taiwan. In Pilay, T.V.R. (ed.). Coastal Aquaculture in the Indo-Pacific Region. FAO by Fishing News (Book) Ltd. 328–353.
Liao, I.C. et al. 1979 On induced spawning and larval rearing of milkfish, Chanos chanos Forskal. Aquaculture, 180: 75–93.
Loosanoff, V.L. and H.C. Davis. 1963 Rearing of bivalve molluscs. Adv. Mar. Biol. 1:1–136.
McLachlan, J. 1973 Growth media - Marine. In Janet R. Stein (ed.). Handbook of Phycological Methods. Cambridge Univ. Press, Cambridge. pp. 25–51.
Mock, C.R. and M.A. Murphy. 1970 Techniques for raising penaeid shrimp from egg to post-larvae. Proc. First Annual Workshop World War. Soc. 1:43–56.
Nandy, A.C. Culture of fish food organisms for brackishwater aquaculture (leaflets)
Nandy, A.C., S.K. Majumder and R.K. Chakraborty. 1977 Experiments on the mass culture of Brachionus mulleri in glass aquaria. Proc. Symp. Warm Water Soopl. Spl. Publ. UNESCO/NIO. pp. 538–539.
Nandy, A.C., P.R. Das and S.K. Majumder. 1977 Technique to obtain sustained culture of a cladoceran, Daphnia lumholtzi Sars Proc. Symp. Warm Water Zoopl. Spl. Publ. UNESCO/NIO. pp. 540–542.
Parsons, T.R., K. Stephens and J.D.H. Strickland. 1961 On the chemical composition of eleven species of marine phytoplankters. J. Fish. Res. Bd. Canada 18(6): 1001–1016.
Palmer, F.E., K.A. Ballard and F.B. Taub. 1975 A continuous culture apparatus for mass production of algae. Aquaculture 6: 319–331.
Provassoli, L., J.J.A. Mc Laughlin and M.R. Droop. 1957 The development of artificial media for marine algae. Archiv. fur Mikrobiologie, Bd. 25: 392–428.
Reynolds, N. 1975 The culture of algae and rotifers in the fish food unit of Lowestoft. Fisheries Laboratory Technical Report Series No. 13. Ministry of Agriculture FAO. September 1975. pp. 1–6.
SCS/GFO/81/WP-2
CULTURE OF PHYTOPLANKTON
by
Elsie Tech1
1. INTRODUCTION
The suspended particulate matter in the sea consists of living organisms called plankton and dead particles commonly referred to as detritus. The term phytoplankton refers to the plant component which are “passibly drifting” along with water movements (Zeitzschel, 1970).
An arbitrary classification of phytoplankton based on cell size is given:
Phytoplankters belong mainly to the first two categories.
2. ECOLOGICAL IMPORTANCE
Phytoplankters are among the major producers in the sea. Though individually small in size, they contribute an enormous quantity of the world's supply of organic matter. They serve as the basic food in the sea for various consumers like zooplankton and fish. This component of the oceans is a vital link in primary productivity where their distribution, the composition of their communities, their seasonal cycles and growth are among the important factors which contribute to a better understanding of the ecology of the marine environment.
1 Research Associate, Tigbauan Research Station, SEAFDEC Aquaculture Department, Iloilo, Philippines
The size of a phytoplankton population at any particular area and time is dependent upon the rate of reproduction of the individuals comprising a population and upon the rate of removal of these individuals due to death, consumption by herbivores, or by passive transport in the water currents. The rate of growth, on the other hand, will depend upon the type and size of the parent stock, the light intensity reaching the water surface and the transparency of the water and upon the quantity and availability of elements essential for photosynthesis and plant growth (Ketchum, 1951).
3. POTENTIAL
Through the years, aquaculturists have considered phytoplankton as an essential tool in successful larviculture. Knowledge of the reaction between phytoplankton abundance and the success or failure of egg and larval development of fishes, crustaceans, bivalves, and other organisms has been difficult to obtain, although such a relation has long been suspected.
Phytoplankton may play any (or all) of the following roles in larviculture: (i) provide nutrients via accidental or active ingestion by the larvae; (ii) detoxify the water medium by assimilating or neutralizing inhibitory materials; (iii) improve the nutritional value of secondary food organisms like zooplankton; and (iv) secrete into the medium metabolic products which facilitate larval growth and/or development.
Many workers in the past relied on mixed populations of phytoplankton which normally occur in waters used for larval rearing. Fertilization of the tank water was done directly. The algal populations resulting from a “bloom” are then utilized for feeding purposes.
The disadvantage, however, of the direct fertilization method was that heavy blooms of the undesired species usually occur. Sometimes dominant species which grow are too large for the mouthparts of the experimental animals. Hence, this brought a need for screening of different algal species and isolation of the desired types.
4. SAMPLING/ISOLATION
Phytoplankton may be collected by towing special netting materials (180 meshes/sq. in.) through the water. A receiving container (usually a vial) is attached to one end of the net. This serves as a collector.
Examination of the water samples is done in the laboratory after which one may select (through the process of isolation) the desired species for culture.
It is suggested that preparatory cultures should first be done where the samples are cultivated for some time under various conditions of growth. Solutions of inorganic salts are used, the composition of which approximate that of the natural medium. The absence of organic matter in this artificial seawater, the strong illumination, and low temperature are effective factors in reducing bacterial growth in the preparatory cultures. Experience is also gained on the conditions suitable for growth and multiplication of a particular algal species.
Laboratory cultures of phytoplankton may be classified as follows:
Maintenance cultures - natural collections of algae kept in culture vessels; succession of the previously less abundant species over the dominant ones may occur.
Enrichment cultures - refer to crude collections of algae treated with specially selected culture media which will favour the rapid increase in number of a desired algal species.
Unialgal cultures - refer to populations consisting of a single algal species, although other microorganisms may be associated.
Axenic cultures - contain a population of a single algal species, all other living organisms absent.
Clonal cultures - refer to algal populations descended asexually from a single individual. Such type may or may not be axenic.
The manner of isolation is usually dictated upon by the type of algal cultures desired.
4.1 Biological isolation
Biological isolation may be attained through enrichment culture methods. Success in separating algae from other microorganisms depends on whether a clean, bacteria-free surface at some stage in the life cycle exists. In the Chlorococales group, for instance, cells newly released from the parent cell wall are practically void of surface contamination. This is also generally true for most diatoms and flagellates.
Separation may also be achieved through phototactic reactions of algal zoospores and flagellates. These forms are usually attracted to light. By transferring therefore part of a sample to a vessel with sterile water a certain degree of purification can be attained. The aim here is to single out cells from a mixture and use them for inoculation.
4.2 Mechanical isolation
Stein (1973) gives a good review of the various methods developed for isolation. Three methods of isolation are described below:
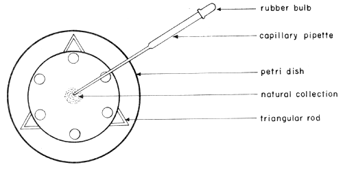
Capillary pipette method - an inverted petri dish top is used as an isolation dish (Fig. 1).
place 10–15 drops of the natural collection in the centre of the dish
place 6–8 drops of suitable liquid medium in six positions encircling the natural collection. Each droplet is then assigned a numerical code
with the use of a sterile capillary pipette, transfer the desired algal units from the natural collection to one of the six drops. Desired algal units are located while looking through an inverted microscope or a stereomicroscope
transfer a single algal unit from the first drop to the second drop
repeat the process (moving clockwise) until a single algal unit is present in a drop of liquid medium
transfer the single algal unit to a sterile tube containing liquid culture medium

Fig. 1 Inverted petri dish top
Streak plating - this method of isolation is recommended when size of desired algal species is about 10 um or less.
prepare Petri dishes containing sterile growth medium solidified by 1–1.5% agar
place 1–2 drops of natural collection near the periphery of the agar. Flame sterilize a wire loop or a glass rod using 70% ethanol and an alcohol lamp. Make parallel streaks of the suspension on the agar (Fig. 2)
cover, incubate the plate 4–8 days under suitable conditions for growth
through a stereomicroscope, observe and select the desired colonies for further isolation
remove a sample of the desired colony using a wire loop and place in a drop of sterile medium on a cover glass. Observe under high power objective of a compound microscope.
repeat streaking procedure using samples from a single colony (Fig. 3)
once growth is observed, transfer desired algal units to liquid or agar medium
Isolation on agar - separation of desired algal units from contaminants can be attained by inoculating them on an agar (solid) surface or by allowing the units to isolate themselves by creeping away from the contaminants.
prepare agar Petri dishes
remove the lids from the Petri dishes to allow the agar surface to dry
place a drop of raw material near the centre of the agar surface
while observing under a stereomicroscope, manipulated single algal unit in a zigzag manner using a flamesterilized fine needle until isolation is achieved (Fig. 4)
draw the isolated unit using a capillary pipette or separate the unit by cutting a small agar block with a sterile microspatula
transfer the isolated algal unit to a tube of liquid growth medium

Fig. 2 Streak plating method

Fig. 3 Pattern for streaking on agar

Fig. 4 Streaking on agar slant
5. GROWTH/CONDITIONS AFFECTING GROWTH
Growth usually refers to changes in the culture rather than changes in an individual organism. Growth denotes the increase in number beyond that present in the original inoculum. Four distinct phases of growth are described in Fig. 5.
The lag phase - after the addition of inoculum to a culture medium, the population remains temporarily unchanged. The cells at this point increase in size beyond their normal dimensions. Physiologically, they are very active and are synthesizing new protoplasm. The organisms are actually metabolizing, but there is a lag in cell division.
The logarithmic or exponential phase - the cells begin to divide steadily at a constant rate. Given optimum culture conditions, growth rate is maximal at this stage.
The stationary phase - at this point, the logarithmic phase of growth begins to taper off after several hours (or days) in a gradual fashion. The population more or less remains constant for a time, perhaps as a result of complete cessation of division or the balancing of reproduction rate by an equivalent death rate.
The phase of decline or death - the rate at which some cells die is faster than the rate of reproduction of new cells. The number of viable cells decreases geometrically.
The growth constant for a given species has a maximum value when measured under optimum conditions of growth. It is decreased markedly by departures from the optimum conditions with respect to temperature, light, and the amount of micronutrients present.
5.1 Light
To some degree, phytoplankton growth will depend on the light intensity, its duration, and the wavelength of the light to which the plant cells are exposed. In controlled rooms, white daylight fluorescent lamps may be used. In the absence of a controlled room maintenance, cultures may utilize light from a northern exposure (north windows). Outdoor cultures rely on sunlight for illumination.
5.2 Temperature
Temperature usually affects an organism's metabolic rate. Low temperatures are usually maintained in controlled rooms (18–23°C). Transfer of algal starters or inocula previously cultured in controlled rooms when scaled up for mass production should be done early morning to avoid stress brought about by sudden temperature increase.

Fig.5 The characteristic pattern of growth shown by a unicellular alga in a culture of limited volume
5.3 Nutrient medium
The chemical environment is defined by Krauss (1953) as a dilute solution from which all the raw materials necessary for structural and protoplasmic synthesis are drawn.
The earliest culture media formulated made use of the natural water medium which is seawater. In laboratory cultures, however, natural waters themselves are unsatisfactory for sustained algal growth mainly because some essential nutrients are usually present only in trace amounts. The concentration of these elements largely depend on dynamic equilibria which are disturbed as soon as water is collected. Miquel (1890–93) observed that the waters of lakes, ponds and the sea could not support in the laboratory continued and luxuriant growth of algae. Natural waters had to be enriched by the addition of some mineral salts that he compounded in the famous solutions A and B. This marked the beginning of the use of enriched culture media where specific conditions are imposed to encourage growth of particular organisms. After the work of Allen and Nelson (1910) on Miquel's solutions, the newly formulated Allen-Nelson “Miquel seawater” medium became the standard for enriching seawater.
Synthetic or artificial media were later developed for studies related to algal physiology and nutrition. Provasoli et al., (1957) have observed that artificial media show the most constant results for algal culture in contrast to enriched seawater media which may show varying results depending upon the time and place of collection of the seawater base.
Some observations (Chu, 1942), however, showed that although the heaviest cultures obtained have been in defined media, frequently growth fails in it and more often stops at a much earlier stage than in media containing natural materials.
In the years that followed, the general trend was towards the improvement of the currently existing synthetic media and the introduction of new ones.
These recent advances in algal culture somehow present probable answers to the many problems in aquaculture.
6. REFERENCES
Allen, E.J. and E.W. Nelson. 1910 On the artificial culture of marine plankton organisms. Journ. Mar. Biol. Ass'n. United Kingdom. 8: 421–474.
Chu, S.P. 1942 The influence of the mineral composition of the medium on the growth of planktonic algae. I. Methods and culture. Media. Journ. Ecol. 30: 284–325.
Ketchum, B.H. 1951 Planktonic algae and their biological significance. In Manual of Phycology (G.M. Smith, ec.). The Ronald Press Co., N.Y. Chapter 17. pp. 335–346.
Krauss, R.W. 1953 Inorganic nutrition of algae. In Algal Culture from Laboratory to Pilot Plant. Carnegie Ins. Washington Publ. 600. Chapter 8, pp. 85–102 (Burlew, J.S. ed.).
Miquel, P. 1890–1893 Dela culture artificielle des Diatomes. Le Diatomiste 1 (9–10): 93–99; 121–128.
Provasoli, L., J.J.A. Mclaughlin and M.R. Droop. 1957 The development of artificial media for marine algae. Archiv. fur Mikrobiol. 25: 392–428.
Stein, J.R. 1973 Handbook of phycological methods and growth measurements. Cambridge Univ. Press. 446p.
Zeitzschel, B. 1970 The quantity, composition, and the distribution of suspended particulate matter in the Gulf of California. Mar. Biol. 17(4): 305–318.
SCS/GFO/81/WP-3
CULTURE OF ZOOPLANKTON (BRACHIONUS AND MOINA)
by
Elsie Tech1
1. INTRODUCTION
Because of the vital role played by zooplankton in the food webs of the ocean, studies on the feeding behaviour, particularly those of copepods were conducted by various workers (Anraku, 1963; Jorgensen, 1955; Marshall, 1960; Mayr, 1963; Raymont, 1963; and Wickstead, 1962).
For years now, aquaculturists have considered the possible influence of size composition of marine phytoplankton on the population growth and reproductive performance of planktonic herbivores.
It was observed that when fed with algal mixtures in the laboratory, most zooplankton species appear to be size selective preferring the larger food organisms. Frost (1972), however, states that for calanoid copepods, preference has never been definitively established based on a number of experiments conducted and that purely mechanical aspects of the feeding process in the copepods may be responsible for the apparent preferential feeding. Unlike Artemia (Reeve, 1963) and Daphnia (McMahon and Rigler, 1965), which are relatively non-selective filter-feeding crustaceans, most copepods apparently feed discontinuously and show considerable discrimination when presented with a choice of several food organisms (Harvey, 1937; Mullin, 1963; 1966; Petipa, 1965; Mullin and Brooks, 1967). Calanus firmarchicus has shown very little signs of selective feeding behaviour (Marshall and Orr, 1955; Mullin, 1963). Daphnia pulex was observed to choose the most dominant organism in a given mixture of phytoplankton (Berman and Richman, 1974).
The quality of algal cells also seems to play a role in food preference of various zooplankton species. Ryther (1954) has observed a lower filtering rate of senescent cells of Chlorella vulgaris by Daphnia magna. Calanus finmarchicus digested young algal cells more rapidly than old cells.
Food intake may be influenced by cell concentrations of phytoplankton. In Calanus finmarchicus, for instance, fecal pellet production rises gradually with increased Dunaliella concentrations (Marshall and Orr, 1952).
Successful breeding of copepods is often achieved when feeding levels are high (Jacobs, 1961; Corkett and McLaren, 1969; Katona, 1970). Increased egg production was also noted with high or excess food concentrations (Marshall and Orr, 1952; Corkett and McLaren, 1969; Nassogner, 1970; Valentin, 1972).
Adult stages of the copepods, Acartia, Calanus, Pseudocalanus Oithona and those of the Eucalanidae and Paracalanidae rely mainly on phytoplankton for food. These organisms usually have blunt, grinding mandible teeth and numerous fine setae on the mouthparts. Food capture is usually carried out by filtering the particles out of the water. The omnivorous group (those which commonly feed on both plant and animal food) include Temora, Centrophages, and the Metridiidae. The predator types include Tortanus, Candacia, Euchirella, the Euchaetidae and the Pontellidae, most of which have sharp mandible teeth for piercing and tearing, and are capable of grazing active prey.
In the SEAFDEC Aquaculture Department, the more popular species of zooplankton utilized for shrimp and fishseed production are Brachionus plicatilis and Tisbintra elongata. The potential of the freshwater flea, Moina macrocopa as larval food has also received considerable attention since 1979.
2. CULTURE OF BRACHIONUS PLICATILIS MULLER
2.1 Taxonomic position
Phylum Trochelminthes
Class Rotifera (Rotatoria)
Order Monogononta
Suborder Ploima
Family Brachionidae
Subfamily Brachioninae
Genus Brachionus Pallas
Species Brachionus plicatilis Muller
2.2 General description of rotifers
Most rotifers are microscopic, aquatic animals, bilaterally symmetrical and provided with a nephridial system; special circulatory and respiratory systems are absent.
The body shape is extremely variable and is divided into three portions - the head, trunk, and the foot (post-anal portion). The entire integument is thin and flexible. In some forms, the integument is thickened in the middle portion of the body forming a sort of shell, called the lorica. The lorica's surface is sometimes provided with hollow ramifications, branches, or spines (Fig. 1).

Fig. 1 Brochionus
The body wall consists of the hypodermis (inner layer) which secretes an outer layer called cuticle.
The head carries a corona, which is surrounded by cilia. The presence of cilia normally provides for locomotory functions.
Generally, the male individuals are minute degenerate animals without any digestive organ. The female organisms are of two types - the mictic (those capable of being fertilized) and the amictic (those incapable of being fertilized). Mictic and amictic females are not distinguishable externally. Both types, however, produce eggs. For amictic females, only females of both types emerge from their parthenogenetically-developed eggs. For mictic females, parthenogenetically-developed eggs which are not fertilized give rise to male individuals; if fertilized, the same females produce resting or “winter” eggs. These eggs when hatched produce amictic females.
2.3 Distribution
The following ecological groupings have been considered:
Alkaline fauna-consisting of all rotifers living in hard water, the eggs of amictic females being tolerant of alkaline conditions.
Acid fauna-containing all rotifers living in soft water, the eggs of amictic females are able to tolerate acidic conditions.
Transcursion fauna - containing all rotifers living in either hard or soft water. The eggs of the amictic females tolerate such conditions.
Rotifers may be further distributed as follows:
Littoral species - those which glide on or attach themselves to the substratum or to submerged aquatic vegetation, or swim about in the littoral region of permanent bodies of freshwater.
Limnetic species - those which live in the open areas of permanent bodies of either fresh - or saltwater.
Psammolittoral species - those which live in the wet sand zone just above water level. The sand is constantly saturated by capillary attraction.
Sapropelic species - those which live in smaller bodies of water (fresh) which are polluted by decaying organic materials.
Anabiotic species - those which live in moss where moisture may be either permanent or temporary. Many of these rotifers are able to revive after dessication.
Marine species - those which live in brackish or saline waters of the ocean.
2.4 Potential
The rotifer Brachionus plicatilis is one of the most important zooplankton species presently utilized as live food for various cultivable marine animals. Ito (1963) found out that it was the best food for the larvae of the ayu fish, Plecoglossus altivelis. It was later used as food for the larval stages of the puffer, Fugu rubripes rubripes in Japan. Hirata in 1964 also used it for Penaeus japonicus larvae, as was observed by Hudinaga and Kittaka (1966). Faster larval development and high survival rates of P. orientalis were noted by Oka (1967) when he fed it with Brachionus plicatilis. Successful rearing of the early stages of the stone crab (Menippe merceneria) was achieved by Yang in 1971. High concentration Brachionus diet was noted to be good as mixed plankton diet for the anchovy Engraulis mordax (Theilacker and McMaster, 1971). Harda (1970) in his report on marine fish cultivation research in Japan stated the importance of B. plicatilis in fish larviculture. Fujita (1973) was of the same opinion.
Because of its high potential, numerous studies were then conducted aiming at mass producing this promising food organism. The works of Ito (1960), Hirayama and Ogawa (1972), Hirayama and Watanabe (1972), Hirayama and Kusano (1973), Hirayama et al., (1973), and Furukawa and Hidaka (1973) present valuable contributions on the physiology and optimum growth conditions of B. plicatilis. Their ecological requirements, population dynamics and feeding biology have also been studied extensively in both laboratory and mass-scale by various workers in the field of aquaculture (Erman, 1956; Ito, 1958; Nipkov, 1958; Rogovski and Tesch, 1960; Gilber, 1963; Laderman and Guttman, 1963; Halbach, 1970; Filatov, 1970; Baranova, 1971; Theilacker and McMaster, 1971; Pilarska, 1972; Askerov, 1972; Howell, 1973; Person - Le Ruyet, 1975; and Hino and Hirano, 1976).