Les objectifs primaires de la collecte des statistiques sur l'exploitation actuelle de Etang Saumatre sont les suivants;
Ainsi ces statistiques fourniront des estimation sur le nombre de pêcheurs sur l'Etang Saumatre et les captures par unité d'effort qui est un index de la densité des stocks des poissons. La collection de ces données est primordiale parcequ'elle nous permet d' estimer la prise maximale equilibrée.
Vu que l'effort et la production de pêche varie selon l'espace et le temps, la collecte des statistiques de pêche est basée sur la division de l'année hydrologique en quatre saisons (voir ref.: 5.) et aussi sur la division de la côte du lac en quatre zones (voir tableaux 11. et 12.).
Tableau 11.: Division de l'année hydrologique en quatre saisons.
| SAISON | DATE | DUREE (JOUR) |
| 1. Saison sêche | 30/11 – 27/3 | 128 |
| 2. Saison pluvieuse | 28/3 – 10/6 | 75 |
| 3. Saison sêche | 11/6 – 29/7 | 49 |
| 4. Saison pluvieuse | 30/7 – 29/11 | 123 |
Tableau 12. : Division de la côte de l"Etang Saumatre
| ZONE | LOCALISATION | LONGEUR (KM) |
| 1. ZONE 1 | Grand pointe- Place Leroy | 16.2 |
| 2. ZONE 2 | Place Leroy- Fond Parisien | 12.8 |
| 3. ZONE 3 | Fond Parisien- Malpasse | 17.8 |
| 4. ZONE 4 | Malpasse- Grand Pointe | 24.4 |
Dans une certaine zone donnée et pendant une saison donnée, l'enquêteur fait un recensement de tous les pêcheurs actifs dans ce secteur du lac, deux fois par semaine. Les autres jours de la semaine, les captures des différent engins de pêche sont enregistrés en kg ainsi que leur répartition selon l'espèce. Pour déterminer la selectivité des engins, la fréquence des tailles est notée (voir Annexe 4.).
La majorité des pêcheurs rencontrés sur l'Etang Saumatre sont des pêcheurs à mi-temps avec la production agricole comme source de revenu principal et leur embarcations et leur engins de pêche sont très rudimentaires.
Sans reprendre les descriptions détaillées des embarcations et des engins de pieche qui sont présenté par ailleurs (ref.: 11,25), nous rappelons qu'il y a quatre types d'embarcations, chambre à air, pipirit, bois fouillé et le koalin. Les trois dernièrs sont seulement utulisés dans la partie N-O de ce lac.
Six types d'engins de pêche ont été identifiés, lignes, filets maillants, nasses, tramay, panier et des draps.
Vu le manque de personnes adéquates disponibles, l'enquête c'est concentrée sur la zone 1, ou la plupart des pêcheurs de l'Etang Saumatre sont actifs.
Dans la zone 1, il y a environ 160 pêcheurs actifs par jour qui capturent ensemble 360 kg châque jour pendant la période de 30/7 à 29/11. Ces données sont beaucoup plus élèvées que celles de Winfield, qui a sousestimé les pêcheurs qui pêchent près de la côte.
Sur cette base et sans prendre en considération la variation saisonnière, la production annuelle peut être estimée à 130 T/an pour ce secteur.
La composition des captures est très différente pour les différents engins de pêche (voir figure 7., 8., et9.).
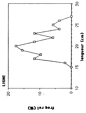
Pour le “tramay” et les draps, presque la totalité de la capture est constituée de C. haitiensis (79.4 et 87.5 % respectivement). La dimension des mailles (25 mm) dans le “tramay” affecte le recrutement de cet espèce, car la longueur moyenne des poissons capturés (120 mm) est plus petit que L50 (125 mm).
T. mossambica constitue 57.6 % des captures par filets maillant. La longueur moyenne des poissons capturés (200 à 220 mm) est beaucoup plus grande que L50 (170 mm), et n'affecte alors pas le recrutement.
C. haitiensis et G. dormitor constituent respectivement 42,2 et 35.7 % des captures pour les nasses. L'espacement entre les tiges des nasses est si minime, que cette engin réduit également le recruitement de C. haitiensis.
Tableau 13.: Capture par unité d'effort avec embarcation a L'Etang Saumâtre
| Engins | kg/jour/embarc. | Effort (nbr embarc) | Kg total/engin |
| 1. Skiff/filet maill. | 2.00 | 8.30 | 16.60 |
| 2. pipirit/ligne | 1.32 | 10.12 | 13.88 |
| 3. Bois fouillé/filet | 2.00 | 1.22 | 2.45 |
| TOTAL | 19.64 | 32.93 |
Tableau 14.: Capture par unité d'effort sans embarcation.
| Engins | kg/jour/pêcheur | Effort (nbr pêcheurs) | Kg total/engin |
| 1. Filet maillant | 2.00 | 0.3 | 0.60 |
| 2. Ligne | 1.32 | 25.82 | 34.08 |
| 3. “Tramai” | 4.75 | 37.22 | 176.79 |
| 4. Drap | 1.46 | 54.17 | 79.08 |
| 5. Panier | 1.30 | 18.87 | 24.52 |
| 6. Nasses. | 2.08 | 6.12 | 12.72 |
| TOTAL | 138.46 | 327.79 |
Figure 7.: Sélectivité des différents engins de pêche pour C. Haitiensis.
![]() | ![]() |
![]() | ![]() |
Figure 8.: Sélectivité des différents engins de pêche pour T. mossambica.
![]() | ![]() |
![]() | ![]() |
Figure 9.: Répartition des captures selon des engins de pêche.

A partir du modèle global de Graham-Schaeffer, une estimation de la prise maximale equilibrée peut être calculée basée sur les données de l'effort et de production. Les differentes étapes de cette application sont décrites ci-dessous (ref. 17).
Vu que la pêcherie de l'Etang Saumatre était stable pendant plusieurs années, les resultats de cette première année peuvent être utilisés comme un premier set de données. Dans un avenir pas trop lointain, l'amenagement des routes Malpasse - Croix de Bouquet et Nan Tête Source - Thomazeau facilitera le transport des poissons provenant du lac vers Port-au-Prince. Vu la demande et le prix élèvé des poissons dans le capital, les pêcheurs seront encouragés pour augmenter leur production et ainsi augmenter le taux d'exploitation de ce lac. A ce moment un deuxième set de données peut être collecté pour déterminer la prise maximale équilibré.