Página precedente Indice Página siguiente


Energía para el desarrollo


Importancia del carbón vegetal
La destilación de la madera
La gasificación: Una tecnología prometedora
Madera para producir electricidad

Importancia del carbón vegetal

Una forma relativamente sencilla de aprovechar la riqueza forestal de un país con fines de desarrollo, es fomentar la producción de carbón vegetal destinado a los hogares y a la industria. Un estudio de la FAO en la República del Camerún ha mostrado que mejorando simplemente el rendimiento de la producción de carbón vegetal y utilizando mejores hornillos, pueden liberarse cada año para otros fines 1,9 millones de m3 de combustible de madera. Se reduciría así el uso del keroseno en los pueblos y ciudades, y se beneficiaria a los habitantes del campo; además, un porcentaje de los combustibles fósiles importados quedaría libre para otros usos, por ejemplo para la industria química.

El fomento de las industrias basadas en el consumo de carbón vegetal se justifica cuando la leña tiene que ser transportada desde grandes distancias. Este tipo de industrias ofrece varias ventajas económicas y sociales, porque:

· se crean empleos;
· se crea un flujo de dinero del sector urbano al sector rural;
· se economizan divisas;
· se obtienen divisas de la exportación de carbón vegetal;
· se proporciona a la industria materia prima para combustibles y para productos químicos;
· se aumenta la rentabilidad de los montes, y
· se suministra a las ciudades un combustible que no hace humo.

La producción de carbón vegetal es especialmente rentable allí donde los bosques tienen buenas especies de frondosas. En este tipo de bosques, el aclareo de las especies de menor valor beneficiará a las de mayor valor. Ahora bien, es una tarea que lleva mucho tiempo y que a menudo no produce resultados inmediatos. Pero si el producto de los aclareos se convierte en carbón vegetal, el costo disminuye casi a cero, y se podrá utilizar como combustible madera que de lo contrario se desperdiciaría Al mismo tiempo, se crearán empleos.

Una industria de carbón vegetal puede ofrecer, tanto a las grandes como a las pequeñas industrias, una alternativa al uso de los combustibles fósiles, y este carbón es, en realidad, el combustible preferido por algunas industrias rurales de pequeña escala. Mezclándolo con la piedra caliza se obtiene, por combustión, cal viva, y puede también utilizarse como combustible pulverizado para producir cemento; con una tonelada, aproximadamente, de carbón vegetal, se obtienen cuatro toneladas de cemento Pórtland.

Sus propiedades reductoras son también útiles en la separación de metales; al parecer, es tan bueno - si no mejor - que el carbón de coque. En Brasil, Argentina, Malasia, Australia y la India existen industrias metalúrgicas que consumen carbón vegetal. La acería brasileña Acesita, utiliza cerca de 480 000 toneladas de carbón al año para la fundición del acero, de las cuales 250 000 se obtienen de las plantaciones de eucaliptos establecidas con tal fin. El carbón vegetal tiene también muchos usos como materia prima química, para la purificación de aguas y depuración de aparas residuales, así como para la fabricación de materias como pólvora, pigmentos, caucho y algunos piensos animales.

Por último, un estudio de la FAO concluye que varios países podrían exportar carbón vegetal a los países vecinos, con beneficios para ambos, siempre que pudieran resolverse algunos problemas económicos y que no se impusieran excesivas tasas a la importación.

La destilación de la madera

El carbón vegetal es un útil subproducto de la madera, y se obtiene por el proceso de carbonización. Tratando la madera de diferentes formas pueden obtenerse también otros subproductos útiles. La destilación destructiva - conocida también como pirólisis o destilación de la madera - es parecida a la carbonización, salvo que la madera se calienta en un recipiente cerrado y se recogen los gases y líquidos producidos. Algunos de esos gases pueden después condensarse para obtener una serie de productos químicos, y los que no se condensan pueden utilizarse como combustible gaseoso para el proceso mismo de destilación, o para cualquier otro fin.

Una tonelada de madera seca tratada da 300 kg de carbón vegetal, 140 m3 de gas combustible, 14 litros de alcohol metílico, 53 l. de ácido acético, 8 l. de ésteres, 3 l. de acetona, 76 l. de aceite de madera y de alquitrán ligero, 12 l. de aceite de creosota y 30 kg de brea. Muchos de esos productos pueden utilizarse directamente, mientras que otros son materias primas químicas para la industria.

La destilación de la madera es en realidad otro procedimiento para hacer carbón vegetal. Se necesita un equipo más complicado que para la producción convencional, pero el proceso es más rentable desde el punto de vista energético. La producción de carbón vegetal en una retorta, condensando los gases afluentes, puede aumentar considerablemente la energía que se obtiene; los países que emplean este método ganan mucho simplemente con la energía extra obtenido. Además, los subproductos pueden utilizarse de manera sencilla y rentable; por ejemplo, en Ghana y en Costa Rica los gases producidos se utilizan para secar la leña destinada a los sistemas de calefacción, y los líquidos como agentes de conservación de la madera.

Las economías de energía que podrían conseguirse con esa técnica han sido estudiadas detalladamente para Ghana, que produce casi 100 000 toneladas de carbón vegetal al año, equivalentes a unos 420 000 barriles de petróleo; el rendimiento es del 15 por ciento, de modo que hacen falta unas 700 000 toneladas de biomasa seca. Con los nuevos equipos de pirólisis podrían recuperarse 500 000 toneladas de carbón vegetal, aceites y gases, que representan del 70 al 80 por ciento del contenido de energía de la biomasa original, con un valor energético equivalente a más de dos millones de barriles de petróleo. La diferencia, de más de un millón y medio de barriles de petróleo, vale a los precios actuales cerca de 45 millones de dólares en divisas, igual a casi un cuarto del precio de toda la energía consumida en Ghana.

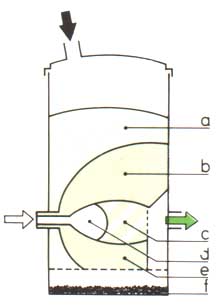
A corriente ascendente

a biomasa
b gas
c desecación
d pirólisis
e reducción
f combustión
g rejilla
h aire

B corriente descendente

C corriente transversal

a humedad extraída
b alquitranes y otras sustancias volátiles extraídas
c C+2H2® CH4
C+H2O® CO+H2
C+CO2® 2CO
d C+O2® CO2
e carbón ardiente
f cenizas

De los tres principales tipos de gasificadores, el modelo de corriente ascendente (A) se utiliza usualmente para suministrar gas destinado a calentar directamente, y el modelo de corriente descendente (B), para accionar los ejes de transmisión. El modelo de corriente transversal (C), que se fabrica actualmente en Brasil, se utiliza para los motores de hasta 50 kW de potencia

Las nuevas técnicas de fabricación de combustibles de madera tienen muchas posibilidades. La FAO fomenta su aplicación publicando manuales técnicos sobre los métodos, sencillos o industriales, de fabricación del carbón vegetal, y ayuda a varios países en desarrollo a organizar cursos de capacitación, seminarios y cursos de trabajos prácticos sobre la producción de este carbón. La FAO presta también su colaboración a varios países en el estudio de las posibilidades de sustituir los combustibles fósiles con leña para los usos industriales, como por ejemplo en el programa «Madera para la producción de energía», en Honduras. Se estudian también las posibilidades técnicas y económicas de utilizar la leña en las industrias de fabricación de cemento, de cal y de ladrillos, así como para producir vapor en las industrias forestales y en las de tratamiento de los alimentos.

La gasificación: Una tecnología prometedora

La pirólisis no debe contundirse con el proceso de gasificación, en el que la madera, el carbón vegetal y otras materias orgánicas arden en una atmósfera restringida de aire, con desprendimiento de gas combustible. Este gas, denominado gas de producción, puede utilizarse para diversos fines; es un combustible ideal tanto para los motores diesel como los de gasolina, y por esto puede utilizarse en el transporte, para hacer funcionar motores fijos y para producir electricidad.

Muchas de las técnicas industriales de la madera son antiguas, y están siendo ahora redescubiertas en los países en desarrollo, que no pueden permitirse los enormes gastos de importación de combustibles fósiles cuando sus exportaciones están disminuyendo. La gasificación es una de esas técnicas, y la última vez que se utilizó en Europa en gran escala fue durante la segunda guerra mundial, como combustible para 700 000 vehículos y en un momento en que era prácticamente imposible obtener otros combustibles. En 1941, la compañía estatal sueca de ferrocarriles mantenía en funcionamiento más de cien trenes a gas.

Actualmente se fabrican gasificadores en las Filipinas - donde el 44 por ciento de las divisas que se obtienen con las exportaciones se destinan al pago de las importaciones de petróleo - a un precio de 50 dólares por kilovatio. En su primer año de producción, la empresa filipina GEMCOR vendió 850 gasificadores pequeños, de los cuales 450 tenían 12 kW de potencia, y se utilizaban para el funcionamiento de los pequeños botes de pesca costera denominados bancas; otros 200, de 45 kW, para las zonas de riego, y los restantes para los vehículos comerciales ligeros. La GEMCOR esperaba vender 4 000 unidades en 1983, y se calcula que la demanda filipina durante los próximos cinco años será de 419 000 unidades, con una economía en cuanto a importaciones de petróleo, de más de 1 000 millones de dólares. En Brasil unas sesenta compañías utilizan los gasificadores para hacer funcionar vehículos, alimentar hornos y producir cal, una industria en la que se afirma que con los gasificadores se puede reducir el consumo de madera de 2,5 a 0,8 toneladas por cada tonelada de cal producida. En ese país sólo se utiliza carbón vegetal como combustible de los gasificadores, porque así se reduce el costo del equipo, ya que los gasificadores que utilizan otros combustibles deben poder eliminar grandes cantidades de alquitrán. También pueden utilizarse mazorcas de maíz, residuos de madera en forma de astillas o de bloques, y cortezas de coco para hacer funcionar los gasificadores. Se debe estudiar todavía el empleo de otros combustibles más difíciles, como el serrín y las briquetas a base de cascarilla de arroz.

En Paraguay se han modificado algunos motores para que funcionen con gas de producción. Desde 1981 los aserraderos Sapire, así como las casas de los trabajadores que viven en las proximidades, reciben electricidad producida a gas, lo que ha permitido economizar considerables cantidades de combustible diesel que antes se compraba en la localidad más cercana, situada a 100 km de distancia. La FAO ha proyectado también un sistema integrado de energía para Sri Lanka, proyecto que demostrará que con la gasificación de la madera se puede obtener electricidad para las comunidades rurales. El proyecto está subvencionado con fondos fiduciarios aportados por Finlandia.

En muchas partes de Tailandia no se aprovechan los residuos de madera de la industria de aserrado, que recientes informes de la FAO indican como combustible económico para alimentar los gasificadores cuyo gas se destina a producir electricidad. Según los experimentos efectuados en los aserraderos Sri Maharaja de la provincia de Cholburi, con 54 kg de astillas se pueden producir 14 kWh de electricidad. Con pequeñas unidades situadas en las fincas vecinas se podría aumentar la productividad, y los experimentos efectuados en Filipinas indican que los gasificadores también dan buenos resultados para secar los cultivos y moler el arroz. En las islas de Tahití y Kiribati, en el Pacifico, gasificadores alimentados con cáscaras y cortezas de coco están suministrando energía electrice, y en Samoa occidental se construyen gasificadores para secar la copra.

Modernos gasificadores en funcionamiento: 1) en la industria de la cal, Brasil;

Modernos gasificadores en funcionamiento: 2) en un barco de pesca, Filipinas;

Modernos gasificadores en funcionamiento: 3) en una mezcladora de cemento, Filipinas;

Modernos gasificadores en funcionamiento: 4) en un tractor, Brasil

En Costa Rica, la FAO fomenta una técnica análoga basada en un pequeño convertidor para producir carbón de madera de serrín y, al mismo tiempo, producir energía térmica, eléctrica y mecánica por medio de un motor de vapor. El polvillo de carbón vegetal derivado del proceso sirve para fabricar cal y cemento, y también como reductor para las industrias metalúrgicas; puede utilizarse además para economizar considerables cantidades de combustibles fósiles.

Una técnica afín pero más sencilla, que podría ser de nuevo de considerable interés económico, es la basada en las calderas y motores de vapor tradicionales. Con las nuevas técnicas y materiales disponibles, máquinas baratas y de buen rendimiento podrían acoplarse a una caldera alimentada con combustibles tales como el serrín, la paja y la cascarilla de arroz. Estos combustibles se queman en su estado natural, sin ninguna preparación costosa. Las modernas calderas de ese tipo pueden quemar simultáneamente varios combustibles diferentes, incluso mezclas de sólidos, líquidos y gases.

Todas las técnicas hasta ahora citadas requieren ciertos conocimientos químicos y mecánicos. La única forma de obtener directamente de los árboles combustibles análogos a los productos del petróleo es empleando especies que exuden un látex con las propiedades técnicas adecuadas. Actualmente se investigan varias especies, casi todas pertenecientes a la familia Euphorbia. Según ciertos cálculos, una fábrica donde se tratasen 1 000 toneladas diarias de Euphorbia lathyris, procedentes de una plantación de 13 000 hectáreas, rendiría 80 t de aceite combustible al día, a un costo de 40 a 60 dólares el barril. Según otros cálculos, podría obtenerse aceite combustible de E. lathyris al bajo costo de 20 dólares el barril.

El aceite de semillas de girasol se utiliza ya en algunos países como aditivo del aceite pesado. De las hojas de la planta brasileña Copaiba multijuga se obtiene aceite combustible, y perforando el tronco se pueden obtener de 20 a 30 l. en dos o tres horas. Se han hecho funcionar motores diesel con aceite combustible tomado directamente del árbol.

Sin embargo, se necesitan más investigaciones antes de poder esperar que estos árboles lleguen a producir naturalmente un aceite combustible comercial. Una estimulante posibilidad futura es llegar, con operaciones genéticas, a crear un árbol que produzca un combustible con características tales que no necesite refinamiento.

Madera para producir electricidad

Es natural que la industria de transformación de la madera haya utilizado casi siempre este combustible para algunas de sus actividades. La industria del papel, en cambio, consume muchísima energía y depende en gran medida del petróleo. En un estudio realizado por una empresa finlandesa para la FAO se llegó a la conclusión de que en los países en desarrollo la madera puede proporcionar energía para las fábricas de papel a menor costo que el petróleo, ya se la utilice para producir calor en forma de vapor, o fuerza motriz en forma de electricidad.

A conclusiones análogas se ha llegado con respecto a las fábricas de madera y paneles de madera. Aunque construir fábricas que utilizan madera como fuente de energía cuesta más que las que consumen petróleo, el funcionamiento de aquellas es mucho más barato. Según el informe de la FAO, las mayores inversiones pueden amortizarse en tres o cuatro años, gracias a las economías de combustible. Según los cálculos, la madera aserrada costaría 11 $/m3 empleando petróleo como fuente de energía mientras que con la madera costaría sólo de 6 a 7 $/m3. Análogas economías se registrarían en la producción de madera contrachapada.

Los aserraderos son ideales para transformar la madera en energía. Según un informe de la FAO, utilizando el petróleo como combustible la madera aserrada cuesta 11 $/m3, mientras que utilizando madera resulta sólo a 6 o 7 $/m3

Hay actualmente grandes posibilidades de utilizar la madera de construcción para generar electricidad barata fuera del sector de las industrias forestales. Algunas técnicas se están probando en algunas islas del Pacífico, donde la importación de petróleo resulta muy cara, y donde muchos árboles de los cocotales están casi al término de su vida útil.

La replantación es necesaria, pero enterrar o quemar los árboles viejos es una operación costosa; por ello, un reciente estudio de la FAO sugiere que en vez de enterrarlos o quemarlos se los use para obtener electricidad. Los extensos cocotales podrían suministrar constantemente combustible a las centrales de energía eléctrica. Si bien la replantación comporta operaciones de corta, rajado y remoción que cuestan dinero, se obtendría como resultado electricidad muy barata.

En el informe se analizan tres ejemplos de central: un generador de 20 kW, que funciona ocho horas al día para suministrar energía eléctrica a una aldea de Fijian; un grupo de 100 kW, para suministrar energía eléctrica a una estación de investigación de cocotales en la isla de Santos, Vanuatu, y una central, de 1 000 kW, para suministrar energía eléctrica a un centro urbano situado en la isla Efate, también en Vanuatu. Una central eléctrica de 1 000 kW podría funcionar durante una semana con 41 270 litros de aceite diesel o con la madera de cocotales viejos de 5,5 hectáreas de extensión, aproximadamente. La isla tiene 7 000 ha de cocotales, y la producción podría ser constante si se replantaran cada año de 250 a 300 hectáreas, con lo que se dispondría de suficiente madera de construcción para que la central eléctrica funcionara ininterrumpidamente. El informe llega a la conclusión de que la electricidad resultaría considerablemente más barata que usando aceite diesel instalaciones análogas podrían construirse en Tonga y en Papua Nueva Guinea.

Centrales eléctricas que funcionan quemando madera denominadas también plantas dendrotérmicas - se han construido en otras zonas donde no abundan los cocotales viejos. En el estado de Gujarat, India, funciona una instalación alimentada con la madera que se obtiene de plantaciones especialmente cultivadas. En las Filipinas se planea construir plantas dendrotérmicas que utilizarán como combustible el ipil-ipil (Leucaena leucocephala) cultivado en las plantaciones vecinas; la primera unidad, de 3 MW, se está construyendo en Pangasinan, Cabo Bolinas, en la isla de Luzón, e irá seguida de la construcción de otras. Para 1990 se prevé que en las Filipinas la capacidad de producción de energía eléctrica utilizando la madera como combustible llegará a los 200 MW.

Estas actividades no se limitan únicamente a los países en desarrollo. En Irlanda, por ejemplo, desde hace mucho tiempo se produce electricidad quemando turba, pero muchas de las turberas están actualmente agotadas. Hay planes para replantar de árboles las zonas agotadas, y utilizar la madera para alimentar ininterrumpidamente las centrales eléctricas. Otros países desarrollados están estudiando también las ventajas de las plantas dendrotérmicas.


Página precedente Inicìo de página Página siguiente