Page précédente Table des matières Page suivante


Filets maillants

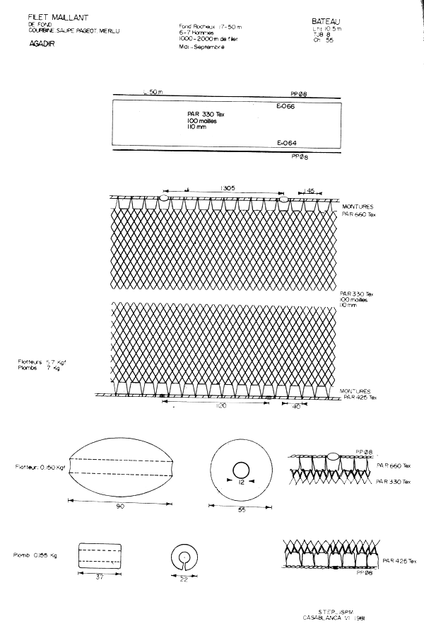
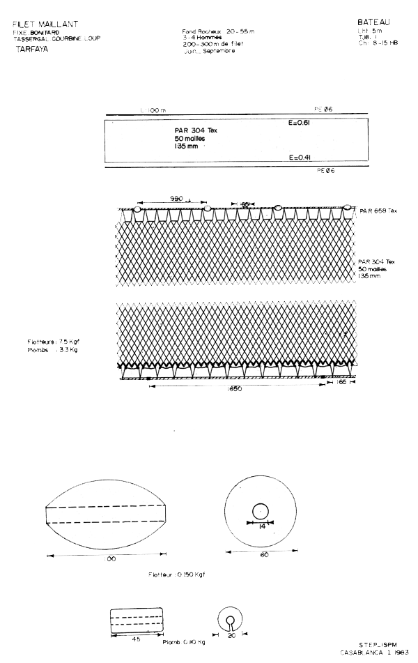
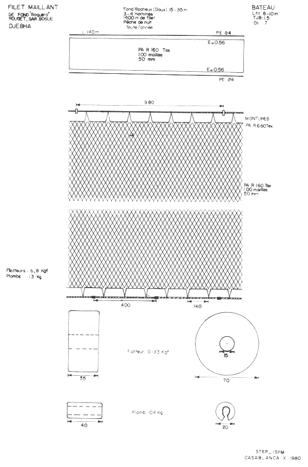
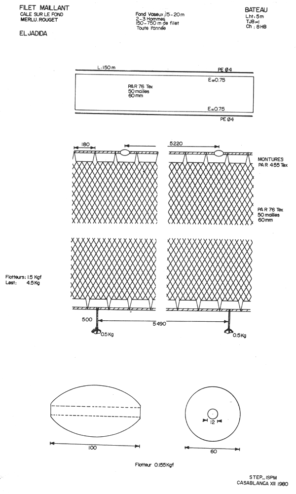
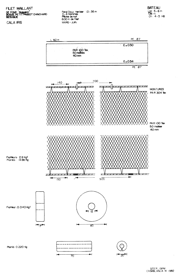
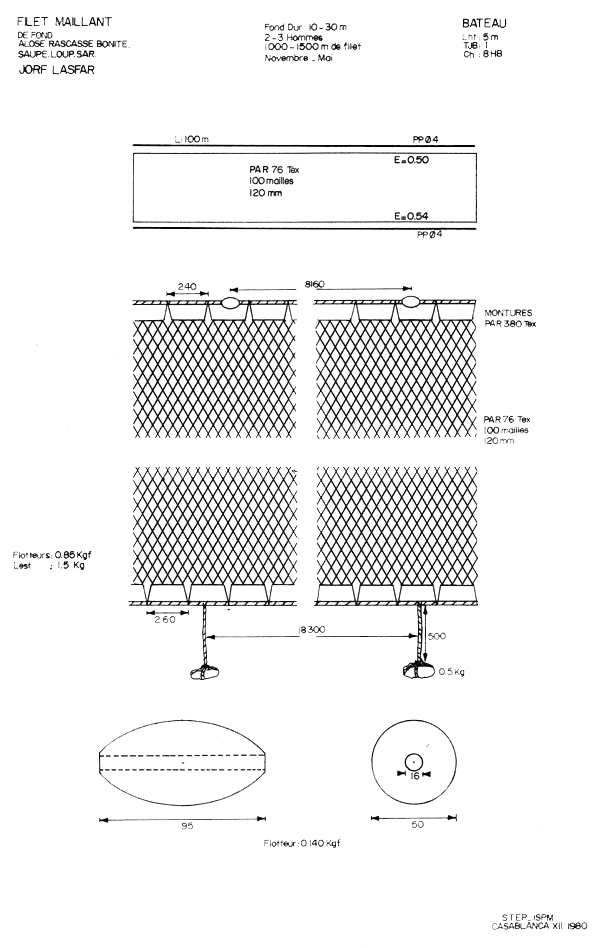
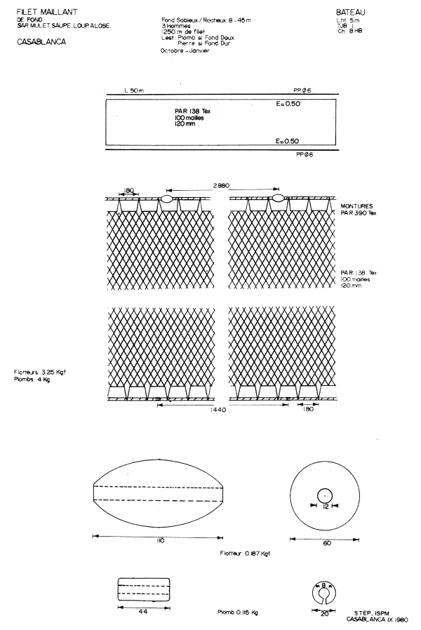
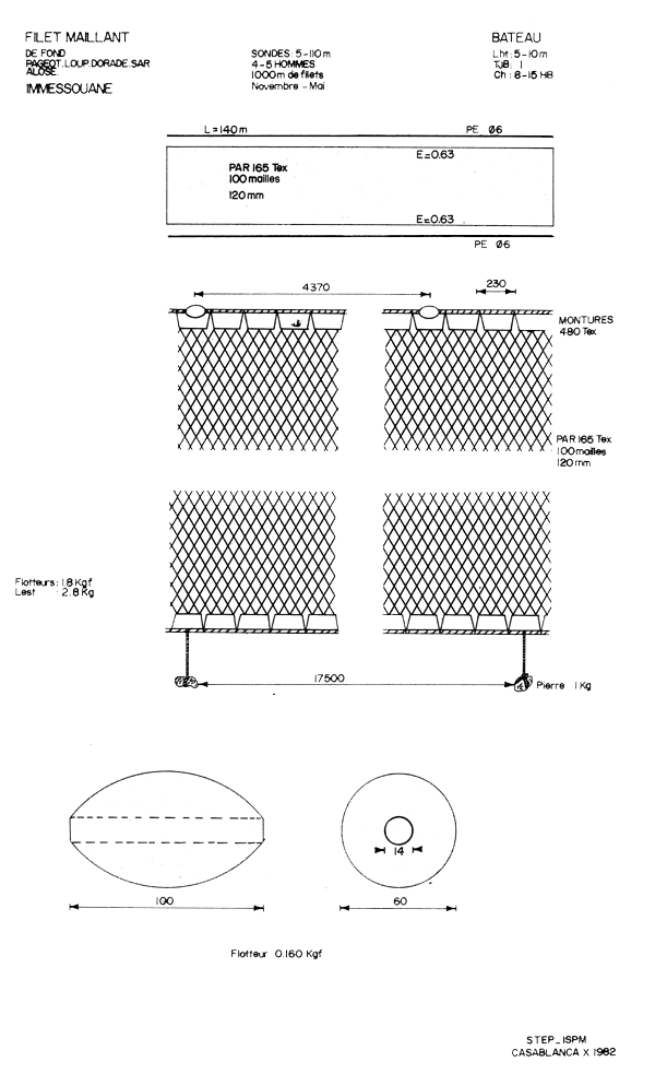
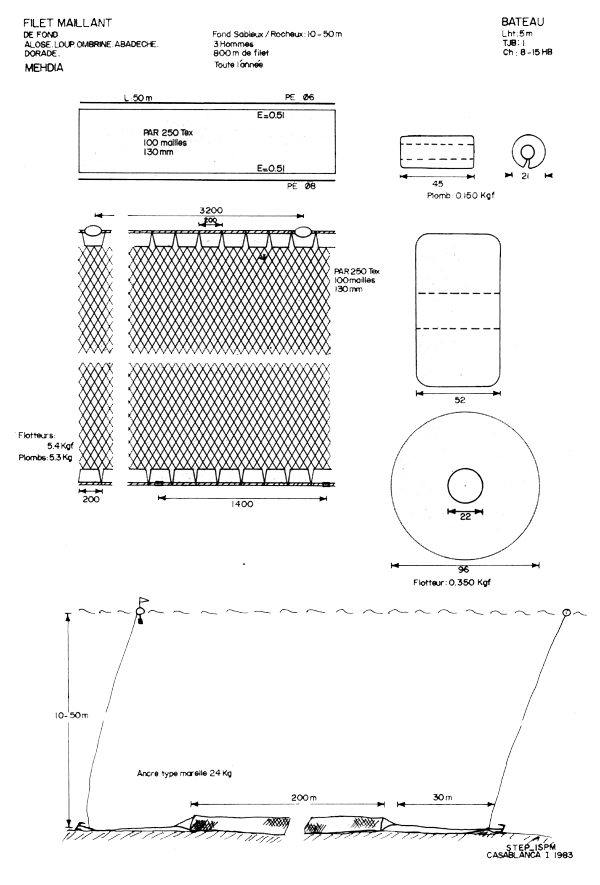
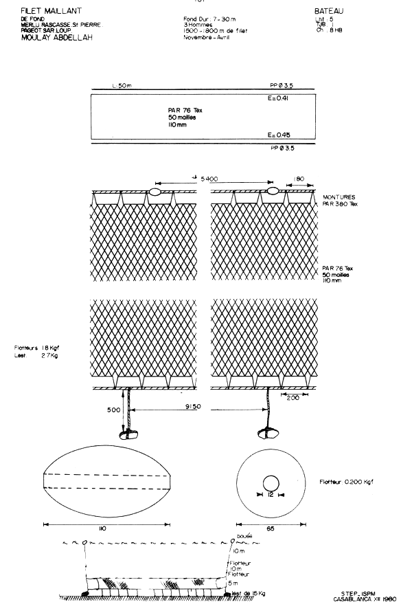
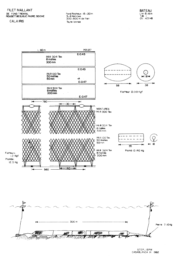
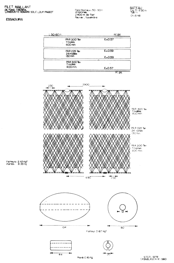
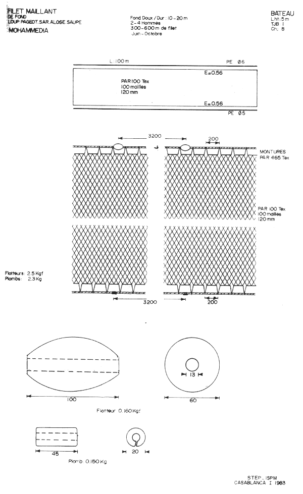
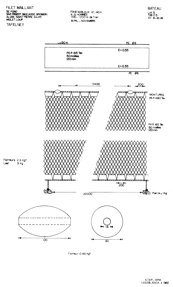
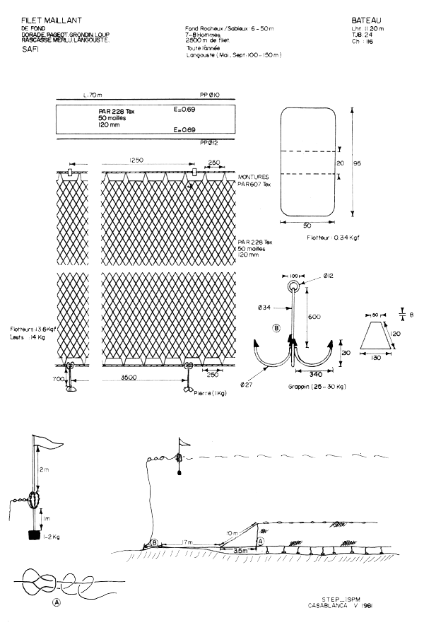
Filets maillants calés

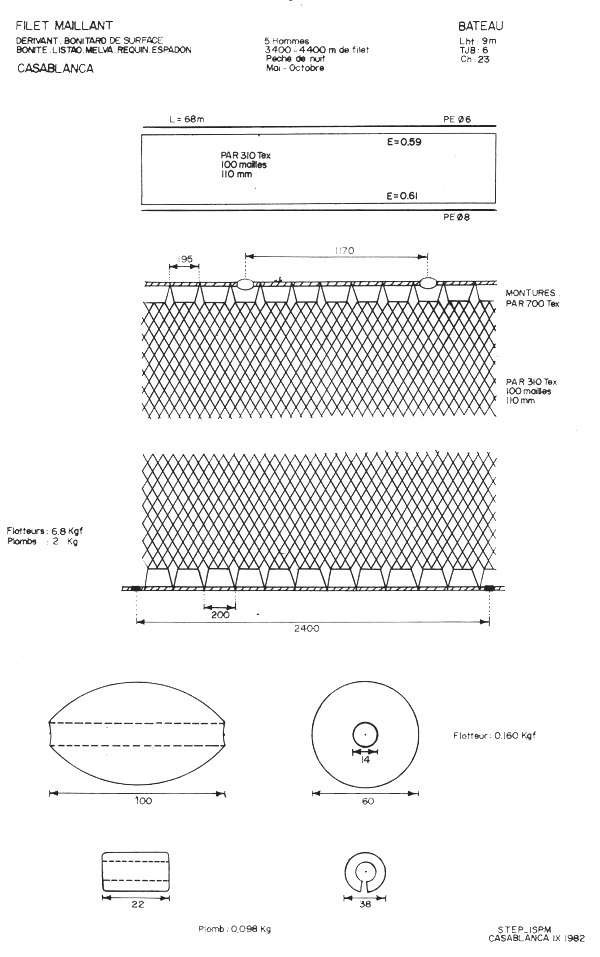
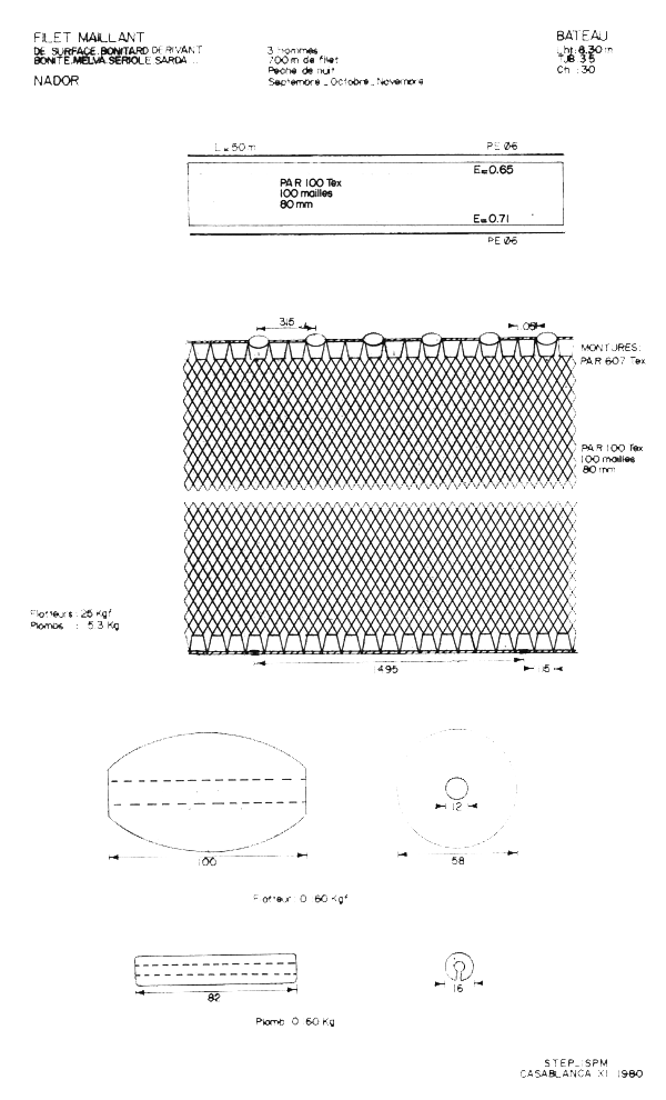
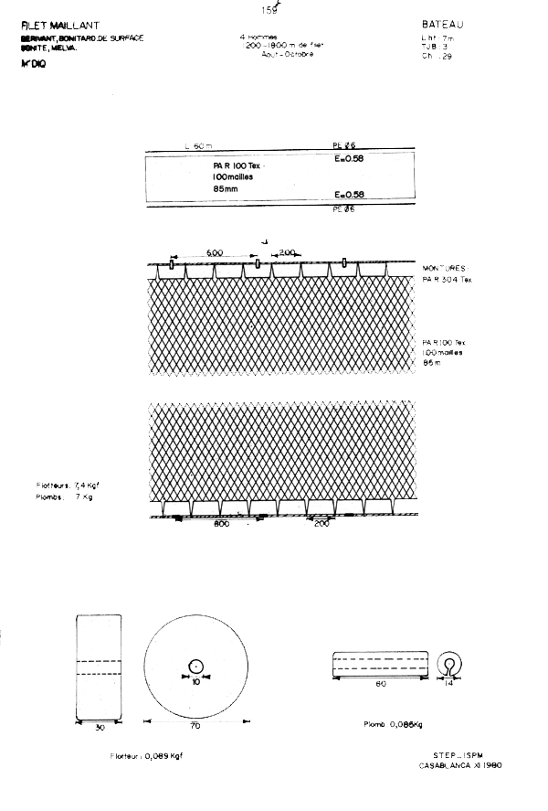
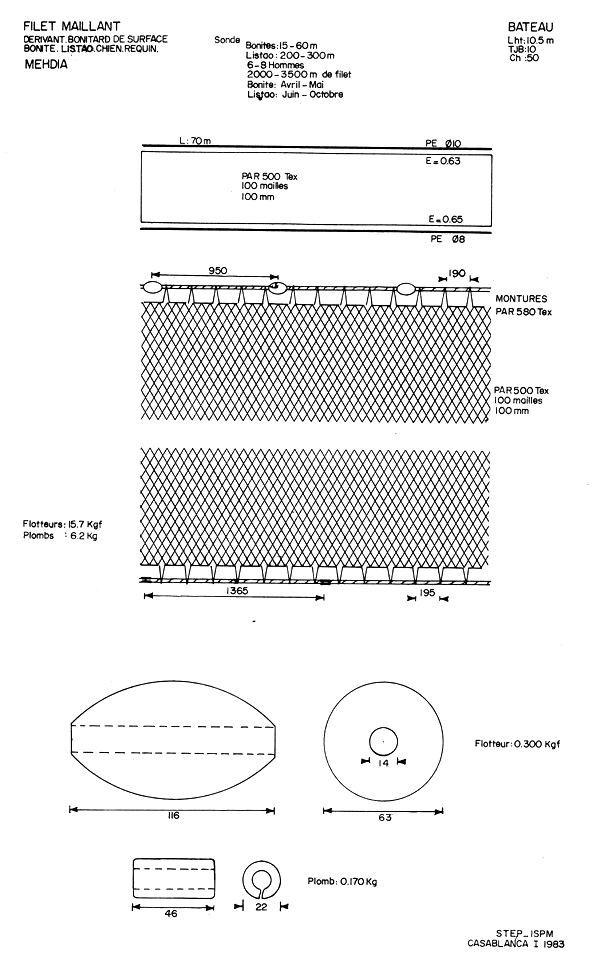
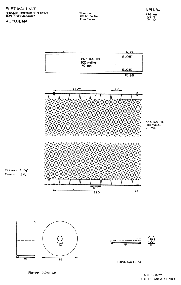
Filets maillants dérivants desurface

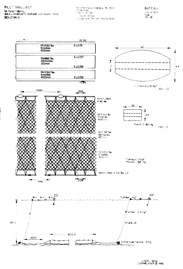
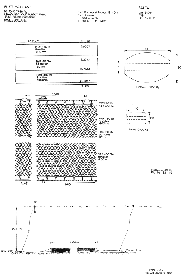
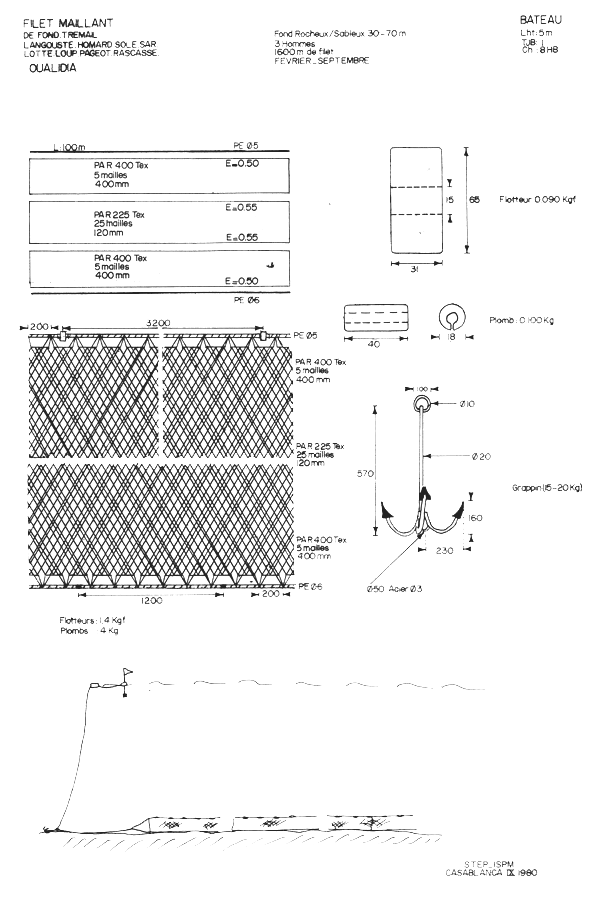
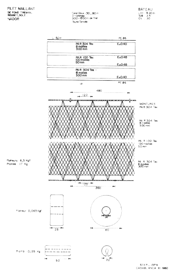
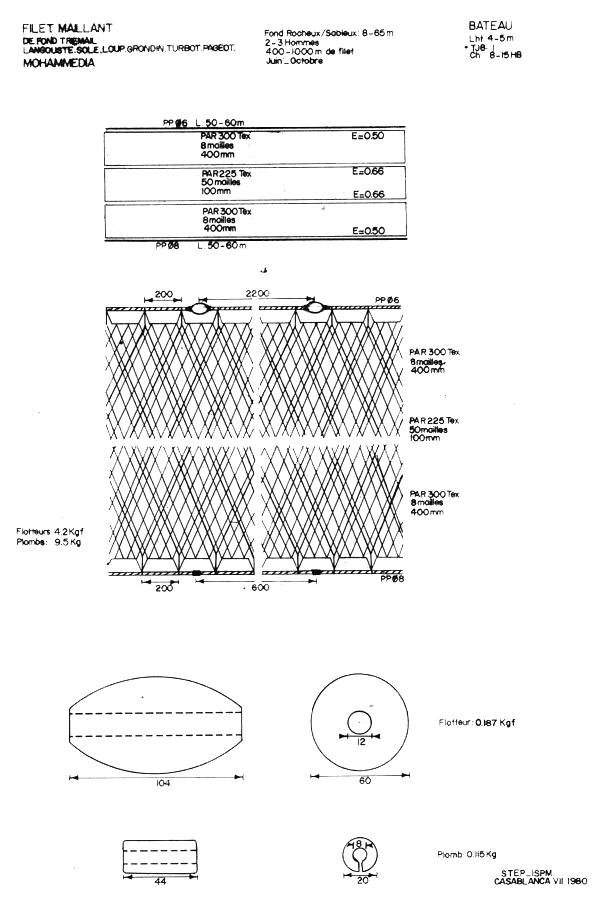
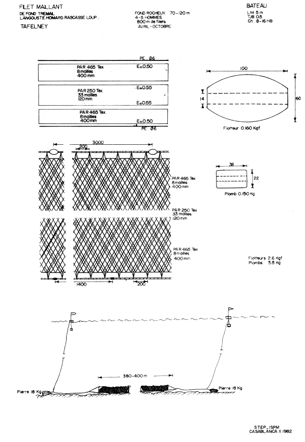
Trémails

Trémails et filets maillants combinés


Page précédente Début de page Page suivante