Page précédente Table des matières Page suivante


Pieges

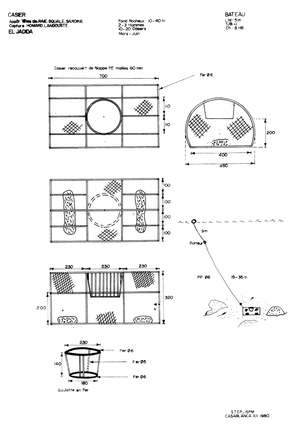
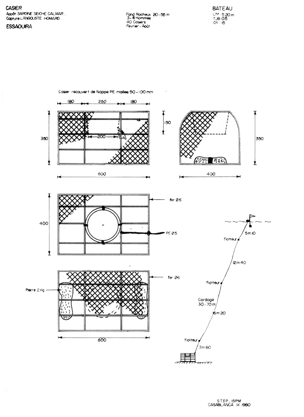
Nasses et casiers

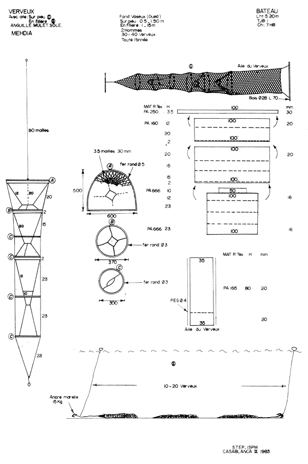
Verveux

Palanzas

Pièges aériens


Page précédente Début de page Page suivante