2.1. Aprovisionamiento de motores con gas pobre
2.2. Teoría de la gasificación
2.3. Tipos de gasificadores
2.4. Combustibles para gasificación
2.5. Diseño de gasificadores de tiro invertido
2.6. Depuración y refrigeración del gas
2.7. Aplicaciones de la gasificación de la biomasa
2.8. Riesgos sanitarios y ambientales derivados del empleo del gas pobre
La gasificación del carbón y de combustibles que contienen carbono y el uso del gas como combustible para motores de combustión interna, es una tecnología que se ha utilizado durante más de un siglo.
Recientemente se ha despertado de nuevo el interés por esta tecnología, especialmente como un medio de utilizar combustibles de biomasa, en vez de combustibles de petróleo importados, en países en desarrollo. Este interés procede de la evidencia bien documentada de que durante la Segunda Guerra Mundial más de 1 millón de vehículos -autobuses, camiones, automóviles, barcos y trenes- fueron propulsados por gasificadores alimentados a base de madera, carbón vegetal, turba o carbón mineral. No obstante, después de la guerra se produjo un retorno total a los combustibles líquidos, tan pronto como volvieron a estar disponibles, debido evidentemente a su comodidad, seguridad y ventajas económicas.
Por lo tanto, el impacto de la gasificación de la biomasa sobre los sistemas de suministro energético en los países en desarrollo, parece depender de la respuesta a una cuestión fundamental: ¿La moderna tecnología y el desarrollo de los gasificadores, han producido unos gasificadores mejor diseñados y unos sistemas de gasificación perfeccionados, capaces de trabajar con seguridad, eficacia y economía y en un nivel técnico apropiado en lugares en que pueden faltar ciertas capacidades?
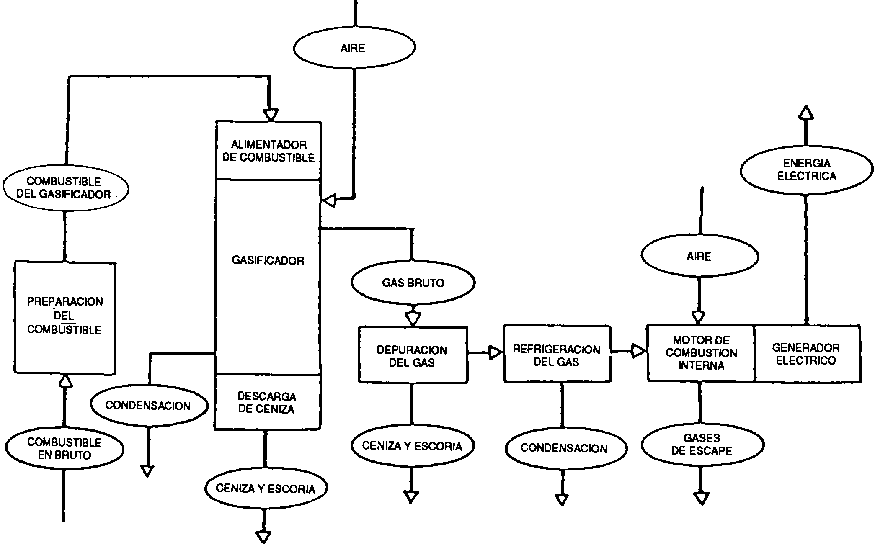
Para responder a esta pregunta es necesario analizar una serie de aspectos de la tecnología de la gasificación. El tipo de sistema considerado se ilustra esquemáticamente en la Figura 2.1.
El motor de combustión interna emplea como combustible el gas generado por la gasificación de material vegetal con aire. El gas se limpia y refrigera antes de entrar en el motor. En la Figura 2.1. se muestra un motor que acciona un generador eléctrico pero puede, naturalmente, utilizarse para cualquier otra finalidad en las que se empleen tales motores.
Se analizan en primer término las posibilidades de utilizar diferentes tipos de motores con gas pobre, y la calidad necesaria del gas, para contar con los antecedentes necesarios que permitan comprender los efectos sobre el proyecto de instalación del gasificador.
A continuación se analiza la teoría de la gasificación, los diferentes tipos de gasificadores y los combustibles gasificados y se presentan las normas de diseño de los gasificadores de tiro invertido. Seguidamente se examinan las técnicas de depuración y refrigeración del gas. El capitulo termina con una discusión de las posibles aplicaciones y de los riesgos y consecuencias ambientales relacionadas con esta tecnología.
Figura 2.1. Esquema de un gasógeno de gas pobre
Al tratar estos temas resulta evidente ame existen todavía fuertes limitaciones para la introducción de los sistemas de gasificación. Sin embargo, se demuestra también que dentro del estado actual de la tecnología de gasificación existen varias posibilidades técnica y económicamente razonables.
Con el fin de ayudar a los usuarios y diseñadores de equipos de gasificación, se dan en el Apéndice I ejemplos de la potencia desarrollada por un motor de combustión interna alimentado con gas pobre; también se presenta en el Apéndice II el diseño de una instalación sencilla de gasificación de tiro invertido, alimentada con tarugos de madera.
2.1.1. Posibilidades de utilización del gas pobre con diferentes tipos de motores
2.1.2. Potencia del motor cuando se utiliza gas pobre
2.1.3. Obtención del máximo de potencia cuando se funciona con gas pobre
2.1.4. Potencia resultante
2.1.5. Requisitos de calidad del gas para un funcionamiento sin averías
2.1.6. Empleo de motores Stirling o de turbinas de gas con gas pobre
El gas pobre, que se produce al gasificar la madera, el carbón vegetal o el carbón mineral, con el aire, consiste en un 40% aproximadamente de gases combustibles, principalmente monóxido de carbono, hidrógeno y algo de metano. El resto no es combustible y consiste sobre todo en hidrógeno, dióxido de carbono y vapor de agua.
El gas contiene también alquitrán condensable, ácidos y polvo. Estas impurezas pueden ocasionar problemas operativos y un desgaste anormal del motor. El principal problema del diseño de una instalación de gasificador es generar un gas con una elevada proporción de componentes combustibles y un mínimo de impurezas. Más adelante se verá cómo puede lograrse. En primer término, se van a discutir las peculiaridades de los motores de gas pobre desde un punto de vista teórico y operativo.
Los motores de encendido por chispa, normalmente utilizados con gasolina o queroseno, pueden funcionar con gas pobre únicamente. Los motores diesel se pueden adaptar para funcionar con gas pobre disminuyendo el índice de compresión e instalando un sistema de encendido por chispa. Otra posibilidad es hacer funcionar un motor diesel normal, sin transformar, con el sistema de "doble combustible", mediante el cual el motor proporciona del 0 al 90 por ciento de potencia, a base de gas pobre (17), siendo necesario el resto de gasoil para el encendido de la mezcla combustible gas/aire. La ventaja de este último sistema está en su flexibilidad: en caso de un niel funcionamiento del gasificador o de falta de combustible de biomasa, generalmente es posible un cambio inmediato, operando totalmente con diesel.
No obstante, no todos los tipos de motores diesel pueden adaptarse al sistema expuesto de funcionamiento. Los índices de compresión de los motores diesel con antecámara y cámara de turbulencia, son demasiado elevados para un funcionamiento adecuado con doble combustible y el empleo del gas pobre en tales motores origina detonaciones, ocasionadas por presiones demasiado altas y el retraso del encendido (20). Los motores diesel de inyección directa tienen menores índices de compresión y pueden generalmente transformarse con éxito.
La potencia de un motor que funciona con gas pobre vendrá determinada por los mismos factores que en el caso de los motores que funcionan con combustibles líquidos, es decir:
- el valor calorífico de la mezcla combustible de gas pobre y aire que entra en el motor en cada golpe de combustión;- la cantidad de mezcla combustible que entra en el motor durante cada golpe de combustión;
- la eficiencia con que el motor transforma la energía térmica de la mezcla combustible en energía mecánica (potencia en el eje);
- el número de golpes de combustión (número de revoluciones por minuto: rpm);
La adaptación de un motor para funcionar con gas pobre o con doble combustible lleva generalmente a una reducción de la potencia. A continuación se analizan las razones así como las posibilidades de reducir al mínimo la pérdida de potencia.
(a) Valor calorífico de la mezcla
El valor calorífico del gas pobre depende de las cantidades relativas de los diferentes componentes combustibles: monóxido de carbono, hidrógeno y metano.
El valor calorífico de estos tres gases se presenta en el Cuadro 2.1.
Sin embargo, a fin de conseguir la combustión, el gas pobre tiene que mezclarse con una cantidad apropiada de aire. La mezcla combustible tendrá un menor valor calorífico, por unidad de volumen, que el gas pobre solo.
Las cantidades de oxigeno necesarias para una combustión completa (combustión estequiométrica) de cada uno de los componentes del combustible, se presentan también en el cuadro 2.1.
Cuadro 2.1. Valores caloríficos y demandas estequiométricas de oxigeno de los componentes combustibles del gas pobre
|
Gas |
Valor calorífico efectivo |
Valor |
Demanda estequiométrica de oxígeno |
|
monóxido de carbono |
283 660 |
12 655 |
0,5 |
|
hidrógeno |
241 300 |
10 770 |
0,5 |
|
metano |
801 505 |
35 825 |
2,0 |
1/Si no se especifica lo contrario en toda la publicación el volumen del gas se da en m³ en estado normal.
El valor calorífico de tal mezcla estequiométrica puede calcularse mediante la fórmula siguiente:
donde:
Hig es el valor calorífico de una mezcla estequiométrica de gas pobre y aire en kJ/m³.VCO fracción de volumen de monóxido de carbono en el gas (antes de mezclarlo con aire)
VH2 fracción de volumen de hidrógeno en el gas (antes de mezclarlo con aire)
VCH4 fracción de volumen de metano en el gas (antes de mezclarlo con aire).
Los valores caloríficos del gas pobre y de las mezclas con aire son alrededor de 2 500 kJ/m³. Cuando se compara este valor con el valor calorífico de una mezcla estequiométrica de gasolina y aire (alrededor de 3 800 kJ/m³), resulta evidente la diferencia de potencia de salida entre un motor determinado alimentado con gasolina y con gas pobre. Puede esperarse una pérdida de potencia de alrededor del 35% como resultado del menor valor calorífico de la mezcla de gas pobre y aire.
(b) Cantidad de mezcla combustible suministrada al cilindro
La cantidad de mezcla combustible que entra realmente en el cilindro de un motor viene determinada por el volumen del cilindro y la presión del gas en éste en el momento del cierre de la válvula de entrada.
El volumen del cilindro es una constante para un motor dado. La presión real de la mezcla combustible al comienzo de la carrera de compresión depende, sin embargo, de las características del motor (especialmente el diseño de la tubuladura de admisión y el paso de admisión de aire), de la velocidad del motor (mayores velocidades tienden a traducirse en menores presiones) y de la presión del gas que entra en la tubuladura de admisión de aire. Los dos primeros factores están incorporados en la denominada "eficiencia volumétrica" del motor, que se define como la relación entre la presión real del gas en el cilindro y la presión normal (1 atmósfera). Normalmente, cuando los motores funcionan a las velocidades de diseño, muestran eficiencias volumétricas que varían entre 0,7 y 0,9.
La presión del gas en la tubuladura de admisión de aire depende de la caída de presión en todo el sistema de gasificación, es decir, gasificador, refrigerador/depurador y carburador gas/aire. Esta caída reduce de nuevo la presión de entrada con un factor de 0,9.
En resumen, hay que llegar a la conclusión de que la cantidad real de gas combustible disponible en el cilindro será sólo del 0,65 al 0,80 del valor máximo teórico, debido a las pérdidas de presión en el recorrido hasta el cilindro. Esto reducirá lógicamente la potencia máxima de salida del motor.
(c) Eficiencia del motor
La eficiencia con que un motor puede transformar la energía térmica del combustible en potencia mecánica (eje) depende en primer lagar del índice de compresión del motor.
La influencia del incremento del índice de compresión de un motor se puede calcular mediante la siguiente fórmula.
En la cual:
h 1 = eficiencia térmica del motor con el índice de compresión en situación 1.h 0 = eficiencia térmica del motor con el índice de compresión en situación 0.
e 1 = índice de compresión del motor en situación 1.
e 1 = índice de compresión del motor en situación 0.
k = constante igual a 1, 3 en el caso del gas pobre.
Figura 2.2. Relación entre el índice de compresión y la eficiencia térmica de un motor (7)
Figura 2.2. Relación entre el índice de compresión y la eficiencia térmica de un motor (34)
En el caso de los motores alimentados con gasolina, el índice posible de compresión está limitado por el numero de "octanos" del combustible, que es una medida del índice de compresión en que tiene lugar la detonación o "golpeteo" (que puede ocasionar serios daños al motor). Las mezclas de gas pobre y aire presentan unos números de octanos superiores a los de las mezclas de gasolina y aire.
Por este motivo, pueden emplearse unos índices de compresión superiores (hasta 1:11) con el gas pobre, lo que se traduce en una mejor eficiencia térmica del motor y en un aumento relativo de la potencia de salida en el eje del motor.
(d) Velocidad del motor
Como la potencia del motor se define por unidad de tiempo, dicha potencia depende de la velocidad.
Para motores diesel, la potencia de salida está en relación aproximadamente lineal con las rpm. Para motores con encendido de chispa el incremento de potencia es inferior al lineal debido a los cambios de los diferentes factores de eficiencia.
La Figura 2.2. muestra la influencia del índice de compresión sobre la máxima potencia de salida del motor.
Cuando se calcula la potencia de salida de un motor de 4 tiempos, hay que dejar un margen por el hecho de que sólo una de cada dos rotaciones representa un golpe o carrera de compresión y combustión.
La velocidad máxima de los motores alimentados con gas pobre viene limitada por la velocidad de combustión de la mezcla combustible de gas pobre y aire. Como esta velocidad es baja, en comparación con las mezclas combustibles de gasolina y aire, la eficiencia del motor puede caer muchísimo si la velocidad de combustión de la mezcla y la velocidad media del pistón se hacen del mismo orden de magnitud.
En los tipos de motores que se producen actualmente en serie, cabe esperar que este fenómeno se produzca a velocidades del motor de alrededor de 2 500 rpm. Los motores alimentados con gas pobre deben por tanto funcionar generalmente por debajo de esta velocidad.
Las posibilidades de lograr el máximo de potencia de salida dependen generalmente de las causas teóricas de pérdida de potencia analizadas en la sección precedente. Se van a tratar a continuación en el mismo orden.
(a) Valor calorífico de la mezcla
Es evidente que los máximos valores caloríficos de la mezcla combustible se logran para el máximo valor calorífico del propio gas pobre. Como se expondrá después, el valor calorífico depende del diseño del gasificador y de las características del combustible que alimenta el gasificador. Es importante reducir al mínimo las pérdidas de calor del gasificador a fin de lograr un alto valor calorífico del gas. El contenido de humedad y la distribución por tamaños son dos de las características más importantes del combustible.
Al mezclar el gas pobre con el aire de combustión, existe una razón adicional de pérdida de potencia, debido a los cambios en la composición del gas y también a las variaciones de la caída de presión en la instalación del gasificador, siendo muy difícil mantener continuamente una mezcla estequiométrica de gas pobre y aire.
Como tanto el exceso como la falta de aire ocasionan una disminución del valor calorífico de la mezcla (por unidad de volumen), ambos ocasionarán una disminución de la potencia tal como se ilustra en la Figura 2.3.
La única forma posible de ajustar la mezcla para su combustión estequiométrica consiste en instalar una válvula operada a mano en la entrada de aire de combustión del motor y hacerla funcionar de forma regular para obtener la máxima potencia de salida del motor.
Si no se necesita una potencia máxima de salida del motor, suele ser mejor hacer funcionar el motor con un ligero exceso de aire a fin de evitar el retroceso de la llama en el sistema de escape de gas del motor.
Figura 2.3. Disminución del valor calorífico de una mezcla de gas pobre y aire en función de la deficiencia o exceso de aire (34)
(b) Cuantía de la mezcla de combustible
Aparte de reducir al mínimo la caída de presión en el gasificador, el sistema de refrigeración y depuración y el carburador (aunque manteniendo, como se analizó anteriormente, una mezcla adecuada de gas y aire), puede maximizarse la cuantía de la mezcla de combustible por cada golpe de combustión del motor, de dos formas:
- aumentando la eficiencia volumétrica del motor mediante la introducción de una tubuladura más ancha de admisión de aire lo que se traduce en una menor resistencia a la circulación del gas y menores caídas de presión. Con frecuencia se subestima la influencia de una tubuladura de admisión de aire bien diseñada. Los experimentos de Finkbeiner (11) demuestran que una tubuladura de admisión de aire bien diseñada puede aumentar la potencia máxima del motor en un 25%.- incremento de la presión de la mezcla en la admisión del motor aumenta la potencia máxima de este. El desarrollo reciente de los turbosobrealimentadores accionados por los gases de escape del motor, hace atrayente esta solución. Sin embargo, hay que tener cuidado de enfriar con agua el turbosobrealimentador para evitar explosiones de la mezcla combustible.
(c) Eficiencia del motor
El aumento de la eficiencia del motor que puede lograrse aumentando el índice de compresión de los motores de gasolina (por ejemplo a 1:10 ó 1:11) se analizó anteriormente. Los motores de gas tienen índices normales de compresión de este orden y, por esta razón, son especialmente apropiados para funcionar con gas pobre.
La influencia de una mezcla correcta aire/gas ha sido descrita por Finkbeiner (11) y estudiada recientemente por Tiedema y van der Weide (42). La instalación de dispositivos adecuados de mezcla gas/aire (como el tipo de carburador desarrollado por TNO, Organización paraestatal holandesa de Investigación) puede aumentar la potencia máxima del motor entre un 10 y un 15%, en comparación con los carburadores de tipo normal de tubo de 2 válvulas y cámara.
(d) Velocidad del motor y avance del encendido
Debido a la baja velocidad de combustión de la mezcla de gas y aire, hay que cambiar generalmente el punto de encendido en los motores de gasolina alimentados con gas pobre.
El punto óptimo de encendido en los motores de gasolina depende de la carga y la velocidad del motor. Este es también el caso en el funcionamiento con gas pobre. Los experimentos realizados por Middleton y Bruce (29) indican que, en general, el punto de encendido debe adelantarse de 10 a 15° lo que lleva a avances del encendido de 35 a 40°, antes del punto muerto superior (PMS).
Si un motor diesel funciona con el sistema de doble combustible, también es conveniente avanzar el punto de inyección del combustible diesel. También aquí el avance necesario depende de la velocidad del motor, como lo demuestran Nordström (33), Tiedema et al. (42) quienes informan de los buenos resultados obtenidos con avances del punto de inyección de 10°, en comparación con el funcionamiento total a base de diesel.
Un problema que se presenta a veces en los motores alimentados con doble combustible es la detonación. Aparte de los motores con índices de compresión demasiado altos (superiores a 1:16), este fenómeno sucede sobre todo cuando se intenta solucionar la baja potencia del motor introduciendo mayores cantidades de gasoil.
Dependiendo de la composición del gas pobre y de la intensidad de la mezcla del combustible, un exceso de combustible auxiliar puede causar la detonación. Por esta razón, la cantidad de gasoil como combustible auxiliar, cuando se funciona con doble combustible, debe tener un limite máximo. Generalmente, una limitación Hasta del 30% del máximo de potencia del motor, evita la detonación.
La cantidad de gasoil como combustible auxiliar, en la operación con doble combustible, tiene también un límite inferior. Dependiendo de la velocidad del motor (30) habrá que inyectar cierta cantidad mínima de gasoil por ciclo, a fin de asegurar el encendido. Las cantidades mínimas varían de 3 a 5 mm³ por ciclo.
Sin embargo, en la práctica se inyecta por ciclo una cantidad de gasoil algo superior para tener una mayor seguridad. Se recomiendan inyecciones de gasoil de 8 a 9 mm³ por ciclo y cilindro.
Suponiendo que las modificaciones del motor antes descritas se lleven a cabo correctamente, la disminución de la potencia máxima de los motores de gasolina, sin sobrealimentación, pueden limitarse a un 30% aproximadamente. Los motores que funcionan con combustión sobrealimentada a base de gas pobre, pueden tener potencias iguales a los que funcionan con gasolina.
La reducción de capacidad de los motores diesel de inyección directa cuando funcionan con doble combustible, puede limitarse normalmente a un 15 ó 20% (80% de gas pobre - 20% de gasoil).
Cuando se emplea un sistema de gasificador junto con un motor de combustión interna, un requisito importante es que el motor se alimente con gas suficientemente libre de polvo, alquitranes y ácidos. Las cantidades tolerables de estas sustancias variarán dependiendo del tipo y del equipo del motor Tiedema y van der Weide (38) dan como cantidades medias tolerables, para los motores actualmente disponibles, los valores siguientes:
|
polvo: |
menos de 50 mg/m³ de gas. |
|
alquitranes: |
menos de 500 mg/m³ de gas. |
|
ácidos: |
menos de 50 mg/m³ de gas (medido como ácido acético). |
Además del empleo del gas pobre con los motores de combustión interna, otras posibilidades consisten en la combinación de los gasificadores con turbinas de gas o con motores Stirling. Debido a que las altas temperaturas de admisión del gas se suman a la eficiencia térmica de las turbinas de gas, éstas en principio representan una opción atractiva para transformar gas pobre caliente en potencia mecánica o eléctrica. Sin embargo, el estado actual de la técnica de los gasificadores y también de la tecnología de turbinas, no permiten su uso. Las turbinas de gas son muy sensibles al polvo, especialmente con altas temperaturas de admisión, por lo que es dudoso que puedan cumplirse los requisitos de calidad del gas con los sistemas de filtrado descritos en la Sección 2.6.
Otro problema procede de la sensibilidad de las paletas actuales de las turbinas a la corrosión por los vapores alcalinos (Na, K y Ca) que suelen estar presentes en pequeñas cantidades en el gas pobre. Un sistema óptimo exigiría un gasificador presurizado lo que aumentaría bastante su costo y complejidad y probablemente sólo sería económico para instalaciones muy grandes.
Beagle (6) menciona la posibilidad de emplear motores Stirling junto con los gasificadores especialmente en aplicaciones de pequeña dimensión. Los motores Stirling de esta escala de potencia están comenzando actualmente a comercializarse.
Debido a una serie de ventajas, en comparación con el uso de los motores de combustión interna (bajo mantenimiento, gran eficiencia, bajo consumo de lubricantes, etc.) este concepto se debería evaluar y comprobar más.
2.2.1. Predicción de la composición del gas
2.2.2. Eficiencia del gasificador
La materia de un combustible sólido suele componerse de los elementos carbono, hidrógeno y oxigeno. Además, puede haber nitrógeno y azufre pero como sólo están presentes en pequeñas cantidades, no van a ser considerados en el análisis siguiente.
En los tipos de gasificadores aquí considerados el combustible sólido se calienta por combustión de una parte del combustible. Los gases de la combustión se reducen seguidamente pasándolos a través de un lecho de combustible a alta temperatura.
En la combustión completa se obtiene dióxido de carbono, a partir del carbono y agua, del hidrógeno. El oxígeno procedente del combustible se incorpora naturalmente a los productos de la combustión, reduciendo con ello la cantidad necesaria de aire para la combustión.
La oxidación, o combustión, se describe por las siguientes fórmulas de reacción química:
|
C + O2 |
401,9 kJ/mol H |
|
N + ½ O2 |
241,1 kJ/mol |
Estas fórmulas significan que en la combustión de un átomo gramo de carbono, es decir 12,00 g, a dióxido de carbono, se libera una cantidad de calor de 401,9 kJ y que se produce una cantidad de calor de 241,1 kJ en la oxidación de una molécula gramo, es decir, 2,016 g de hidrógeno, a vapor de agua.
En todos los tipos de gasificadores el dióxido de carbono (CO2) y el vapor de agua (H2O) se transforman (reducen) al máximo posible en monóxido de carbono, hidrógeno y metano, que son los principales componentes combustibles del gas pobre.
A continuación se dan las reacciones más importantes que tienen lugar en la zona de reducción de un gasificador, entre los diferentes reactivos gaseosos y sólidos. El signo negativo indica que se genera calor en la reacción y el signo positivo que la reacción requiere calor.
|
a) C + CO2 |
+ 164,9 kJ/kmol |
|
b) C + H2O |
+ 122,6 kJ/kmol |
|
c) CO + H2 |
+ 42,3 kJ/kmol |
|
d) C + 2 H2 |
0 |
|
e) CO + 3 H2 |
- 205,9 kJ/kmol |
Las ecuaciones (a) y (b) que son las reacciones principales de reducción, demuestran que la reducción requiere calor. Por ello, la temperatura del gas disminuirá durante la reducción.
La reacción (c) describe el denominado equilibrio agua-gas. Para cada temperatura, en teoría, la relación entre el producto de la concentración de monóxido de carbono (CO) y el vapor de agua (H2O) y el producto de las concentraciones de dióxido de carbono (CO2) e hidrógeno (H2) viene determinada por el valor de la constante de equilibrio agua-gas (kwe). En la práctica, la composición de equilibrio del gas sólo se logrará cuando la velocidad de la reacción y el tiempo de reacción sean suficientes.
La velocidad de la reacción disminuye al descender la temperatura. En el caso del equilibrio agua-gas, la velocidad de la reacción se reduce tanto por debajo de 700° C, que se dice que el equilibrio se ha "congelado". La composición del gas permanece entonces sin alterar. En el Cuadro 2.2. se dan los valores de kwe para distintas temperaturas.
Cuadro 2.2. Dependencia de la temperatura respecto a la constante de equilibrio agua-gas
|
Temperatura (°C) |
kwe |
|
600 |
0,38 |
|
700 |
0,62 |
|
800 |
0,92 |
|
900 |
1,27 |
|
1 000 |
1,60 |
La introducción del concepto de equilibrio agua-gas, permite calcular teóricamente la composición del gas procedente de un gasificador que ha alcanzado el equilibrio a una temperatura dada, tal como demuestran Tobler y Schlaepfer (34).
El sistema consiste en deducir del balance de volúmenes de los cuatro principales elementos de entrada (carbono, hidrógeno, oxígeno y nitrógeno), un balance energético para todo el sistema y la relación dada por el equilibrio agua-gas. Suponiendo también que las cantidades de metano del gas pobre, por kg de combustible seco, son constantes (como sucede, más o menos, en el caso de los gasificadores en condiciones normales de funcionamiento), se dispone de una serie de relaciones que permiten el cálculo de las composiciones del gas para una amplia variedad de parámetros de entrada (contenido de humedad del combustible) y características del sistema (pérdidas de calor por convección, radiación y calor sensible del gas). En las Figuras 2.4. a 2.6. se dan las composiciones del gas calculadas teóricamente. Generalmente, se encuentra una concordancia bastante aceptable con los resultados experimentales.
En el Cuadro 2.3. se dan las composiciones normales de gas que se obtienen de gasificadores comerciales de tiro invertido, de madera y carbón vegetal, que operan con combustibles de contenido de humedad bajo a medio (madera 20%, carbón vegetal 7%).
Cuadro 2.3. Composición del gas procedente de gasificadores comerciales de madera y carbón vegetal
|
Componente |
Gas de Madera (% vol.) |
Gas de Carbón vegetal (% vol.) |
|
Nitrógeno |
50 - 54 |
55 - 65 |
|
Monóxido de carbono |
17 - 22 |
28 - 32 |
|
Dióxido de carbono |
9 - 15 |
1 - 3 |
|
Hidrógeno |
12 - 20 |
4 - 10 |
|
Metano |
2 - 3 |
0 - 2 |
|
Valor calorífico del gas kJ/m³ |
5 000 - 5 900 |
4 500 - 5 600 |
Un factor importante que determina el funcionamiento técnico real y la viabilidad económica de utilizar un sistema de gasificador, es la eficiencia de la gasificación.
Una definición apropiada de la eficiencia de la gasificación si se emplea el gas para aplicaciones de motores es:
Donde:
h m = eficiencia de la gasificación (%) (mecánica).Hg = valor calorífico del gas (kJ/m³), (véase el Cuadro 2. 2.3.).
Qg = flujo en volumen de gas (m³/s).
Hs = valor calorífico inferior del combustible del gasificador (véase la Sección 2.6.).
Ms = consumo de combustible sólido del gasificador (kg/s).
Si se emplea el gas para combustión directa, la eficiencia de la gasificación se define a veces de la forma siguiente:
En la cual:
h th = eficiencia de la gasificación (%) (térmica).z g = densidad del gas (kg/m³).
CP = calor específico del gas (kJ/kg°K).
D T = diferencia de temperaturas entre el gas en la entrada del quemador y el combustible que entra al gasificador (°K).
Dependiendo del tipo y diseño del gasificador y también de las características del combustible nm puede variar entre el 60 y el 75%. En el caso de aplicaciones térmicas, el valor de nth puede llegar al 93%.
Figura 2.4. Composición del gas de madera en función del contenido de humedad de la madera (15% de pérdida de calor) Vol. de nitrógeno, %
Figura 2.5. Cambio calculado de la composición del gas de madera en función de las pérdidas por convección y radiación
Figura 2.6. Cambio estimado de la composición del gas de madera en función de la temperatura de salida del gas (pérdidas por calor sensible)

2.3.1. Gasificador de corriente ascendente o tiro directo
2.3.2. Gasificadores de corriente descendente o tiro invertido
2.3.3. Gasificados de tiro transversal
2.3.4. Gasificador de lecho fluidizado
2.3.5. Otros tipos de gasificadores
El tipo de gasificador más antiguo y sencillo es el de tiro directo o gasificador ascendente que se presenta esquemáticamente en la Figura 2.7.
Figura 2.7. Gasificador de corriente ascendente o tiro directo
La toma de aire se encuentra en el fondo y los gases salen por arriba. Cerca de la parrilla, en el fondo, tienen lugar las reacciones de combustión, que van seguidas de reacciones de reducción algo más arriba, en el gasificador. En la parte alta del gasificador tiene lugar el calentamiento y pirólisis de la carga, como resultado de la transferencia de calor, por convección forzada y radiación, de las zonas inferiores. Los alquitranes y productos volátiles producidos durante este proceso son transportados por la corriente de gas. Se remueven las cenizas del fondo del gasificador.
Las principales veo tejes de este tipo de gasificador consisten en su simplicidad, alta proporción de carbón vegetal quemado e intercambio interno de calor que motiva unas bajes temperaturas de salida del gas y alta eficiencia del equipo y también la posibilidad de funcionar con muchos tipos de carga (serrín, cascaras de cereales, etc.).
Los principales inconvenientes provienen de la posibilidad de que se produzcan "chimeneas" en el equipo, lo que puede motivar la salida de oxígeno y situaciones explosivas peligrosas y la necesidad de instalar parrillas de movimiento automático y también problemas relacionados con la eliminación de líquidos condensados que contienen alquitranes, resultantes de las operaciones de depuración del gas. Esto último tiene poca importancia si el gas se emplea para aplicaciones directas del calor, en cuyo caso los alquitranes simplemente se queman.
Se ha encontrado una solución al problema del arrastre de alquitrán con la corriente de gas, diseñando gasificadores de tiro invertido o corriente descendente, en los cuales el aire de primera gasificación se introduce en la zona de oxidación del gasificador o por encima de ésta. El gas pobre sale por el fondo del aparato de modo que el combustible y el gas se mueven en la misma dirección, como se muestra esquemáticamente en la Figura 2.8.
Figura 2.8. Gasificador de corriente descendente o de tiro invertido
En su camino hacia abajo, los productos ácidos y alquitranes de la destilación procedentes del combustible deben pasar a través de un lecho incandescente de carbón vegetal y se transforman por ello en gases permanentes de hidrógeno, dióxido de carbono, monóxido de carbono y metano.
Dependiendo de la temperatura de la zona incandescente y del tiempo de paso de los vapores con alquitrán, se logra una descomposición más o menos completa de los alquitranes.
La principal ventaja de los gasificadores de tipo invertido radica en la posibilidad de producir un gas sin alquitrán apropiado para aplicarlo a motores.
Sin embargo, en la práctica es muy raro lograr un gas libre de alquitranes, en todo el funcionamiento del equipo: se considera normal un índice tres de relación entre los alquitranes existentes y los remanentes al final de la operación; se considera excelente un factor 5 a 6.
Debido al menor contenido de componentes orgánicos en el liquido condensado, los gasificadores de tiro invertido sufren menos objeciones ambientales que los gasificadores de tiro directo.
Un inconveniente importante de los equipos de tiro invertido es la imposibilidad de funcionar con una serie de combustibles no elaborados. En particular, los materiales blandos y de baja densidad ocasionan problemas de circulación y una caída excesiva de presión y, el combustible sólido hay que convertirlo en gránalos o briquetas antes de utilizarlo. Los gasificadores de tiro invertido sufren también los problemas relacionados con los combustibles de alto contenido de cenizas (formación de escoria), en mayor proporción que los gasificadores de tiro directo.
Un pequeño inconveniente del sistema de tiro invertido en comparación con el de tiro directo es su eficiencia algo inferior, debida a la falta de intercambio interno de calor y al menor valor calorífico del gas. Además de esto, la necesidad de mantener unas temperaturas altas uniformes en una sección transversal determinada, hace imposible el uso de los gasificadores de tiro invertido en una serie de potencias superior a los 350 kW (potencia en el eje).
Los gasificadores de tiro transversal, que se ilustran esquemáticamente en la Figura 2.9. son una adaptación para el empleo de carbón vegetal. La gasificación del carbón vegetal produce temperaturas muy elevadas (1 500°C y mas) en la zona de oxidación que pueden producir problemas en los materiales. En los gasificadores de tiro transversal, el propio combustible (carbón vegetal) sirve de aislamiento contra estas altas temperaturas.
Las ventajas del sistema están en poder funcionar en muy pequeña escala, pudiendo resultar económicamente viables, en ciertas condiciones, instalaciones inferiores a 10 kW (potencia en el eje). La razón está en la gran sencillez del conjunto de depuración del gas (sólo un quemador de ciclón y un filtro caliente) que se puede emplear cuando se utiliza este tipo de gasificador junto con motores pequeños.
Un inconveniente de los gasificadores de tiro transversal es su capacidad mínima de transformación del alquitrán y la necesidad consiguiente de emplear carbón vegetal de alta calidad (bajo contenido de productos volátiles).
Debido a la incertidumbre sobre la calidad del carbón, cierto numero de gasificadores de carbón vegetal emplean el sistema de corriente descendente para mantener al menos una capacidad mínima de cracking del alquitrán.
El funcionamiento de los gasificadores de tiro directo y de tiro invertido se ve afectado por las propiedades morfológicas, físicas y químicas del combustible. Los problemas que se encuentran corrientemente son: la falta de tiro en el depósito, la formación de escoria y la excesiva caída de presión en el gasificador.
Figura 2.9. Gasificador de tiro transversal
Un sistema de diseño que pretende eliminar tales dificultades es el gasificador de lecho fluidizado, que se ilustra esquemáticamente en la Figura 2.10.
Se sopla aire a través de un lecho de partículas sólidas a velocidad suficiente para mantenerlas en estado de suspensión. Se comienza por calentar externamente el lecho y el material de alimentación se introduce tan pronto como se alcanza una temperatura suficientemente elevada. Las partículas del combustible se introducen por el fondo del reactor, se mezclan muy rápidamente con el material del lecho y se calientan casi instantáneamente alcanzando la temperatura del lecho. Como resultado de este tratamiento, el combustible se piroliza muy rápidamente, dando como resultado una mezcla de componentes, con una cantidad relativamente elevada de materiales gaseosos. En la fase de gas, se produce una nueva gasificación y reacciones de transformación de los alquitranes. La mayoría de los sistemas van equipados con un ciclón interno, a fin de reducir al mínimo el escape de alquitrán por soplado. Las partículas de ceniza se transportan también por la parte superior del reactor, debiendo extraerse de la corriente de gas si este se emplea en aplicaciones para motores.
Figura 2.10. Gasificador de lecho fluidizado
Las principales ventajas de los gasificadores de lecho fluidizado, tal como lo indican Van der Aarsen (44) y otros, proceden de su flexibilidad en cuanto al material de alimentación debida al fácil control de la temperatura que puede mantenerse por debajo del punto de fusión de las cenizas (cáscaras de arroz) y a su capacidad de funcionar con materiales blandos y de grano fino (serrín, etc.) sin necesidad de un proceso previo. Con algunos combustibles de biomasa pueden producirse problemas en cuanto a alimentación, inestabilidad del lecho y entrada de cenizas volantes en los conductos de gas.
Otros inconvenientes del gasificador de lecho fluidizado están en el contenido bastante alto de alquitrán del gas producido (hasta 500 mg/m³ de gas), la combustión incompleta del carbono y lo mal que responde a los cambios de carga.
Debido especialmente al equipo de control necesario para hacer frente a este último inconveniente, no se prevén gasificadores muy pequeños de lecho fluidizado, debiendo establecerse su campo de aplicación, en principio, por encima de los 500 kW (potencia en el eje).
Los gasificadores de lecho fluidizado están actualmente disponibles, con carácter semicomercial, en varios fabricantes de Europa y EE.UU.
Actualmente se están desarrollando otros sistemas de gasificadores de biomasa (de doble fuego, de lecho retenido, de baño fundido), que son en parte subproductos de la tecnología de gasificación de carbón mineral. En algunos casos estos sistemas incorporan refinamientos y complicaciones innecesarios; en otros, tanto el tamaño como la complicación del equipo hacen casi imposible su aplicación en países en desarrollo. Por estas razones, se omiten en esta relación.
2.4.1. Necesidad de seleccionar el gasificador apropiado para cada combustible
2.4.2. Contenido energético del combustible
2.4.3. Contenido de humedad del combustible
2.4.4. Contenido de materias volátiles del combustible
2.4.5. Contenido de cenizas y composición química de las cenizas
2.4.6. Reactividad del combustible
2.4.7. Tamaño de las partículas y distribución por tamaño
2.4.8. Densidad aparente del combustible
2.4.9. Características de carbonización del combustible
2.4.10. Evaluación de la conveniencia de diversos tipos de biomasa como combustible para gasificadores
Los combustibles de biomasa asequibles para gasificación incluyen el carbón vegetal, la madera y los residuos de madera (ramas, ramillas, raíces, corteza, recortes de madera y serrín) y también múltiples residuos agrícolas (mazorcas de maíz, cascarones y desperdicios de coco, pajas de cereales, cáscaras de arroz, etc.) y turba.
Como estos combustibles difieren mucho en sus propiedades químicas, físicas y morfológicas, tienen diferentes exigencias en cuanto al método de gasificación y, en consecuencia, requieren diferentes diseños del reactor e incluso distintas tecnologías de gasificación. Por esta razón, a lo largo de un siglo de experiencias sobre gasificación, se han desarrollado y comercializado gran número de gasificadores diferentes, todos ellos orientados a manejar las propiedades específicas de un combustible determinado o de una variedad de combustibles.
Se deduce, en consecuencia, que no existe un gasificador "universal" capaz de manejar la totalidad o la mayoría de los tipos de combustibles y es muy probable que no exista en un futuro previsible.
La variedad de diseños incluye los de tiro directo, tiro invertido, tiro transversal, lecho fluidizado y otros sistemas de gasificación de biomasa de menor importancia (véase la Sección 2.3.). Todos los sistemas presentan ventajas e inconvenientes respecto al tipo de combustible, aplicación y sencillez de funcionamiento y, por ello, cada uno tendrá sus propias ventajas técnicas o económicas en una serie determinada de circunstancias.
Cada tipo de gasificador funcionará satisfactoriamente respecto a estabilidad, calidad del gas, eficiencia y pérdidas de presión, sólo dentro de ciertos limites de las propiedades del combustible, de las cuales las más importantes son:
- contenido energético
- contenido de humedad
- materias volátiles
- contenido de cenizas y composición química de éstas
- reactividad
- tamaño y distribución por tamaño
- densidad aparente
- propiedades de carbonización
Antes de elegir un gasificador para cualquier combustible en particular es importante asegurarse de que el combustible cumple los requisitos del gasificador o que puede ser tratado para cumplirlos. Si el combustible no ha sido gasificado anteriormente con éxito, habrá que realizar ensayos prácticos.
En las próximas secciones se analizan las propiedades más importantes de los combustibles y los combustibles de interés actual.
La elección de un combustible para gasificación se decidirá, en parte, por su valor calorífico. El método de medición del contenido energético del combustible influirá en el cálcalo de la eficiencia de un sistema determinado de gasificación. La información sobre los valores caloríficos de los combustibles suele ser confusa porque se emplean al menos tres bases diferentes:
- los valores caloríficos superiores del combustible, obtenidos en un calorímetro adiabático de bomba. Estos valores incluyen el calor de condensación del agua que se produce en la combustión. Como es muy difícil recuperar el calor de condensación en operaciones reales de gasificación estos valores presentan una visión demasiado optimista sobre el contenido energético del combustible;- los valores caloríficos superiores del combustible, con humedad cero, que ignoran el contenido real de humedad del combustible y dan por tanto estimaciones aún más optimistas del contenido energético;
- los valores caloríficos superiores del combustible, con cero de humedad y de cenizas, que ignoran los componentes incombustibles y dan por tanto estimaciones del contenido energético demasiado elevadas para un peso determinado de combustible, especialmente en el caso de algunos residuos agrícolas (cáscara de arroz).
Por lo tanto, la única forma realista de presentar los valores caloríficos de un combustible, para fines de gasificación, es dar los valores caloríficos inferiores (excluyendo el calor de condensación del agua producida) sobre la base de incluir las cenizas y con referencia específica al contenido real de humedad del combustible. En el Cuadro 2.4. se dan los promedios de los valores caloríficos inferiores, de la madera, el carbón vegetal y la turba.
Cuadro 2.4. Promedios de los valores caloríficos inferiores
|
Combustible |
Contenido de humedad (%) 1/ |
Valor calorífico inferior (kJ/kg) |
|
Madera |
20 - 25 |
13 - 15 000 |
|
Carbón vegetal |
2 - 7 |
29 - 30 000 |
|
Turba |
35 - 50 |
12 - 14 000 |
1/porcentaje de peso seco.
El valor calorífico del gas producido por cualquier tipo de gasificador depende, al menos en parte, del contenido de humedad del combustible.
El contenido de humedad se puede determinar sobre base seca o sobre base húmeda. En este capitulo se empleará el contenido de humedad (C.H.) sobre base seca.
El contenido de humedad se define del modo siguiente:
Por otra parte, el contenido de humedad sobre base húmeda se define del modo siguiente:
Las transformaciones de uno a otro se pueden obtener del modo siguiente:
Un alto contenido de humedad reduce la eficiencia térmica porque el calor se emplea para eliminar el agua y, en consecuencia, esta energía no está disponible para las reacciones de reducción y para la transformación de la energía térmica en energía química del gas. Por lo tanto, un alto contenido de humedad se traduce en valores caloríficos bajos del gas.
Cuando el gas se emplea para fines de combustión directa, unos valores caloríficos bajos pueden ser tolerables y el uso de combustibles con contenidos de humedad (base seca) hasta de un 40 a un 50%, es viable, especialmente cuando se emplean gasificadores de tiro directo.
En los gasificadores de tiro invertido, un alto contenido de humedad da lugar no sólo a unos bajos valores caloríficos del gas, sino también a unas bajes temperaturas en la zona de oxidación, lo que puede ocasionar una capacidad insuficiente de transformación de los alquitranes, si el gas se emplea para motores.
Debido, de una parte, al valor calorífico del gas (los motores necesitan gas de 4 200 kJ/m³ como mínimo para mantener una eficiencia razonable) y, de otra, al problema del arrastre de alquitranes, los gasificadores de tiro directo necesitan combustibles bastante secos (menos del 25 por ciento de humedad, de base seca).
La cantidad de volátiles en el material de alimentación determina la necesidad de medidas especiales (ya sea en el diseño del gasificador o en el proyecto del conjunto de depuración del gas) a fin de extraer los alquitranes del gas producido, en aplicaciones para motores.
En la práctica, el único combustible de biomasa que no necesita esta atención especial es el carbón vegetal de buena calidad.
Sin embargo, se subestima con frecuencia el contenido de materias volátiles del carbón vegetal que puede ser en la práctica del 3% al 30% o más. Como norma general, si el combustible contiene más del 10% de materias volátiles, debe emplearse en gasógenos de tiro invertido pero, incluso en este caso, hay que tener en cuenta el método de producción del carbón vegetal. El carbón vegetal producido en grandes retortas suele ser bastante constante respecto al contenido de materias volátiles, pero se pueden observar grandes diferencias en el carbón vegetal producido en pozos abiertos de pequeña dimensión o en hornos metálicos portátiles, que son corrientes en muchos países en desarrollo.
Las cenizas pueden causar diversos problemas, sobre todo en los gasificadores de tiro directo o de tiro invertido. La formación de escoria o de clinker en el reactor, ocasionada por la fusión y aglomeración de cenizas, en el mejor de los casos representará un aumento importante de la mano de obra necesaria para el funcionamiento del gasificador. Si no se adoptan medidas especiales, la acumulación de escoria puede ocasionar la formación excesiva de alquitrán y el bloqueo total del reactor. En el caso peor, existe la posibilidad de que se produzcan fugas de aire con el consiguiente riesgo de explosión, especialmente en los gasificadores de tiro directo.
El que se produzca o no la formación de escoria, depende del contenido de cenizas del combustible, de las características de fusión de las cenizas y de la distribución de la temperatura en el gasificador. Unas elevadas temperaturas localizadas en los huecos del lecho de combustible en la zona de oxidación, ocasionados por la formación de cavidades en el lecho, pueden causar la formación de escoria, incluso empleando combustibles con una elevada temperatura de fusión de las cenizas.
En general, no se observa formación de escoria con combustibles que poseen un contenido de cenizas inferior al 5 ó 6%. Cabe esperar una importante formación de escoria en el caso de combustibles que posean un contenido de cenizas del 12 por ciento y más. Para combustibles con contenido de cenizas entre el 6 y el 12 por ciento, el resultado en cuanto a formación de escoria depende en gran medida de la temperatura de fusión de las cenizas, que viene influida por la presencia de oligoelementos que da lugar a la formación de mezclas eutécticas con un bajo punto de fusión.
Para fines de gasificación, el resultado en cuanto a la fusión de las cenizas del combustible se debe determinar en atmósferas de oxidación y de reducción.
En lo que se refiere al contenido de cenizas, la madera en bruto y los carbones de madera rara vez presentan problemas, siendo su contenido de cenizas normalmente del 0,72 al 2,5 por ciento. Sin embargo, en una serie de maderas tropicales (22) el contenido de cenizas del carbón vegetal puede ser mucho mayor, no siendo adecuados estos tipos de carbones para fines de gasificación. El Cuadro 2.5. enumera una serie de residuos agrícolas que han sido ensayados, respecto a sus propiedades de formación de escoria, en un pequeño gasógeno de laboratorio de tiro invertido (19).
Los gasificadores de tiro directo y de tiro invertido pueden funcionar con combustibles que producen escoria, si se modifican especialmente (parrillas de movimiento continuo y combustión del gas de pirólisis externa). Los gasificadores de tiro transversal que trabajan a temperaturas muy elevadas, de 1 500 °C y más, necesitan precauciones especiales respecto al contenido de cenizas del combustible. Los reactores de lecho fluidizado, debido a su capacidad intrínseca de controlar la temperatura de funcionamiento, sufren menos problemas de derretimiento y fusión de las cenizas.
La reactividad es un factor importante que determina el coeficiente de reducción, en un gasificador, del dióxido de carbono en monóxido de carbono. La reactividad influye en el diseño del reactor porque impone la altura necesaria de la zona de reducción.
Además, ciertas características operativas del sistema de gasificación (respuesta consiguiente a la carga, nueva puesta en marcha después de una parada temporal) se ven afectadas por la reactividad de la escoria producida en el gasificador. La reactividad depende, en primer lugar, del tipo de combustible. Por ejemplo, se ha observado que combustibles como la madera, el carbón vegetal y la turba, son mucho más reactivos que el carbón mineral.
Indudablemente existe una relación entre la reactividad y el número de puntos activos en la superficie del carbón, lo que depende de las características morfológicas y de la era geológica del combustible. El tamaño del grano y la porosidad del carbón producido en la zona de reducción, influyen en la superficie disponible para la reducción y por ello, en la intensidad de las reacciones de reducción.
Es bien conocido que la reactividad del carbón se puede mejorar mediante diversos procesos, como el tratamiento con vapor (carbón activado) o el tratamiento con cal o con carbonato sódico.
Cuadro 2.5. Formación de escoria de residuos agrícolas en un pequeño gasificador de laboratorio de tiro invertido (Jenkins, (19))
|
Combustibles que dan escoria |
Tanto por ciento de contenido de cenizas |
Grado de formación de escoria |
|
Mezcla de paja de cebada |
10,3 |
fuerte |
|
Paja de fríjoles |
10,2 |
fuerte |
|
Tallos de maíz |
6,4 |
moderado |
|
Restos de desmotado del algadón |
17,6 |
fuerte |
|
Tallos de algodón prensados |
17,2 |
fuerte |
|
Gránulos de combustible obtenido de desechos |
10,4 |
fuerte |
|
Cáscaras de arroz en gránulos |
14,9 |
fuerte |
|
Paja de cárcamo |
6,0 |
pequeño |
|
Mezcla de cáscaras de nueces, en gránulos |
5,8 |
moderado |
|
Paja de trigo y tallos de maíz |
7,4 |
fuerte |
|
Combustibles que no forman escoria | ||
|
Paja de alfalfa prensada |
6,0 |
|
|
Cáscaras de almendra |
4,8 |
|
|
Mazorcas de maíz |
1,5 |
|
|
Huesos de aceituna |
3,2 |
|
|
Huesos de melocotón |
0,9 |
|
|
Huesos de ciruela |
0,5 |
|
|
Cáscaras de nuez (prensadas) |
1,1 |
|
|
Bloques de madera de abeto Douglas |
0,2 |
|
|
Podas municipales de árboles |
3,0 |
|
|
Residuos de fabricación de productos de madera |
0,3 |
|
|
Astillas de madera de trozas enteras |
0,1 |
|
Otro punto interesante es el efecto supuestamente positivo sobre la intensidad del gasificación de una serie de elementos que actúan como catalizadores. Pequeñas cantidades de potasio, sodio y zinc pueden tener un gran efecto sobre la reactividad del combustible.
Los gasificadores de tiro directo y de tiro invertido tienen limitaciones en cuanto al rango aceptable del tamaño del combustible contenido en el material de alimentación. Un material de alimentación de grano fino o blando, puede ocasionar problemas de circulación en la sección del depósito del gasificador y también por una caída inadmisible de presión encima de la zona de reducción y por una alta proporción de polvo en el gas. Las fuertes caídas de presión motivan la reducción de la carga de gas del equipo de tiro invertido lo que origina unas bajas temperaturas y la producción de alquitrán.
Un tamaño excesivo de las partículas o trozas, da lugar a una menor reactividad del combustible, lo que se traduce en problemas de arranque, mala calidad del gas y problemas de transporte a través del equipo. Una gran variedad de la distribución por tamaño del material de alimentación, agrava generalmente los fenómenos anteriores. Los tamaños excesivamente grandes de las partículas pueden ocasionar problemas de canalización del gas, especialmente en los gasificadores de tiro directo.
El tamaño aceptable del combustible para los sistemas de gasificación, depende en cierta medida del diseño de las instalaciones. En general, los gasificadores de madera funcionan con tarugos de madera y astillas cuya dimensión varia de 8 x 4 x 4 cm a 1 x 0,5 x 0,5 cm Los gasificadores de carbón vegetal generalmente se abastecen con pedazos de carbón cuya dimensión vería entre 1 x 1 x 1 cm y 3 x 3 x 3 cm. Los gasificadores de lecho fluidizado normalmente pueden funcionar con combustibles cuyos diámetros de partículas varían entre 0,1 y 20 mm.
La densidad aparente se define como el peso por unidad de volumen de combustible simplemente apilado. Los combustibles de alta densidad aparente tienen ventajas porque representan un alto valor de energía por volumen. Consecuentemente, estos combustibles necesitan menos espacio de depósito para un tiempo dado de recarga. Los combustibles de baja densidad aparente dan lugar a veces a un caudal insuficiente de gas lo que se traduce en valores caloríficos del gas reducidos y finalmente en la combustión del carbón en la zona de reducción. Las densidades medias aparentes de la madera, el carbón vegetal y la turba se dan en el Cuadro 2.6. Unas densidades aparentes inadecuadas se pueden mejorar mediante elaboración de briquetas o gránulos.
Cuadro 2.6. Densidades aparentes de tipo medio
|
Combustible |
Densidades aparentes 1/(kg/m³) |
|
Madera |
300 - 550 |
|
Carbón vegetal |
200 - 300 |
|
Turba |
300 - 400 |
1/La densidad aparente varia de forma importante con el contenido de humedad y con el tamaño de las partículas del combustible.
La existencia de dificultades técnicas y morfológicas con el carbón producido en la zona de oxidación ya han sido referidas. Algunos materiales de alimentación, (especialmente las coníferas) producen carbón que muestra una tendencia a desintegrarse. En casos extremos, esto puede ocasionar una caída inadmisible de presión.
Según la información disponible (38), una serie de maderas frondosas tropicales (notablemente la teca) exigen tiempos prolongados de permanencia en la zona de pirólisis, lo que produce problemas de circulación en el depósito, una baja calidad del gas y el arrastre de alquitrán.
Carbón vegetal
Como el carbón vegetal de buena calidad casi no contiene alquitranes, es un combustible conveniente para todo tipo de gasificadores Un buen carbón vegetal para gasificadores contiene pocas materias minerales y no se desmenuza o desintegra fácilmente.
Las principales desventajas son el coste relativamente elevado del carbón vegetal, lo que reduce su competitividad en comparación con los combustibles líquidos, y las pérdidas energéticas que tienen lugar en la fabricación del carbón (puede perderse hasta el 70% de la energía presente originalmente en el carbón). Este último factor puede tener especial importancia para aquellos países en desarrollo que sufren ya una existencia insuficiente de energía de biomasa para atender sus necesidades nacionales de energía.
La experiencia ha demostrado que muchos tipos de madera y también algunos residuos agrícolas (por ejemplo, la cáscara del coco) pueden dar carbón vegetal de primera clase para gasificación.
Madera
La mayoría de las especies de madera tienen contenidos de ceniza inferiores al 2 por ciento, siendo, por lo tanto, combustibles apropiados para los gasificadores de lecho fijo.
Debido al alto contenido de sustancias de la madera, los sistemas de tiro directo producen gas que contiene alquitrán, apropiado sobre todo para combustión directa. La depuración del gas para Hacerlo apropiado para motores, es bastante difícil y requiere un esfuerzo importante de capital y mano de obra. Se pueden diseñar sistemas de tiro invertido para conseguir un gas prácticamente libre de alquitrán, dentro de ciertos limites de capacidad, cuando se alimentan con bloques de madera o astillas de madera, de bajo contenido de humedad. Después de pasar por un conjunto relativamente sencillo de depuración, el gas se puede utilizar para motores de combustión interna.
Serrín
La mayoría de los gasificadores de tiro invertido actualmente disponibles no son apropiados para serrín que no esté granulado. Los problemas que se presentan son: producción excesiva de alquitrán, caída inadmisible de presión y falta de circulación en el depósito de combustible.
Los gasificadores de lecho fluidizado pueden aceptar pequeñas partículas de serrín y producir un gas de buena calidad para hornos. Para su empleo en motores es necesario un sistema de depuración bastante complicado.
Turba
El mayor problema de la gasificación de la turba obedece a su alto contenido de humedad y con frecuencia también a su contenido, bastante alto, de cenizas. En Finlandia se han instalado gasificadores de tiro directo alimentados con tepes de turba, con un contenido de humedad próximo al 30 ó 40%, para fines de calefacción de barrios, habiéndose ensayado con éxito pequeños gasificadores de tiro invertido, alimentados con gránulos de turba bastante secos, en aplicaciones para motores de gas (25). Durante la Segunda Guerra Mundial, muchos vehículos de transporte se adaptaron para funcionar con gas de madera o de turba, tanto en Finlandia como en Suecia.
Residuos agrícolas
En principio, los países en desarrollo tienen una extensa variedad de residuos agrícolas aptos para gasificación.
Sin embargo, en la práctica es muy limitada la experiencia con la mayoría de los tipos de desechos. Gran parte de lo publicado al respecto se refiere a la cáscara de coco (10) y a las mazorcas de maíz (39), siendo poco probable según parece que creen problemas serios en los gasificadores de lecho fijo. Los residuos de coco (35), de acuerdo con la información disponible, presentan problemas de formación de aglomerados en la zona del depósito pero el material se puede gasificar cuando se mezcla con cierta cantidad de madera. La mayoría de las pujas de cereales tienen contenidos de cenizas superiores al diez por ciento, presentando problemas de formación de escorias en los gasificadores de tiro invertido (18). La cáscara de arroz puede tener contenidos de cenizas del veinte por ciento y más, por lo que probablemente es el combustible existente de mayor dificultad. Continúan las investigaciones sobre el diseño de gasificadores de tiro invertido para este tipo de material (21) aunque la información publicada indica que los gasificadores italianos de tiro directo han venido accionando pequeños molinos de arroz durante décadas (5). El sistema parece haberse reanimado en China, donde, según se informa están funcionando una serie de gasificadores de tiro directo (28).
Es posible gasificar la mayoría de los tipos de residuos agrícolas en los gasificadores de tiro directo diseñados antes de la guerra. Sin embargo, los costes de capital, mantenimiento y mano de obra y las consecuencias ambientales (eliminación de condensados de alquitrán) que representa la depuración del gas, impiden las aplicaciones para motores en la mayoría de las circunstancias. Los equipos de tiro invertido son más baratos de instalación y funcionamiento originando menores dificultades ambientales pero la tecnología actual es inapropiada para manipular los residuos agrícolas (con la posible excepción de las mazorcas de maíz y la cáscara de coco) sin instalar costosos dispositivos adicionales (y en parte no comprobados).
Incluso para la cáscara de coco y las mazorcas de maíz, la información disponible se basa en un número limitado de horas de funcionamiento, debiéndose hacer nuevas comprobaciones mediante ensayos prolongados (digamos 10 000 horas) en condiciones reales. Los gasificadores de lecho fluidizado parecen ser una gran promesa para la gasificación de una serie de residuos agrícolas "difíciles". Actualmente sólo se dispone de instalaciones semicomerciales, siendo muy limitada la experiencia sobre su funcionamiento. Por esta razón, no se prevé su aplicación inmediata en los países en desarrollo.
2.5.1. Procesos que tienen lugar en el gasificador de tiro invertido
2.5.2. Normas de diseño para gasificadores de tiro invertido
El gasificador de tiro invertido permite emplear la madera como combustible y producir un gas con un contenido de alquitrán suficientemente reducido para hacer funcionar un motor de combustión interna. Hay otros medios de tratar el problema del alquitrán pero pueden crear sus propios problemas. Por ejemplo, el empleo del carbón vegetal como combustible representa una pérdida de energía y aumenta el riesgo de agotamiento de los recursos madereros. El uso de sistemas de depuración después del gasificador, implica difíciles problemas de eliminación de desechos.
Los gasificadores de tiro invertido, al ser comparativamente fáciles de fabricar y funcionar, son probablemente los más apropiados para los países en desarrollo, como fuente de suministro descentralizado de energía para comunidades e industrias rurales.
La transformación del combustible sólido en gas, en un gasificador de tiro invertido y las bases de diseño para estos gasificadores se van a examinar por lo tanto, con mas detalle.
En el gasificador de tiro invertido, que se presenta esquemáticamente en la Figura 2.8., el combustible se introduce por la parte superior, el aire normalmente se introduce en un nivel intermedio y el gas se extrae por el fondo.
En el gasificador es posible distinguir cuatro zonas independientes, cada una de ellas caracterizada por un paso importante en el proceso de transformación del combustible en gas combustible. A continuación se examinan los procesos de las cuatro zonas y en la sección siguiente se discutirán las bases de diseño.
a) Sección del depósito (zona de secado)
El combustible sólido se introduce en el gasificador por la parte superior. No es necesario utilizar un equipo complicado de alimentación de combustible porque en este lugar se puede tolerar una pequeña cantidad de escape de aire. Como resultado de la transferencia de calor procedente de las partes inferiores del gasificador se produce un secado de la madera, o combustible de biomasa, en la sección del depósito.
El vapor de agua circulará hacia abajo y se añadirá al vapor de agua formado en la zona de oxidación. Parte de ella puede reducirse a hidrógeno (véase la ecuación del párrafo 2.2.) y el resto acabará como humedad en el gas.
b) Zona de pirólisis
A temperaturas superiores a los 250°C, el combustible de biomasa comienza a pirolizarse. Los detalles de estas reacciones de pirólisis no son bien conocidos, pero se puede suponer que las grandes moléculas (como la celulosa, la hemicelulosa y la lignina) se descomponen en moléculas de tamaño medio y carbono durante el calentamiento del material de alimentación. Los productos de la pirólisis caen hacia abajo, a las zonas más calientes del gasificador. Parte de ellos se queman en la zona de oxidación y el resto se descompone en moléculas aún menores de hidrógeno, metano, monóxido de carbono, etano, etileno, etc. si permanecen suficiente tiempo en la zona caliente.
Si el tiempo de estancia en la zona caliente es demasiado corto o la temperatura demasiado baja, las moléculas de tamaño medio pueden escapar y condensarse en forma de alquitranes y aceites, en las partes de menor temperatura del sistema.
c) Zona de oxidación
Una zona de combustión (oxidación) se forma en el nivel en que se introduce el oxigeno (aire). Las reacciones con el oxigeno son muy exotérmicas, traduciéndose en una rápida elevación de la temperatura hasta 1 200 a 1 500°C.
Como se mencionó anteriormente, una función importante de la zona de oxidación, aparte de la generación de calor, es transformar y oxidar prácticamente todos los productos condensables procedentes de la zona de pirólisis. A fin de evitar puntos fríos en la zona de oxidación, hay que elegir bien las velocidades de admisión de aire y la geometría del reactor.
Generalmente se emplean dos métodos para obtener una distribución uniforme de la temperatura:
- reducción de la superficie de la sección transversal a una cierta altura del reactor (concepto "garganta"),- distribución de las toberas de entrada de aire a lo largo de la circunferencia de la superficie transversal reducida, o utilización alternativa de una entrada central de aire, con un dispositivo apropiado de pulverización.
En la próxima sección se dan normas para el diseño de la garganta.
d) Zona de reducción
Los productos de reacción de la zona de oxidación (gases calientes y carbón vegetal incandescente) se desplazan en sentido descendente hacia la zona de reducción.
En esta zona, el calor sensible de los gases y el carbón vegetal se transforma al máximo posible en energía química del gas pobre (véase las ecuaciones (a) (b) de la sección 2.2.).
El producto final de las reacciones químicas que tienen lugar en la zona de reducción es un gas combustible que puede emplearse como combustible en quemadores y después de quitarle el polvo y refrigerarlo, es apropiado para motores de combustión interna.
Las cenizas que resultan de la gasificación de la biomasa deben extraerse de vez en cuando del gasificador. Normalmente se considera necesaria una parrilla móvil en la parte inferior del equipo. Esto permite batir el lecho de carbón vegetal, en la zona de reducción, ayudando de este modo a evitar los bloqueos que pueden motivar la obstrucción de la corriente de gas.
Se ha realizado un análisis de las características de diseño del gasificador de Imbert (Figura 2.11.) basándose en la experiencia sueca (43).
El dimensionamiento del gasificador Imbert está estrechamente relacionado con el concepto de "carga del hogar". La carga del hogar Bg de define como la cantidad de gas pobre reducida a condiciones normales (p, T), dividida por el área de la superficie de la "garganta" en la circunferencia mínima, y se suele expresar en m³/cm²/h. Por otra parte, la carga del hogar puede expresarse como la cantidad de combustible seco consumido, dividida por el área de la superficie del estrechamiento más angosto (Bs), en cuyo caso, la carga del hogar se expresa en kg/cm²/h. Como un kilogramo de combustible seco, en circunstancias normales, produce alrededor de 2,5 m³ de gas pobre, la relación en Bg y Bg viene dada por:
Bg = 2,5 Bs
De acuerdo con la información dada en (8) Bg puede alcanzar un valor máximo próximo a unos 0,9 (Bs = 0,36) en funcionamiento continuo en buenos gasificadores de tipo "Imbert". Valores superiores de Bg dan lugar a unas caídas extremas de presión en la zona de reducción del equipo.
Figura 2.11. Esquema de un gasificador de tipo Imbert
Los valores mínimos de Bg dependen fundamentalmente del termoaislamiento de la zona caliente. Por debajo de una cierta carga del hogar la temperatura en la zona caliente se reduce tanto que resulta inevitable la producción de alquitrán.
Los generadores normales de tipo "Imbert" presentan valores mínimos de Bg, del orden de 0,30 a 0,35, lo que se traduce en índices de reducción de potencia, con un factor de 2,5 a 3. Los gasógenos modernos están mejor aislados y pueden funcionar sin alquitranes con valores de Bg de 0,15 a 0,18.
El diseño de un gasificador de tipo "Imbert" se reduce en la actualidad a calcular la cantidad máxima de gas necesaria. Esto se hace fácilmente teniendo en cuenta el volumen del cilindro y el número de revoluciones y también la eficiencia volumétrica de un motor de combustión interna acoplado al sistema (véase la sección 2.1. y el Apéndice 1). Partiendo de esta cantidad de gas y también del valor máximo de Bg (0,9) se puede calcular la superficie del estrechamiento mínimo y el diámetro de la garganta.
La Academia Sueca de Ciencias Técnicas (43) presenta también datos empíricos respecto a la altura de las toberas sobre el estrechamiento mínimo, el diámetro del anillo de abertura de las toberas y también las toberas apropiadas para distintas capacidades.
En las Figuras de 2.12. a 2.14. se reproducen estos datos y también en el Cuadro 2.7.
Figura 2.12. Altura del plano de las toberas sobre el estrechamiento del hogar, para diversos tamaños de generador
Cuadro 2.7. Toberas apropiadas para gasógenos de madera que funcionan con motores de cuatro tiempos (43)
|
dt |
dn |
n |
|
70 |
10,5 |
3 |
|
80 |
9 |
5 |
|
90 |
10 |
5 |
|
100 |
11 |
5 |
|
120 |
12,7 |
5 |
|
130 |
13,5 |
5 |
|
150 |
15 |
5 |
|
170 |
14,3 |
7 |
|
190 |
16 |
7 |
|
220 |
18 |
7 |
|
270 |
22 |
7 |
|
300 |
24 |
7 |
dt = diámetro de la garganta en la zona de sección transversal mínima
dn = diámetro de las toberas
n = número de toberas a instalar
Figura 2.14. Diámetro del anillo de las toberas y apertura de éstas, en relación con el estrechamiento del hogar y en función del diámetro del hogar, para diversos modelos de generadores
Venselaar (46) compara las características de diseño de una serie de gasificadores que se podían obtener comercialmente durante la Segunda Guerra Mundial. Hace una distinción entre los diseños "sin garganta", de "una sola garganta" y de "doble garganta" (tipo Imbert) (véase la Figura 2.15.). Llega a la conclusión de que los tres tipos difieren sobre todo en la carga máxima admisible del hogar, dando valores de Bs máximo de 0,03, 0,11 y 0,4 respectivamente para los gasificadores "sin garganta", "de una sola garganta" y "de garganta doble".
De esta comparación se obtienen otras conclusiones:
- las velocidades de entrada de aire por las toberas debe ser del orden de 30 a 35 m/s;- la inclinación de la garganta debe estar entre los 45° y 60°;
- el diámetro del hogar a la altura de la entrada de aire debe ser 10 cm mayor que el diámetro de la garganta en el caso del modelo de garganta simple y unos 20 cm mayor que el diámetro del estrechamiento, máximo en el caso del modelo "de doble garganta";
- la altura de la zona de reducción debe ser superior a 20 cm (la altura media de la zona de reducción para los gasificadores analizados era de 32 cm);
- la altura del plano de las toberas de entrada de aire debe ser de 10 cm sobre el estrechamiento máximo.
En lo que se refiere a los gasificadores de "doble garganta" o de "tipo Imbert", son bastante concordantes las normas de diseño presentadas por los autores de (43) y (46).
Debe destacarse que las anteriores normas empíricas de diseño están basadas en experiencias con gasógenos alimentados con tacos de madera cuyo tamaño varía entre 3 a 5 x 6 a 8 cm.
Figura 2.15. Clasificación de los gasificadores de tiro invertido, según Venselaar (46)
Groeneveld hace un enfoque más teórico (17), subrayando la importancia del tamaño del combustible. Propone que el factor determinante de la carga máxima de cualquier gasificador es el tiempo de permanencia del combustible en la zona de pirólisis. Si este tiempo es demasiado corto, la penetración del calor en una partícula dada de combustible es insuficiente para ocasionar una desvolatilización completa. En consecuencia, tendrá lugar una producción adicional de elementos volátiles en la zona de reducción, lo que ocasiona el desarrollo de alquitranes y su arrastre por el gas producido.
Groeneveld (17) considera que el tiempo necesario para una desvolatilización completa es igual o mayor que el tiempo de calentamiento de Fourier. Haciendo algunas hipótesis sobre la extensión y geometría de la zona de pirólisis, se puede calcular la carga máxima del gasificador, independientemente del tamaño de las partículas del combustible.
Comparando los cálculos de Groeneveld con las cargas máximas del gasificador realmente medidas, las cargas calculadas parecen ser demasiado elevadas, con un factor de 1,5 a 2. Las razones de esta discrepancia no están totalmente claras. Venselaar propone un espacio de tiempo entre el calentamiento completo y la desvolatilización completa. Por otra parte, probablemente hay que tener en cuenta la influencia de la distribución del tamaño de las partículas sobre los resultados de los cálculos de la carga máxima (ver los Apéndices 1 y 2).
2.6.1. Limpieza del polvo del gas
2.6.2. Refrigeración del gas
El funcionamiento sin contratiempos de un motor de combustión interna que utiliza gas pobre como combustible, exige un gas bastante limpio (véase la sección 2.1.3.).
Como se ha mencionado en las secciones 2.3. y 2.5. los gasificadores de tiro invertido bien diseñados, pueden cumplir los criterios de limpieza, al menos para una variedad bastante amplia de capacidades (es decir, del 20% al 100% de carga completa). Los gasificadores de tiro directo en aplicaciones para motores tienen que estar dotados de equipos de separación de alquitranes, voluminosos y caros. Sin embargo, es posible obtener gas de gasificadores de tiro directo con ciertas especificaciones según informa Leuchs (26). Se están desarrollando actualmente métodos para reformar el gas en una zona de altas temperaturas (gasificación secundaria) a fin de quemar o craquear los alquitranes.
Cuando se emplean combustibles apropiados, el gasificador y el depurador están bien diseñados y funciona el gasificador por encima de su capacidad mínima, la contaminación del gas por alquitrán no representa un problema importante.
La refrigeración del gas sirve sobre todo aura aumentar la densidad del gas con el fin de que entre el máximo de gas combustible en el cilindro del motor, en cada carrera del pistón. Una reducción del 10 por ciento de la temperatura del gas aumenta la producción máxima del motor casi en un dos por ciento. La refrigeración contribuye también a la depuración del gas y permite evitar la condensación de la humedad del gas después de mezclarse con el aire y antes de entrar en el motor.
El problema principal de la producción de un gas de calidad para motores es la eliminación del polvo.
La cantidad de polvo existente en el gas pobre a la salida del gasificador depende del diseño del equipo, de la carga del gasificador y del tipo de combustible empleado.
En la mayoría de los gasificadores la dirección de la corriente de gas se invierte ya más de 180° en el interior del aparato y esta simple medida extrae el polvo más grueso.
La cantidad de polvo por m³ existente en el gas aumenta generalmente con la carga del gasificador, por la simple razón de que a mayores cargas se producen mayores velocidades del gas y, con ello, un mayor arrastre de polvo.
Las partículas de combustible pequeñas generalmente ocasionan mayores concentraciones de polvo en el gas, que cuando se emplean tacos de madera.
El tipo de combustible tiene también su influencia: las frondosas generalmente producen menos polvo que las resinosas. La gasificación de mazorcas de maíz produce una seria contaminación de polvo, tal como informan Zijp et al. (48).
Para gasificadores normales de tiro invertido tipo "Imbert", se produce polvo, cuando se emplean tacos de madera de alrededor de 4 x 4 x 4 cm, en cantidades que varían, según la información disponible, entre 0,5 y 5 gr/m³ de gas (34).
Nordström (33) realizó investigaciones sobre la dimensión y distribución por tamaño del polvo del gas del generador, cuyos resultados se reproducen en el Cuadro 2.8. Es posible separar alrededor del 60% al 70% de este polvo, de la corriente de gas, por medio de un ciclón bien diseñado.
El resto (partículas de polvo de diámetro menor) tiene que eliminarse por otros medios.
Cuadro 2.8. Distribución por tamaños del polvo del gas Pobre (33)
|
Tamaño de las partículas de polvo m 10-6 |
Porcentaje en el gas % |
|
más de 1 000 |
1,7 |
|
1 000 - 250 |
24,7 |
|
250 - 102 |
23,7 |
|
102 - 75 |
7,1 |
|
75 - 60 |
8,3 |
|
menos de 60 |
30,3 |
|
pérdidas |
4,2 |
Durante la Segunda Guerra Mundial se empleó una multitud de filtros secos, con lana de madera, fibra de sisal, lana de vidrio, astillas de madera empapadas de aceite y otros tipos de material fibroso o granular, para la extracción del polvo fino (tamaño medio de partículas inferior a 60 micrones), pero su éxito fue muy limitado.
Los purificadores húmedos como las depuradoras de agua y aceite y las burbujeadoras son también eficaces pero sólo dentro de ciertos límites.
El mejor efecto de depuración se obtiene utilizando filtros de tela. Sin embargo, los filtros normales de tela son muy sensibles a la temperatura del gas. En el caso de la gasificación de madera o residuos agrícolas, el punto de condensación del gas está alrededor de los 70°C. Por debajo de esta temperatura el agua se condensa en los filtros, ocasionando la obstrucción de la corriente de gas y una caída inaceptable de presión en la sección de filtrado del sistema de gasificación.
A temperaturas superiores, los filtros normales de tela tienden a carbonizarse y a descomponerse en la corriente de gas caliente. Otro de sus inconvenientes es que están sujetos a una acumulación rápida de polvo, por lo que necesitan una limpieza frecuente si no se utilizan junto con un proceso previo de filtrado.
Los inconvenientes de los filtros de tela se puede resolver en parte utilizando bolsas de filtro de lana de vidrio tejida, tal como propone Nordström (33). Este material se puede utilizar con temperaturas hasta de 300°C. Calentando (con aislamiento) la envoltura del filtro por medio de una corriente de gas caliente procedente del gasificador, se puede mantener en el filtro temperaturas superiores a 100°C, evitando de este modo la condensación y la caída de presión. Si se emplea un proceso de filtrado previo consistente en un ciclón y/o un filtro de choque, es posible mantener los intervalos de servicio y mantenimiento dentro de limites razonables, o sea una limpieza cada 100 a 150 h. Esta combinación es probablemente la más apropiada para sistemas de tamaño pequeño y mediano (hasta una potencia eléctrica de 150 kW), habiendo demostrado la experiencia que el desgaste del motor no es mayor que con combustibles líquidos (33).
También es conocido que los filtros electrostáticos tienen excelentes propiedades para la separación de partículas y que muy probablemente se podrían emplear también para producir un gas de calidad aceptable. Sin embargo, estos filtros son caros y por esta razón sólo se prevé su empleo en instalaciones grandes, es decir, equipos que producen 500 kW o más de potencia eléctrica.
Una excelente presentación de la teoría de refrigeración del gas pobre puede encontrarse en (43). Los principales factores a tener en cuenta son el calor perceptible del gas, el contenido de vapor de agua y su calor de condensación y los efectos de incrustación del refrigerador.
Los refrigeradores del gas del generador corresponden a tres grandes categorías: refrigeradores de convección natural, de convección forzada y de agua.
Los refrigeradores de convección natural consisten simplemente en una cierta longitud de tubo. Son sencillos de emplear y limpiar y no requieren aporte adicional de energía. Pueden ser bastante voluminosos aunque este problema se puede resolver en parte utilizando tubo delgado a fin de incrementar la superficie de conducción. Los refrigeradores de convección forzada van equipados con un ventilador que fuerza la circulación del aire refrigerado alrededor de los tubos de gas. Este tipo de refrigerador puede ser mucho más pequeño que los refrigeradores de convección natural. Sus inconvenientes son: el aporte adicional de energía para el ventilador y la necesidad de utilizar tubos de refrigeración del gas de pequeño diámetro que pueden producir problemas de incrustación. El primero se puede resolver en algunos casos utilizando el aire de refrigeración suministrado por el ventilador del motor.
Hay refrigeradores de agua de dos tipos, el lavador de gases y el intercambiador de calor; independientemente de que se utilice uno u otro, el objetivo es generalmente enfriar y limpiar el gas en una sola operación.
Existen lavadores de gases de tipos muy diferentes, pero el principio siempre es el mismo: se lleva el gas en contacto directo con un medio fluido (generalmente agua) que se rocía en la corriente de gas por medio de un dispositivo de inyección apropiado. La ventaja de este sistema es su pequeño tamaño. Los inconvenientes son la necesidad de agua dulce, la mayor complicación del mantenimiento y cierto consumo de energía resultante de la utilización de una bomba hidráulica.
La depuración del agua de refrigeración de fenoles y otros componentes de alquitrán será necesaria también, con toda probabilidad, lo que constituye una operación engorrosa. Pero hasta ahora sólo se dispone de muy pocas experiencias y de cálculos de costes del tratamiento del agua de desecho.
Es posible también enfriar el gas por medio de un intercambiador de calor de agua refrigerada. Este es un método apropiado cuando se dispone de forma continua de una fuente de agua dulce y se puede justificar la inversión adicional y el consumo energético de una bomba hidráulica apropiada.
2.7.1. Producción de gas combustible
2.7.2. Producción de energía mecánica o eléctrica en instalaciones fijes
2.7.3. Aplicaciones móviles
Foley y Barnard han publicado un análisis de las aplicaciones de los gasificadores (12) en el que se expone el uso de los gasificadores para la producción de gas combustible, para la generación de calor y el empleo de los gasificadores en combinación con los motores.
La mayoría de los gasificadores que funcionan comercialmente en la actualidad se utilizan para la producción de calor, más que para combustible de motores de combustión interna, debido a sus menores exigencias en cuanto al valor calorífico del gas y al contenido de alquitrán. La ventaja fundamental de un gasificador acoplado de forma compacta con un sistema de combustión, es su capacidad para producir mayores temperaturas que las que se pueden lograr con una combustión convencional en parrilla, sujeta a problemas de formación de escoria a tales temperaturas, y en consecuencia el aumento de la eficiencia y producción de la caldera.
Todos los tipos de gasificadores descritos en la sección 2.3. pueden producir gas pobre para combustión pero por razón de sencillez se prefieren los gasificadores de tiro directo en los pequeños sistemas (por debajo de una potencia térmica de 1 MW), mientras que los gasificadores de lecho fluidizado son apropiados para potencias superiores.
Las instalaciones más convencionales alimentadas con petróleo, se pueden transformar para gas pobre.
Los usuarios con mayor potencial de utilización futura del gas combustible de bajo poder calorífico, se encontrarán sin duda entre las siguientes industrias: metalurgia, cerámica, cemento, cal y pasta de celulosa. En estas ramas industriales, la transformación de hornos, calderas y secadores, del petróleo a su funcionamiento con gas combustible, es en gran parte una operación bastante sencilla.
Los gasificadores conectados a motores fijos, ofrecen la posibilidad de utilizar la biomasa para producir energía mecánica o eléctrica, con un campo de aplicación desde unos pocos kW hasta algunos MW.
El gas pobre de calidad para motor necesita un valor calorífico suficientemente elevado (superior a 4 200 kJ/m³), debe estar libre prácticamente de alquitrán y de polvo, para reducir al mínimo el desgaste del motor y debe estar lo más frío posible a fin de lograr el máximo de admisión de gas en el motor y la mayor potencia de salida.
Es conveniente distinguir entre unas y otras aplicaciones, en cuanto a potencia de salida. La Figura 2.16. muestra la gama de potencias de diversos sistemas (36)
Figura 2.16. Aplicación de los procesos de gasificación de biomasa
a) Aplicaciones de gran dimensión (500 kW y superiores)
Este es el dominio de las instalaciones especializadas de lecho fluidizado o de lecho fijo.
El equipo se hace de encargo y completamente automatizado. El diseño y la fabricación deben estar a cargo de empresas especializadas de mecánica y construcción.
Los costes de los equipos serán probablemente del orden de 1 000 US$ por kW instalado o superiores.
b) Aplicaciones de dimensión intermedia (30-500 kW)
El equipo de lecho fijo, alimentado por madera, carbón vegetal y algunos tipos de residuos agrícolas (mazorcas de maíz, cáscaras de coco), lo ofrecen una serie de fabricantes europeos y de los EE.UU.
Una demanda adecuada y continuada de este tipo de equipos, podría llevar a la normalización de componentes y diseños, reduciéndose de esta forma los costes de producción. Por el momento, los costes que se cotizan son del orden de los 300-800 US$/kW (sólo el gasificador) dependiendo del tipo y capacidad, del nivel de automatización y del equipo auxiliar.
Se considera posible una fabricación totalmente nacional en países que cuentan con una industria del metal bien desarrollada. Las partes principales de las instalaciones se podrían fabricar en la mayoría de los países.
Se prevén aplicaciones en industrias pequeñas a medianas de carácter forestal y agrícola (industrias secundarias de la madera, aserraderos, fábricas de desecación del coco, etc,) y también en el suministro de energía a comunidades apartadas.
c) Aplicaciones de pequeña dimensión (7-30 kW)
Esta dimensión podría ser adecuada en multitud de aplicaciones para pequeños poblados de países en desarrollo (p. ej. industrias locales de maíz y cereales, pequeños ingenios azucareros, telares, etc.).
El equipo debe ser barato (menos de 150 US$/kW), de gran confianza y no debe exigir habilidades especiales para su funcionamiento y mantenimiento.
Diseños adecuados para fabricación local se ensayan y producen en Las Filipinas (13), Tanzania (48) y en otra serie de países. Por el momento, son limitadas las pruebas documentales de su éxito, debiendo destacarse la importancia fundamental de los programas de formación para los usuarios y la organización de un cierto tipo de servicio de mantenimiento.
Según parece, los gasificadores de carbón vegetal tienden a producir menos problemas operativos en este nivel energético que los gasificadores alimentados con madera o residuos agrícolas. A veces se piensa también que los sistemas a base de gasificadores de carbón vegetal pueden fabricarse más baratos que los de gasificadores de madera en el nivel energético de 7 a 30 kW de potencia. Esto está justificado en parte por los precios facturados para los sistemas de gasificadores para vehículos durante la Segunda Guerra Mundial (43). No está claro, sin embargo, que la diferencia de alrededor de un 20 por ciento fuera motivada por la diferencia de tecnología o como resultado de una producción mejor organizada o simplemente un asunto de diferentes márgenes de beneficios.
d) Aplicaciones en microescala (1-7 kW)
Esta es una dimensión utilizada por pequeños y medianos agricultores de los países en desarrollo para dotar de energía a los sistemas de riego.
El equipo debe ser transportable, barato, sencillo y ligero de peso. Es muy posible que sólo los gasificadores pequeños, de carbón vegetal y fabricados localmente, puedan cumplir los requisitos anteriores.
El uso de los gasificadores de tiro invertido, alimentados con madera o carbón vegetal para accionar automóviles, camiones, autobuses, trenes, barcas y barcos, ha demostrado su valor, manteniendo al menos un país europeo (Suecia) sus planes de producción en gran escala en caso de emergencia (véase el Capitulo 3). Se está estudiando actualmente esta técnica para impulsar tractores (Suiza, Francia, Finlandia, Países Bajos) y también para pequeños vagones y barcas (Filipinas) y camiones (Sri Lanka).
No obstante, las aplicaciones móviles presentan una serie de dificultades adicionales, en comparación con las instalaciones fijes.
En primer lugar la construcción tiene que ser lo más ligera posible a fin de no reducir excesivamente la capacidad de transporte del vehículo. Como las instalaciones de filtrado descritas en el Capítulo 3 tienden a ser bastante pesadas y voluminosas, se plantean unas demandas exigentes a las habilidades técnicas de los diseñadores de los equipos móviles y también sobre la elección de materiales.
En segundo lugar, las aplicaciones móviles tienden a funcionar con márgenes bastante amplios en cuanto a la carga del motor (y gasificador). Bajo una serie de circunstancias (especialmente largos períodos de inactividad) esto puede originar la formación de alquitranes y la obturación de los refrigeradores, depuradores y motores, como sucedió corrientemente durante la Segunda Guerra Mundial.
Las aplicaciones en trenes y lanchas sufren menos limitaciones en cuanto a peso y carga y, por ello, dan mejores resultados.
Los motores readaptados con gasógeno presentan una pérdida apreciable de potencia máxima, y dependerá mucho de las condiciones topográficas (terreno llano o montañoso) y de la destreza del conductor el que el vehículo pueda funcionar satisfactoriamente.
El que estos inconvenientes se vean compensados por una mejor economía de los vehículos de transporte alimentados con gasificador, dependerá enteramente de la situación del país, sobre todo del coste y disponibilidad de gasolina y gasoil.
2.8.1. Riesgos tóxicos
2.8.2. Riesgos de incendio
2.8.3. Riesgos de explosión
2.8.4. Riesgos ambientales
Un análisis de los diferentes tipos de peligros y efectos ambientales de la utilización del gas pobre, ha sido publicado por Kjerllström (23).
Sus principales clases son los riesgos tóxicos, los de incendio y de explosión.
Un componente importante del gas pobre es el monóxido de carbono, gas extremadamente tóxico y peligroso debido a su tendencia a combinarse con la hemoglobina de la sangre, lo que evita la absorción y distribución del oxígeno. En el Cuadro 2.9. se presenta un resumen de los efectos ocasionados por diferentes concentraciones de monóxido de carbono en el aire.
Afortunadamente las instalaciones normales de gas pobre trabajan por succión, de modo que aunque se produzca una pequeña fuga en la instalación, no se escapan del equipo gases peligrosos durante su funcionamiento. Sin embargo, la situación es distinta durante la puesta en marcha y en el cierre de la instalación.
Durante la puesta en marcha generalmente se da salida al gas, siendo necesario garantizar que los gases producidos no se retienen en una habitación cerrada. Como norma, una chimenea apropiada proporciona suficiente seguridad.
Durante el cierre de la instalación se produce un aumento de presión en el gasificador, ocasionado por el combustible todavía caliente y en fase de pirólisis. Como resultado de ello, se liberan de la instalación gases que contienen monóxido de carbono, durante un período relativamente corto. Debido al peligro de estos gases, generalmente se recomienda que la instalación del gasificador se sitúe al aire libre, si es necesario protegida con un techo.
Ha habido algunas discusiones, resultantes de la experiencia sueca, sobre la posibilidad de que se produzca un envenenamiento crónico como consecuencia de la inhalación prolongada de cantidades relativamente pequeñas de monóxido de carbono, que no producen efectos agudos. Parece que este tema ya ha sido resuelto: no se pueden producir síntomas crónicos por envenenamiento de monóxido de carbono.
No obstante, esto no significa que los síntomas mencionados en la bibliografía sueca (cansancio, irritabilidad y susceptibilidad, dificultad de sueño) no fueran resultado de una exposición prolongada al gas pobre. Existe la posibilidad de que algunos otros componentes del gas sean responsables de tales síntomas.
Lo anterior subraya de nuevo la importancia de situar las instalaciones fijas al aire libre y también de tener cuidado de evitar un contacto directo con los gases durante las fases de arranque y cierre.
Cuadro 2.9. Efectos tóxicos de diferentes concentraciones de monóxido de carbono en el aire
|
Porcentaje de CO en el aire |
ppm |
efectos |
|
0,005 |
50 |
sin efectos importantes |
|
0,02 |
200 |
posiblemente dolor de cabeza, en la frente y ligero durante 2 ó 3 horas |
|
0,04 |
400 |
dolor en la frente y náuseas, después de 1 a 2 horas; en la parte posterior de la cabeza, después de 2,5 a 3,5 horas |
|
0,08 |
800 |
dolor de cabeza, mareos y náuseas en 45 minutos; colapso y posiblemente inconsciencia, en 2 horas |
|
0,16 |
1 600 |
dolor de cabeza, mareos y náuseas en 20 minutos; colapso e inconsciencia y posible fallecimiento, en 2 horas |
|
0,32 |
3 200 |
dolor de cabeza y mareos en 5 a 10 minutos; inconsciencia y peligro de muerte, en 30 minutos |
|
0,64 |
6 400 |
dolor de cabeza y mareos, en 1 a 2 minutos, inconsciencia y peligro de muerte, en 10 a 15 minutos |
|
1,28 |
12 800 |
efecto inmediato; inconsciencia y peligro de muerte en 1 a 3 minutos |
Los riesgos de incendio pueden provenir de las siguientes causas:
- elevada temperatura exterior del equipo;
- riesgos de chispas al recargar el combustible;
- llamas en la entrada de aire del gasificador o en la tapa de recarga.
Los riesgos se pueden reducir considerablemente adoptando las siguientes precauciones:
- aislamiento de las partes más calientes del sistema;
- instalación de un dispositivo de llenado de doble compuerta;
- instalación de una válvula de retorno de la llama en la entrada del gasificador.
Se pueden producir explosiones si el gas está mezclado con suficiente aire para formar una mezcla explosiva. Esto puede producirse por varias razones:
- filtración de aire en el sistema de gas;- penetración de aire al repostar combustible;
- filtración de aire en un gasificador frío que contiene todavía gas que, en consecuencia, se quema;
- retroceso de la llama desde el quemador de gases de escape, cuando el sistema se carga con una mezcla combustible de aire y gas durante el arranque.
La filtración de aire en el sistema de gas no da lugar generalmente a explosiones. Si se produce una filtración de aire en la parte inferior del gasificador (suele ser el caso) se produce una combustión parcial del gas, lo que eleva las temperaturas de salida del gas, disminuyendo su calidad.
Cuando los gases pirolíticos de la sección del depósito se mezclan con aire (lo que suele suceder durante el repuesto de combustible) se puede formar una mezcla explosiva. No es infrecuente que esto produzca pequeñas explosiones, relativamente inofensivas, especialmente cuando el nivel de combustible del depósito es relativamente bajo.
Se pueden evitar los riesgos para el operario si se queman los gases en la sección del depósito introduciendo un trozo de papel encendido o algo similar, inmediatamente después de abrir la compuerta del combustible. Otra posibilidad es instalar un sistema de relleno de doble compuerta.
La filtración de aire en un gasificador frío y el encendido inmediato producirá una explosión. Los sistemas cuando están fríos deben ventilarse siempre cuidadosamente, antes de encender el combustible.
Durante el arranque de una instalación, los gases como norma no se pasan por toda la sección de filtrado, a fin de evitar la obturación de los filtros por los alquitranes producidos durante el arranque. El filtro puede contener todavía aire y al producirse un gas inflamable y conducirlo a través de la sección de filtrado -a veces muy voluminosa- se puede producir una mezcla explosiva. Si en este momento se prende el gas en la salida del ventilador puede producirse un retroceso de la llama, dando lugar a una violenta explosión en la sección de filtrado. Por esta razón, es aconsejable equipar la salida del ventilador con un cierre hidráulico.
Durante la gasificación de la madera o de los residuos agrícolas, se producen cenizas (en el gasificador y en la sección de depuración) y líquido condensado (principalmente agua). Este último puede estar contaminado por resinas fenólicas y alquitrán.
Las cenizas no constituyen un riesgo ambiental y pueden eliminarse de forma normal. Para el líquido condensado que contiene alquitrán la situación es diferente y su eliminación en gran número de gasificadores puede tener efectos ambientales perturbadores. No se dispone de datos definitivos sobre biodegradación de los componentes fenólicos y los alquitranes de los líquidos condensados, siendo necesario estudiar cuidadosamente su eliminación.
Las propiedades de las emisiones de escape de los motores que funcionan con gas pobre se consideran generalmente aceptables, comparables a las de los motores diesel.