5.1 Manipulation du poisson frais avant
la transformation
5.2 Contrôle de la température
5.3 Opérations de transformation - Poisson
frais, congelé ou haché
Après avoir établi un programme de conditions préalables,
une usine de transformation (Section 3) peut appliquer les principes HACCP à
chaque procédé. La présente section contient des lignes
directrices à caractère technique et donne des exemples de lapplication
des principes HACCP à la transformation du poisson frais, congelé
ou haché. On trouvera notamment des exemples détapes de
lopération où des risques et/ou des défauts éventuels
peuvent être détectés et des suggestions pour des mesures
de maîtrise.
5.1 Manipulation du poisson frais avant la transformation
5.1.1 Considérations générales
5.1.2 Manutention à bord des bateaux de
pêche
5.1.3 Manutention à terre
5.1.4 Evaluation sensorielle du poisson frais
Ceux qui manipulent le poisson devraient inspecter tout le poisson au moment
de la capture ou de la réception. Seuls les poissons propres à
la consommation humaine devraient être retenus. Aucun poisson ne devrait
être accepté sil contient des parasites, des micro-organismes
indésirables, des pesticides, des produits vétérinaires
ou toxiques, des substances décomposées ou étrangères
qui ne seraient pas réduites à un niveau acceptable par le triage
et/ou un traitement normaux. Les trois facteurs les plus importants à
prendre en compte lorsquon manipule du poisson sont les suivants:
i) contrôler la durée et la température;
ii) manipuler avec précaution et ne pas endommager le poisson;
iii) suivre une politique de propreté à tous les stades.
5.1.1 Considérations générales
- de mauvaises méthodes de manipulation peuvent accélérer
la décomposition du poisson frais;
- les éléments porteurs de lusine, le matériel,
les ustensiles et dautres installations devraient toujours être
propres et bien entretenus;
- laccumulation de déchets solides, semi-solides ou liquides
devrait être réduite au minimum afin déviter la
contamination du poisson;
- tous les poissons devraient être inspectés et triés
pour éliminer les unités défectueuses.;
- le poisson devrait être conservé en couches peu épaisses
et entouré de quantités suffisantes de glace finement pilée;
- le poisson ne devrait pas être conservé dans de leau
de mer réfrigérée à une densité qui pourrait
lempêcher dassurer normalement ses fonctions;
- lorsque le poisson est entreposé en caisses, celles-ci devraient
être remplies modérément.
5.1.2 Manutention à bord des bateaux de pêche
- les engins de pêche et leur utilisation devraient réduire
au minimum les dommages au poisson et donc sa détérioration;
- le poisson devrait être manipulé avec précaution, rapidement
et efficacement une fois à bord;
- le poisson impropre à la consommation humaine devrait être
éliminé de la prise;
- la saignée, léviscération et, le cas échéant,
le calibrage pour certaines espèces devraient être effectués
sans délai;
- le poisson ne devrait pas être piétiné ni mis en piles
trop hautes;
- tout le poisson se trouvant sur le pont devrait être protégé
des effets nuisibles des éléments;
- il faudrait commencer à réfrigérer le poisson le plus
vite possible (voir Section 5.2);
- le poisson devrait être lavé à leau de mer propre
ou à leau potable;
- il faudrait veiller à ce que le poisson ne soit pas endommagé
ou contaminé pendant le tri, léviscération, la
pesée et le transfert;
- le poisson destiné à la consommation humaine devrait être
entreposé dans une zone exclusivement réservée à
cette fin;
- tout bateau pêchant pendant plus dun jour devrait avoir un
plan dentreposage à bord;
- les poissons de différentes espèces devraient être
entreposés séparément, à moins que cela ne retarde
la réfrigération.
5.1.3 Manutention à terre
- le poisson frais devrait être maintenu à létat
réfrigéré, manipulé, distribué et transformé
avec précaution et sans retard;
- aucun poisson impropre à la consommation humaine ne devrait être
vendu;
- le poisson impropre à la consommation humaine devrait être
entreposé séparément.
5.1.4 Evaluation sensorielle du poisson frais
Les techniques dévaluation sensorielle constituent le meilleur
moyen dévaluer la fraîcheur/détérioration du
poisson. Il est recommandé dutiliser des schémas dévaluation
sensorielle pour vérifier lacceptabilité du poisson frais
et éliminer le poisson affichant un degré inacceptable de décomposition
(voir lAvant-projet de directives Codex pour lévaluation
sensorielle). Par exemple, les espèces de poisson blanc frais sont jugées
inacceptables lorsquelles présentent les caractéristiques
suivantes:
|
Peau/mucus:
|
peau rugueuse et terne, mucus taché de jaune foncé.
|
|
|
|
|
Yeux:
|
concaves, opaques, enfoncés, décolorés.
|
|
|
|
|
Branchies:
|
gris brun ou en voie de décoloration, mucus opaque, jaune, épais
ou grumeleux
|
|
|
|
|
Odeur:
|
odeur de la chair: damines, dammoniac, de lait acide, de
sulfure, de fèces, de décomposition, de rance.
|
5.2 Contrôle de la température
5.2.1 Réduire au minimum la détérioration
du poisson
5.2.2 Qualité de la glace
La température est le facteur le plus important influant sur le degré
de détérioration du poisson et la multiplication des micro-organismes.
Le poisson, les filets de poisson et autres produits semblables devant être
réfrigérés devraient être conservés à
une température aussi proche que possible de 0°C.
5.2.1 Réduire au minimum la détérioration
du poisson
Afin de réduire au minimum la détérioration du poisson,
le contrôle de la température peut être effectué comme
suit:
- glaçage suffisant et adéquat, ou système deau
de mer refroidie ou réfrigérée;
- fonctionnement correct de linstallation de réfrigération;
- surveillance et contrôle de la température;
- manipulation rapide et efficace du poisson.
5.2.2 Qualité de la glace
La qualité de la glace est déterminée par les facteurs
suivants:
- utilisation deau potable ou deau de mer propre pour sa fabrication;
- prévention de la contamination à partir dautres sources;
- utilisation de glace finement pilée afin de maximiser la capacité
de refroidissement et dendommager le moins possible le poisson.
5.3 Opérations de transformation - Poisson frais,
congelé ou haché
5.3.1 Généralités
5.3.2 Décongélation contrôlée
pour un traitement ultérieur
5.3.3 Eviscération et lavage
5.3.4 Filetage, épiautage, parage et mirage
5.3.5 Traitement du poisson haché préparé
par séparation mécanique
5.3.6 Adjonction dadditifs ou dingrédients
5.3.7 Empaquetage et emballage
5.3.8 Conditionnement sous atmosphère modifiée
5.3.9 Opérations de congélation
Afin de conserver la qualité du poisson, il est important dadopter
des procédures de manipulation rapides, prudentes et efficaces (Voir
Figures 2a et 2b).
5.3.1 Généralités
- le poisson congelé destiné à être vendu à
létat réfrigéré devrait être décongelé
conformément aux procédures décrites à la section
5.3.3 et inspecté pour en vérifier la salubrité;
- le poisson ne devrait pas être transformé au-delà de
la capacité de traitement de lusine pendant une période
prolongée;
- lusine devrait être conçue et équipée
de manière à ce quune réfrigération et une
expédition efficaces du poisson seffectuent dans des délais
minimaux;
- si le poisson ne peut être traité ou congelé immédiatement,
il devrait être mis dans la glace dans des récipients propres
et entreposé dans des locaux spécialement conçus et appropriés
de létablissement.
5.3.1.1 Réception des matières premières
- Pour les matières premières, ces spécifications pourraient
englober les caractéristiques suivantes:
- caractéristiques organoleptiques comme laspect, lodeur,
la texture, etc.;
- indicateurs chimiques de décomposition et/ou de contamination,
par exemple, TVBN, histamine, métaux lourds, résidus de
pesticides, nitrates etc;
- critères microbiologiques, en particulier pour des matières
premières intermédiaires, afin dempêcher le
traitement de matières premières contenant des toxines microbiennes
comme la staphylotoxine.
- matières étrangères,
- caractéristiques physiques comme la taille du poisson ou du
mollusque,
- homogénéité de lespèce, etc.
5.3.2 Décongélation contrôlée
pour un traitement ultérieur
- La méthode de décongélation (en particulier, concernant
la durée et la température de décongélation) devrait
être clairement définie. Le programme de décongélation
(paramètres relatifs à la durée et à la température)
devrait être soigneusement vérifié. Le choix de la méthode
de décongélation devrait prendre en compte en particulier lépaisseur
des produits à décongeler.
- La durée et la température de décongélation
devraient être choisies de manière à ne pas créer
des conditions favorisant lapparition de micro-organismes ou la décomposition.
- Durant la décongélation, selon la méthode utilisée,
les produits ne devraient pas être exposés à des températures
excessivement élevées:
- On veillera en particulier à contrôler la condensation et
légouttage du poisson et des mollusques. Un bon écoulement
des eaux devrait être assuré.
- Après la décongélation, les poissons ou les mollusques
devraient être immédiatement traités ou réfrigérés
et conservés à la température voulue (température
de la glace qui fond).
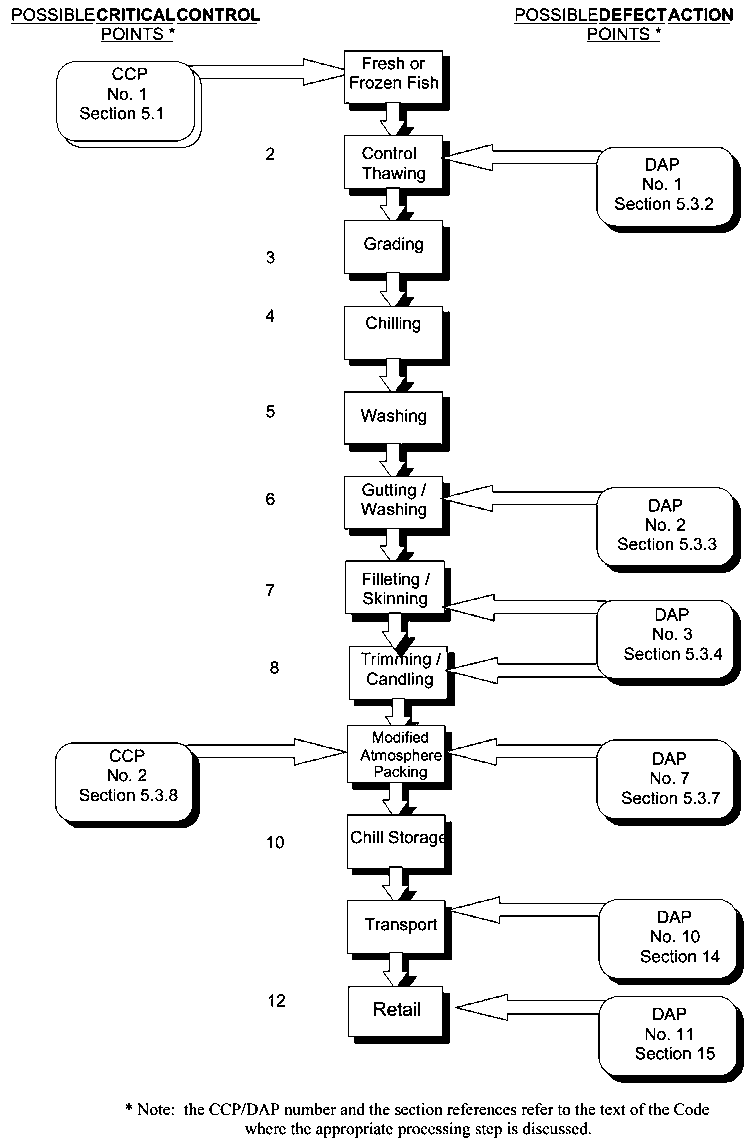
Figure 2a. Example of a flow chart of a fresh fish processing
line, including modified atmosphere packaging
This flow chart is for illustrative purposes only. For in-factory
HACCP implementation a complete and comprehensive flow chart has to be drawn
up for each process.
Le diagramme ci-après est présenté uniquement à titre
dexemple. Pour mettre en uvre un plan HACCP, chaque usine devra établir
un diagramme complet et détaillé pour chaque procédé.
Figure 2a. Exemple de diagramme des opérations pour une chaîne
de transformation de poisson frais, conditionnement sous atmosphère modifiée
compris.
|
POINTS CRITIQUES POUR
LA MAITRISE
|
POINTS DE CONTROLE
DES DEFAUTS
|
|
Poisson frais
ou congelé
Décongélation
contrôlée
Calibrage
Réfrigération
Lavage
Eviscération/
lavage
Filetage/
épiautage
Parage/
mirage
Conditionnement sous
atmosphère modifiée
Entreposage frigorifique
Transport
Vente au détail
|
- Note: le numéro du CCP/DAP et celui de la section renvoient au texte
du code où létape correspondante de la transformation
est examinée
Figure 2b. Example of a flow chart of a frozen fish
fillet processing line, including mincing operation
This flow chart is for illustrative purposes only. For in-factory
HACCP implementation a complete and comprehensive flow chart has to be drawn
up for each process.
Figure 2b. Exemple de diagramme des opérations pour
une chaîne de transformation des filets de poisson congelés, hachage
compris.
|
POINTS CRITIQUES
POUR LA MAITRISE
|
|
|
|
POINTS DE CONTROLE
DES DEFAUTS
|
|
|
|
|
|
|
|
|
|
|
Poisson frais
ou congelé
Décongélation
contrôlée
Calibrage
Réfrigération
|
|
|
|
|
|
|
|
|
|
|
Lavage
|
|
Voir Figure 2a
|
|
|
|
|
|
|
|
|
|
|
Eviscération/
lavage
Filetage/
épiautage
|
|
|
|
|
|
|
|
|
Lavage
|
Hachage
|
|
Parage/
mirage
|
|
|
|
|
|
|
|
|
Mélange
|
|
|
|
|
|
|
|
Congélation
|
|
|
|
|
|
|
|
|
|
Additifs et
|
|
|
|
|
|
ingrédients
|
Emballage
|
|
|
|
|
|
|
|
|
|
|
|
|
|
Givrage
|
|
|
|
|
|
|
|
|
|
|
|
Entreposage frigorifique
|
|
|
|
|
|
|
|
|
|
|
|
Distribution/
transport
|
Vente au détail
|
* Note: le numéro du CCP/DAP et celui de la section renvoient
au texte du code où létape correspondante de la transformation
est examinée.
5.3.3 Eviscération et lavage
- le poisson à éviscérer à son arrivée
dans létablissement devrait être éviscéré
correctement et avec soin pour éviter la contamination;
- léviscération doit être complète afin
denlever les morceaux du tractus intestinal et des organes internes;
- immédiatement après léviscération, il
faut laver le poisson avec de leau de mer propre ou de leau potable.
Ensuite, il faut bien éliminer toute leau et mettre le poisson
dans la glace correctement;
- des installations dentreposage séparées et adéquates
devront être fournies pour les ufs, la laitance et le foie si
ceux-ci doivent être utilisés par la suite.
5.3.4 Filetage, épiautage, parage et mirage
- les chaînes de filetage devraient être conçues pour
une transformation continue et dans lordre pour permettre la circulation
régulière du poisson sans arrêts ou ralentissements et
lélimination des déchets;
- le poisson devrait être soigneusement lavé avant le filetage
ou le tranchage, en particulier sil sagit de poisson écaillé;
- tout poisson endommagé, contaminé ou présentant un
défaut quelconque doit être rejeté avant le filetage;
- il faudrait éviter dentasser de grandes quantités de
filets ou de tranches dans un récipient;
- il est recommandé de procéder régulièrement
au mirage des filets sans peau de certaines espèces;
- immédiatement après avoir été filetés,
les poissons devraient être lavés à leau potable
ou à leau de mer propre, afin déliminer toutes les
impuretés, taches de sang et petits morceaux de peau. On enlèvera
les peaux adhérentes et les lambeaux de chair.
- il faudrait éviter de contaminer ou dendommager les filets.
5.3.5 Traitement du poisson haché préparé
par séparation mécanique
- Il faudrait trier les matières premières de divers espèces
et types et les transformer par lots distincts;
- il faudrait sefforcer tout particulièrement de maintenir les
matières premières à une température aussi proche
que possible de celle de la glace fondante, pendant toutes les opérations
de transformation;
- le poisson utilisé comme matière première devrait
être éviscéré avec soin, convenablement lavé,
étêté et écaillé avant dêtre
haché;
- le séparateur devrait être alimenté en continu, mais
non excessivement;
- le séparateur devrait être alimenté en morceaux de
poisson dun calibre quil est capable de manipuler;
- il est recommandé de procéder au mirage du poisson si lon
suspecte quil contient beaucoup de parasites;
- les morceaux ou filets de poisson devraient être mis dans le séparateur
de sorte que les surfaces tranchées fassent contact avec la surface
perforée de la machine;
- le diamètre des perforations du séparateur, ainsi que la
pression appliquée aux matières premières, devraient
être adaptées aux caractéristiques souhaitées dans
le produit fini;
- les matières résiduelles séparées devraient
être éliminées avec soin, en continu ou en semi-continu,
avant le prochain stade de transformation.
5.3.5.1 Lavage du poisson haché
- le hachis devrait être lavé le cas échéant et
le lavage devrait convenir au type de produit prévu;
- lagitation en cours de lavage devrait être effectuée
avec précaution et être aussi douce que possible pour éviter
toute désintégration excessive de la chair hachée susceptible
de réduire le rendement par suite de la formation de particules trop
fines;
- le hachis devrait être égoutté jusquà
ce que sa teneur en eau soit satisfaisante;
- le cas échéant, le hachis égoutté devrait être
passé au crible ou émulsifié, compte tenu de son éventuelle
utilisation finale;
- il faudrait sassurer tout particulièrement que les hachis
soient maintenus sous réfrigération lorsquon les passe
au crible;
- leau usée doit être jetée dune manière
appropriée après les opérations.
5.3.5.2 Mélange des hachis
- les mélanges devraient être réalisés dans des
conditions contrôlées;
- si lon doit ajouter du poisson ou dautres denrées alimentaires,
les mélanges devraient être préparés en proportions
convenables;
- le poisson haché devrait être conditionné et congelé
immédiatement après sa préparation; sil nest
pas congelé ou utilisé immédiatement après sa
préparation, il faudrait le réfrigérer.
5.3.6 Adjonction dadditifs ou dingrédients
- Lorsquon emploie des ingrédients ou des additifs alimentaires,
il faudrait les utiliser en proportions convenables;
- si lon doit utiliser des additifs alimentaires, il faudrait consulter
un technologue alimentaire et obtenir lapprobation de lautorité
compétente;
- les additifs alimentaires devraient satisfaire aux prescriptions de la
Norme générale Codex pour les additifs alimentaires.
5.3.7 Empaquetage et emballage
- les matériaux demballage devraient être propres, solides,
durables, adaptés à lusage prévu et convenant aux
aliments;
- lopération demballage devrait être effectuée
de manière à réduire au minimum le risque de contamination
et de décomposition;
- les produits devraient satisfaire aux normes appropriées concernant
létiquetage et les poids.
5.3.8 Conditionnement sous atmosphère modifiée
La mesure dans laquelle la durée de conservation du produit peut être
prolongée par un MAP dépendra de lespèce, de la teneur
en graisses, de la charge bactérienne initiale, du mélange de
gaz, du type de matériau demballage et, ce qui est particulièrement
important, de la température dentreposage (voir Annexe I).
Le conditionnement sous atmosphère modifiée devrait tenir compte
des éléments suivants:
- surveillance du rapport gaz/produit;
- types et rapport des mélanges de gaz utilisés;
- type de film utilisé;
- contrôle de la température du produit durant lentreposage;
- type et intégrité de la soudure.
5.3.9 Opérations de congélation
- la production de lusine devrait être fonction de la capacité
des congélateurs;
- il faudrait contrôler fréquemment que les opérations
de congélation sont effectuées correctement;
- il faudrait tenir des registres détaillés de toutes les opérations
de congélation;