3. Clasificación de los secadores respecto al flujo del producto

Indice - Precedente - Siguiente

A. Secadores estacionarios

Secador de lecho fijo o de capa estacionaria
Secador con aire movido por convección natural

B. Secadores continuos

Secadores en cascada o de canaletas
Secador de flujos cruzados
Secador de fluíos paralelos
Secador de fluíos contracorrientes

C. Secadores intermitentes
Secado combinado
Seca-aireacion de granos

Los secadores de granos se pueden clasificar acuerdo con diversos criterios, tales como el flujo del producto en el secador y la temperatura de secado. La elección de uno de estos criterios depende del enfoque que se quiera dar al asunto. En el caso presente, los secadores se clasificarán según el flujo del producto, como sigue:

a. estacionarios:
a. 1. secador de lecho fijo o de capa estacionaria
a.2. secador con aire movido por convección natural.

b. continuos:
b. 1. en cascada o de canaletas
b.2. de flujos cruzados
b.3. de flujos concurrentes
b.4. de flujos contrarios

c. intermitentes.

 

A. Secadores estacionarios

Secador de lecho fijo o de capa estacionaria

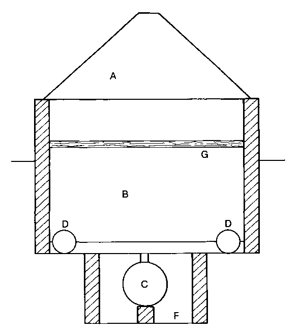
Los secadores de lecho fijo se componen de cuatro elementos principales que se observan en la Figura 2: sistema de calentamiento del aire, ventilador, cámara de distribución del aire o "plenum", y cámara de secado.

El sistema de calentamiento puede ser de cualquier tipo, siempre que esté dimensionado para aumentar la temperatura del aire hasta los limites recomendados para cada producto y que no haya contaminaciones de él por el aire que proviene de la fuente de calor. El ventilador, generalmente, es del tipo centrifugo, por la presión estática que se necesita en este sistema. La cámara de distribución de aire sirve para transformar la presión dinámica del aire en presión estática, uniformando la distribución del aire dentro del secador. La cámara de secado es un recipiente con fondo de plancha de metal perforado, capaz de soportar el peso del producto húmedo. El producto permanece estático en la cámara de secado, mientras que el calentado, impulsado mecánicamente por el ventilador, pasa a través de la capa de producto y reduce su contenido de humedad. Los secadores de capa fija, en la mayoría de los casos se proyectan para secar solamente una partida por día. Después del secado, el producto se enfria dentro del mismo secador, para lo cual se interrumpe el suministro de energía al sistema de calentamiento y se deja conectado el ventilador.

Las principales variables del sistema de secado de partidas en lecho estacionario son: espesor del lecho, contenido de humedad inicial, flujo de aire, temperatura del aire y tiempo de secado (BROOKER et al., 1974).

El espesor del lecho, generalmente, debe estar entre 0,4 a 0,6 m cuando se trata de granos. Los productos con alto contenido de humedad,como son los tubérculos cortados en formas apropiadas para el secado, no se deben colocar en capas de más de 0,4 m de espesor, por la dificultad para moverlos. Las capas finas, lo mismo que el movimiento manual o mecánico del producto, sirven para prevenir el secado excesivo cerca de la entrada de aire y disminuir las diferencias de temperatura y de humedad dentro de la partida.

Figura 2. Esquema del secador de lecho fijo.

Si el espesor del lecho fuera mayor que el la diferencia entre la humedad del producto junto a la plancha perforada y la del que está situado en la parte superior será muy grande (más de cinco puntos porcentuales de humedad), y puede ocasionar serios riesgos al producto durante el almacenamiento, en especial si la bodega no tiene sistema de ventilación. Por tanto, para disminuir las diferencias de humedad, principalmente en lechos de mayor espesor y con temperaturas del aire más elevadas, es preciso revolver el producto a intervalos determinados.

La temperatura de secado afecta directamente la tasa de secado. Cuanto mayor sea la temperatura, mayor será la tasa de evaporación y la irregularidad del contenido final de humedad, si el producto no se revuelve. Con el aumento de la temperatura, la cantidad de granos supersecos no varia mucho, pero la cantidad de granos con alto contenido de humedad es superior (BROOKER et al., 1974). El flujo de aire influye, principalmente, en la tasa de secado y en la distribución de la humedad, en relación con la profundidad de la capa de producto. Al aumentar el flujo de aire, aumenta la tasa de secado y disminuyen las irregularidades de humedad y temperatura en la capa de producto. El flujo de aire que normalmente se emplea en el secado de productos agrícolas en lecho fijo varia de 0,12 a 0,25 m³/s.m². El tiempo de secado disminuye con el aumento del flujo de aire, pero la eficiencia del secado también disminuye; en condiciones fijas de temperatura, espesor del lecho y flujo de aire, depende también de la humedad inicial y final del producto. Cuanto mayor sea el contenido inicial de humedad o menor sea el contenido final de humedad, mayor será el tiempo de secado.

En el Cuadro 1 aparecen algunas recomendaciones en cuanto a temperaturas, espesores del lecho e intervalos de tiempo para revolver el producto, en el secado en lecho fijo.

Algunas ventajas del sistema de secado en capas fijas son: la capacidad del secador es variable; su dimensionamiento, construcción y funcionamiento son relativamente simples; la inversión es menor en relación con los secadores comerciales, principalmente porque se puede construir con materiales corrientes que se encuentran en las cercanías de las propiedades rurales; si la cámara de secado fuera un silo con fondo falso, al término de la cosecha puede servir también para almacenamiento (Figura 3).

Cuadro 1.Recomendaciones para el secado de productos agrícolas en lecho fijo

TEMPERATURA MAXIMA DEL AIRE EN CONTACTO CON EL PRODUCTO, DE ACUERDO CON SU USO FINAL

  Intervalo de tiempo para
Espesor de la capa de producto (m) revolver el producto(h)
  Alimentación animal
Productos Semilla Comercio Semilla Comercio
Maní con cáscara 30 35 - 1,2- 1,82 - -
Arroz con cáscara 40 45 - 0,25- 0,452 2 2
Avena 40 602 80 0,4-0,62    
Café - - - 0,4-0,51 - 2
Cebada 40 40 80 0,4-0,62 - -
Frijol a granel 40 45 - 0,4- 0,5 - -
Frijol en rama 40 45 - 0,6- 1,0 - 2
Maíz desgranado 40 552 80 0,4- 62 - 2
Maíz en mazorca (sin cáscara) 40 552 80 1,5- 62 - 2
Ralladura de yuca - 50 60 0,3- 0,4 - 2
Soja 40 50 - 0,25- 0,452 2 2
Sorgo 40 602 - 0,4- 0,62 - -
Trigo 40 602 80 0,4- 0,62 - -

 

1 SILVA e LA CERDA (1984).
2
HALL (1980).

Dimensiones del secador

La capacidad del secador se calcula normalmente para la producción máxima esperada. Al conocer la cantidad de producto que hay que secar diariamente, se dimensiona el secador que se necesita.

Las dimensiones óptimas de funcionamiento del secador de capa fija se pueden determinar, matemáticamente, mediante una simulación de secado, si seconocen los datos siguientes: tipo de producto y finalidad de su uso, contenidos de humedad inicial y final, y cantidad de producto que se va a secar. No obstante, en vista de la rotativa complejidad de dichos cálculos, se puede simplificar ese dimensionamiento si se conoce el valor de algunas variables del sistema. Así se consideran conocidos el espesor de la capa (véase el Cuadro 1 ) y el flujo de aire (0,12 a 0,25 m³/s. m²).

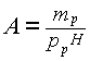
Luego, conociendo la masa de producto que se va a secar, por partida (mp), el peso especifico global del producto (pp) y el espesor de la capa de producto (H), se calcula el área de la cámara de secado (A) con la ecuación:

ec.1

El flujo de aire de secado (Q) se puede calcular en función del flujo de aire (Qa), dado en m³/s . m, y del área de la cámara de secado:

Q = Qa A ec.2

La presión estática del ventilador se puede obtener sumando las pérdidas de carga del sistema. Estas pérdidas se producen por la disminución del aire al pasar por los conductos, ampliaciones, camas, válvulas y principalmente, al pasar a través de la capa de producto. Las pérdidas de carga referentes al sistema de distribución del aire se pueden calcular por mecánica de fluidos. Las pérdidas de carga en virtud del paso del aire entre los granos se puede obtener con ayuda del gráfico de la Figura 4, si se conoce el espesor de la capa de producto y el flujo de aire. Por ejemplo, considerando un flujo de aire igual a 0,17 m³/s m², para el arroz, se tiene una presión estática de 615,8 Pa/m. Así, si se conoce la presión estática del sistema y el flujo de aire necesario, se puede calcular la potencia útil que necesita el ventilador. Para calcular la potencia útil del ventilador se acostumbra aumentar el flujo de aire en cerca del 25%, por razones de seguridad.

Construcción del secador

El secador de capa fija se debe construir en lugar cubierto, para que pueda funcionar incluso en condiciones meteorológicas adversas y de noche. Hay que construirlo de tal modo que su manejo sea seguro, para evitar riesgos para el operador o perjuicios a la calidad del producto. Hay que tener cuidado de prevenir incendios, tanto en el secador mismo como en las construcciones vecinas. Las partes móviles del motor y del ventilador deben estar protegidas del contacto con personas o animales. La temperatura del aire de secado se debe controlar mediante un termómetro colocado en la entrada de la cámara de distribución del aire, para evitar que éste se recaliente.

NOTA: a) Estos valores rigen para producto sin compactar, limpio y seco. Congranos limpios, sin compactar, con alto contenido de humedad (en equilibrio con humedad relativa superior a 85%), se usa sólo 30% de la pérdida de presión indicada para una tasa dada de flujo de aire. b) La compactación del grano en el silo puede causar 50% más de resistencia sobre los valores señalados. c) Cuando hay materias extrañas mezcladas con el grano, no hay recomendación especifica para correcciones. La resistencia al flujo del aire aumenta si la materia extraña es de menor tamaño que el grano y disminuye si la materia extraña es mayor que el grano.

Figura 4. Resistencia de granos y semillas al paso del aire.

Se pueden emplear diversos materiales en la construcción de conductos y en las cámaras de secado y distribución del aire. Ya existen en el mercado silos metálicos apropiados para funcionar como cámara de secado, con la ventaja de que al final de la cosecha sirven como silos de almacenamiento. Los secadores hechos de madera también son viables, aunque acarrean riesgos de incendio. En el Brasil parece que una de las opciones más interesantes, del punto de vista económico, es el secador construido de albañilería.

Cabe observar cienos recomendaciones respecto de los siguientes componentes del sistema:

a) Cámara de secado y cámara de distribución de aire (Figura 5). La cámara de secado debe tener el piso de plancha metálica perforada, de modo que el área perforada sea por lo menos el 10% del área total, para evitar que haya altos valores de pérdida de carga. La cámara de secado puede ser rectangular o circular. El piso de forma rectangular debe tener una relación de 1,5 entre el lado mayor y el lado menor próximo. El piso de forma circular exige mayor cantidad de planchas para su construcción. Si la velocidad del aire que entra en la cámara de distribución es inferior a 1 m/s, la forma del piso deja de tener importancia para el buen desempeño. Para facilitar la mantención del piso de la cámara de secado y del ''plenum", y evitar elevadas pérdidas de carga, se puede utilizar una cámara de distribución de aire con una altura de 0,5 m. Los agujeros de las planchas de metal perforadas deben ser tales que no permitan el paso del producto, teniendo en cuenta que interesa más una cantidad elevada de orificios pequeños que pocos orificios de mayor diámetro. La estructura para soportar las planchas de metal perforadas y la masa del producto pueden ser de distintos materiales, como albañilería y madera, fierros de construcción y perfiles metálicos. La cámara de secado deberá contar con aberturas laterales para la descarga manual o mecánica del producto y un sistema de boquilla para facilitar el ensacado, en caso necesario. La altura total del secador es de 1,2 m. aproximadamente, de los cuales 0,70 m. corresponden a la altura de la cámara de secado y 0,5 m. a la altura del "plenum". Para facilitar la limpieza de la cámara de distribución de aire del secador, se puede construir el piso de la cámara de secado de modo que una de las planchas perforadas se pueda retirar.

b) Elemento de transición entre la cámara de distribución del aire y el ventilador. El elemento de transición entre la cámara de distribución de aire del secador y el ventilador sirve para uniformar el flujo de aire en el secador. El ángulo de abertura del elemento de transición, en relación con el eje de simetría del secador, debe ser mayor que 15 0. para que la pérdida de carga sea despreciable (Figura 6). Así, la longitud de la transición dependerá del ángulo y de la disponibilidad de espacio para la construcción del secador (SILVA y LACERDA FILHO, 1984). Los conductos de conexión del ventilador con el sistema de calentamiento deben tener dimensiones suficientes para que la velocidad del aire sea inferior a 5 m/s, es decir, 1 m² de área de la sección del conducto por cada 5 m³ /s de aire.

Figura 5. Cámara de secado y cámara de distribución del aire en el secador de lecho fijo.

Funcionamiento y mantención del secador de lecho fijo.

Para obtener buenos resultados con el uso del secador de capa fija, hay que observar las siguientes recomendaciones:

a) las temperaturas y los espesores de la capa, para varios productos, aparecen en el Cuadro 1. La temperatura de secado depende del fin que se dará al producto;
b) la superficie de la capa de producto se debe nivelar con un rastrillo de madera, después de cargado el secador, para evitar la irregularidad en el flujo de aire;
c) se debe evitar al máximo la compactación del producto;
d) se debe revolver el producto a intervalos predeterminados (Cuadro 1), para evitar la irregularidad en la humedad final del producto, principalmente con temperaturas superiores a 45°C. Para esto, el operador debe desconectar el ventilador y mover el producto con una pala o con rastrillo de madera;
e) el término de la operación de secado depende de varios factores, tales como espesor de la capa, humedades Inicial y final del producto, flujo de aire y temperatura de secado; el operador deberá contar con equipos capaces de determinar el contenido de humedad final del producto. Si el producto está excesivamente seco, el productor perderá dinero al comercializar sobre la base del peso húmedo. Si el producto estuviera demasiado húmedo, quedará expuesto a deterioro durante el almacenamiento;
f) al término del secado, se debe interrumpir el calentamiento del aire o abrir todas las entradas de aire frío en la fuente de calor, y dejar el ventilador conectado hasta que la masa de granos alcance una temperatura próxima a la del ambiente. En los secadores con horno de albañilería se debe interrumpir el abastecimiento de leña cuando el contenido medio de humedad del producto llegue a alrededor de uno a dos puntos por ciento de humedad por encima del valor recomendado para almacenarlo, manteniendo el ventilador conectado y haciendo pasar todo el aire por el horno. De este modo, se aprovecha la energía almacenada en las paredes de las tuberías y del horno para terminar el secado de producto, evitando los choques térmicos de enfriamiento; y
g) se debe limpiar el secador después de secar cada partida, retirando los residuos de productos agrícolas que queden sobre la plancha perforada.

Figura 6. Angulo de abertura del elemento de transición, entre la cámara de distribucíon del aire y el ventilador del secador de lecho filo.

Secador con aire movido por convección natural

El secado artificial es una alternativa que ha dado buenos resultados, pero, en paises subdesarrollados o en desarrollo, el uso de secadores ha quedado limitado a las reglones de mayor desarrollo agrícola. El secado con aire natural o calentado, en muchos casos no se puede usar, porque la relación inversión/producto es muy elevada, o incluso por falta de energía eléctrica para accionar el ventilador.

En la mayoría de los secadores el aire pasa por la masa de granos, forzado por medio de ventiladores. Sin embargo! hay secadores en los que el aire se mueve por acción de las diferencias de presión, producidas por la diferencia de temperatura y humedad, entre el aire de secado y el aire ambiente. Estos secadores se denominan secadores con movimiento del aire por convección natural y han tenido éxito en paises de Africa y Asia; han beneficiado principalmente a los agricultores de bajas producciones, con poca capacidad técnica y sin capital para adquirir equipos de secado .

Los secadores con movimiento del aire por efecto de la convección natural se pueden construir con materiales característicos de la reglón y mano de obra poco especializada. Además, utilizan como combustible la leña o los subproductos de la propiedad rural, talas como la caña de maíz, corontas, paja y demás residuos agrícolas.

El primero de tales secadores de que se tiene noticia es el secador de tipo Samoa, que sirve para secar copra. En este secador se coloca la copra sobre un piso perforado, bajo el cual se quema leña para calentar el aire que pasa por la masa granular por convección natural. El inconveniente de este secador es la contaminación del producto por el humo, además de los daños causados al producto por el calor, pues aquél queda directamente encima del fuego. Entre 1961 y 1963, se hicieron modificaciones al secador Samoa y se le usó en el secado de almendras. Este secador pasó, entonces, a llamarse "Brook" o de Tipo T (Figura 8) (BROOK, 1964 ab).

Figura 8. Esquema del secador con aire movido por convección natural (BROOK, 1964 ab).

A. Cámara de secado
B. Cámara de uniformacion de la temperatura del aire caliente de secado
C. Quemador intercambiados de calor
E. Chimenea para el escape de gases de combustión
F. Entrada de aire
G. Base de sustentation del piso perforado
H. Piso perforado (malla de alambre galvanizado 1,5 mmx15 m.)
I. Puerta de entraba de la cámara de combustión

Las principales adaptaciones que se realizaron fueron las siguientes: a) adaptación de un intercambiador de calor; b) aumento de la altura del piso perforado en rotación con el intercambiados, para obtener mayor uniformidad en la temperatura del aire de secado e Impedir el deterioro del producto por acción del calor; c) construcción de una chimenea para la eliminación de los gases de combustión; y d) construcción de las paredes del secador en adobe.

Otros investigadores propusieron la adaptación de intercambiadores de calor suplementarios, con el fin de aumentar la superficie de intercambio de calor, con lo que mejoraría la eficiencia térmica del secador (Figura 9).

Figura 9. Esquema del secador con aire movido por convección natural (BERNAL, 1982).

A. Cámara de secado
B. Cámara de uniformacion de la temperatura del aire caliente de secado
C. Quemador intercambiados de calor
D. Intercambiadores de calor adictonales
E. Chimenea para el escape de gases de combustion
G. Base de sustentación del piso perforado
H. Piso perforado (malla de alambre galvanizado 1,5 mmx15 m.)
K. Cámara de distribución de los gases de combustión

Los parámetros que deben considerarse en la construcción de secadores del tipo Brook son:

a) Dimensiones de b entrada de aire. La entrada de aire tiene un efecto significativo sobre el flujo de aire y hay que dimensionaria de manera que la velocidad del aire en ese punto sea inferior a 0,25 m/s;
b) Espesor de b capa de granea. El flujo de aire disminuye a medida que aumenta el espesor de la capa de granos;
c) Distancia entre el intercambiador de calor y el piso perforado que sostiene el producto. El flujo de aire aumenta linealmente con el incremento de la distancia entre el intercambiador y el piso perforado, y con la diferencia entre la temperatura del aire de secado y la del aire ambiente (se recomienda una distancia mínima de 0,8 m. para evitar el sobrecalentamiento de producto); y
d) Superficie de irdercambio de calor. El aumento de la superficie de intercambio de calor aumenta la eficiencia térmica del secador y reduce al mínimo la diferencia de temperatura del aire de secado bajo la capa de granos (BERNAL, 1982).

Los resultados de las investigaciones señalan que la colocación de una pirámide truncada sobre la cámara de secado (Figura 10) mejora significativamente el desempeño del secador en cuestión, pero dificulta la operación de revolver el producto (BERNAL, 1982; ADEYMO, 1979).

La entrada de aire situada solamente en el frente del secador determina que la distancia que debe haber entre el piso perforado y el intercambiador de calor sea de un metro, por lo menos Esto es para que exista una temperatura uniforme del aire de secado debajo de la capa de producto que se está secando.

Los secadores con aire movido por convección natural presentan problemas de uniformídad de temperatura y flujo de aire, principalmente por la posición de la entrada de aire en la parte frontal del secador (al lado del quemador). Además, su eficiencia térmica es baja, puesto que la mayor parte de la energía se elimina por las chimeneas, junto con los gases de combustión. En el Centro Nacional de Capacitación en Almacenamiento - CENTREINAR, se construyó una versión del secador de tipo Brook con innovaciones respecto de la entrada de aire ambiente a ser calentado en el quemador - intercambiador de calor (PEREIRA et al., 1985).

En la Figura 11 aparecen los esquemas de este segador.

Figura 10. Esquema del secador con aire movido por convección natural (BERNAL. 1982).

A. Cámara de secado
B. Cámara de uniformación de la temperatura del aire caliente de secado
C. Quemador intercambiados de calor
D. Intercambiadores de calor adicionales
F. Entrada de aire
G. Base de sustentación del piso perforado

Figura 11. Esquema del secador con aire movido por convección natural (PEREIRA et al.. 1985)

A. Cámara de secado
B. Cámara de uniformacion de la temperatura del aire caliente de secado
C. Quemador intercambiados de calor
D. Intercambiadores de calor adicionales
E. Chimenea para el escape de gases de combustión
F. Entrada de aire
G. Base de sustentación del piso perforado
H. Piso perforado (malla de alambre galva nizado 1,5 mm. x 1,5 m.)
I. Puerta de entrada de la cámara de combustión
J. Puerta de inspección de la cámara de uniformación
K Cámara de distribución de los gases de combustión
L Regulación de los gases de la combustión

En este modelo, el quemador-intercambiador de calor se construye con tambores de 0.87 m. de altura por 0,58 m. de diámetro (tambores de 200 litros), sin fondo ni tapa y unidos entre si. El quemador-intercambiador de calor se fija en la pared anterior del secador y en una cámara de distribución de gases de combustión construida en la parte posterior del secador, donde están conectados los intercambiadores de calor adicionales.

Los intercambiadores de calor adicionales, construidos con tambores de 0,26 m. de diámetro por 0,35 m. de altura, también unidos entre si, van desde la cámara de distribución hasta las chimeneas instaladas en la parte anterior del secador. Las chimeneas se construyen con tubos de barro de 0,10 m. de diámetro.

El quemador-intercambiador se debe instalar en posición inclinada, más alto en la parte posterior del secador, donde se fija en la cámara de distribución de los gases de combustión, para facilitar la eliminación de éstos. Lo mismo se debe hacer con los intercambiadores de calor adicionales, los cuales deben quedar más altos en su unión con las chimeneas. En el quemador se debe colocar una parrilla hecha de fierros de construcción de 1/4", entrelazados, para evitar el contacto directo entre el material que se quema y el tambor. Así, se aumenta la vida útil del tambor y se facilita la combustión.

En la entrada del quemador-intercambiador de calor se coloca una puerta con sistema de regulación, para cerrar parcialmente la entrada del quemador. El propósito de esto es evitar la salida de gases de combustión y también la acción del viento que aumenta la combustión y el consumo de leña. En cuanto a las dimensiones del secador (ancho y largo), sobre la base de los trabajos de investigación de ADEYEMO (1979); BERNAL (1982); BOLDUC (1978); BROOK (1964); PEREIRA et al. (1985), y RYU (1976), no se recomienda que dichas medidas sean superiores a 3 m. por falta de datos para el dimensionamiento.

Operación de secado

La primera etapa de funcionamiento del secador es la de colocar, sobre la base con la malla, una capa de producto para secar. Se enciende el fuego sobre la parrilla, utilizando leña o cualquier otro residuo agrícola, y se mide con un termómetro de mercurio la elevación de temperatura del aire de secado, debajo de la base con la malla. El bulbo del termómetro se coloca en la masa de granos, de tal modo que quede próximo a la malla galvanizada que sostiene al producto. Bastan 20 minutos, aproximadamente, para que el aire se caliente a la temperatura de secado que se desea.

El tiempo de secado es función del tipo de producto, altura de la capa y temperatura del aire de secado. En el Cuadro 2 aparecen los resultados del secado de distintos productos, que figuran en la literatura científica.

Fig.Resultado del secado en secador con movimiento de aire por convección natural

Es preciso revolver el producto para que el secado sea uniforme, sin diferencias de humedad entre la parte inferior y la superior de la capa. Además, la acción de revolver el producto durante el secado mejora significativamente la tasa de secado. Cuanto mayor es la temperatura del aire de secado, más frecuente debe ser la operación de revolver la capa para evitar daños al producto que queda en contacto con la malla. La eficiencia térmica del secador aumenta si se seca el producto en partidas sucesivas.

 

B. Secadores continuos

Secadores en cascada o de canaletas

Los secadores en cascada se componen de una serie de canaletas invertidas, en forma de V, dispuestas en filas alternadas o cruzadas dentro del cuerpo del secador, con intervalos de 0,30 m., aproximadamente. Los granos bajan por acción de la gravedad y caen sobre las canaletas invertidas. El aire de secado entra por una fila de canaletas y sale por las otras inmediatamente adyacentes (superior e inferior). De este modo, al bajar por el secador, los granos se mueven tanto en el mismo sentido que el aire, como en sentido contrario. En la Figura 12 aparece un esquema de distribución de canaletas alternadas, en secadores de tipo cascada, y en la Figura 13 hay un esquema de secador de canaletas cruzadas.

Los secadores en cascada, se cuentan entre los primeros modelos de secadores continuos que se usan comercialmente. En los paises desarrollados se les ha ido reemplazando paulatinamente, por su elevado costo inicial, problemas de contaminación y problemas de manejo.

El principal inconveniente de los secadores en cascada es el elevado costo inicial; la cantidad de material que se necesita para confeccionar las canaletas es el factor que más contribuye a elevar los costos. (Figuras 14 y 15).

Los secadores en cascada se consideran contaminantes de ambiente por la velocidad relativamente alta que tiene el aire a la salida de los ducíos. En consecuencia, las impurezas más livianas que se encuentran en la masa de granos son arrastradas al exterior del secador. En los paises desarrollados, las leyes más rigurosas en ese campo han obligado a los fabricantes a instalar filtros a la salida del aire de estos secadores, en cumplimiento de las normas de control de la contaminación ambiental.

Figura 12. Esquema de distribución de canaletas paralelas en secadores de tipo cascada.

Figura 13. Esquema de distribución de canaletas en un secador de canaletas cruzadas (KREYGER 1972).

Los secadores en cascada utilizan flujos de aire menores que los que se emplean en otros tipos de secadores continuos. Los flujos de aire más elevados determinan velocidades altas del aire a la salida de los ducíos, superiores a la velocidad final de la mayoría de los granos. Por esto, muchos granos pueden verse arrastrados por el aire de escape, con la consiguiente pérdida del producto. El uso de flujos de aire más bajos hace que el secador de este tipo sea energéticamente eficiente, pero de capacidad limitada para el secado.

Los secadores en cascada exigen ciertos cuidados en cuanto al flujo del producto. Cuando pasan por el secador granos limpios con relativa rapidez, se obtiene un secado parejo, pero si los granos llevan impurezas se dificulta su flujo. En tales casos (comunes en las unidades almacenadoras), el secado será disparejo. Dei mismo modo, cuando se reduce el flujo del producto por el secador para secar granos más húmedos en una sala pasada, es corriente obtener un secado disparejo. Se estima que ésta es la base para limitar la reducción del contenido de humedad de un producto en 5,0 puntos por ciento en cada pasada por el secador (HAWK et al., 1978).


Indice - Precedente - Siguiente