Previous Page Table of Contents Next Page


Section 4: Packing and packaging materials


Packing practices
Packing containers
Packaging practices
Labeling
Modularization of containers
Modified atmosphere packaging (MAP)
Unit loads

If produce is packed for ease of handling, heavily waxed cartons, wooden crates or rigid plastic containers are preferable to bags or open baskets, since bags and baskets provide no protection to the produce when stacked. Sometimes locally constructed containers can be strengthened or lined to provide added protection to produce. Waxed cartons, wooden crates and plastic containers, while more expensive, are reusable and can stand up to the high relative humidity found in the storage environment. Containers should not be filled either too loosely or too tightly for best results. Loose products may vibrate against others and cause bruising, while overpacking results in compression bruising. Shredded newspaper is an inexpensive and lightweight filler for shipping containers (Harvey et al, 1990).

For small-scale handlers interested in constructing their own cartons from corrugated fibreboard, Broustead and New (1986) provide detailed information. Many types of agricultural fibres are suitable for paper making (Hunsigi, 1989), and handlers may find it economically sensible to include these operations in their postharvest system.

Throughout the entire handling system, packaging can be both an aid and a hindrance to obtaining maximum storage life and quality. Packages need to be vented yet be sturdy enough to prevent collapse. Collapsed packages provide tattle or no protection, requiring the commodity inside to support all of the weight of the overhead load. Packing is meant to protect the commodity by immobilizing and cushioning it, but temperature management can be made more difficult if packing materials block ventilation holes. Packing materials can act as vapor barriers and can help maintain higher relative humidities within the package. In addition to protection, packaging allows quick handling throughout distribution and marketing and can minimize impacts of rough handling.

Produce can be hand-packed to create an attractive pack, often using a fixed count of uniformly sized units. Packaging materials such as trays, cups, wraps, liners and pads may be added to help immobilize the produce. Simple mechanical packing systems often use the volume-fill method or tight-fill method, in which sorted produce is delivered into boxes, then vibration settled. Most volume-fillers are designed to use weight as an estimate of volume, and final adjustments are done by hand (Mitchell in Kader, 1992).

Packaging in plastic films can modify the atmosphere surrounding the produce (modified atmosphere packaging or MAP). MAP generally restricts air movement, allowing the product's normal respiration processes to reduce oxygen content and increase carbon dioxide content of the air inside the package. An additional major benefit to the use of plastic films is the reduction of water loss.

MAP can be used within a shipping container and within consumer units. Atmospheric modification can be actively generated by creating a slight vacuum in a vapor sealed package (such as an unvented polyethylene bag), and then replacing the package atmosphere with the desired gas mixture. In general, lowering oxygen and increasing carbon dioxide concentrations will be beneficial for most commodities (see the table of recommended gas mixtures for various crops, Section 7). Selection of the best polymeric film for each commodity/package size combination depends upon film permeability and the respiration rate of the commodity under the expected time/temperature conditions during handling. Absorbers of oxygen, carbon dioxide and/or ethylene can be used within packages or containers to help maintain the desired atmospheric composition.

Modified atmosphere packaging should always be considered as a supplement to proper temperature and relative humidity management. The differences between beneficial and harmful concentrations of oxygen and carbon dioxide for each kind of produce are relatively small, so great care must be taken when using these technologies.

Packing practices

The packing stand illustrated in the diagram below can be bolted to a second stand of the same construction if more space is required for packing produce. When trimming is necessary, add a loose board, thick enough to reach above the height of the front rail. The front rail should be smooth and rounded.

Source: Grierson, W. 1987. Postharvest Handling Manual: Commercialization of Alternative Crops Project Belize Agribusiness Co./Chemonics International Consulting Division/USAID

A simple field packing station can be constructed from wooden poles and a sheet of polyethylene. Thatch over the roof will provide shade and keep the station cool. The structure should be oriented so that the roof overhang keeps out the majority of the sun's rays.

Source: Grierson, W. 1987 Postharvest Handling Manual: Commercialization of Alternative Crops Project. Belize Agribusiness Co./ Chemonics International Consulting Division/USAID

Hands of bananas, after undergoing washing to remove latex and perhaps spraying with fungicides, are typically packed into cardboard containers lined with polyethylene. The following illustrations depict one method of filling a container with the fruit in order to ensure less damage during transport. Note that the polyethylene liner is folded up over the bananas before closing the box.

(a) Wide, flat medium-to-small hand in middle of compartment

(b) Medium-length, wide hand on top, crown not touching fruit below

(c) Medium-to-short length, wide hand, crown not touching fruit below

(d) One large hand, or two clusters with long fingers

Source: FAO. 1989. Prevention of Postharvest Food Losses: Fruits. Vegetables and Root Crops. A Training Manual. Rome: UNFAO. 157 PP.

A circular rotating table can be used to pack a variety of crops. The produce is fed in along a conveyor or if no conveyor is in use, simply put onto the table, where packers select the produce and fill cartons at their stations. In the illustration below, a discard belt has been added below the supply belt, allowing easy disposal of culls.

Each packer can work independently, trimming as needed and check weighing cartons on occasion.

Source: National Institute of Agricultural Engineering. 1979. Preparing vegetables for supermarkets. Field Vegetable Department, Silsoe, Bedford: NIAE

Packing containers

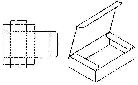
There are many types of packing containers. The three containers illustrated below are constructed from corrugated cardboard. The regular slotted container is fully collapsible and the most economical.

Telescopic containers (half or full) have the highest stacking strength and protect against bulging but are more costly.

The container known as a Bliss box has very strong corners, but is not collapsible.

Source: Peleg, K. 1985. Produce Handling Packaging and Distribution. Westport, Connecticut: AVI Publishing Co., Inc.

Sacks are often used to package produce, since they tend to be inexpensive and readily available. The following table provides some information regarding the characteristics of different kinds of materials used to make sacks.

Characteristics of sacks as packaging units

Sack types

Tearing and snagging

Impact

Protection against

Contamination

Notes

Moisture absorption

Insect invasion

Jute

Good

Good

None

None

Poor, also cause contamination by sack fibres

Bio-deterioration.
Insect harbourage.
Odour retention.

Cotton

Fair

Fair

None

None

Fair

High re-use value.

Woven plastics

Fair-Good

Good

None

Some protection (if closely woven)

Fair

Badly affected by ultra-violet light. Difficult to stitch.

Paper

Poor

Fair-Poor

Good - WFP multiwall sacks have plastic liners.

Some protection, better if treated.

Good

Consistent quality. Good print.

Source: Walker, D.J. (Ed) 1992. World Food Programme Food Storage Manual. Chatham, UK: Natural Resources Institute

Paper or cloth sacks can be easily closed using a length of strong wire and twisting tool.

Source: FAO. 1985. Prevention of Post-Harvest Food Losses: A Training Manual. Rome: UNFAO. 120 pp.

The table below provides examples of some types of typical mechanical damage and their effect on packaging containers.

Type of damage

Container

Result

Important factors

Impact damage through dropping

Sacks - woven and paper

Splitting of seams and material causing leaking and spillage loss.

Seam strength

Fibreboard boxes

Splitting of seams, opening of flaps causing loss of containment function. Distortion of shape reducing stacking ability.

Bursting strength Closure method

Wooden cases

Fracture of joints, loss of containment function.

Fastenings
Wood toughness

Cans and drums

Denting, rim damage. Splitting of seams and closures causing loss of containment and spoilage of contents.


Plastic bottles

Splitting or shattering causes loss of contents.

Material grade
Wall thickness

Compression damage through high stacking

Fibreboard boxes

Distortion of shape, seam splitting causing loss of containment and splitting of inner cartons, bags, and foil wrappings.

Box compression strength

Plastic bottles

Distortion, collapse and sometimes splitting, causing loss of contents.

Design, material, wall thickness

Vibration

Woven sacks

Sifting out of contents.

Closeness of weave

Corrugated fibreboard cases

Become compressed and lose their cushioning qualities. Contents more prone to impact damage.

Box compression strength

Snagging, tearing, hook damage

Sacks - woven and paper

Loss of containment function - spillage (more severe with paper sacks).

Tear strength

Tins

Punctured, loss of contents.

Metal thickness

Source: Walker, D.J. (Ed.) 1992. World Food Programme Food Storage Manual. Chatham, UK: Natural Resources Institute

The diagrams below are for a variety of commonly used fibreboard containers. Final dimensions can be altered to suit the needs of the handler.

One piece box:

Two-piece box with cover:

Bliss-style box:

Source: McGregor, B. 1987. Tropical Products Transport Handbook. USDA, Office of Transporation, Agricultural Handbook Number 668.

The diagrams below are for a variety of commonly used fibreboard containers. Final dimensions can be altered to suit the needs of the handler.

Full telescoping box:

One-piece telescoping box:

One-piece tuck-in cover box:

Source: McGregor, B. 1987: Tropical Products Transport Handbook. USDA, Office of Transporation, Agricultural Handbook Number 668.

The diagrams below are for a variety of commonly used fibreboard containers. Final dimensions can be altered to suit the needs of the handler.

Self-locking tray:

Interlocking box:

Source: McGregor, B. 1987. Tropical Products Transport Handbook. USDA, Office of Transporation, Agricultural Handbook Number 668.

Shipping containers can be designed and made by the user from fibreboard in any size and shape desired. Three types of joints are commonly used to construct sturdy boxes.

Taped joints:

Glued Joints:

Stapled joints:

Source: Peleg, K. 1985. Produce Handling Packaging and Distribution. Westport, Connecticut: AVI Publishing Co., Inc.

Containers can be constructed from wood and wire, using the general diagrams provided below. A special closing tool makes bending the wire loops on the crate's lid easier for packers to do. Wirebound crates are used for many commodities including melons, beans, eggplant, greens, peppers, squash and citrus fruits. Package Research Laboratory (41 Pine Street, Rockaway, New Jersey 07866) can provide a list of suppliers in your area.

Ends:

Blank for body:

Source: Peleg, K. 1985. Produce Handling Packaging and Distribution. Westport, Conn.: AVI publishing Co., Inc.

A wooden lug is the typical packing container for table grapes. This container is very sturdy and maintains its stacking strength over long periods of time at high relative humidity. Rigid plastic containers are also widely used.

Often, a paper liner is folded over the grapes before the top is nailed closed. The liner protects the produce from dust and water condensation. If a pad containing sulfur dioxide can be enclosed with the grapes within a plastic liner as a treatment to control decay. Most commodities other than table grapes can be damaged (bleached) by sulfur dioxide treatments.

Rigid plastic or wooden containers are also used extensively for asparagus. The trimmed spears are packed upright in containers that provide for a large amount of ventilation.

Containers for cut flowers are often long and narrow, of full telescopic design with vents at both ends to facilitate forced-air cooling. The total vent area should be 5% of the total box surface area. A closable flap can help maintain cool temperatures if boxes are temporarily delayed in transport or storage in an uncontrolled temperature environment.

Source: Rij, R. Et al. 1979. Handling, precooling and temperature management of cut flower crops for truck transportation. USDA Science and Education Administration, AAT-W-5, Leaflet 21058.

A simple wooden tray with raised corners is stackable and allows plenty of ventilation for fragile crops such as ripe tomatoes.

Source: FAO. 1985. Prevention of Post-Harvest Food Losses: A Training Manual. Rome: UNFAO. 120pp

Packaging practices

Adding a fiberboard divider to a carton will increase stacking strength. The use of dividers is common with heavy crops such as melons. The dividers also prevent melons from vibrating against one another during handling and transport. Wooden inserts, or fiberboard folded into triangles and placed in all four corners can be especially useful when a carton needs strengthening.

Fiberboard divider:

Triangular corner supports:

Source: McGregor, B. 1987. Tropical Products Transport Handbook. USDA, Office of Transporation, Agricultural Handbook Number 668.

When locally made containers have sharp edges or rough inner surfaces, a simple, inexpensive inner made from fiberboard can be used to protect produce from damage during handling.

Cardboard liner for a palm rib crate:

Source: Blond, R.D. 1984. The Agricultural Development Systems Project in Egypt (1979-83), USAID/Ministry of Agriculture, Egypt/University of California, Davis.

If large bags or baskets must be used for bulk packaging of fruits or vegetables, the use of a simple vent can help reduce the buildup of heat as the product respires. In the illustration below, a tube of woven bamboo (about one meter long) is used to vent a large bag of chili peppers.

Thin paper or plastic sleeves are a useful material for protecting cut flowers from damage during handling and transport. In the illustration below, a packer is pulling a sleeve up over a bunch of flowers before packing the flowers into a vented fibreboard carton. The sleeves both provide protection and help keep the bunches of flowers separate inside the box.

Source: Reid, M.S. 1992. In: Kader, A.A. (Ed.) Postharvest Technology of Horticultural Crops. University of California, Division of Agriculture and Natural Resources, Publication 3311.

Labeling

Labeling packages helps handlers to keep track of the produce as it moves through the postharvest system, and assists wholesalers and retailers in using proper practices. Labels can be preprinted on fiberboard boxes, or glued, stamped or stenciled on to containers. Brand labeling packages can aid in advertising for the product's producer, packer and/or shippers. Some shippers also provide brochures detailing storage methods or recipes for consumers.

Shipping labels can contain some or all of the following information:

Common name of the product.
Net weight, count and/or volume.
Brand name.
Name and address of packer or shipper.
Country or region of origin.
Size and grade.
Recommended storage temperature.
Special handling instructions.
Names of approved waxes and/or pesticides used on the product.

Labeling of consumer packages is mandatory under FDA regulations. Labels must contain the name of the product, net weight, and name and address of the producer, packer or distributor.

Source: McGregor, B. 1989. Tropical Products Transport Handbook. USDA, Office of Transporation, Agricultural Handbook Number 668.

Modularization of containers

When a variety of different sized cartons are packed at the same time, using boxes in standard sizes can greatly ease future handling. When handling boxes that are non-uniform, stacks can be unstable or heavier cartons can crush lighter ones. An unstable load is likely to fall over during transport or to collapse during storage.

Recommended container sizes are shown below. These containers are part of the MUM program (Modularization, Unitization and Metrication) advocated by the USDA. They can all be stacked in a variety of patterns, depending upon their size, yet still form a stable load on a single pallet of 1000 x 1200 mm (40 x 48 inches).

MUM containers for horticultural crops:


Outside Dimensions

Number Per Layer

Pallet Surface Area Utilized

mm

Inches


Percentage

600 x 500

(23.62 x 19.69)

4

100

500 x 400

(19.68 x 15.75)

6

100

600 x 400

(23.62 x 15.75)

5

100

500 x 333

(19.68 x 13.11)

7

97

600 x 333

(23.62 x 13.11)

6

99

500 x 300

(19.68 x 11.81)

8

100

475 x 250

(18.70 x 9.84)

10

99

400 x 300

(15.75 x 11.81)

10

100

433 x 333

(17.01 x 13.11)

8

96

400 x 250

(15.74 x 9.84)

12

100

An example of a pallet load of MUM containers:

Source: Ashby, B.H. et al. 1987. Protecting Perishable Foods During Transport by Truck. Washington, D.C.: USDA, Office of Transportation, Agricultural Handbook No. 669.

The following illustrations show the arrangement of a variety of MUM containers on a standard pallet (1000 x 1200 mm or 40 x 48 inches). Using MUM containers can save space during transport and storage, since pallet utilization is close to 100%.

Outside dimensions:
600 x 500 mm
(23.62 x 19.69")
Pallet utilization 100%

Outside dimensions:
500 x 400 mm
(19.68 x 15.75")
Pallet utilization: 100%

Outside dimensions:
600 x 400 mm
(23.62 x 15.75")
Pallet utilization: 100%

Outside dimensions:
500 x 333 mm
(19.68 x 13.11")
Pallet utilization: 97%

Outside dimensions:
600 x 333 mm
(23.62 x 13.11")
Pallet utilization: 99%

Outside dimensions:
500 x 300 mm
(19.68 x 11.81")
Pallet utilization: 100%

Outside dimensions:
475 x 250 mm
(18.62 x 9.84")
Pallet utilization: 99%

Outside dimensions:
400 x 300 mm
(15.75 x 11.81")
Pallet utilization: 100%

Outside dimensions:
433 x 333 mm
(17.01 x 13.11")
435 x 330 mm
(17.12 x 12.99")
Pallet utilization: 96%

Outside dimensions:
400 x 250 mm
(15.75 x 9.84")
Pallet utilization: 100%

Outside dimensions:
400 x 333 mm
(15.75 x 13.11")
Pallet utilization: 99%



Source: McGregor, B. 1989. Tropical Products Transport Handbook. USDA, Office of Transporation, Agricultural Handbook Number 668.

Modified atmosphere packaging (MAP)

Within a consumer package: If commodity and film permeability characteristics are properly matched, an appropriate atmosphere can evolve passively through consumption of O2 and production of CO2 during respiration (Kader, 1992). Some rigid plastic consumer packages are designed with a gas diffusion window.

Lightly processed lettuce (shredded or chopped) can be packaged in 5-mil plastic bags. After a partial vacuum is created, a gas mixture of 30 to 50% O2 and 4 to 6% CO2 is introduced into the bag, which is then sealed.

SEALED PLASTIC BAG

Within a shipping container: Polyethylene liners are added to shipping containers in cherry boxes, and polyethylene bags are used for bananas destined for distant markets.

PLASTIC LINER

Within a pallet: A single pallet load of produce such as strawberries can be sealed within a shroud of 5 mil polyethylene bag and a plastic sheet on the pallet base using wide tape. A slight vacuum can be introduced and 15% CO2 added to the air introduced via a small hose.

Many plastic films are available for packaging, but very few have gas permeabilities that make them suitable for MAP. Low density polyethylene and polyvinyl chloride are the main films used in packaging fresh fruits and vegetables. Saran and polyester have such low gas permeabilities that they are suitable only for commodities with very low respiration rates. The following table provides the permeabilities of the films currently available for packaging fresh produce (Kader, 1992).

Film type

Permeabilities (cc/m2/mil/day at 1 atm)

CO2:O2 Ratio

CO2

O2

Polyethylene: low density

7,700-77,000

3,900-13,000

2.0-5.9

Polyvinyl chloride

4,263-8,138

620-2,248

3.6-6.9

Polypropylene

7,700-21,000

1,300-6,400

3.3-5.9

Polystrene

10,000-26,000

2,600-7,700

3.4-3.8

Saran

52-150

8-26

5.8-6.5

Polyester

180-390

52-130

3.0-3.5

Unit loads

Many shippers and receivers prefer to handle unit loads of produce pallets rather than handling individual shipping containers. The switch to unit loads has reduced handling, causes less damage to the containers and produce inside, and allows faster loading/ unloading of transportation vehicles.

If small scale handlers wish to use unit loads for shipping produce, either wooden pallets or slip sheets can serve as the base of the load. Using guides for aligning the boxes (such as placing the pallet to be loaded against the corner of a room, or building a set of "bounce boards" if the pallet is loaded outside) will stabilize the load. Using fiberboard, plastic or wooden containers with vertical interlocking tabs can also help improve the unit load's stability. Containers must have holes for ventilation which align when stacked squarely on top of one another. Glue can be used between layers of containers to reduce slipping, and plastic netting or plastic or metal straps should be added to secure the load. Cornerboards made from fiberboard, plastic or metal help to provide for a stable unit load.

Strapping and cornerboards on a unit load:

Sources: McGregor, B. 1989. Tropical Products Transport Handbook. USDA, Office of Transporation, Agricultural Handbook Number 668.

Ashby, B.H., et al., 1987. Protecting Perishable Foods During Transport by Truck. USDA, Office of Transporatation, Agricultural Handbook Number 669.


Previous Page Top of Page Next Page