Introduction
The centre at Kolda
Cattle and sheep
Herd management
Supplementary feeding
Animal health programme
Data recording procedures
Since its establishment in 1972, the "Centre de Recherches Zootechniques" (C.R.Z.) has maintained herds of N'Dama cattle and flocks of Djallonke sheep both of which are trypanotolerant. The two species are kept for meat production. Improved management practices include supplementary feeding and veterinary care, with selection programmes aiming at genetic improvement. Information has been collected on traits relating to reproductive performance, body weight and mortality.
The centre at Kolda is situated in Casamance, Southern Senegal, and covers an area of 2600 ha, which is subdivided into 18 plots. Kolda is situated at a height of 23 m with a climate characterized by a wet season lasting 5 months from June to October, and a dry season from November to May. Table 1 shows the monthly rainfall from 1974 to 1980.
The average annual temperature is 27.7°C with a maximum of 34.9°C (April, May and October) and a minimum of 20.4°C (January and August). The average annual relative humidity is 88% with a maximum of 97% (September) and minimum of 21% (February and March).
There are three main types of vegetation on the centre: clear forests and dry bushlands with no underground water, fallow land and dry cultivation, and swamp areas (river beds, rice fields and wet pastures of Cyperaceae or Vetiveria nigritana). The most important grasses are Andropogon gayanus, A. pseudapricus, Anadelphia arrecta and Penicetum subangustum. Meadows of Vetiveria sp. Cyperaceae and Anadelphia sp. have a low fodder yield but stay green for a considerable time during the dry season. The presence of leguminous plants, e. g. Stylosanthes gracilis and S. humilis help to improve the natural grazing available. The trypanosomiasis risk is subjectively considered as light to medium.
Table 1. Monthly rainfall at Kolda from 1974 to 1980 (mm)

Cattle
The N'Dama breed is medium-sized and compact, with a fairly light skeleton. The usual coat colour on the centre is fawn. The foundation herd was made up of 123 heifers and 8 bulls bought from traditional breeders from Casamance and Oriental Senegal. This herd was established between March 1972 and October 1974. By the 31st December 1980, the total stock was 362 head: 18 bulls, 5 oxen, 63 bull calves, 145 cows, 85 heifers, 28 male calves and 18 female calves.
Sheep
The Djallonke has short hair, a thin tail and measures 40 - 50 cms. The coat colour varies between white, white and black or white and red. Rams have a mane covering the neck, withers, shoulders and chest. The foundation herd was made up between November 1974 and September 1975 and consisted of 91 ewes, 30 ewe-lambs, 2 lambs and 2 rams. On the 31st December the total stock was 248 head: 12 rams, 57 lambs, 104 ewes and 75 female lambs.
Cattle
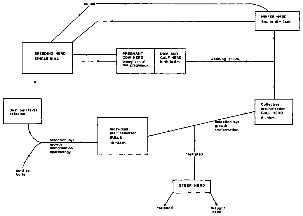
The general organization of the herd is shown in Figure 1. There are five single bull breeding herds (1-5). When cows are in the last months of pregnancy they are gathered into one herd in the paddocks near the cowsheds. After calving, cows are moved into a dam and calf herd in the cowsheds with calves receiving all the milk from their dams. At weaning (6 months), the male and female calves are placed in two separate herds. The calves are branded at weaning, females remaining in the heifer herd until 18 - 23 months of age when they then move into a breeding herd other than that of their sire. Heifers that are too small or weak are culled. Bull calves go into a collective preselection herd until they are 18 months. At this age the best bull calves, chosen by growth and conformation, are put into separate stalls where their growth is carefully recorded. The rest of the bull calves are castrated and either used as draught oxen or fattened. At 24 months the best 1-2 bulls from the individual preselection group (selected on growth, conformation and spermology) are kept to go into the breeding herds. The remainder are sold to improve stock outside the Centre.
Sheep
Breeding flocks each have one ram and lambing occurs within these flocks. When lambs are 4 months they are weaned into separate male and female flocks and ear-tagged. At 9 months, ewes are put into the breeding flock if they have reached a weight of 16 kg. Those that do not reach 16 kg at 12 months are culled. Until 1979 rams were selected at 2 years on growth and conformation, the best kept as sires and the remainder castrated, fattened and sold. Since 1979 males have been selected at 6 months, the best going into a second pre-selection flock, the remainder castrated, fattened and sold. At 12 months rams are selected on weight, daily gain, conformation and coat colour, the best going into the breeding flocks. The remainder are either fattened or sold as rams to improve stock outside the Centre.
Figure 1. General organization of cattle herds
The animals graze on natural grasslands. The quality and quantity of available fodder is optimal during the rainy season but the pastures deteriorate during the dry season, with fodder being least available in May and June.
Supplementation varies throughout the year and according to the class of animal. Table 2 shows the basic quantities of oil cake and cotton seed concentrates fed during the dry season (April to June).
Table 2. Dry season supplementation levels
|
Supplement |
Class of stock |
Amount fed per day (kg) |
|
Oil cake |
Adult cattle |
1.0 |
|
Weaners |
0.5 |
|
|
Sheep |
0.2 |
|
|
Cotton seed |
Cow and calf |
2.0 |
|
Sheep |
0.2 |
Animals are allowed to feed off peanut haulm when available and salt mineral licks are distributed. Animals receiving special supplementation are cows with calves, ewes with lambs, pregnant cows and ewes, and bull calves in the pre-selection groups, especially the individual pre-selection group. There have in the past been many problems of feed availability, etc. so that supplementary feeding has on occasion been interrupted.
Cattle are routinely vaccinated against pasteurellosis, rinderpest, pleuropneumonia and anthrax.
Sheep are vaccinated against ovine pasteurellosis, sheep pox and "peste de petits ruminants".
Periodic action is taken against external and internal parasites of all animals.
Climatic and animal productivity data are regularly recorded. At birth, the date, sire number, dam number, sex and weight of the new-born animal are recorded. Sheep and cattle are numbered at weaning. Service dates, abortions, deaths, supplementation, sickness and treatment, vaccinations etc., i.e. all daily activities are recorded. Weights and linear measurements are regularly collected. Linear measurements taken for cattle are length and width of head, height at withers, scapulo-ischial length, girth, crop length, width of haunch and height at sternum. Linear measurements taken for sheep are height at withers, scapulo-ischial length and girth. The frequency of collection of weights and linear measurements is
|
Cattle: |
0 - 3 months |
- weekly |
|
|
3 - 6 months |
- fortnightly |
|
|
6 - 24 months |
- monthly |
|
|
2 - 6 years |
- three monthly |
|
Sheep: |
0 - 3 months |
- weekly |
|
|
3 - 6 months |
- fortnightly |
|
|
6 months |
- monthly |