Les centres de collecte constituent un relais entre les producteurs et l'usine laitière. Ils assurent la réception du lait, sa réfrigération, parfois sa pasteurisation et sa conservation en attendant son transport à la laiterie. L'intérêt de ces centres est double : permettre par une réfrigération précoce du lait d'améliorer sa conservation, économiser les frais de transport. Ils se justifient notamment lorsque les zones de ramassage sont éloignées de l'usine ou lorsque celles-ci sont constituées de petits fournisseurs dont l'accès à leur exploitation est difficile en raison de l'état des routes. Dans les pays en voie de développement l'implantation de ces centres facilite considérablement le difficile problème de l'approvisionnement en lait des usines, tant du point de vue quantitatif que qualitatif; inversement, elle incite les agriculteurs à accroître la production laitière sachant que celle-ci est assurée d'un débouché. Ces centres peuvent être considérés comme une formule très améliorée des “postes à lait” qui existent dans certaines régions.
Dans les régions où les producteurs sont isolés, le centre n'est pas seulement le local de réception et de réfrigération du lait. Il est aussi un lieu de rencontre des producteurs qui peut très utilement être mis à profit pour les informer et les conseiller. Son rôle possible dans la vulgarisation ne doit pas être sous-estimé. En outre un magasin d'approvisionnement en médicaments vétérinaires, produits de nettoyage, aliments du bétail, etc… peut lui être adjoint. Il apporte ainsi un service très souvent apprécié pour les producteurs.
Le plus rapidement possible, chaque producteur ou les collecteurs apportent le lait au centre où il doit parvenir, en principe, dans les deux heures qui suivent la traite. Celui-ci est mesuré, en volume ou mieux en poids, contrôlé par des moyens simples (aspect physique, odeur, acidité…), filtré et aussitôt versé et conservé dans le tank réfrigérant. Chaque jour ou une fois tous les deux jours, il est expédié à la laiterie de préférence au moyen d'une citerne isotherme. Celle-ci facilite les transvasements ; le lait maintenu en masse se réchauffe moins rapidement ; elle évite le nettoyage et la manipulation de bidons.
Le bâtiment peut être construit simplement en matériaux durs, tels que pierre, briques, ciment, et selon les méthodes et les possibilités locales. Il doit être protégé des intempéries et du soleil et orienté de telle sorte que ses ouvertures soient abritées des vents dominants. Ses accès doivent être aménagés afin d'éviter le plus possible qu'ils se transforment en zone boueuse ou poussièreuse.
Les murs intérieurs et les plafonds doivent être lisses et lavables. Les sols doivent être résistants, antidérapants et faciles à nettoyer. Ils doivent être pourvus d'une pente suffisante pour éviter toute stagnation d'eau et d'une ou plusieurs bouches d'égout assurant l'évacuation à l'extérieur de celle-ci. Une bonne ventilation doit permettre d'éviter les condensations éventuelles. La pose de grillages fins ou d'autres dispositifs est souvent nécessaire pour empêcher l'entrée des mouches ou autres animaux.
La disposition du local et ses dimensions varient avec l'importance du centre. Pour de petites quantités de lait, il peut être d'un seul niveau sans surélévation au-dessus du sol. Lorsqu'elles sont plus importantes on peut avoir intérêt à disposer la plateforme de réception. en surélévation par rapport autank réfrigérant de façon à faciliter le déchargement des véhicules de collecte et à profiter de la gravité pour filtrer et verser le lait. Dans le cas le plus simple où la quantité de lait est faible (de l'ordre de quelques centaines à 1.000 ou 1.500 litres de lait par jour) on peut se contenter d'une seule pièce. Toutefois, par mesure d'hygiène et d'organisation, il est préférable de séparer le secteur réception et lavage des bidons de ramassage de celui réfrigération-stockage et de prévoir un lieu de stockage des produits de nettoyage et de rangement des petits matériels et outillages.
Lorsqu'un magasin de fournitures aux producteurs est prévu, celui-ci doit être nettement séparé de façon à limiter les contaminationset à permettre un travail rationnel.
Deux utilités sont nécessaires : l'eau et l'électricité. Les matériels à prévoir sont :
Cet équipement est complété par la table et l'armoire permettant de tenir correctement la comptabilité du lait réceptionné et son paiement s'il est fait par le centre. En outre, une simple paillasse et un petit matériel sont utiles pour assurer un contrôle élémentaire du lait.
La figure 59 donne le schéma d'un centre de collecte d'une capacité de 3.000 litres de lait par jour.
L'idée de remplacer la collecte traditionnelle en bidons par le ramassage en vrac a pris naissance dans la recherche d'une simplification et surtout d'une économie dans l'approvisionnement en lait de l'usine. On s'est rapidement rendu compte que le mélange de laits de qualités variées augmentait généralement la charge microbienne de celui-ci et arrivait souvent à l'usine en état d'altération. Le ramassage en citerne ne pouvait se faire dans de bonnes conditions que dans la mesure où il était possible de ralentir fortement le développement microbien. Il est maintenant bien admis que la collecte en vrac n'est applicable que si elle est précédée, à la ferme, d'une bonne hygiène de la production et d'une réfrigération précoce et rapide. On doit bien considérer que l'équipement d'une zone en tanks réfrigérants et la collecte ne vont pas l'une sans l'autre. Ce procédé d'ensemble constitue une évolution technique, économique et sociale considérable. Il présente des avantages certains mais il n'est valable que sous certaines conditions. A la ferme comme à l'usine, il impose de profondes modifications, exige de nouvelles contraintes, des efforts d'adaptation et une minutieuse organisation. Sa mise en place ne peut aboutir à des résultats satisfaisants que si elle se justifie, ce qui nécessite une minutieuse étude préalable et non quelques considérations empiriques.
Cette méthode généralisée dans la plupart des grandes régions laitières est déjà présentée par quelques promoteurs comme étant dépassée. Ceux-ci remettent en question son bien-fondé économique et microbiologique et proposent de la remplacer par des techniques à la ferme telles que la thermisation jointe à la concentration par ultrafiltration. Malgré l'intérêt théorique que présente l'étude de ces techniques complexes, il n'en demeure pas moins vrai qu'actuellement et vraisemblablement encore pour longtemps, la réfrigération et la collecte en vrac resteront la meilleure solution dans la majorité des cas.

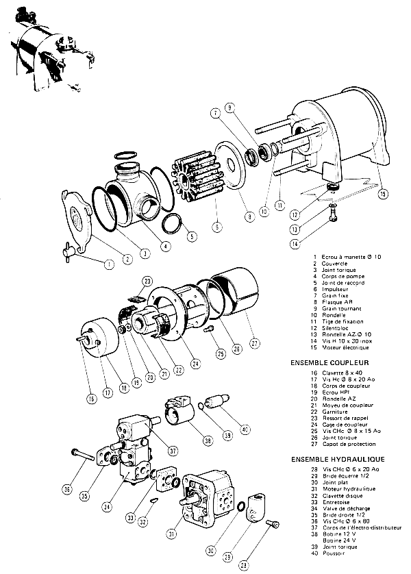
| 1) Quai de réception, de mesure et de contoôte di lait | 5) et 6) Pompe et canalisation reliant le tank à la citerne de collecte |
| 2) Filtres | 7) Pompe d'eau glacée |
| 3) Tank réfrigérant placé dans un puits | 8) Groupe frigorifique extérieur |
| 4) Placé à 1,20 m en-dessous de la plate- forme de réception (1) | 9) Cuves de lavage bidons des producteurs |
Figure 59 - Centre de collecte d'une capacité de 3.000 litres par jour (D'après F.A.O., 1964)
• Principe. Il est apparemment très simple. Il est fondé à la fois sur la mécanisation des transferts de lait et sur l'allongement de sa durée de conservation. Le lait conservé à la ferme en tank réfrigérant est directement pompé dans une citerne montée sur un camion et vidée à l'usine dans les mêmes conditions.
L'application de ce principe amène la suppression des bidons et par suite leur manutention et leur nettoyage. Elle permet un aménagement optimum des horaires de collecte et de réception, d'espacer la fréquence des ramassages qui, de bi-quotidiens ou quotidiens, n'ont plus lieu qu'une fois par jour ou tous les deux jours. Une meilleure rotation des véhicules et la possibilité de transporter des quantités accrues de lait sur de plus longues distances sont aussi parmi ses avantages. Tout se résume par une meilleure organisation de la collecte permettant d'en réduire le coût tout en diminuant les travaux pénibles. Mais, en réalité, l'obtention de ces résultats prometteurs est liée à diverses conditions techniques et économiques dont l'examen ne peut être intuitif ou sommaire mais réalisé avec soin et selon une méthode appropriée. Il en existe de plus ou moins simples pouvant utiliser ou non l'outil mathématique et informatique. Avant d'en faire l'examen il est nécessaire de connaître les caractéristiques principales des matériels de collecte.
La réfrigération en vrac et le ramassage en citerne sont deux séquences d'un même système destiné à améliorer la qualité du lait et à diminuer les frais. C'est pourquoi on retrouve dans ces deux équipements un certain nombre de caractères communs. Dans la construction de la citerne et de ses accessoires on s'attachera à ce qu'elle conserve au lait sa qualité initiale par la facilité du nettoyage, la simplicité des circuits, l'isolation suffisante. Elle sera conçue de manière à réduire en effort et en temps le travail du ramasseur : compteur à lait, accessoires pratiques, prélèvement automatique des échantillons. Enfin l'ensemble véhicule-citerne sera choisi de telle sorte qu'il permette de réduire les frais de collecte tout en étant adapté aux conditions locales : état des routes, relief de la zone, accès aux tanks, multiplicité des fournisseurs.

Figure 60 - Camion-citerne de collecte (Cliché MAGYAR)
Un camion de ramassage comprend deux parties (figures, 60, 61, 62, 64) :
Il n'entre pas dans le cadre de cet exposé d'en donner les détails mais simplement de faire quelques remarques sur les caractéristiques à prendre en compte dans son choix. Celui-ci découle d'abord de la capacité maximale de la citerne qui est elle-même déterminée en fonction des caractéristiques de la zone : volume de lait, longueur et durée de la collecte, servitudes diverses (état des routes, limite de charge des ponts…) et des aspects économiques de la collecte.
En fonction de ces facteurs on peut avoir le choix entre le camion porteur simple et le semi-remorque. Le simple porteur ne permet guère de dépasser 10.000 à 12.000 litres de lait. Si les quantités sont plus importantes, deux solutions sont possibles : soit accrocher une remorque au porteur simple. Dans ce cas le circuit de ramassage est souvent organisé en “huit”. Selon les cas la remorque après remplissage est déposée en un point central de la tournée puis reprise au retour ou au contraire laissée vide et seulement reprise pour la dernière partie de la collecte : soit utiliser un semi-remorque qui permet de recevoir de grosses quantités de lait, offre une certaine maniabilité et évite les temps morts.
Ce choix doit aussi tenir compte des dispositions réglementaires propres à chaque pays : poids total autorisé en charge, poids total roulant autorisé (porteur plein + remorque pleine) dimension des véhicules, type de permis de conduire…
Les dimensions du véhicule influent sur sa maniabilité. L'empattement c'est-àdire la distance entre les essieux avant et arrière doit permettre une bonne répartition des charges sur ceux-ci : celle-ci est obtenue lorsque le centre de gravité de la citerne est situé à une certaine distance en avant des roues arrières. Selon la capacité et la disposition de la citerne, le poids et l'emplacement des accessoires, l'empattement varie, aussi doit-il être déterminé en concertation avec le constructeur du véhicule. Les caractéristiques du moteur ont évidemment une influence sur la consommation en carburant et sur sa longévité.

Figure 61 - Camion-citerne, détails de construction (Cliché MAGYAR

Figure 62 - Camion-citerne - Détails de construction (Cliché MAGYAR)
La boîte de vitesse doit faire l'objet d'une attention particulière. Outre sa robustesse nécessitée par les efforts qui lui sont demandés il est important de bien choisir ses différents rapports. Compte tenu de la topographie et de la longueur des tournées, le couple lié à la réduction dans le pont arrière est choisi dans la gamme suivante :
D'autres éléments sont aussi à prendre en compte tels que le freinage, les pneumatiques, la suspension, le poste de conduite, la facilité de sortir et de remonter dans le véhicule.
Dans tous les cas il faut rechercher la robustesse du porteur, sa souplesse et sa facilité de conduite ainsi que les possibilités de lui assurer un excellent entretien.
Elle est habituellement construite en acier inoxydable 18/10 d'une épaisseur de l'ordre de 25 à 30/10 mm. Ce métal, outre ses bonnes qualités mécaniques, résiste à la corrosion, ce qui permet un excellent nettoyage à l'aide de solutions détergentes alcalines et acides. L'état de surface doit être lisse, glacé à l'intérieur et poli à l'extérieur. Toutes les soudures doivent être soigneusement meulées et polies.
Les autres matériaux comme l'aluminium et ses alliages ou les matières plastiques armées ne sont pratiquement jamais utilisés en raison, notamment, des difficultés de leur assurer une propreté bactériologique satisfaisante.
L'isolation n'est pas toujours nécessaire. Elle dépend essentiellement des conditions climatiques et de la durée de transport du lait. Sous les climats froids la masse de lait bien réfrigérée, transportée en quelques heures (deux ou trois), se réchauffe lentement de quelques degrés (de l'ordre de 1°C par heure).
Dans les autres cas l'isolation s'avère nécessaire. Celle-ci est réalisée par une couche d'environ 6 cm d'épaisseur de polyuréthane ou de 10 cm de laine de verre. Selon l'épaisseur choisie le coefficient global effectif de transmission de chaleur varie; il est souvent voisin de 0,40 Kcal/m2xhx°C, ce qui est satisfaisant, sauf peut-être dans les pays particulièrement chauds ou lorsque les tournées sont très longues. Ce coefficient tient compte des ponts thermiques (supports de la citerne, tuyauterie de lait, trous d'homme). L'isolant est revêtu extérieurement d'une jaquette en acier inoxydable. Celle-ci est d'épaisseur variable de l'ordre de 5 à 12/10 mm. Au bout de quelques années de service on observe généralement une augmentation du coefficient de transmission de chaleur. Il peut atteindre 0,60. Ce phénomène gênant est dû au vieillissement de l'isolant sous l'action de l'humidification et du tassement de la laine de verre ou de la dégradation des polyuréthanes par les nettoyages à chaud de la citerne.
L'isolation ne se justifie que si elle est véritablement nécessaire. D'une part, elle augmente le poids de la citerne de façon importante. C'est ainsi qu'une citerne de 10.000 litres pesant, non isolée, 1.700 kg, passe à 2.200 kg après isolation. D'autre part, elle se traduit par une élévation considérable du coût. En fonction de la capacité de la citerne, celui-ci croît de façon pratiquement linéaire. Généralement il faut considérer que le prix de l'isolation représente environ la moitié de celui de la citerne.
La plupart des citernes sont de forme oblongue, à section cylindrique ou elliptique. Dans les modèles standards généralement choisis parce que moins chers, le diamètre du cylindre ou la longueur du grand axe et du petit axe de l'ellipse sont généralement fixes pour un modèle donné. Elle est, par exemple de 2.100 mm pour le grand axe de l'ellipse et de 1.400 ou 1.500 mm pour le second. La longueur de la citerne est alors porportionnelle à la capacité. Afin d'éviter le balancement excessif du lait qui risque de rendre difficile la conduite du camion, et de provoquer le barattage du lait dans la citerne, on peut placer des brises-lames en acier inoxydable. On peut aussi cloisonner la citerne en deux ou trois compartiments d'un volume minimal de 1.200 à 1.500 litres, ce qui permet aussi de séparer les laits de qualité ou d'origine différentes. Ce cloisonnement amène un supplément de prix notable, notamment lorsqu'il comporte une isolation.

Figure 62a - Trou d'homme ø 0,450 m avec soupape atmosphérique et fermeture rapide. Ouverture possible à 15° pour ventilation après lavage. Butée arrière pour ouverture totale
(Cliché MAGYAR)

Figure 63 - Dispositif de supportage des citernes par demi-anneaux
(Cliché MAGYAR)

Figure 64 - Camion-citerne - Détail des équipements
(Cliché MAGYAR)
Chaque citerne ou chaque compartiment comprend :
Il peut se faire au moyen de deux procédés différents : par pompage ou par aspiration sous vide. Le pompage est effectué à l'aide d'une pompe volumétrique fixée sur le véhicule. Elle est entraînée soit par un moteur électrique ou à essence, soit par un moteur hydraulique actionné par une prise de mouvement sur le ralenti du moteur du véhicule (figure 65). Le moteur électrique est pratique mais il suppose que toutes les fermes aient l'électricité, la même tension et qu'il ne soit pas nécessaire de dérouler un trop long câble pour atteindre la prise de courant. On peut cependant remplacer celle-ci par une très puissante batterie sur le camion qui est rechargée pendant la nuit. Le moteur à essence présente l'inconvénient d'une mise en route longue. De plus les fréquentes mises en route finissent par le détériorer. C'est certainement le troisième procédé, éventuellement combiné avec le moteur électrique, ce qui permet d'arrêter le moteur du véhicule, qui est le plus utilisé.

Figure 65 - Groupe de pompage “hydrelec” à entraînement hydrauet électrique (Cliché MAGYAR)

FONCTIONNEMENT:
Figure 66 - Dispositif de vide à régulation automatique (Cliché ETA)
La pompe peut être enclenchée par télé-commande. Outre le pompage du lait, elle peut aussi être utilisée pour le nettoyage de la citerne ou pour vider la citerne.
Il est généralement nécessaire de remplacer périodiquement la pompe. De plus, étant fréquemment du type rotative à rotor déformable, elle de doit pas tourner à sec ni être au contact de solutions détergentes à plus de 65°C.
Aspiration sous vide. Cette technique consiste à créer une dépression dans la citerne et à bloquer cette dépression au moyen d'une vanne de fermeture. Par simple ouverture de la vanne suçeuse plongée dans le tank, le lait monte dans la citerne qui agit comme un aspirateur à liquide. On préfére généralement le vide créé au moyen du moteur du véhicule à celui obtenu par pompe. Le vide peut être automatiquement régulé par des systèmes électro-pneumatiques ou pneumatiques (figure 66).
Le système par aspiration sous vide présente plusieurs avantages. Il est simple et hygiénique. Il permet d'assécher les canalisations de lait, ce qui limite le développement bactérien. La faible action mécanique subie par le lait réduit son brassage dont l'action favorise la lipolyse. En raison de la hauteur d'aspiration limitée à 4 mètres, il peut ne pas convenir dans les régions accidentées. Il faut veiller à la parfaite étanchéité des joints des diverses ouvertures du tank ; dans les régions froides, toutes précautions doivent être prises pour éviter, par exemple, que des gouttes gelées empêchent la fermeture étanche du trou d'homme. Le gel peut aussi perturber le flotteur disposé dans la citerne en bout de la conduite d'aspiration.
Tuyauterie d'aspiration du lait (figure 67)
La citerne et munie d'une tuyauterie flexible, qui est reliée au tank soit par branchement sur sa vanne de vidange, soit par immersion dans le lait d'une canne suçeuse.
Le premier dispositif n'est généralement utilisé que pour les tanks de grande capacité. Le branchement doit être facile et rapide. Ceci nécessite des raccords standards, ce qui n'est pas toujours le cas ; il faut alors mettre des pièces intermédiaires qui entraînent une dépense supplémentaire. Le nettoyage est rendu plus délicat par la présence du raccord et de la vanne de fermeture. Il ne faut pas que celle-ci soit placée trop près du sol, ce qui peut rendre difficile, voire impossible, le raccordement. La canne suceuse (figure 68) utilisée pour les tanks de petites et moyennes capacités est très satisfaisante à la condition que sa forme soit bien étudiée pour permettre une complète aspiration du lait dans le tank et qu'elle soit sans goulot d'étranglement. Afin qu'elle ne soit pas une source de contamination, elle doit être manipulée de façon hygiénique. Elle ne doit jamais être posée sur le sol ou mise au contact d'une surface contaminée. Dès utilisation, il convient de la rincer ; à cet effet, le camion peut être pourvu d'un réservoir d'eau sous pression permettant d'effectuer cette opération après chaque pompage. Immédiatement après la canne est remise dans son fourreau protecteur.

Figure 67
- Aspiration du lait
(Cliché GUERIN)
Les tuyauteries flexibles doivent être de très bonne qualité, lisses intérieurement et résistantes aux produits de nettoyage. La présence de craquelures ou fissures se transforme rapidement en foyer d'infection, aussi est-il nécessaire de les vérifier et de les changer régulièrement.
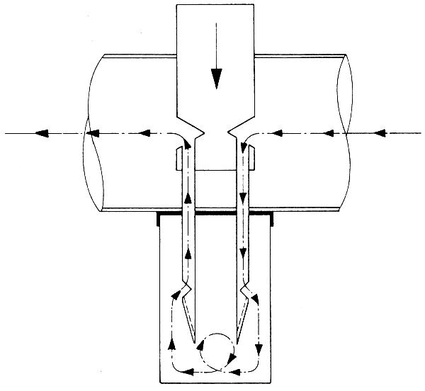
Le temps de pompage doit être court. Pour une même tournée, il varie avec le système de pompage utilisé mais aussi, pour un même système, avec différents facteurs :
En outre, la différence de niveau entre le tank et la citerne les modifie. La figure 67 montre l'influence de la longueur et du diamètre de la tuyauterie sur le débit de lait. La tuyauterie doit être la plus courte possible, les plus longues ne dépassant pas 16 mètres. Lors de l'achat d'une citerne il ne suffit pas de connaître le débit théorique de pompage mais de bien déterminer avec le fournisseur les débits pratiques à obtenir en fonction des conditions d'utilisation. Ainsi, avec une tuyauterie de 36/38 on ne peut guère espérer pomper plus de 10 à 12 m3/heure ; avec une tuyauterie de 48/50 on peut atteindre ou même dépasser 20 m3/h.

Détail d'une canne suceuse. On aperçoit les perforations et le ressort qui permettent l'aspiration du lait sans rupture du vide
Figure 68 - Canne suceuse. Les perforation et le ressort permettent l'aspiration du lait sans rupture de vide
(Cliché F.N.P.L.)

Figure 69 - Courbe de débit de pompage en fonction du diamètre et de la longueur de la tuyauterie reliant la citerne au tank
(D'après MOREL, 1967)
La tuyauterie doit être facile à atteindre, à déployer et à replacer sur le véhicule. A côté de dispositifs plus ou moins rudimentaires et satisfaisants, prenant du temps, il existe des dévidoirs automatiques entraînés par un petit moteur électrique et pouvant être télécommandés.
Différents équipements optionnels peuvent compléter le véhicule. Ils sont souvent destinés à simplifier et à perfectionner des opérations connexes au ramassage et dans certains cas sont parfaitement justifiés. Il s'agit généralement de matériels complexes et coûteux, dont l'acquisition doit être faite à bon escient, compte tenu des nécessités locales.
Bac de dépotage (figure 70). Bien souvent, lorsque l'on équipe une zone en tanks réfrigérants, il existe des petits producteurs dont le lait continue à être fourni en bidons. Ce lait est versé dans une petite cuve fixée au véhicule et transféré dans la citerne par la canne suceuse ou autre dispositif d'aspiration. Ce système présente le gros inconvénient de mélanger au lait réfrigéré des laits souvent fortement contaminés. Dans ce cas, il est préférable de rassembler ceux-ci dans un compartiment spécial de la citerne. Ce bac de dépotage doit être placé suffisamment bas pour recevoir facilement le lait et doit aussi être efficacement protégé de la boue et de la poussière.
Une autre solution, souvent meilleure du point de vue hygiénique, mais nécessitant davantage de manipulations, consiste à aménager près de la citerne une galerie permettant de recevoir les bidons.
Armoire de rétrocession. Certaines entreprises revendent des produits laitiers à leurs producteurs. Afin d'éviter un circuit particulier de distribution de ces produits, c'est souvent le ramasseur qui est chargé de celle-ci. Dans ce cas, on aménage sur le camion un compartiment facilement accessible où sont stockés ces produits. Ce compartiment doit être isotherme ou pourvu d'un dispositif de réfrigération.

Figure 70 - Bac de dépotage sur camion
(Cliché ETA)

Figure 70a - Compteur à lait (Cliché ETA)
• Compteurs à lait (figures 70a, 71). La jauge du tank peut être imprécise, mal placée ou mal lue et risque parfois d'entraîner des contestations ou de faciliter les fraudes sur les quantités. De plus, sa lecture et la transcription des valeurs relevées nécessite du temps. Pour ces raisons, on peut équiper les véhicules d'un système de mesure en volume du lait qui varie selon le dispositif de transfert du lait. Dans tous les cas, il faut pour obtenir des résultats corrects que le compteur soit en charge et le lait exempt de bulles d'air. Lorsque le transfert du lait se fait à l'aide d'une pompe volumétrique, l'appareil de mesure est habituellement composé d'un dégazeur, avec ou sans prise de vide, d'un filtre, puis du compteur. On place après le compteur un clapet qui assure une contrepression pendant le pompage du lait et évite le retour de celui-ci pendant les périodes d'arrêt. On utilise soit des compteurs à piston rotatif souvent désignés sous les termes de volucompteurs, soit des compteurs à turbine.
La précision de ces compteurs est variable avec leur qualité, leur montage et leurs conditions d'utilisation. Dans les meilleurs cas, le premier donne une précision de l'ordre de 2‰ et le second 4‰
Dans le cas où le transfert du lait se fait au moyen du vide, la canalisation d'aspiration comporte, comme la précédente, un dégazeur relié à la citerne sous vide puis le compteur et une vanne de régulation de débit.
Pour réaliser la mise en charge du compteur tout en assurant le transport du lait du tank à la citerne, un ingénieux système utilise à la fois le pompage et l'aspiration sous vide. Il est représenté à la figure 72. Il est constitué de deux réservoirs. La vidange de l'un, sous l'action de la pompe à lait, assure le vide dans l'autre, permettant ainsi l'aspiration du lait dans le tank. L'alternance des circuits est assurée par deux électrovannes. Par ce procédé, le transfers du lait est assez lent et s'applique surtout au pompage de faibles quantités de lait en bidons ou en petits tanks.

Figure 71 - Compteur à lait à niveau constant (Cliché MAGYAR)

Figure 72 - Pompage par le vide avec utilisation d'un compteur (Système JANSKY) (D'après MARION et MOREL, 1964)
Un autre procédé représenté à la figure 73 comprend un réservoir intermédiaire maintenu en permanence sous vide. Il permet l'aspiration du lait du tank jusqu'à un niveau constant au-delà duquel, sous l'action d'une pompe, il est envoyé dans la citerne après être passé par le compteur. Ce dispositif permet la mise en charge permanente du compteur et évite la présence des bulles d'air faussant la mesure.
Les installations de comptage sont logées dans un coffre spécial. Le compteur peut être pourvu d'un dispositif d'enregistrement des quantités et/ou d'impression de tickets pouvant être remis immédiatement aux producteurs. Dans divers pays les compteurs sont soumis à agréement des Pouvoirs Publics et régulièrement contrôlés.
• Prises déchantillons. Dans diverses régions, le lait est payé en fonction de sa teneur en certains constituants (matière grasse, protéines, matière sèche) et de sa qualité bactériologique (test de réduction, numération des germes). Souvent les prélèvements sont effectués manuellement par un agent qui acompagne le ramasseur. Devant le développement de ce mode de paiement et afin de gagner du temps et d'éviter la présence de cet agent qui constitue une charge supplémentaire, on a mis au point des systèmes de prélèvements automatiques ou semiautomatiques combinés avec la réception du lait dans la citerne. Dans le système semi-automatique, le ramasseur place chaque flacon de prélèvement dans le dispositif de récolte de l'échantillon alors que dans le système automatique, cette opération est mécanisée. Les échantillons doivent être représentatifs du volume et de la qualité du lait collecté chez chaque producteur. Ceci implique un très bon mélange du lait dans le tank avant prélèvement. D'autre part, dans le cas des prélèvements destinés à l'examen bactériologique, il faut absolument éviter que des restes de lait puissent s'introduire dans l'échantillon suivant.
• Prise d'échantillons destinés aux examens chimiques. Dans le cas du matériel semi-automatique, l'équipement d'échantillonnage est généralement constitué d'une capacité ou réservoir primaire, en matière transparente ou non, qui communique avec la tuyauterie de remplissage de la citerne au moyen d'une canalisation de petit diamètre.

Figure 73 - Comptage du lait avec dispositif de prélèvement (Système AHRENS-BODE) (D'après MARION et MOREL, 1964)

Figure 74 - Dispositif de prise d'échantillon semi-automatique pour matières grasses
(Cliché MAGYAR)

Figure 75 - Dispositif automatique de prise d'échantillon (Cliché MAGYAR)

Figure 76 - Système semi-automatique de prise d'échantillon bactériologique (Cliché MAGYAR)
Pendant le transfert du lait dans la citerne, une partie de celui-ci est envoyée par cette petite canalisation dans le réservoir primaire. Un robinet permet de régler le débit de prélèvement en fonction du volume de lait du tank. Au cours du prélèvement un dispositif assure l'agitation constante du lait dans le réservior. Pour celà, par exemple, le remplissage du réservoir primaire se fait au moyen d'un tube plongeur qui crée dans celui-ci une turbulence permanente. Lorsque l'aspiration dulait du tank est terminée, on a dans le réservoir un échantillon dit primaire, homogène, dont une partie est soutirée dans le flacon de prélèvement alors que le reste du lait est renvoyé dans la citerne. Le soutirage de l'échantillon final ou secondaire peut être réalisé manuellement, par exemple en exerçant une poussée du flacon sur un clapet ou automatiquement.
Il existe différents dispositifs de prise d'échantillons. Un exemple est donné en figure 74. La figure 73 (Ahrens-Bade) montre un système combiné de mesure et de prélèvement. L'aspiration de l'échantillon se fait au moyen du vide. Une vis sans fin décale le robinet d'écoulement du lait d'un flacon à l'autre à chaque mise en route de pompage du lait du tank, c'est-à-dire à chaque producteur.
Dans le cas du matériel automatique, du type représenté à la figure 75, le système de prélèvement précédemment décrit est complété par un dispositif assurant l'avancement, sous intervention humaine, des flacons sous la pipette de remplissage par laquelle l'échantillon secondaire est soutiré.
En général ces appareils permettent de faire un prélèvement sur des volumes de lait compris entre 50 et 4.000 litres de lait. Il est indispensable d'assurer leur parfait nettoyage qui est habituellement réalisé en circuit fermé.
• Prise d'échantillons destinés aux examens bactériologiques. Un exemple de matériel semi-automatique est donné aux figures 76, 77, 78. Le dispositif de prélèvement est constitué d'un porte-aiguilles muni de deux aiguilles type hypodermique, actionné par un vérin. Au début du pompage du lait contenu dans le tank, les aiguilles sont complétement noyées dans la canalisation, de façon à les rincer en même temps que le circuit. L'immersion est assurée pendant quelques secondes grâce à un système de temporisation. Aussitôt après rinçage, le vérin dégage le porte-aiguilles et celles-ci viennent traverser le bouchon étanche (matière plastique, caoutchouc), obturant le flacon qui l'un et l'autre ont été préalablement assemblés et stérilisés. Le lait est amené dans le flacon par une aiguille alors que l'autre assure l'évacuation de l'excédent. Lorsque le pompage du lait est terminé, le porte aiguille se remet en position initiale.

Figure 77 - Dispositif de prélèvement d'échantillon pour examens bactériologiques et chimiques
(Cliché MAISONNEUVE)
Les échantillons ainsi prélevés de façon semi-automatique ou automatique, servent à l'analyse chimique et à l'examen bactériologique (figure 77). Les échantillons prélevés de façon semi-automatique ou automatique aux fins d'examen bactériologi que peuvent également être utilisés pour les analyses chimiques. Il est nécessaire de ne retenir que des appareils soigneusement mis au point et ayant fait l'objet d'un agréément ayant un caractère officiel, notamment quand il s'agit de faire des prélèvements destinés à l'examen bactériologique. Il faut aussi s'assurer de la possibilité d'un approvisionnement facile en flacons du type standard nécessité par l'appareil. Comme déja dit, l'échantillon doit être réalisé sur du lait ayant fait l'objet d'un excellent brassage en tank. Pour assurer leur bonne conservation, les échantillons doivent être placés dans un coffre maintenu à basse température.
•Contrôle de la température et de l'acidité. On peut installer sur la canalisation d'aspiration du lait un dispositif électronique de prise de température. Il est ainsi possible de contrôler le fonctionnement des tanks. Ce dispositif peut donner soit la simple indication de la température et éventuellement mémoriser la température maximale du lait collecté, soit un avertissement (sonnerie, voyant lumineux) de dépassement d'une température de consigne. Dans les mêmes conditions on peut installer un pH-mètre qui permet de contrôler l'acidité du lait. Ces différents dispositifs peuvent éventuellement être reliés à un système de tri du lait qui dirige celui-ci, selon ses caractéristiques, vers l'un des compartiments de la citerne. Dans tous les cas, les mesures doivent être effectuées sur un lait homogène, c'est-à dire ayant été suffisamment brassé dans le tank immédiatement avant sa mise en vidange.
• Unités de saisie des données. Elle permet de recueillir diverses informations nécessaires à la gestion comptable et technique de l'entreprise : date, référence de la tournée, durée du ramassage, identification du ramasseur et des producteurs, quantités de lait livré par chacun d'eux, lait total collecté, température, acidité… Ces données sont mises en mémoire dans un bloc amovible étanche placé dans un coffre du camion-citerne.

Figure 78 - Schéma d'un dispositif de prise d'échantillon
(Cliché MAISONNEUVE)
La laiterie se trouve confrontée devant un choix souvent difficile. Le porteur doit être très robuste, maniable, adapté aux conditions du terrain. Les petites véhicules à chassis courts ont l'avantage de manoeuvrer plus facilement sur les voies étroites, accidentées et dans les accès de fermes souvent malaisés. Les gros véhicules ont par contre l'avantage de permettre de longues tournées collectant une grosse quantité de lait, ce qui permet de réaliser de grosses économies de personnel. Mais ils sont beaucoup plus difficiles à manoeuvrer, leur encombrement est ìmportant et pour ces raisons peuvent être inutilisables sur certaines chemins. Ces conditions limitent déjà le choix de la citerne. Celle-ci peut être très simple ou au contraire pourvu d'équipements complexes, variés, délicats, qui outre le supplément souvent très important d'investissements qu'ils nécessitent exigent un personnel très qualifié tant pour les utiliser que pour les entretenir. Il existe de nombreuses variantes d'équipements ; quelques exemples sont donnés à la figure 79. En outre, s'ils ne sont pas minutieusement nettoyés après chaque ramassage, ils deviennent rapidement un foyer de contamination.
Lorsqu'on a la possibilité de choisir entre différentes capacités, il faut savoir que généralement les prix ne sont pas proportionnels aux volumes ainsi que le montre le tableau 11.
| Capacités des citernes | Coefficient d'augmentation du coût | |
|---|---|---|
| Litres | Coefficient d'augmentation | |
| 2.500 | 1 | 1 |
| 5.000 | 2 | 1,1 |
| 7.500 | 3 | 1,2 |
| 10.000 | 4 | 1,3 |
| 12.500 | 5 | 1,4 |
| AVEC TUYAU SOUPLE SANS BAC DEPOTAGE | AVEC BAC DEPOTAGE SANS TUYAU SOUPLE | AVEC TUYAU SOUPLE AVEC BAC DEPOTAGE | |
|---|---|---|---|
| SANS COMPTAGE | A | B | C |
| AVEC COMPTAGE | D | E | F |

Figure 79 - Variantes d'équipement d'un camion-citerne
(Cliché GUERIN)
Il apparaît ainsi que l'on a intérêt à acheter les citernes de la plus grande contenance possible. En pratique, le choix est fait pour économie d'investissement mais en raison des diverses contraintes techniques du ramassage (état des routes, accès aux fermes…).
Le nettoyage des camions citernes est, comme pour les tanks, soit manuel, soit automatique et relève des mêmes principes. Il est plus difficile en raison de circuits beaucoup plus compliqués, souvent peu visibles et de la plus grande dimension des surfaces en contact avec le lait. Il arrive que malgré les efforts entrepris au niveau de la production, le lait arrive à l'usine fortement contaminé par suite d'un mauvais nettoyage de la citerne. Une propreté bactériologique ne peut être obtenue que par un personnel compétent, consciencieux, disposant du temps nécessaire ainsi que de moyens adaptés.
Le nettoyage des surfaces en contact avec le lait doit toujours être précédé d'un lavage extérieur du camion-citerne à la brosse ou/et au jet sous pression ou par passage du véhicule sous une rampe d'expression.
Nettoyage manuel
Il comprend les opérations suivantes :
Toutes précautions doivent être prises pour éviter que les interventions répétées du personnel altèrent la surface intérieure de la citerne. Les semelles et les outils risquent de provoquer des rayures qui rendent difficile ou impossible l'obtention d'une propreté bactériologique satisfaisante.
• Nettoyage automatique (figure 79a)
Il met en oeuvre des moyens mécaniques groupés dans un endroit de l'usine réservé à cet usage. Il comprend à peu près les mêmes opérations que pour le nettoyage manuel mais les brossages et les rinçages sont rimplacés par des circulations continues et sous pression de l'eau et des solutions détergentes. Le passage d'un liquide à un autre se fait simplement par action sur une vanne.
Dans les installations perfectionnées, couramment utilisées dans les laiteries, possèdant plusieurs citernes, les opérations sont programmées.
Il est maintenant bien admis qu'un nettoyage et une désinfection correcte des citernes exigent l'utilisation d'une station de nettoyage mettant en oeuvre le système C.I.P. Celle-ci doit assurer :
Il est nécessaire d'alterner régulièrement les nettoyages alcalins et les nettoyages acides. Ces derniers peuvent être pratiqués à la cadence d'environ de deux fois par semaine.

Figure 7 a - Dispositif de nettoyage automatique de citernes (Cliché MAGYAR)
Il est indispensable de respecter un temps suffisant de circulation des solutions. Celui-ci varie avec la nature du détergent, la concentration, la température et la pression des solutions. On peut estimer que ce temps doit être généralement voisin de sept minutes. Une fois par mois, il est souhaitable de faire un nettoyage dont la durée est approximativement doublée.
Une attention particulière doit être apportée au nettoyage de la canne suceuse et de son fourreau ainsi qu'à tous les accessoires en contact avec le lait. Lorsque certains accessoires ou certaines parties des équipements ne peuvent être mis dans le circuit automatique, il convient chaque jour d'en assurer le démontage et d'effectuer un nettoyage minutieux. Les canalisations de vide doivent, elles aussi, faire l'objet d'un excel lent nettoyage.
La citerne, les vannes et les différents circuits doivent faire l'objet d'un contrôle visuel, en principe une fois par mois. Il est recommandé d'utiliser une liste des contrôles afin de procéder systématiquement aux vérifications nécessaires.
Dans les entreprises importantes, le nettoyage des citernes est confié à un personnel spécialisé généralement plus apte que les ramasseurs à effectuer ce travail toujours délicat et d'une grande importance.