Page précédente Table des matières


APPENDICE III - AVANT-PROJET DE CODE D’USAGES REVISE POUR LE TRAITEMENT ET LA MANUTENTION DES DENREES SURGELEES


INTRODUCTION
Section 1: Objectif
Section 2: Champ d’application et définitions
Section 3: Programme de conditions préalables
Section 4: Contrôle de la chaîne du froid: Aspects de sécurité
Section 5: Contrôle de la chaîne du froid: Aspects de qualité
Section 6: Chaîne du froid: Gestion de la température
ANNEXE 1: EXEMPLE ILLUSTRANT L’APPLICATION DES CCP DANS UNE INDUSTRIE DE SURGELATION
ANNEXE 2: EXEMPLE ILLUSTRANT L’APPLICATION DES DAP DANS UNE INDUSTRIE DE SURGELATION
ANNEXE 3. SUIVI DE LA TEMPERATURE ET CONTROLE DE LA CHAINE DU FROID

INTRODUCTION

Ce Code d’usages pour le traitement et la manutention des denrées surgelées est une version révisée du Code d’usages international recommandé pour le traitement et la manutention des denrées surgelées (CAC/RCP 8-1976) y compris son Annexe I-1978: Méthode de contrôle de la température du produit et l’Annexe II-1983: Code d’usages international recommandé pour la manutention des denrées surgelées en cours de transport.

Ce code a été modifié afin d’inclure l’approche selon l’Analyse des risques - points critiques pour leur maîtrise (HACCP) décrite dans le Code d’usages international recommandé - Principes généraux d’hygiène alimentaire (CAC/RCP 1-1969, Rév. 3 [1997]) et son Annexe: Système HACCP et Directives pour son application, nommé ci-après PGHA. Un programme de conditions préalables est décrit dans le Code; il couvre les directives techniques et les exigences essentielles, en termes d’hygiène, dans la production des denrées surgelées qui sont sûres pour la consommation humaine et qui répondent aux normes appropriées du Codex concernant ces produits. En outre, le Code contient des conseils sur l’utilisation du système HACCP permettant la production hygiénique des denrées surgelées conformes aux exigences de santé et de sécurité.

Dans ce Code, on a appliqué une approche systématique similaire à celle du système HACCP afin d’assurer le respect des exigences essentielles de qualité, composition et étiquetage requises par les normes du Codex concernant les produits. On appelle ce processus DAP (points de contrôle des défauts) dans ce Code.

Ce Code sera utile pour tous ceux qui sont concernés par le traitement et la manutention, l’entreposage, la distribution, l’exportation, l’importation et la vente au détail des denrées surgelées, de façon à s’assurer que les produits vendus sur les marchés nationaux et internationaux sont sûrs et sains et répondent aux normes du Codex. Lorsqu’il n’existe pas de norme du Codex, on doit se référer à la réglementation nationale et/ou aux spécifications commerciales.

Ce Code concerne uniquement les denrées surgelées. Les denrées sont dites surgelées lorsqu’elles ont subi un procédé de surgélation rapide approprié, et sont maintenues à une température égale ou inférieure à -18°C, ceci s’appliquant à tous les maillons de la chaîne du froid. On peut appliquer des tolérances en ce qui concerne cette température, selon la législation nationale.

Section 1: Objectif

L’objectif de ce Code est de fournir des informations de base et des recommandations permettant l’élaboration de systèmes de production des denrées surgelées et de gestion de la chaîne du froid incorporant des Bonnes Pratiques de Fabrication (BPF) et l’application des méthodes HACCP. En outre, ce Code pourra s’avérer utile dans la formation des personnels de l’industrie des denrées surgelées. L’application de ce Code au niveau national appelle des modifications et des amendements qui reflètent les conditions locales et les besoins spécifiques des consommateurs.

Section 2: Champ d’application et définitions


2.1 Champ d’application
2.2 Définitions

2.1 Champ d’application

Ce Code d’usages s’applique au traitement, à la manutention, à l’entreposage, au transport et à la vente au détail des denrées surgelées.

2.2 Définitions

Les définitions données ci-après sont destinées à être utilisées uniquement dans le cadre de ce Code.

ATP

«Accord relatif aux transports internationaux de denrées périssables et aux engins spéciaux à utiliser pour ces transports» signé en 1970, mis à jour en 2000 à Genève, Suisse, et publié par le Comité des Transports Intérieurs de la Commission Economique pour l’Europe des Nations Unies.

Blanchiment

Traitement par la chaleur suffisant pour inactiver certaines enzymes.

Réfrigération

Procédé utilisé afin d’abaisser la température des produits alimentaires à une température appropriée (souvent égale ou inférieure à 5°C) en évitant la formation de cristaux de glace.

Chaîne du froid

Ce terme recouvre la continuité des moyens successifs employés afin de maintenir la température des denrées surgelées à une température appropriée de la production au consommateur final.

Entrepôt frigorifique

Bâtiment utilisé pour la conservation des denrées surgelées sous des conditions frigorifiques.

Défaut

Etat d’un produit qui ne répond pas aux dispositions relatives aux facteurs essentiels de qualité et de composition et/ou à l’étiquetage, contenues dans les normes Codex concernant des produits déterminés.

Points de contrôle des défauts (DAP)

Etape à laquelle le contrôle peut être appliqué et où un défaut peut être prévenu, éliminé ou réduit à un niveau acceptable, ou un risque d’étiquetage erroné éliminé.

Cycle de dégivrage

Opération destinée à éliminer le dépôt de givre sur la surface des serpentins refroidisseurs.

Déshydratation

Perte d’humidité des denrées surgelées via la sublimation.

FIFO - Premier entré, premier sorti

Le premier produit entré est le premier sorti

Congélateur

Equipement conçu pour congeler les produits alimentaires par abaissement rapide de la température.

Glazurage

Application d’une couche protectrice de glace à la surface d’un produit congelé grâce à l’aspersion ou au trempage avec de l’eau potable ou de l’eau potable contenant des additifs, selon le cas.

IIF/IIR

Institut International du Froid/International Institute of Refrigeration.

ISO

Organisation internationale de normalisation/International Organization for Standardization.

Coefficient K

Coefficient global de transfert de chaleur correspondant au pouvoir isolant des équipements.

Eau potable

Eau pour la consommation humaine. Les normes de potabilité ne doivent pas être moins exigeantes que celles précisées dans la dernière édition des Directives OMS pour la qualité de l’eau de boisson.

Programme de conditions préalables

Programme à mettre en œuvre avant d’appliquer le système HACCP de manière à assurer que tout maillon de la chaîne du froid fonctionne selon les principes du Code d’usages international recommandé - Principes généraux d’hygiène alimentaire, du Code d’usages approprié ainsi que de la législation sur la sécurité alimentaire en vigueur.

Installation de traitement

Locaux utilisés pour préparer, traiter, surgeler, emballer et entreposer des denrées surgelées.

Procédé de surgélation

Procédé effectué de telle manière que la zone de température de cristallisation maximale est franchie [le plus] rapidement [possible]. On ne doit pas considérer le procédé de surgélation comme étant terminé tant qu’une température égale ou inférieure à -18°C n’a pas été atteinte au centre thermique du produit après stabilisation thermique.

Denrée surgelée

Produit alimentaire ayant été soumis à un procédé de surgélation avant d’être maintenu à une température égale ou inférieure à -18°C tout au long de la chaîne du froid (avec des tolérances permises de variations de température) et étiqueté comme tel.

Matière première

Aliment frais ou transformé qui peut être utilisé dans la fabrication des denrées surgelées destinées à la consommation humaine.

Système frigorifique

Equipement produisant du froid qui peut être utilisé afin d’abaisser la température des produits alimentaires ou de les maintenir à l’état congelé.

Air repris

L’air revenant au refroidisseur.

Non respect des températures

Hausse de la température d’une denrée surgelée en dehors de la tolérance [nationale] admise [qui peut éventuellement affecter la qualité ou la sécurité du produit alimentaire].

Suivi de la température

Le fait d’effectuer une séquence d’observations ou de mesures planifiées de la température des systèmes frigorifiques et/ou des denrées surgelées.

Indicateur de température (TI)

Appareil qui, lorsqu’il est activé, utilise une réaction physique ou physico-chimique afin de produire un changement observable et irréversible une fois qu’un seuil de température prédéterminé a été atteint.

Centre thermique

Point qui à l’intérieur d’une masse alimentaire, est à la température la plus élevée à la fin du procédé de surgélation.

Indicateur temps-température (TTI)

Dispositif indiquant l’histoire temps-température à partir de son activation initiale.

[Tolérances]

[Brèves fluctuations de la température du produit dans la chaîne du froid à l’intérieur des limites requises par la législation nationale et qui n’affectent pas la sécurité].

[Traçabilité]

[Un système qui permet de récupérer des informations sur l’histoire et sur l’origine d’un produit en tout point de la chaîne du froid].

Point de transfert

Point au niveau duquel un produit est transféré entre deux enceintes froides, alors que sa température est maintenue au niveau réglementaire.

Section 3: Programme de conditions préalables


3.1 Emplacement
3.2 Conception et construction des installations
3.3 Installations
3.4 Hygiène corporelle et santé
3.5 Formation
3.6 Procédures de rappel des produits et [traçabilite]

Avant d’appliquer le système HACCP à un maillon de la chaîne du froid des denrées surgelées, le maillon en question devrait être intégré dans un programme fondé sur les bonnes pratiques d’hygiène (et les bonnes pratiques de fabrication) ou selon les exigences des autorités compétentes. Les programmes de conditions préalables devraient être spécifiques pour une installation donnée, et devraient être suivis et évalués afin de s’assurer de leur efficacité.

On devrait se référer à d’autres Codes d’usages[a/] pour de plus amples informations permettant la conception de programmes des conditions préalables pour une installation de traitement de produits alimentaires.

On devrait noter que certaines questions traitées, ci-après, sont destinées à maintenir la qualité plutôt que la sécurité alimentaire et ne sont pas toujours essentielles dans le cadre d’un programme de conditions préalables utilisé dans un système HACCP de sécurité alimentaire.

Outre les PGHA, les aspects spécifiques suivants s’appliquent:

3.1 Emplacement

Pour les denrées surgelées qui contiennent des matières premières [périssables], les locaux utilisés pour leur traitement devraient être situés de telle sorte à ce qu’ils permettent de minimiser les altérations de qualité subies avant le procédé de surgélation.

3.2 Conception et construction des installations


3.2.1 Conception des installations de traitement
3.2.2 Conception des entrepôts frigorifiques
3.2.3 Conception et fabrication des équipements

3.2.1 Conception des installations de traitement

Les installations de traitement devraient être conçues pour permettre un traitement, une surgélation et un entreposage rapides des produits alimentaires. Elles devraient permettre une circulation de flux de produits permettant de minimiser les délais dans les opérations de traitement qui pourraient diminuer la qualité des denrées. Bon nombre de matières premières sont hautement périssables et nécessitent une manutention soigneuse afin de maintenir leur qualité jusqu’au démarrage du procédé de surgélation.

3.2.2 Conception des entrepôts frigorifiques

Des recommandations sur la conception optimale des entrepôts frigorifiques sont données dans le Guide de l’entreposage frigorifique de l’IIF (3ème édition, 1993). Il est nécessaire que les parois, planchers, plafonds et portes des entrepôts frigorifiques soient correctement isolés afin de limiter la consommation d’énergie et d’aider à maintenir la température des produits alimentaires. Il est important de s’assurer que la conception des entrepôts frigorifiques permet:

3.2.3 Conception et fabrication des équipements

Les équipements devraient être conçus et construits pour minimiser les altérations physiques que pourraient subir les matières premières et les produits alimentaires, par exemple, en s’assurant que les équipements ne comportent pas d’angles ou de parties protubérantes pointues. Les congélateurs devraient être conçus et construits pour qu’en fonctionnement normal ils répondent aux exigences concernant les procédés de surgélation.

3.3 Installations


3.3.1 Services
3.3.2 Programmes de nettoyage
3.3.3 Système de contrôle des ravageurs

En plus des recommandations des PGHA, on doit appliquer les recommandations suivantes:

3.3.1 Services

3.3.1.1 Electricité
Il est nécessaire que les locaux de production soient pourvus d’un plan de secours permettant de maintenir la température des denrées surgelées, en cas de coupure de courant

L’alimentation en électricité devrait être telle que les variations de la tension électrique susceptibles d’endommager les équipements frigorifiques ne se produisent pas.

3.3.2 Programmes de nettoyage

Les recommandations des sections concernées des PGHA s’appliquent.

3.3.3 Système de contrôle des ravageurs

Les recommandations des sections concernées des PGHA s’appliquent.

3.4 Hygiène corporelle et santé

Les recommandations des sections concernées des PGHA s’appliquent.

3.5 Formation

La formation dans le domaine de l’hygiène alimentaire est vitale, et le personnel devrait être sensibilisé sur l’importance du contrôle des températures et du maintien de la qualité.

3.6 Procédures de rappel des produits et [traçabilite]


3.6.1 Procédures de rappel des produits
3.6.2 [Traçabilité]

3.6.1 Procédures de rappel des produits

On se doit de mettre en place des procédures efficaces et documentées afin de rappeler rapidement tout lot de denrées surgelées placées sur le marché.

Les recommandations des sections concernées des PGHA s’appliquent.

3.6.2 [Traçabilité]

La traçabilité est essentielle pour obtenir une procédure de rappel efficace et constitue un élément indispensable d’un programme de conditions préalables car aucun procédé n’est infaillible.

Le système de traçabilité devrait:

- permettre le retrait des produits qui pourraient constituer des risques pour la santé des consommateurs, à l’aide de procédures de rappel adaptées;

- faciliter l’identification de l’historique production/fabrication d’un produit afin d’identifier la source du problème et d’appliquer des mesures correctives.]

Section 4: Contrôle de la chaîne du froid: Aspects de sécurité


4.1 Matière premières
4.2 Traitement avant surgélation
4.3 Procèdes de surgélation

Dans la mesure du possible, chaque opération de la chaîne du froid devrait faire l’objet de son propre plan HACCP. Ce plan devrait être développé en tenant compte des recommandations de l’Annexe aux PGHA.

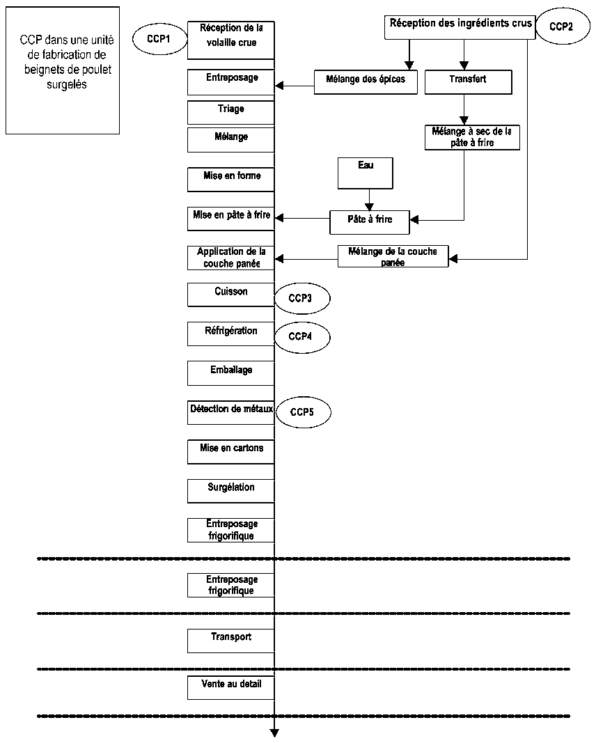
L’Annexe I contient un exemple de l’utilisation des CCP dans la production et la distribution d’une denrée surgelée: les beignets de poulet surgelés.

4.1 Matière premières

On ne doit pas considérer que la surgélation constitue un traitement qui élimine les micro-organismes présents dans les denrées alimentaires. La surgélation peut, néanmoins, induire une destruction de certains micro-organismes et inhiber la croissance d’autres organismes.

Il est nécessaire que les matières premières utilisées soient saines et sûres; les critères d’inspection et microbiologiques sont, par conséquent, souvent considérés comme des CCP. Pour les produits très périssables, comme par exemple ceux cités en Annexe I, le contrôle de température à la réception peut constituer un CCP.

Les recommandations des sections concernées des PGHA s’appliquent.

4.2 Traitement avant surgélation

Les matières premières peuvent être traitées de diverses façons avant leur surgélation, par exemple par nettoyage, triage, découpage, mise en tranches, conditionnement, maturation, mise en filets, et chauffage. On peut considérer que ces procédés sont des CCP selon les conditions utilisées, particulièrement en fonction du temps passé par le produit dans la zone de température critique (10 à 60°C).

Si l’entreposage des denrées alimentaires (matières premières ou produits intermédiaires) est nécessaire avant des traitements ultérieurs, les conditions d’entreposage, surtout de température, devraient convenir au produit alimentaire concerné.

Il est nécessaire que le traitement par la chaleur de bon nombre de produits alimentaires précuits, par exemple des plats prêts à l’emploi, soit suffisant pour inactiver les micro-organismes pathogènes susceptibles d’être présents. Pour de tels produits alimentaires, le traitement associant temps et température et le refroidissement ultérieur peuvent être considérés comme étant des CCP (voir Annexe I).

Si on utilise des matières premières surgelées nécessitant une décongélation lors du traitement, la méthode de décongélation devrait être clairement définie et les paramètres temps-température de décongélation devraient être contrôlés avec soin. En particulier, le choix de la méthode de décongélation devrait tenir compte de l’épaisseur et de l’uniformité de la forme des produits. Le choix du couple temps/température de décongélation et des limites critiques de la température du produit alimentaire devrait permettre de contrôler la croissance des micro-organismes. Les paramètres temps et température de décongélation peuvent être des CCP.

4.3 Procèdes de surgélation

Lorsque des lots importants sont surgelés, ou lorsque le produit alimentaire est d’une taille importante (par exemple une dinde entière) il faut créer des espaces ou des canaux permettant la circulation d’air entre les produits alimentaires ou les cartons. Si on omet de créer de tels canaux, la masse même des produits peut empêcher les parties internes du lot d’être réfrigérées ou surgelées rapidement, malgré l’utilisation d’air pulsé à grande vitesse et de basses températures d’air. Le centre thermique du produit doit être refroidi le plus rapidement possible afin d’empêcher la croissance des micro-organismes pathogènes ou la production de toxines microbiennes. Le temps de congélation peut être un CCP.

Section 5: Contrôle de la chaîne du froid: Aspects de qualité


5.1 Matières premières
5.2 Traitement avant surgélation
5.3 Procédés de surgélation
5.4 Emballage et étiquetage
5.5 Entreposage frigorifique
5.6 Transport et distribution
5.7 Vente au détail
5.8 Interfaces

L’objectif de ce Code est de traiter non seulement les aspects de sécurité des denrées surgelées mais également d’autres aspects de la production, y compris la qualité du produit qui est essentielle, la composition et les exigences en termes d’étiquetage telles que décrites par les normes de la Commission du Codex Alimentarius. Le Code comporte donc des points de contrôle des défauts (DAP). Les paramètres de qualité sont pris en compte aux différentes étapes en appliquant une approche systématique.

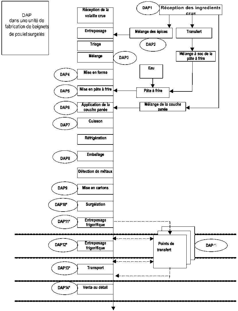
L’Annexe 2 contient un exemple de l’utilisation des DAP dans la production et la distribution d’une denrée surgelée: les beignets de poulet surgelés. L’approche permettant l’analyse DAP est facultative; on peut envisager l’utilisation d’autres techniques qui permettent d’atteindre le même objectif.

5.1 Matières premières


5.1.1 Aspects microbiologiques
5.1.2 Autres aspects qualitatifs des matières premières

La surgélation ne peut pas améliorer la qualité des produits alimentaires: il faut donc utiliser des matières premières saines et sûres, et d’une fraîcheur et d’une maturité optimales. Les produits à surgeler devraient être sélectionnés selon leur aptitude à la surgélation.

On devrait minimiser d’éventuelles altérations chimiques et biochimiques en appliquant un contrôle de température approprié.

Si on utilise des matières premières surgelées nécessitant une décongélation lors du traitement, la méthode de décongélation devrait être clairement définie et les paramètres temps-température devraient être contrôlés avec soin. En particulier, le choix de la méthode de décongélation devrait tenir compte de l’épaisseur et de l’uniformité de la forme des produits. Les paramètres temps et température de décongélation peuvent être des DAP.

5.1.1 Aspects microbiologiques

On doit veiller à ce que le nombre initial de micro-organismes présents dans les produits alimentaires avant surgélation soit réduit au minimum. Ceci favorise une durée d’entreposage optimale en réduisant les problèmes tels qu’une saveur ou une odeur désagréable ou des altérations de couleur pendant l’entreposage frigorifique.

La surgélation peut induire une destruction de certains micro-organismes et inhiber la croissance d’autres micro-organismes. On ne doit pas en déduire que la surgélation constitue un traitement qui élimine les micro-organismes dans les produits alimentaires.

5.1.2 Autres aspects qualitatifs des matières premières

5.1.2.1 Contamination
Les fabricants de denrées surgelées devraient, dans toute la mesure du possible, mettre en place des mesures visant le contrôle des contaminants, des engrais, des médicaments à usage vétérinaire, des résidus de pesticides, des contaminants industriels, etc. dans les matières premières et ceci selon les recommandations des sections concernées des PGHA qui s’appliquent.

Les fabricants de produits alimentaires devraient travailler en collaboration avec les fournisseurs de matières premières afin de réduire au minimum de telles contaminations grâce au développement de programmes de contrôle documentés.

5.1.2.2 Autres mesures de qualité
Afin de minimiser leur détérioration, les matières premières devraient être refroidies et entreposées sous des conditions adaptées (par exemple à l’aide d’un pré-refroidissement) ou transportées puis surgelées le plus rapidement possible.

Des procédures de contrôle devraient être mises en place, afin d’assurer la qualité des matières premières.

Les fournisseurs devraient également mettre en place des procédures de triage et de séparation des produits alimentaires et des ingrédients alimentaires qui sont, manifestement, d’une qualité insuffisante pour des traitements ultérieurs.

5.2 Traitement avant surgélation

Les matières premières peuvent être traitées de diverses façons avant leur surgélation, par exemple par nettoyage, triage, découpage, mise en tranches, conditionnement, maturation, mise en filets, et chauffage. Chacun de ces procédés devrait être considéré pour déterminer s’il s’agit de DAP ou non.

Le blanchiment est souvent utilisé dans la production de légumes surgelés et d’autres produits alimentaires; ce procédé est surtout utilisé pour inactiver des enzymes responsables d’altérations (par exemple de saveur et de couleur) affectant la qualité lors de l’entreposage frigorifique. Les paramètres du processus de blanchiment devraient tenir compte de la qualité désirée; ils constituent un DAP.

Si l’entreposage des produits intermédiaires est nécessaire avant des traitements ultérieurs, les conditions d’entreposage, surtout de température, devraient convenir au produit alimentaire en question.

Si on utilise des matières premières intermédiaires surgelées dans le traitement, un contrôle et un suivi de température doivent être mis en place là où cela s’avère nécessaire.

5.3 Procédés de surgélation

La surgélation devrait être effectuée de telle manière que les altérations physiques, biochimiques et microbiologiques soient minimisées; pour ce faire, on doit tenir compte du congélateur, de sa puissance frigorifique et des caractéristiques du produit (conductivité, épaisseur, forme et température initiale) ainsi que du volume de production. Pour la plupart des produits alimentaires, la meilleure manière pour réaliser cet objectif est de franchir rapidement la zone de température de cristallisation maximale (en général entre -1°C et -5°C) au centre thermique du produit.

On ne peut considérer le procédé de surgélation comme étant terminé que si, et seulement si la température au centre thermique du produit alimentaire est inférieure ou égale à -18°C après stabilisation thermique. Une fois sorti du congélateur, le produit ne devrait pas être exposé à des conditions de forte humidité et/ou de températures élevées, et devrait être transféré à un entrepôt frigorifique le plus rapidement possible. La même politique devrait être appliquée aux produits emballés pour la vente au détail après le procédé de surgélation.

5.4 Emballage et étiquetage

En général, le rôle de l’emballage est de:

Il est nécessaire que l’emballage ou le réemballage des denrées surgelées soit effectué de telle façon à ce que l’augmentation de la température qui survient n’affecte pas la qualité du produit.

Les denrées surgelées emballées devraient être conformes aux exigences de la Norme générale Codex pour l’étiquetage des denrées alimentaires préemballées (CODEX STAN 1-1985, Rev. 1.-1991).

5.5 Entreposage frigorifique

On devrait concevoir et faire fonctionner des entrepôts frigorifiques de façon telle que les produits soient maintenus à une température inférieure ou égale à -18°C, avec le moins possible de variations de température (voir Section 3.2.2). La température d’un entrepôt frigorifique peut être un DAP.

On devrait pratiquer une rotation des stocks en respectant le principe du «premier entré-premier sorti».

5.6 Transport et distribution

Le transport des denrées surgelées devrait être effectué à l’aide d’équipements correctement isolés permettant de maintenir une température du produit égale ou inférieure à -18°C. La température du produit lors du transport et de la distribution sera un DAP.

Les compartiments des véhicules ou les conteneurs devraient être prérefroidis avant chargement en prenant soin d’éviter de réduire l’efficacité ou la puissance frigorifique.

L’utilisateur du véhicule ou du conteneur devrait s’assurer que[b/]:

Une brève élévation de la température du produit lors du transport peut être tolérée dans la limite de la tolérance définie par la législation nationale. Cependant, si la température d’un produit est supérieure à -18°C, la température devrait être abaissée à -18°C le plus rapidement possible lors du transport ou juste après la livraison.

Le chargement et le déchargement des véhicules de même que le chargement et le déchargement des entrepôts frigorifiques devraient être effectués le plus rapidement possible et les méthodes employées devraient minimiser des hausses de température.

La distribution des denrées surgelées aux détaillants devrait être effectuée de façon à ce que les élévations de température au-dessus de -18°C soient réduites au minimum. Après livraison, la température des produits devrait être abaissée à -18°C le plus rapidement possible.

5.7 Vente au détail

Il est nécessaire que les denrées surgelées soient exposées dans des meubles frigorifiques de vente conçus à cet effet. Ces meubles frigorifiques de vente devraient maintenir et être conçus pour maintenir une température de produit de -18°C. Une élévation de la température du produit peut être tolérée à condition qu’elle reste à l’intérieur de la tolérance de température précisée par la législation nationale. La température dans le meuble frigorifique de vente sera un DAP.

Les meubles frigorifiques de vente devraient être munis d’un dispositif de mesure de température (voir Annexe 3, Section 1.4).

Les meubles frigorifiques de vente devraient être positionnés de telle sorte que la zone de présentation à la vente ne soit pas exposée aux courants d’air ou à une source de rayonnement thermique excessive (par exemple, rayonnement solaire direct, lumière artificielle intense ou à proximité de radiateurs).

Les cycles de dégivrage devraient être programmés de telle sorte que dans toute la mesure du possible, le dégivrage ait lieu en dehors des périodes d’affluence de clients.

On ne devrait jamais charger les meubles frigorifiques de vente au-delà de la ligne de charge maximale.

Une rotation des stocks devrait être assurée afin de vendre en premier les premiers produits entrés selon le principe du «premier entré-premier sorti».

Le point de vente devrait être équipé d’une chambre de garde pour denrées surgelées.

5.8 Interfaces

Une attention particulière devrait être portée au transfert des denrées surgelées, qui doit être réalisé le plus rapidement possible de l’entrepôt frigorifique au véhicule/conteneur, ou du véhicule/conteneur à la chambre de garde, ou de la chambre de garde aux meubles de vente. Souvent, un transfert de responsabilité (propriété) intervient en même temps que le transfert des denrées surgelées. Il est important que:

Section 6: Chaîne du froid: Gestion de la température


6.1 Suivi de la température
6.2 Non-conformités des températures

6.1 Suivi de la température

Les intervenants devraient s’assurer que des systèmes appropriés soient mis en place afin de contrôler les températures de l’air lors du procédé de surgélation et de contrôler la température tout au long de la chaîne du froid afin de maintenir une température des denrées surgelées égale ou inférieure à -18°C. Des tolérances nationales peuvent s’appliquer.

Les enregistrements de ces mesures devraient être conservés aussi longtemps que nécessaire sur les plans juridique et commercial.

L’Annexe 3 fournit des conseils techniques.

6.2 Non-conformités des températures

Lors de l’inspection des denrées surgelées, il est recommandé d’adopter une approche par étapes (voir Annexe 3).

Les chargements ou parties de chargements dont la température n’est pas conforme à celle requise pour la conservation des denrées surgelées sont immédiatement identifiés et triés. La livraison, l’enlèvement et la mise en vente de ces chargements ou parties de chargement sont suspendus. Il incombe au détenteur, qui conserve la garde des denrées, de veiller à rabaisser rapidement la température de ces denrées et, plus généralement, de prendre toutes mesures conservatoires.

Dans de tels cas, le donneur d’ordre est averti immédiatement par le détenteur des denrées qu’un sinistre a pu survenir. Si l’acheteur est connu, même s’il n’est pas le chargeur, il est informé qu’un sinistre a pu survenir, car au terme de la loi, l’acheteur est propriétaire de la marchandise et doit donc être informé de tout incident le concernant.

ANNEXE 1: EXEMPLE ILLUSTRANT L’APPLICATION DES CCP DANS UNE INDUSTRIE DE SURGELATION

Chaque étape doit être analysée afin de déterminer si elle est nécessaire ou non avec un CCP.

L’application des CCP dans une Industrie de surgelation

Tableau 1. Feuillet de description des CCP

Numéro du CCP

Stade dans le procédé

Description du risque

Limite du CCP s’il en existe

Procédé de suivi

Actions correctives

Archives

1 Suivi de la température

RÉCEPTION DE LA VOLAILLE CRUE

BIOLOGIQUE - TEMPÉRATURES REQUISES POUR LA RÉCEPTION DE LA VOLAILLE CRUE.

LES CAMIONS UTILISÉS DOIVENT ÊTRE À UNE TEMPÉRATURE CONFORME À LA TEMPÉRATURE MAXIMALE SPÉCIFIÉE.

Les températures à l’intérieur des camions à l’arrivée sont suivies pour chaque chargement de volaille reçu. Les rapports donnant l’historique en provenance de chaque fournisseur sont conformes aux spécifications de la société.

Evaluation du produit: retenir, libérer ou rejeter. Réceptionnaire, contremaître et responsable assurance qualité (AQ).

Formulaire d’inspection des produits à la réception. Réceptionnaire.

2 Inspection physique

RÉCEPTION DES AUTRES INGRÉDIENTS SENSIBLES.

Niveaux de risques physiques acceptables, y compris la teneur en os du poulet et des matériaux étrangers dans l’enrobage.

TENEUR MAXIMALE EN OS DU POULET REÇU. ENROBAGES CONFORMES AUX SPÉCIFICATIONS CONCERNANT DES MATÉRIAUX ÉTRANGERS.

LES RAPPORTS DONNANT L’HISTORIQUE EN PROVENANCE DE CHAQUE FOURNISSEUR MONTRENT QUE LE PRODUIT EST CONFORME AUX SPÉCIFICATIONS. ILS DOIVENT ÊTRE FOURNIS AVEC CHAQUE ENVOI.

Evaluation du produit: retenir, libérer ou rejeter. Réceptionnaire, contremaître et responsable assurance qualité (AQ).

Formulaire d’inspection des produits à la réception. Réceptionnaire.

3 Températures de la friteuse et du four

CUISSON (FRITEUSE/FOUR).

RISQUES BIOLOGIQUES DANS LE POULET CUIT.

LE POULET DOIT ÊTRE CUIT AFIN D’ATTEINDRE UNE TEMPÉRATURE MINIMALE À COEUR PENDANT UNE DURÉE DÉTERMINÉE.

L’ENREGISTREUR DE TEMPÉRATURE SUIT LA TEMPÉRATURE DU FOUR. LES TEMPÉRATURES DU FOUR ET DU PRODUIT SONT VÉRIFIÉS À DES INTERVALLES DE TEMPS DÉFINIS.

Si les limites définies sont dépassées, arrêter la production afin d’effectuer une évaluation biologique: libérer, traiter de nouveau ou détruire. Chercher des facteurs en cause et prendre des actions correctives. Contremaître et responsable AQ.

L’OPÉRATEUR DOIT APPOSER SON VISA SUR LES ENREGISTREMENTS DE TEMPÉRATURE. LE PERSONNEL AQ DOIT APPOSER SON VISA SUR LE CARNET DU PRODUIT.

4. Réfrigération

Refroidissement jusqu’à une température réfrigérée.

RISQUES BIOLOGIQUES AU NIVEAU DU PRODUIT FINI.

LE PRODUIT DOIT ÊTRE REFROIDI À LA TEMPÉRATURE SPÉCIFIÉE DANS UNE DURÉE DÉTERMINÉE.

ON EFFECTUE LE SUIVI DU SYSTÈME DE REFROIDISSEMENT, C’EST-À-DIRE L’ENREGISTREMENT DE LA TEMPÉRATURE ET LA VÉRIFICATION DE LA MÉTHODE D’EMPILAGE. LA TEMPÉRATURE DU PRODUIT EST VÉRIFIÉE À DES INTERVALLES DE TEMPS DÉFINIS.

Si le processus de refroidissement est trop lent, arrêter la production afin d’effectuer une évaluation biologique: libérer, traiter de nouveau ou détruire. Chercher des facteurs en cause et prendre des actions correctives. Contremaître et responsable AQ.

L’opérateur doit apposer son visa sur les enregistrements de température. Le personnel AQ doit apposer son visa sur le carnet du produit

5 Détecteur de métaux

DÉTECTION DES MÉTAUX.

RISQUES PHYSIQUES AU NIVEAU DU PRODUIT FINI.

DÉTECTION DES MÉTAUX SELON LA TAILLE ET LE TYPE DÉFINIS.

FONCTIONNEMENT EN CONTINU. LIGNE VÉRIFIÉE À DES INTERVALLES DE TEMPS DÉFINIS À L’AIDE DE LA NORME DÉFINIE.

Ligne de production arrêtée jusqu’à la réalisation des mesures correctives. Après vérification, un produit de la ligne précédente doit subir une deuxième détection. Contremaître et resp. AQ.

ARCHIVES AQ DE LA DÉTECTION DES MÉTAUX. PERSONNEL AQ.

ANNEXE 2: EXEMPLE ILLUSTRANT L’APPLICATION DES DAP DANS UNE INDUSTRIE DE SURGELATION

Chaque étape doit être analysée afin de déterminer si elle est nécessaire ou non avec un DAP.

L’application des DAP dans une industrie de surgelation

Tableau 2. Feuillet de description des DAP

Numéro du DAP

Description du défaut

Limite du DAP s’il en existe

Procédé de suivi

Actions correctives

Archives

1 Réception des ingrédients sensibles

VÉRIFIER LA PROVENANCE ET L’ÉTAT DE SALUBRITÉ.

NON-CONFORME EN CE QUI CONCERNE LA PROVENANCE OU L’ÉTAT DE SALUBRITÉ.

Inspection visuelle et sensorielle. Les rapports donnant l’historique en provenance de chaque fournisseur sont conformes aux spécifications.

Evaluation du produit: retenir, libérer ou rejeter. Réceptionnaire, contremaître et responsable assurance qualité (AQ).

Formulaire d’inspection des produits à la réception. Réceptionnaire

2 Mélange des épices

MÉLANGE D’ÉPICES NON UNIFORME.

DISTRIBUTION VISIBLEMENT NON UNIFORME DES COMPOSANTS.

VÉRIFICATION VISUELLE DE L’UNIFORMITÉ DE LA DISTRIBUTION DES COMPOSANTS ÉPICÉS.

EVALUATION DU PRODUIT: REMÉLANGER SI BESOIN EN EST. CHEF DE PRODUCTION ET RESPONSABLE AQ.

ARCHIVES DE PRODUCTION COMPLÉTÉES.

3 Mélange

MÉLANGE DE COMPOSANTS NON UNIFORME.

Distribution visiblement non uniforme des composants.

Vérification visuelle de l’uniformité de la distribution des composants

Evaluation du produit: remélanger si besoin en est. Chef de production et responsable AQ.

Archives de production complétées.

4 Mise en forme

NON CONFORME À LA FORME ET AU POIDS SPÉCIFIÉS.

Difformité. Poids à l’intérieur des limites spécifiées.

Vérification visuelle de la forme. Pesage du produit obtenu (par exemple, 5 échantillons toutes les 30 min).

EVALUATION DU PRODUIT: RENVOYER LE PRODUIT POUR UN TRAITEMENT SUPPLÉMENTAIRE. CHEF DE PRODUCTION ET RESPONSABLE AQ.

Archives de production complétées.

5 Mise en pâte à frire

ENROBAGE INCOMPLET.

Enrobage incomplet.

VÉRIFICATION VISUELLE.

EVALUATION DU PRODUIT: CHERCHER DES FACTEURS EN CAUSE ET PRENDRE DES ACTIONS CORRECTIVES. CHEF DE PRODUCTION ET RESPONSABLE AQ.

Archives de production complétées.

6 Application de la couche panée

Enrobage incomplet.

Enrobage incomplet.

Vérification visuelle.

Evaluation du produit: chercher des facteurs en cause et prendre des actions correctives. Chef de production et responsable AQ.

Archives de production complétées.

7 Cuisson

TROP CUIT (COULEUR TROP FONCÉE) ET ÉCLATEMENT PARTIEL DE L’ENROBAGE.

COULEUR PLUS FONCÉE QUE CELLE SPÉCIFIÉE. PRODUIT PLUS VOLUMINEUX QUE LA TAILLE DÉFINIE, AVEC UN ENROBAGE PARTIELLEMENT ABSENT.

Vérification visuelle utilisant une comparaison avec des normes de couleur et la détection de l’éclatement.

Evaluation du produit: chercher des facteurs en cause et prendre des actions correctives. Chef de production et responsable AQ.

Archives de production complétées.

8 Emballage

POIDS DU PRODUIT NON CONFORME AU POIDS PRÉCISÉ SUR L’ÉTIQUETTE.

Poids du produit inférieur à celui mentionné sur l’étiquette.

VÉRIFICATION DU POIDS DU PRODUIT (PAR EXEMPLE, 5 ÉCHANTILLONS TOUTES LES 30 MIN).

Evaluation du produit: retenir, libérer ou rejeter. Contremaître et responsable AQ.

Archives de production complétées.

9 Mise en carton

NOMBRE INCORRECT D’EMBALLAGES PAR CARTON. FERMETURE DÉFECTUEUSE DU CARTON.

NUMÉRO D’EMBALLAGE CONFORME À CELUI MENTIONNÉ SUR L’ÉTIQUETTE. FERMETURE DÉFECTUEUSE DE L’EMBALLAGE.

VÉRIFICATION PHYSIQUE DE LA FERMETURE ET DU NOMBRE DE PAQUETS PAR CARTON.

Evaluation du produit: retenir, libérer ou rejeter. Contremaître et responsable AQ.

Archives de production complétées.

10 Surgélation*

NON SURGELÉ À UNE TEMPÉRATURE DE - 18°C DANS LE TEMPS SPÉCIFIÉ.

En dehors de la durée spécifiée.

MESURE DE LA TEMPÉRATURE DU PRODUIT APRÈS SURGÉLATION.

Evaluation du produit: retenir, libérer ou rejeter. Contremaître et responsable AQ.

Archives de production complétées.

11 Entreposage frigorifique dans l’installation de production*

ALTÉRATION EXCESSIVE DE LA QUALITÉ À CAUSE D’UNE TEMPÉRATURE D’ENTREPOSAGE TROP ÉLEVÉE.

Température du produit au-dessus de - 18°C.

ENREGISTREMENT DE LA TEMPÉRATURE AFIN DE SUIVRE LA TEMPÉRATURE À L’INTÉRIEUR DE L’ENTREPÔT FRIGORIFIQUE.

SI LES LIMITES DÉFINIES SONT DÉPASSÉES, ARRÊTER LA PRODUCTION AFIN D’EFFECTUER UNE ÉVALUATION BIOLOGIQUE: LIBÉRER OU DÉTRUIRE. CHERCHER DES FACTEURS EN CAUSE ET EFFECTUER DES ACTIONS CORRECTIVES. RESPONSABLE DE L’ENTREPÔT FRIGORIFIQUE ET RESPONSABLE AQ.

LE CONTREMAÎTRE DOIT APPOSER SON VISA SUR LES ENREGISTREMENTS DE TEMPÉRATURE.

12 Entreposage frigorifique*

ALTÉRATION EXCESSIVE DE LA QUALITÉ À CAUSE D’UNE TEMPÉRATURE D’ENTREPOSAGE TROP ÉLEVÉE.

TEMPÉRATURE DU PRODUIT AU-DESSUS DE - 18°C.

Enregistrement de la température afin de suivre la température à l’intérieur de l’entrepôt frigorifique.

Si les limites définies sont dépassées, arrêter la production afin d’effectuer une évaluation biologique: libérer ou détruire. Chercher des facteurs en cause et effectuer des actions correctives. Contremaître et responsable AQ.

Le contremaître doit apposer son visa sur les enregistrements de température.

13 Transport*

Altération excessive de la qualité à cause d’une température de transport trop élevée.

TEMPÉRATURE DU PRODUIT AU-DESSUS DE - 18°C.

Enregistreur de température utilisé afin de suivre la température à l’intérieur d’un véhicule/conteneur.

Si les limites définies sont dépassées, arrêter la production afin d’effectuer une évaluation biologique: libérer ou détruire. Chauffeur et responsable AQ.

LE CHAUFFEUR DOIT APPOSER SON VISA SUR LES ENREGISTREMENTS DE TEMPÉRATURE.

14 Vente au détail*

Altération excessive de la qualité à cause d’une température d’entreposage trop élevée.

Température du produit au-dessus de - 18°C.

Suivi de la température à des intervalles de temps réguliers.

Si les limites définies sont dépassées, arrêter la production afin d’effectuer une évaluation biologique: libérer ou détruire. Contremaître.

Le contremaître doit apposer son visa sur les archives de surgélation.

(*) Note: Chaque point de transfert entre les DAP 10 à 14 pourrait également être considéré comme un DAP avec une description de défaut, une limite de DAP, un procédé de suivi, des actions correctives similaires, avec la même tenue d’archives que pour ces DAP.

ANNEXE 3. SUIVI DE LA TEMPERATURE ET CONTROLE DE LA CHAINE DU FROID

Introduction

Le suivi de la température fait partie intégrante de la gestion de la chaîne du froid. En général, les opérateurs/exploitants peuvent choisir entre plusieurs systèmes de suivi des denrées surgelées, y compris des mesures des températures de l’air lors du fonctionnement des systèmes frigorifiques, ou des mesures directes/indirectes de la température du produit [ou de la température d’un produit simulé].

Lorsqu’on effectue le suivi de la température de l’air, on utilise des capteurs fixes afin de suivre la température de l’air dans un système frigorifique. On mesure la température du produit directement ou indirectement. Des mesures directes de la température du produit peuvent être effectuées de façon destructive ou non destructive.

La mesure de la température du produit permet de mieux vérifier le respect des exigences en termes de température, mais cette approche n’est pas toujours utilisable pendant des périodes chargées de production et de distribution.

1. SUIVI DE LA TEMPERATURE DE L’AIR

Le suivi de la température de l’air permet:

1.1 EQUIPEMENTS UTILISES POUR LE SUIVI DE LA TEMPERATURE DE L’AIR

Les enregistreurs électroniques comportent un capteur (placé dans l’air froid) ainsi qu’un système de lecture ou d’enregistrement. Le capteur est soit placé loin du système de lecture ou d’enregistrement, soit incorporé dans ce système. Un enregistreur permet de stocker des données, habituellement de façon électronique, mais des enregistreurs à support papier sont encore couramment utilisés dans les entrepôts frigorifiques et les conteneurs.

1.2 LA TEMPERATURE DE L’AIR DES ENTREPOTS FRIGORIFIQUES

Des capteurs de température doivent être placés dans la chambre aux points les plus chauds et des enregistreurs peuvent être aisément positionnés à l’extérieur de l’entrepôt ou dans la salle de contrôle.

Les capteurs devraient être placés en hauteur, loin des ventilateurs des frigorifères et loin des portes d’entrée et de sortie afin d’éviter des températures exagérément basses ou de grandes fluctuations.

Un seul capteur peut suffire dans les petites chambres (d’un volume inférieur à 500 m3), alors que celles de moins de 30 000 m3 nécessiteront deux capteurs; les chambres d’un volume entre 30 000 m3 et 60 000 m3 nécessiteront 4 capteurs et celles d’un volume supérieur à 60 000 m3 en demanderont 6.

Pour les petites chambres de détaillants (d’un volume inférieur à 10 m3), un thermomètre visible peut suffire.

1.3 SUIVI DE LA TEMPERATURE DE L’AIR LORS DU TRANSPORT

La mesure de la température de l’air à la reprise du groupe frigorifique donne une bonne indication de la température du chargement, à condition que toute la longueur du véhicule soit parcourue par un flux d’air suffisant.

Pour les véhicules longs (plus de 6 m), des conduits d’air sont recommandés pour assurer qu’une quantité suffisante d’air froid atteint l’arrière du véhicule. Pour un véhicule long, il est recommandé d’installer deux capteurs dans le compartiment: l’un mesure la température de reprise d’air et l’autre est placé aux deux tiers ou aux trois quarts de la longueur du compartiment dans les conduits d’air du plafond. La différence entre ces deux températures donne généralement une indication du bon fonctionnement du groupe frigorifique. Si cette différence est importante ou si elle est variable, cela peut signifier un prérefroidissement insuffisant, un positionnement incorrect des palettes, ou un délai au-delà du nécessaire, avant la fermeture des portes.

L’enregistreur peut être placé dans la cabine du véhicule ou installé à l’extérieur, en général près du tableau de commande du groupe.

1.4 SUIVI DE LA TEMPERATURE DE L’AIR DES MEUBLES FRIGORIFIQUES DE VENTE

2. SUIVI DE LA TEMPERATURE DU PRODUIT

2.1. MESURE DIRECTE DE LA TEMPERATURE

2.1.1 SPECIFICATIONS DU SYSTEME DE MESURE

Le dispositif utilisé pour mesurer la température du produit devrait être d’une plus grande exactitude que celui utilisé pour le suivi de la température de l’air. Les spécifications recommandées pour le système, c’est-à-dire le capteur et le système de lecture, sont les suivantes:

2.1.2 PREREFROIDISSEMENT DU CAPTEUR

2.1.3 MESURE NON DESTRUCTIVE DE LA TEMPERATURE

La mesure non destructive peut être obtenue rapidement sans manipuler le chargement. Cependant, en raison du fait que la mesure concerne la température extérieure du paquet ou du carton, la différence entre la température réelle du produit et celle mesurée peut atteindre 2°C. La mesure de la température de la surface du produit effectuée de façon non destructive devrait:

2.1.4 MESURE DESTRUCTIVE DE LA TEMPERATURE

Les capteurs de température ne sont pas conçus pour pénétrer dans les denrées surgelées. On doit donc percer un trou dans le produit afin d’insérer le capteur. On perce le trou à l’aide d’un dispositif métallique pointu prérefroidi tel qu’un poinçon à glace, une perceuse à main ou une vrille. Le diamètre du trou devrait être à peine plus grand que celui du capteur. La profondeur de pénétration du capteur est fonction du type de la denrée:

2.2 ECHANTILLONNAGE DES PRODUITS AFIN D’EFFECTUER DES MESURES DE TEMPERATURE

2.2.1 LORS DU TRANSPORT

en haut en en bas de la cargaison au droit des bords des portes;

en haut et à droite de la cargaison (le plus loin possible du groupe frigorifique);

au milieu de la cargaison;

au milieu de la face frontale de la cargaison (le plus près possible du groupe frigorifique);

aux coins supérieurs et inférieurs de la face frontale de la cargaison (le plus près possible de la prise de retour d’air).

Emplacements des échantillons

Lorsque des échantillons sont sélectionnés, on devrait d’abord effectuer une mesure non destructive de la température. [Une tolérance totale de 2,8°C devrait être appliquée (2°C dus aux incertitudes de la méthodologie et 0,8°C pour l’incertitude du système) avant de décider si une mesure destructive devrait être effectuée]

2.2.2 VENTE AU DETAIL

[3 DISPOSITIFS FACULTATIFS POUR LE SUIVI DE LA TEMPERATURE: MESURE INDIRECTE DE LA TEMPERATURE

3.1 SIMULATION DE PRODUIT

Lorsque le suivi de la température est difficile, par exemple pendant le procédé de surgélation, on peut utiliser un échantillon de produit alimentaire simulé. Cet échantillon a une forme qui ressemble à celle du produit alimentaire, est constitué d’un matériau similaire, possède des propriétés thermiques et un facteur de refroidissement similaires à ceux du produit alimentaire suivi. Des matériaux tels que le nylon, le polystyrène, le chlorure de polyvinyle, le perspex et le polytétrafluoréthylène ont des propriétés thermiques proches de celles de la plupart des produits alimentaires. Les capteurs peuvent être intégrés de façon permanente dans de tels dispositifs puis placés entre des emballages de produits alimentaires permettant des mesures à volonté. Le produit simulé peut également être intégré dans un dispositif de mesure de température.

3.2 ENREGISTREURS ENTRE LES EMBALLAGES

Des enregistreurs de températures robustes et de petite taille peuvent être placés entre les emballages ou à l’intérieur d’une cargaison, par exemple dans les cartons, afin d’enregistrer la température sur de longues périodes. De tels enregistreurs sont programmés et les mesures sont récupérées de façon informatique.

3.3 THERMOMETRES SANS CONTACT

Ces dispositifs permettent de mesurer la température d’un produit alimentaire en détectant le rayonnement infrarouge émis par le produit. Le rayonnement est fonction des matériaux, qui absorbent, réfléchissent et transmettent le rayonnement, chacun de façon différente. Les thermomètres infrarouges peuvent être portables et sont en général sous forme de “pistolet”; ils sont parfois munis d’aides à la visée lasers. La taille de la cible peut être importante, puisque cet instrument donne une valeur qui est la moyenne de l’ensemble du rayonnement dans son champ optique. On doit faire attention lorsqu’on interprète les résultats obtenus avec ces appareils pour les denrées surgelées, dans la mesure où un emballage capte rapidement le rayonnement environnant: il peut y avoir une différence entre la température de surface et la température interne. En outre, le type d’emballage utilisé influence le rayonnement. En particulier, les emballages en feuille métallique laminée donnent lieu à des erreurs importantes car ce type d’emballage réfléchit davantage le rayonnement que le carton. Certains nouveaux appareils compensent ce type d’erreur et mesurent le rayonnement à travers une fenêtre.

On peut également utiliser des caméras infrarouges vidéo fixes pour mesurer la température. Ces appareils fournissent des images thermiques qui permettent le contrôle des procédés industriels de chauffage et de refroidissement, assurant un traitement plus homogène. On peut également utiliser ces appareils dans le procédé de surgélation. On peut ainsi réaliser le balayage d’un nombre de produits important et identifier des zones chaudes avant d’effectuer un suivi plus précis des mesures de température.

3.4 INDICATEURS DE TEMPERATURE (TI) ET INDICATEURS TEMPS-TEMPERATURE (TTI)

De nombreux brevets ont été déposés pour des mécanismes donnant lieu à un changement de couleur, soit lorsqu’une température a été dépassée (ce sont des TI) ou lorsque l’intégration de la température pendant une période de temps conduit à un dépassement (ce sont les TTI). L’utilisation des TI et des TTI sur les emballages utilisés pour la vente au détail a rencontré une certaine résistance pour plusieurs raisons, en particulier parce que ces dispositifs sont placés sur la surface et non à l’intérieur des denrées et également parce que les indications données par ces dispositifs peuvent être en désaccord avec les dates de durabilité. Cependant, les TI et TTI peuvent être utilisés à l’extérieur des cartons ou des palettes afin de déceler des non-respects de température pendant la distribution entre les entrepôts frigorifiques et les chambres froides des détaillants; on peut également les utiliser pour suivre la température des denrées surgelées aux interfaces lorsque les enregistrements de suivi ne seraient pas disponibles].

4. CONTROLE DE LA TEMPERATURE - APPROCHE PAR ETAPES

1. Inspection visuelle

Þ

2. Examen des enregistrements des températures de l’air

Þ

3. Mesures non-destructives de la température

Þ

4. Mesures destructives de la température


Lorsqu’on inspecte les denrées surgelées avant leur chargement et pendant le déchargement, une approche par étapes est conseillée. Si cette approche décèle une non-conformité de température, la procédure décrite en Section 6.2 s’applique.

1. Avant le chargement et pendant le déchargement, on recommande d’effectuer une inspection visuelle afin de vérifier l’état des produits alimentaires.

2. On devrait examiner d’abord les enregistrements de la température d’air et les autres lectures de température notées dans les documents d’accompagnement des denrées surgelées. Si la température était conforme lors du chargement, si le système frigorifique a fonctionné correctement, et si les différences entre la température de l’air soufflé par le groupe frigorifique et celle de l’air repris ne montrent pas d’anomalies, aucune action supplémentaire n’est requise.

3. Si on a le moindre doute au sujet des aspects mentionnés ci-dessus, ou si aucun enregistrement n’est disponible, on devrait effectuer une mesure non destructive de la température du produit. Ce processus devrait comporter une lecture de la température entre les cartons ou entre les paquets (Voir Annexe 3, Section 2.1.3). Si la mesure non destructive indique que la température du produit alimentaire se trouve à l’intérieur de la tolérance requise, l’inspection peut s’arrêter à cette étape.

4. On ne devrait effectuer une mesure destructive de la température que si la mesure non destructive est en dehors de la tolérance ou des limites légales (Voir Annexe 3, Section 2.1.4). On doit effectuer cette mesure après avoir placé la cargaison dans un environnement frigorifique afin d’éviter une remontée de la température des produits alimentaires. Les mesures destructives de température sont longues à faire, perturbent le flux des produits alimentaires le long de la chaîne, et sont coûteuses dans la mesure où les produits alimentaires testés doivent être détruits ou traités d’une autre manière.


[a/] Avant-Projet de Code d’usages du Codex pour les poissons et les produits de la pêche, avant-projet de Code d’usages en matière d’hygiène pour la production primaire et l’emballage des fruits et légumes frais et son annexe sur les fruits et légumes prédécoupés prêts à l’emploi, et l’avant-projet de Code d’usages en matière d’hygiène pour le lait et les produits laitiers.
[b/] Pour de plus amples informations, consultez le Guide du transport frigorifique, IIF, 1995


Page précédente Début de page