3) The ratio of fish-cum-duck integration
In fish-cum-duck integration, the result of fish farming has much to do with how to raise ducks. There are three types of farming practices:
Raising large groups of ducks in open water
This is “grazing” type of duck raising. Average number of a group in grazing is about 1000 ducks by one worker. The ducks are generally let loose to go grazing in rivers, lakes and reservoirs during the day, utilizing natural food organisms, but are kept in pens at night. This method is advantageous to large water bodies for promoting fish proliferation and can be considered as an integrated management model for large water bodies, such as lakes and reservoirs, etc. As for those fish pond farms, this method of integration can not effectively utilize the duck manures except the increment of economic benefit from duck raising.
Raising ducks on pond shore
A relatively large duck shed including a workshop for the administration is constructed in the vicinity of fish ponds with cemented area of dry and wet runs outside. The average stocking rate is about 4 ducks/m2. The dry and wet runs are being cleaned once a day. During cleaning, the sluice of the wet run is opened to allow organic manure to be flushed into fish ponds through a manure ditch. After this, the sluice is closed and the wet run is filled with fresh water. This method has the advantages for centralized management and adopting mechanisms, but is unable to fully utilize leftover and undigested feedstuff in duck excreta. The effects of leftover and the direct value of feeds more or less are lost. It's also unable to take advantage of the symbiosis of duck and fish.
Raising ducks in fish ponds
This is the common method of integrated fish-cum-duck farming. The dikes of grow-out or 2-year-old fingerling ponds are partly fenced to form a dry run and part of the water area or a corner of the pond is fenced with used material to form a wet run. The net pen is installed by 40–50 cm above and below the water surface respectively in order to save the net material. In this way, fish can enter the wet run for food while ducks can not escape under the net. In a large pond, a small “island” is constructed at the center of the pond for installation of demand feeding facilities. The stocking density currently practised in China is higher than that practised in other countries, averaging 4.5 individual/m2 of pen shed including the dry run and 3--4 ind/m2 for the wet run.
In the early phase of integrated management of fish-cum-duck, ducks went everywhere in fish ponds to get food; now this pattern has already been improved. The duck raising area has been set up to connect the duck shed, the dry run and the wet run. Whether fish-cum-duck integration succeeds or not primarily depends on technical measures of duck raising. Both meat ducks and egg laying ducks can be raised in fish ponds. In summer, the 14-day ducklings are accustomed to the life on the water surface. Meat ducks grow fast. The good stock can reach to the marketable size of 2 kg in fish ponds within 48--52 days; the stocks which grow slowly can reach to the marketable size within 55--56 days. Ducks should be on the market as soon as they reach the marketable size or they will lose their feathers, resulting in decrease of food efficiency, body weight and commodity value.
The number of ducks to be raised in this type of polyculture depends on the quantity of duck excreta which in turn are determined by the duck species, quality of feeds given as well as the method of raising them. In raising Beijing ducks, about 7 kg of duck excreta per duck can be obtained during 36-days fattening period. The egg laying Shaoxin ducks raised in Wuxi produce 42.5--47.5 kg of manure per duck per annum, while the hybrids of Shaoxin and Khaki-Combell ducks produce more than 50 kg per duck. The stocking rate of ducks also depends on the climatical conditions and the stocking ratio and density of the various fish species polycultured in the pond. In Europe, the stocking rate is generally 500ind/ha. As a result, the increment of fish yield will be 90 kg/ha. In tropic and sub-tropic zone, Woynarovich (1980) recommended that the stocking rate should be 2250 ind/ha. In Hongkong, the optimum stocking rate is 2505--3450 ind/ha. In Wuxi, 2000 ind/ha. If the meat ducks are raised in fish ponds, the number should be reduced in view of larger quantity of excreta. In Taihu district, polyculture of 7--8 species of fish is practised in fish ponds, in which the stocking ratio of various species of fish remains unchanged when ducks are raised. If the number of ducks exceeds 3000 ind/ha, then the filter-feeding fish and omnivorous fish could be increased and herbivorous fish could be reduced.
The stacking of organic materials won't take place in this type of integration so long as the stocking rate of ducks is proper and the excreta amount does not exceed the transforming power of a fish pond. Ducks swim loosely in the wet run to search for food, their excreta drop evenly into the wet run and the effects of fertilization of duck droppings expand to the whole pond through winds and waves.
4) Economic efficiency
The integrated management of fish-cum-duck farming especially raising ducks on the surface of fish ponds is an economically efficient farming practice. In 1980, Helei Fish Farm conducted a comparative test between pond no. 13 and pond no. 21. Two ponds were adjacent with the same size about one ha. There were pigsties set up on the dyke between the two ponds. Pond no. 13 was stocked with 2207.5 kg of fingerlings and 1900 egg laying ducks without any input of manure; Pond no. 21 was stocked with 2188.5 kg of fingerlings only. The species and size of fish and the feeds given in Pond No. 21 were the same as those in Pond No. 13 but with input of manure at a rate of 20,000 kg/ha/year. The output of Pond No. 13 was 12,234 kg while Pond No. 21 was 10,464 kg.
From the above mentioned comparative test, if the stocking rate of egg laying ducks is 1830--1920 ducks/ha, apart from economizing input of 300000 kg of manure, per ha fish yields can be increased by about 17% over ponds without duck integration. Based on the data and calculation, the average rearing period of ducks is 10 months in a year and about 2.5-5.5 kg of fish might be produced by raising one duck. According to the test in Helei Fish Farm, about 2.5 kg of fish could be produced besides about 200 eggs, (260--300 eggs for the hybrids) by raising one duck in fish pond. Helei Fish Farm raise 20000 ducks every year, providing 850000 kg of duck manure. In 1980, the farm got a net profit of 42000 yuan from duck raising. There were 48 farmers in the farm. The average income was 881.25 yuan per capita.
It's impossible to get an accurate economic analysis on fish-cum-duck integration because the investment, production cost and the yields of duck and fish varies in different countries; even in the same district, fish and duck species, stocking densities, quality and efficiency of feeds, rearing management and climatical conditions differ in thousand ways.
It can be explained by an example:
In 1981, Helei Fish Farm raised 22000 ducks. Apart from providing 1,000,000 kg of duck manure and large amount of leftover to fish ponds, it harvested 212,695.9 kg of duck eggs, 6059 kg of duck meat, thus providing the market with 24315 kg of available animal protein which is equivalent to 215560 kg of Grass carp protein. The total annual income was 57740 yuan including 10800 yuan from ducks, 42000 yuan from duck eggs, 4940 yuan from duck excreta for fish farming and it holds 24.62% of total profit of the farm.
From the view point of input-output relationship, integrated fish farming with ducks is considered to be the best model in integration of fish, livestocks and poultry. The economic efficiency of fish-cum-pig integration from micro-economic stand point is generally not so high and its profit is low. In the case of integrated fish farming with poultry, fish-cum-chicken integration lacks symbiotic relationship, which exists in the case of integrated fish-cum-geese farming, but the egg-laying rate of geese and the market demand are rather low. By comparing the protein input and output in integrated fish-cum-duck farming, it's found that the production of 1g of egg protein from Shaoxin ducks requires 5.53 g of feed protein whilst 1g of dairy protein from cows needs 5.55g of feed protein. They are similar in weight; however, it is relatively easier to raise ducks than cow and the economic efficiency and income of fish-cum-duck far exceeds that of fish-cum-cow, e.g. in 1981, a worker in Helei Fish Farm produced 292.6 kg of protein from cows while his counterpart produced 506.6 kg of protein from ducks which is 73% higher. The net profit per capita in fish-cum-cow farming is 1067.9 yuan and 1427.08 yuan in fish-cum-duck farming, which is 33.6% higher.
Integrated management of fish-cum-duck farming can be further developed to achieve higher economic efficiency by utilizing the natural water body to cultivate high-yield aquatic plants as vegetable feeds of ducks and by utilizing the wastes of integrated fish farming and from city proper to grow earthworm as animal-based feeds for ducks. At the output end, the products such as fish, ducks and eggs could be further processed before marketing, thus, the economic efficiency and income can be considerably raised either from the angle of energy and nutrient source or economy.
2. Fish-Cum-Pig Integration
Fish culture combined with pig raising is a traditional integrated fish farming model in China. Now, a few of other countries are also engaged in fish-cum-pig integration. Since 1974, Dr. Buck has conducted experiments on utilization of pig manure in fish farming. In 1977, he polycultured Cyprinidae in the test pond with Silver carp as major species. The output was 4585 kg/ha.
From economic view point, pig-raising can be divided into three situations: loss, balance and profit. If it combines with duck raising and fish farming, not only the economic efficiency could be increased but also the social efficiency and ecological efficiency could be raised. The pig food are often leftover and residues from the kitchen, aquatic plants and agricultural products and their wastes. The pig excreta is in turn used as organic manure in fish ponds. It might keep the environment clean. Pork is the indespensable subsidiary food. Pig manure is of high quality by virtue of nutritional completeness. That's why farmers usually combine fish farming with pig raising and it becomes a common pattern of integration in China's rural area.
1) Methods of pig manure application
There are two types of pig sty in China. One is the simple pig shed constructed on the pond dyke or over the water surface; the other is centralized hog house. Both types have their own merits and demerits. The cost of the simple one is lower and moreover, it's easy to apply the manure to fish ponds. Therefore, this type is more suitable to household or small-scaled farms of fish-cum-pig integration. The excreta of pig can automatically flow or be flushed into the pond. It can save much labour. If the area of a fish pond is less than 8 mu, a pig sty can be set up on the pond dyke and then, pig wastes after flowing into the pond, can diffuse to the whole pond by virtue of winds and waves. If more than 30 pigs are raised in the same spot, the method of flowing by gravity is not suitable because the more the pigs, the more the pig manure. More often than not the place near the pigsty will be heaped up with manure and the water quality will be partially deteriorated. If pig manure sinks to the bottom too much or flows into the pond too much through the pipe, it will also cause fish surfacing.
In order to fully utilize the effectiveness of manure, it's necessary to pay attention to the method of applying. The manure from the centralized hog house is easy to be concentrated to a storage pond or a sedimentation basin. The amount of application can be controlled by various means. Centralized hog house is fit to be built in large-scaled integrated fish farms.
The manure after dilution can be spread along the pond dyke by manual labour or by small boat in small fish ponds. If the fish pond is large, it's better to use boat and mechanic apparatus so as to spread the manure evenly. Here are two methods:
To use stern-thruster boat (outboard motor boat) for fertilization Hang the iron cage loaded with manures alongside the boat. The space between grids is about 2.0--2.5 cm. The capacity of the cage differs with the amount of fertilizers needed. The cage loaded with manure must be hanged 10--20 cm below the surface. When the engine starts, the current formed by the thruster will rush against the manure in the cage and as a result, it can be spread evenly.
To install a pump in a boat
The manure should be diluted in a cabin through a funnel and then be spread into the whole pond.
The large quantity of liquid manure in sedimentation basin of largescaled integrated fish farm can be introduced through a pipe or a hose to the pond side and then be sprayed through a nozzle. The average rate is 200 litres/min each nozzle. The nozzle should be fixed 0.5--1.0 m above the surface, in this way, the liquid manure can be fully contacted with air. The nozzle will serve as an aerator if it works to spray water when the D.O.C. in pond water is low.
In fish-cum-pig integration, two points must be especially noticed: one is lack of oxygen in the pond; the other is oligotrophic pond water. That's why the water quality should be monitored at any time. Besides, the production period of pig should match the demand of pig manure in fish farming.
Integrated fish farms are chiefly engaged in raising hogs. The advantage is that the production periods of pig and fish farming match well. Hog can be raised for 2 periods a year. The duration of each period lasts for 5 to 6 months. 60% of the total amount of manures applied to fish ponds are given during the first half of a year. The peak of application is in Jan. and Feb. for base manure and in June and July for the additive manure. Usually, no manure is applied after the middle 10 days of Oct. Therefore, one pig production period is supposed to be from the middle 10 days of Feb. to the middle 10 days of Aug; the other is from the middle 10 days of July to the middle 10 days of Jan. The growth of the first batch of pigs peaks at the latter part of the production period and their excreta as well. It can just meet the fertilizer demand of fish farming. The excreta of pigs from Nov. to Jan. serve as base manure for fish farming next year. This collocation not only can meet the demand of pig manure during the whole period of fish farming but also satisfy the concentrated demand of pig manure in fish farming.
2) Rate of pig raised per unit area of fish ponds
The actual rate of pig raised for per unit area of fish pond in integrated fish farms in different areas is from one to five per mu of fish pond. How much excreta of pigs can the given unit area of fish pond accept so as not to deteriorate the water quality of the pond but to maintain sufficient food for fish? It must be worked out through the productive experiments in line with the local conditions. In China, a fish pond is often given various kinds of organic manures such as pig manure, cow dung or other animal manures so the quantity of applying pig manure must be reduced correspondingly.
The capacity of a fish pond to accept animal manures depends upon the techniques of application and the nature of manures. In Hungary, the growth period of fish is 150--180 days. If pig manure is applied by the method of stacking in a corner, the rate of application is 100--134 kg/mu of fish pond. If the method of so-called carbon manuring technique is adopted, that is to say, fresh pig manure mixed with pond water is spread to the whole pond frequently, the rate of application is 20--40 kg/mu/day. It's an equivalent to 1000–1500 kg of condensed liquid manure or 1.2--2.5m3 of solid wastes of commercial pigsty.
In theory, the maximum capacity per mu to accept manures is 2 to 3 times the above mentioned figures. Why, it involves many facets such as environmental conditions of a fish pond, the quality of pig manure, the managerial techniques of fish ponds and so on.
3) Fish species cultured in fish-cum-pig integration
The production efficiency of fish-cum-pig integration appears in the full utilization of food organisms by fish in pig manured pond. In 1950's, when Hungarian began to culture fish by using pig manure, two problems happened. (1) Water bloom of Aphanizomenon flosaquae and other blue algae appeared time and again because of non-control of manure application. It causes the disappearance of Daphnia spp.
(2) Common carp can not utilize plankton directly, resulting in waste of primary productivity, The filtering species should be stocked in manured pond, and thus, it will avoid auto shading of phytoplankton and decreasing the products of photosysnthesis. For this reason, Hungarian have stocked certain kinds of Chinese carps since 1970. Silver carp and Bighead are the best species to control plankton. They have fine filtering organs and can filter and eat phytoplankton in size above 220μ. If the water temperature goes up to 22°C, they can filter and eat more plankton and a great number of detritus and bacterial congregations in a given unit time. The feed basis formed after fertilization could be utilized more. In mono-pig-manured pond, a few Grass carp may be stocked to control Aphanizomenon flosaqae and submerged vegetation in the pond. In mono-culture of Common carp, 50 kg of pig manure can be converted into 1.25–1.5 kg of Common carp; in polyculture with Common carp as major species, 50 kg of pig manure can be converted into 1.75–2 kg of fish; in polyculture with Silver carp as major species, 50 kg of pig manure can be converted into 3 kg of fish. The feeding habit of Tilapia is wide in scope and serves as cleaner in pig manured pond. This species fits the pigmanured pond. In Hubei Province, China, Silver carp, Bighead and Tilapia are the main species in pig manured polyculture, assorted with a few Grass carp, Common carp and Xeno cyprinus as minor species. (See table 7-3-3)
4) Economic efficiency of fish-cum-pig integration
The economic efficiency is apparent if the wastes of pig raising can be utilized. In Hunan Province, one mu of fish pond matches with three pigs. In polyculture with Silver carp and Bighead as major species, the output could reach 150–200 kg/mu. In tropic and sub-tropic zone, the temperature is higher and the biological process becomes quicker, more pig manure can be decomposed in the pond and moreover, with proper species in polyculture, the utilization rate of pig manure will perhaps be much higher.
Fish-cum-pig integration can reduce the production cost. For example, in 1981. Xinan Fish Farm Wuxi gained 3388000 kg of pig manure including 50% flush water. It saved 14229.6 yuan of manure expenditure. The fish yield was 33880 kg. The profit of pig raising itself was not too much, nevertheless, the total revenues of integrated fish farm increased because the excreta of pig took the place of artificial feeds and inorganic fertilizers, which accounted for 58.8% of the cost of fish farming.
However, the simple fish-cum-pig integration becomes less in China. This pattern is usually a part of fish-livestock-agriculture integration system which is a comlete man-made ecosystem.
Table 7-3-3 The Proportion of Polycultured spp. in total output (%)
| Species Site | S.C | B.H | TILAPIA | Cr. C | C.C. | G.C. | Xeno | Net yield (jin/mu) |
| Honghu Fish Farm | 60 | 21 | 4.9 | 7.6 | 6.5 | 899 | ||
| Linghy Fish Farm | 60 | 10 | 6 | 10 | 8 | 6 | 864.7 |
3. Fish-Cum-Cow Integration
Fish farming using cow manure has long been practiced in China. Since the founding of the People's Republic of China, cow farming has developed rapidly. It promotes fish-cum-cow integration, which is one of the common modellings of integration in the southern part of China. On fish farms cow farming can save much fertilizers, cut down fish feeds and increase the income from milk while fish farming on cow farms can make it realized that “the excreta of a cow can be converted into a thousand jin of fish”. Moreover, cow manure can be disposed at hand resulting in saving much money, labour and energy and also it is good for the environment. If farmers use part time worker to conduct small scale integrated fish farming with cow raising, they can not only earn more money but also can supply both fish and milk to the market.
1) The material basis of fish-cum-cow integration
In fish-cum-cow integration, cows are suppliers of the materials for fish farming. They can provide cow manure, leftover and matted grass of cow sheds, etc.
(1) The biological basis of fish farming using cow manure
Among all the excreta of livestock, the amount of excreta of cows is the greatest and the most stable. If a cow is 460 kg in body weight, it can produce 0.081 kg of manure/kg of body weight per day and the annual amount of faeces can reach 13600 kg and that of urine about 9000 kg.
The nutritive content of cow dung is a little less than that of pig faeces. (See Table 7-3-4). If 0.024 kg of fresh cow manure is applied to a water body of 1 cubic meter per day, inorganic N and P in fish ponds will be 0.897 mg/L and 0.024 mg/L respectively, which are close to the inorganic N, 0.97--2.06 mg/L (average 1.38±0.42 mg/L) and the inorganic P, 0.018--0.036 mg/L in high-yield fish ponds. The ratio of N/P will be 36.9, which is a little higher than the value of the ratio of N/P in phytoplankton. Apparently it will limit the large increment of phytoplankton in fish ponds. Nevertheless, the average amount of phytoplankton in manured pond can still reach 19.15±6.5 mg/L which is apparently higher than that in control ponds and close to the lower limit of optimum food density (20--100 mg/L) of Silver carp and Bighead. The average biomass of zooplankton will amount to 5.61 mg/L which is much higher than that in unmanured pond and the ratio between the biomass of zooplankton and phytoplankton is 1/3.4.
Both the biomass of zooplankton and the ratio between the biomass of zooplankton and that of phytoplankton come to the level as much as in fertile water fish pond (that is to say, the biomass of zooplankton is between 5 and 30 mg/L and the ratio is between 1/4 and 1/3).
The amount of organic detritus and total bacteria not only surpassed those in unmanured fish pond but also exceeded 22.6% and 8.7% than those in pig-manured pond. (see Table 7–3–5 and 7–3–6)
Table 7–3–4 Comparison Between the Contents of Cow and Pig Excreta
| Kind | moisture | Organic material | N | P2O5 | K2O | Source of data |
| Milk cow dung | 85 | 11.4 | 0.36 | 0.32 | 0.20 | FFRC |
| Cow dung | 80–85 | 14.6 | 0.3–0.45 | 0.15–0.25 | 0.05– 0.15 | Agricultural technical handbook |
| Pig manure | 85 | 15 | 0.5–0.6 | 0.45–0.6 | 0.35– 0.5 | |
| Cow urine | 92–95 | 2.3 | 0.6–1.2 | trace | 1.3–1.4 | |
| Pig urine | 97 | 2.5 | 0.3–0.5 | 0.07–0.15 | 0.2–0.7 |
Table 7–3–5 Inorganic Salt Content in Cow-manured Fish Ponds
| Kind of Pond | Amount of manure (kg/m3/day) | Inorganic N (mg/l) | Inorganic P (P2O5) (mg/l) |
| Cow-manured | 0.024 in wet wt. | 0.879 | 0.024 |
| pond | 0.0037 in dry wt. | ||
| High yield | - | 0.97--2.06 | 0.003--0.17 |
| pond | (1.38) | (0.028) |
Table 7–3–6 Quantity of Natural Food Organisms in Cow-manured Ponds
| Kind of pond | Phytoplankton (mg/l) | Zooplankton (mg/l) | Bacteria ind/mg | Organic detritus (mg/l) |
| Cow-manured | 19.15±6.5 | 5.61 | 5.18×104 | 64.44 |
| pond | ||||
| High yield | 46.2–47.8 | 10.1–15.1 | 67.9–111.2 | |
| pond | (46.8) | (12.7) | - |
It is the increase of natural food organisms, detritus and bacteria in fish ponds that enables the filtering and omnivorous fish to grow faster. According to the experiments of Chinese Freshwater Fisheries Research Center, the output of Silver carp, Bighead, Common carp and Japanese Crusian carp Carassius carassius in cow-manureed pond is 3.5 times, 2.8 times, 3.3 times, 2.2 times the output in unmanured pond respectively. (See Table 7–3–7)
Table 7–3–7 Effects of Cow Manure on Fish Yields
Duration of growth: 115 days Water volume: 53.4 m3
| Pond | Cow-manured pond | Control pond | ||||||
| Item Species | Gross yields | Net yields | Increase rate | Survival rate | Gross yields | Net yields | Increase rate | Survival rate |
| kg/mu | kg/mu | g/ind/day | (%) | kg/mu | kg/mu | g/ind/day | (%) | |
| Silver carp | 54.5 | 36.2 | 0.71 | 99 | 15.5 | -3.0 | 0.08 | 69 |
| 11.0 | 6.8 | 0.55 | 100 | 3.9 | -1.0 | 0.04 | 75 | |
| Common carp | 17.9 | 14.6 | 0.92 | 93 | 5.5 | 0.6 | 0.06 | 93 |
| Carassius carassius | 33.8 | 12.8 | 0.37 | 100 | 15.7 | -2.8 | -0.29 | 100 |
| Total | 117.2 | 70.4 | - | 98 | 40.6 | -6.2 | - | 82 |
The conversion coefficient of cow manure is 3.15 in dry weight or 21 in wet weight at the average manuring rate of 0.17 kg/m3/week in filtering and omnivorous fish farming and it is 3.3 in dry weight or 26 in wet weight at the same input in Silver carp and Bighead culture. On the basis of the investigation data, about 200 kg of cow urine can be converted into 1 kg of Silver carp or Bighead.
(2) No risk in fish farming using cow manure
Cows are ruminants. It is due to repeated grinding and digestive decomposition catalyzed by great amount of micro-organisms in rumina that cow manure is very fine. It can suspend longer in the water. The sinking speed of cow manure particles is 2.6 cm/min and that of pig manure particles 4.3 cm/min. If the same amount is applied, the sediment of pig manure is 33% higher than that of cow manure after 24 hours while the suspended organic detritus below 0.65u in size in cow-manured pond is 39.99 mg/L, which is 153.4% higher than that in pig-manured pond. And it occupies 54.6% in total amount of suspended particles, which is the highest percentage compared with that in pig, duck, or chicken-manured ponds. The suspensibility not only enables fish to get more feeds but also reduces oxygen consumption caused by manure stacking and avoids forming of harmful gases. The BOD of cow manure is lower than that of other livestock manures because the cow forage has already been decomposed by micro-organisms in cow's body. The BOD of 1 kg of cow manure in five days is 20.6g, 32% lower than that of pig manure which is 30.0g. The same tendency appears when they are in fish ponds. (See Table 7–3–8)
In one week's consecutive measurement, the lowest dissolved oxygen content in cow-manured pond at 5:30 a.m. is 1.8 mg/L while that in pig-manured pond is 1.0 mg/L. The average dissolved oxygen content is 4 mg/L in cowmanured pond but only 3.3 mg/L in pig-manured pond. By virtue of suspensibility and low oxygen consumption of cow manure, fish farming using cow manure is more safe. Freshwater Fisheries Research Center conducted an experiment on different livestock manures in fish farming in 1983. It indicated that the survival rate of fish in cow-manured pond is 98%, second to none. (See Table 7–3–7)
(3) Wasted food of cows for fish farming
Cows feed chiefly on grass. During the grass growing season of about 7 months, the fresh fodder grass for each adult cow amount to 9000--11000 kg. But the leftover occupies 27.9%, around 3000 kg. However, that period of time happens to be the highest ingestion seasons of herbivorous fish, therefore, the wasted fodder of cow can be utilized as fish feeds. The results differ with different quality of grass. The food conversion coefficiency of terrestrial wild grass is about 40–50. The matted grass in cow shed can only be used as compost of the pond but the leftover of fine fodder for cows can be used as fish feeds.
2) Management of fish-cum-cow integration
(1) Disposition and proportion
In the integrated fish farm, cow sheds should be built in the vicinity of fish ponds so as to utilize cow manure at hand. The faeces and urine are collected separately, the former transported by convyor or boat or car and spread evenly, the latter pumped into fish pond. If the floor of cow shed is higher than the pond dike, manuring ditch could be dug to collect faeces and urine together, then to flush them into fish ponds. It saves time and labour. But the above methods often cause stacking of manure and uneven fertilization. The best way is to mix up cow dung and urine and to pump them into fish ponds evenly. If the hose pipe has a spray nozzle, the result will be better. If the area of fish ponds is large, the boat dragging a stern manure bucket could be used. Then manure will be evenly spread by the waves caused by sailing.
Proportion here means the area of fish pond matched with one milk cow. It depends on synergism of many factors, such as the amount of cow manure and wasted food; the species ratio and target output of fish; the sediment of pond; the quality and quantity of pond humus; other manures and feeds applied. Supposing fish culture wholly depends upon cow manure and wasted food of cows with a net production target of 250 kg, among which 10% is herbivorous fish, the rest filtering and omnivorous fish, each milk cow can provide manure and feeds for fish in 2 mu of fish pond. If the proportion of feed-eater increases, the method of calculation of fish-cow proportion is shown in the empirical equation related to manure demand and quantity of livestock and poultry in model plan.
(2) Period and frequency of manuring stands on the transforming speed of cow manure and season change and the rule of the ebb and flow of natural food organisms in fish pond. In 1983, Freshwater Fisheries Research Center carried out an experiment on measuring the peak time of N and natural food organisms at different water temperature in a fish pond manured once a week. It showed all nutritive factors had two peaks in a week. The high peak appeared earlier when the water temperature rose. Therefore, the guidelines to determine period and frequency of manuring are as follows: In late winter and early spring, with sufficient base manure, a few times but in large quantities, that is once every 5–7 days; in spring and autumn, once every three days; in summer, once every day or every two days in small quantities and it's better to manure everyday and make some adjustment according to weather, water colour and fish growth.
(3) Stocking pattern in fish farming by applying the waste in cow raising Cow dung and urine is beneficial to filtering and omnivorous fish culture. Therefore, Silver carp and Bighead are taken as major species assorted with omnivorous fish (Common carp as main minor species), and 15--20 % of herbivorous fish. If it's over that ratio, supplemented feeds must be applied. It's optimal that the output of herbivores occupies around 12% of total net output of the pond.
3) Economic benefits of fish-cum-cow integration
Both milk and fish harvests
Each black-and-white milk cow after three births can produce around 5000 kg of milk annually, which contains 155 kg of protein. Except the milk for calves, each cow can not only supply the market with 4500 kg of milk, but also can provide feeds and manures for fish farming, which in turn can produce 500 kg of fish containing 55.8 kg of protein annually. Each cow can provide a total of 210.8 kg of protein that is 3700,000 kcal in calorie value annually. Fish-cum-cow integration can increase protein by 36 % and calorie value by 10.6 % above the unitary cow farming and it can increase protein by 2.7 times and calorie value by 9.5 times over those produced by unitary fish culture.
Increasing revenues, decreasing expenditure
Fish-cum-cow integration can get more money from fish, milk and calves. The output value of each milk cow is averagely more than 3100 yuan. The excrements and leftover of one cow can be converted into 500 kg of fish without additional feeds and manure. Therefore, it can reduce half of the cost of fish farming.
Alleviating unemployment
In fish farming, raising four cows can offer one opportunity of employment for people.
Saving energy
Fish-cum-cow integration can provide feeds and manure for fish farming so that it can save a lot of energy for transportation. However, the investment of fish-cum-cow integration is much greater at one stroke. It needs about 2500 yuan RMB for each milk cow and attached facilities. On the basis of investigation, the profit rate of cow is higher, which is about 30%, that is to say, 100 yuan net profit can be gained from 300 yuan fixed capital. In term of net profits and cost saving in fish farming, the economic return of investment will cover less than three years.
Table 7–3–8 Comparison of oxygen demands of different manures
| Fish ponds | cow manured | pig manured | chicken manured |
| Oxygen consumption | |||
| Index | |||
| BOD (mg/l-day) | 3.66 | 5.48 | 6.27 |
| COD (mg/l-day) | 13.7 | 14.01 | 14.51 |
Section 4 Models of Fish-Livestock-Crops Integration
The model of fish-livestock-crop integration is the transverse combination of fish-cum-livestock and fish-cum-crop models, namely, to utilize animal manures and pond silt from fish-cum-livestock integration as agriculture manures and to utilize crop products from fish-cum-crop integration as feedstuff for fish and livestock. So far the most popular model is pig-grass (vegetables)-fish and vegetables-pig-fish integration, etc. The former develops more rapidly nowadays.
In fish-cum-pig integration, all pig excreta are used to fertilize fish ponds with plankton-eater as major species whereas in pig-grassfish integration, part or the whole of pig excreta are used as manure for terrestrial and aquatic fodder plants with high-yielding pasture grasses as major crops. Green fodder crops are used to culture herbivorous fish and bring along rearing filter-feeding fish. No or just a little pig excreta go down directly to fish ponds. Finally, pond silt accumulated in fish farming returns to the land as crop fertilizer. (See Figure 7–4–1) The new nutrient cycles and energy flow is thus set up in pig-grass-fish integration. Both terrestrial and aquatic primary productivity is fully utilized. Therefore, its structure is more rational and more effective in comparison with fish-cum-pig integration. It can make up for insufficient manures in fish-cum-grass integration.
1. Ecological efficiency of pig-grass-fish integration
1) To raise utilization efficiency of light energy
The products of photosynthesis depends on the amount of light that is the product of light intensity by sunshine time. Terrestrial pasture grasses can absorb light energy from the sun directly and can avoid shading each other under artificial control, e.g. mowing in time, so as to reduce the reduction rate of radiant energy. The rate of reduction of radiant energy in water is higher than that on land because the water surface reflects and scatters light. When the sun rises high, the light intensity will be reduced 6% because of reflection of calm surface or 10% because of reflection of waving surface. When the sun rises or sets, most of light can not enter into water due to the shading of pond sykes, therefore, so far as the sun light is concerned, daylight in water is shorter than daylight on the land. If the gradient of a pond dyke is 30 degree the sunshine time of the pond water along the pond dyke is reduced by one third in comparison with that on top of pond dykes. The lower the water level and the smaller the pond area, the shorter the sunshine time. Since there is a large amount of suspended and dissolved substances in fish ponds and especially plankton propagate greatly, auto-shading occurs and it's hard to control. According to the experiments of Freshwater Fisheries Research Centre, the transparency and the amount of suspended substances are in inverse proportion. In a natural pond, the coefficient of correlativity r=-0.9083. The regression equation is as follows:
Y = 247.692 - 2.840 x
Y = transparency (cm)
X = the amount of suspended substances (mg/L)
Larcher (1980) realized that radiation intensity is in inverse proportion to the water depth, decreasing in the form of exponent (or index). When the sky is evenly clouded, the light intensity, according to synchronous measurements, on the soil surface with the depth of ryegrass of 40 cm, is 900 lx, which is 13.43% of that on the surface of grasses and that means its relative light intensity reaches 1.8% of 50 klx, the saturated point of net photosynthesis of land grasses; the light intensity at 40 cm below the water surface of a pond is 28 lx, the relative light intensity is only 0.42% of that on water surface. It only reaches 0.14% of 20 klx, the saturated point of net photosynthesis of phytoplankton. Moreover, 40 cm is the maximum height of ryegrasses to be mowed. In the growing or ratooning phase before mowing, the relative light intensity is much higher than the measured one while the relative light intensity in the pond cannot be increased artificially. Therefore, from the view point of light intensity and sunshine time net photosynthesis of phytoplankton cannot compare with that of terrestrial plants either in a specific time or in a period of time.
Terrestrial grasses have greater ability to photosynthesize than phytoplankton. Under the normal supply of carbon dioxide and with an optimal light, temperature and water conditions, the uptake of carbon dioxide of sunplant herb is 20–50 mg/dm2/hr. The intake of energy and the primary productivity of terrestrial grasses are higher than those of phytoplankton. Manured with pond silt alone, the yield of ryegrass can reach 4500 kg/mu in Apr. and May. The average daily output is 82 kg in May. The average daily yield of Sudan grass can reach more than 100 kg/mu.
The net output of oxygen produced by phytoplankton in Wuxi or Xiamen is 8–10g o2/m2/day. So the net yield of phytoplankton is only 42.3–52.9/ma/day. (Le xing-zhi et al). From the measurement in Wuxi high yielding fish pond, the net yield of phytoplankton in peak period was 41 kg in wet weight per mu per day, only 50% of the net yield of rye grass, 41% of the net yield of Sudan grass per mu per day.
After calculation, in accordance with the balanced equation of photosynthesis, 1 kg of O2 is equal to 6.1 kg of phytoplankton in wet weight while 1 kg of O2 means producing 3.51 Mcal of energy. Therefore, 1 kg of phytoplankton averagely holds 0.575 Mcal of energy. Daily output of plankton from May to Aug. is 41 kg/mu, that is, 23.575 Mcal. 1 kg of ryegrass holds 1.035 Mcal. Daily output of ryegrass in May holds 84.87 Mcal, that is 3.6 times that of phytoplankton. 1 kg of Sudan grass holds 0.75 Mcal. Daily output from June to Sept. is 77.25 Mcal, which is 3.3 times that of phytoplankton. In the case of rye grass and Sudan grass. We can see that the primary productivity of terrectrial grasses is 2 to 4 times that of phytoplankton in high yielding fish ponds and the output of energy 3.3–3.6 times. The yield of terrestrial grasses can be further increased through cultivation and popularization of good varieties of seeds, rotation systems and intercropping with leguminous grasses and scientific management. On the contrary, how to increase the primary productivity of phytoplankton is a hard nut to crack so far.
The utilization rates of primary productivity of phytoplankton and terrestrial grasses by fish are different. Furthermore, phytoplankton can continue their propagation only after part of seeds remain in a pond. He Zhi-hui (1983) calculated the consumption of phytoplankton in high yielding fish ponds in Wuxi. The direct phytoplankton consumption of Silver carp, Bighead, Tilapia and Crucian carp or through zoopalnkton accounted for 82% of the biomass of phytoplankton. (70% of the zooplankton are consumed by plankton-eater.); whereas the utilization rate of ryegrass with the height of 50 cm or Sudan grass below 1.2 meter by fish is 100%.
2) To utilize two primary productivity
Compared with manuring the pond water, pig-grass- fish integration utilizes high effective primary productivity of terrestrial grasses and at the same time, it also uses the primary productivity in fish ponds. In this system, herbivorous fish are the major species, which are stocked according to the stocking pattern with net yield of 400 kg/mu. The mean capacity load of herbivorous spp. is 190 kg. The daily Sudan grass ingestion of herbivorous fish occupies 22.5–30% of the body weight of fish, average 25%. Thus, the ingestion of herbivorous fish is 48 kg/mu/day. The excreta of herbivorous fish are about half of its ingestion amount, so the daily amount of excreta are 24 kg. On the basis of analysis of South-Western Normal College in China (1977), the N and P contents of Grass carp excreta are 1.102% and 0.426% which are three times and two times those of pig excreta respectively. At least, the daily excreta of herbivorous fish are equal to 24 kg of net pig manure. During the 250 days of ingestion period, the amount of excreta of herbivorous fish are equal to 6000 kg of net pig manure or the amount of net excreta of 6 pigs. It's near to the total amount of manure application in the fish pond with Silver carp and Bighead as major spp. Thus, growing grass by using pig manure can provide sufficient fodder grasses to the herbivorous fish, the excreta of which, in turn, can supply nutritive salts enough for the fish pond so that the primary productivity of the fish pond can reach the mean level of the pig-manured pond. In Wuxian, Zhangzhuan Aquaculture Brigade which has adopted pig-grass-fish integration, all the pig manure are used to grow grasses. No additional manure is applied to the fish pond with herbivorous fish as major spp., which occupy 55–72% of the total stocking amount. The water colour looks green and brownish green with transparency of 10–35 cm. For example, in pond No. 33 with herbivorous fish occupying 72%, the average transparency is 17.5 cm. According to the regression equation of phytoplankton and transparency after He zhi-hui.
Y = 153.69 - 3.06 x
Y = the biomass of phytoplankton (mg/l)
X = transparency (cm)
The biomass, of phytoplankton of that pond is about 100 mg/l. The biomass of phytoplankton of high yielding fish ponds in Wuxi is between 20 and 100 mg/l. It indicates that the excreta of herbivorous fish can fertilize the pond water and provide sufficient biomass of plankton demanded by plankton-eater.
Pig-grass-fish integration can avoid certain ecological defects caused by direct application of pig manure in ponds. The direct application increases the BOD and lowers the dissolved oxygen levels esp. if stacking application of manure is adopted at ten-day intervals. The BOD5 = 29.09 – 30.75 g/kg. According to the experiments of Fresh water Fisheries Research Centre, the average BOD1 of fish ponds are 4.10 mg/l and 5.48/1 respectively when pig manure is spread evenly into the pond at the rate of 0.12 kg and 0.29 kg/m3/week. At 5:30 in the morning, the average D.O. is only 1.0 mg/l. Zhangzhuan Aquaculture Brigade adopted pig-grass-fish integration in 10 ponds, and supplement molluscs and fine feeds without any other manures in fish ponds. The carrying capacity of 9 ponds were from 779.3 to 1350.5 kg/mu except one pond with 475.3 kg/mu. All Dissolved oxygen levels were high. The minimum DOL was 2 mg/l and average 4.6 mg/l in Pond No. 10 with the highest carrying capacity.
Because this system utilizes two primary productivity, avoiding some ecological defects, there is a greater potentiality of increasing fish yields. In terms of many reports from abroad, the fish yields of filterfeeding species and omnivorous species in a manured pond only reach 15–31 kg/ha/day when they are monocultured or polycultured as major species. Generally speaking, the yield of plankton-eater is 300–400 kg/mu. It's difficult to surpass this figures and moreover, the economic efficiency will be reduced when the yield increases. Nowadays, in most of fish ponds with the yield of 500 kg, the herbivorous fish are cultured as major species with grass as main food and without application of manure or with just a little manure.
The excreta of 1 kg of herbivorous fish can fertilize the pond water and produce 0.2–0.5 kg of Silver carp and Bighead. The larger the size of fingerlings the more their ingestion, and the more the number of planktoneater that they bring along. In Grass carp rearing pond with gross yield of 110–150 kg compared with Grass carp rearing pond with gross yield of 50–100 kg, the net yield of plankton eater is 37.5 kg higher.
In fish-pig link, filter-feeding fish and omnivorous fish feed on detritus and the bacteria on detritus. The relationship between the fish yield and both detritus and bacteria depend on their quality rather than on their quantity, therefore, it can not be overestimated just according to the amount of detritus in a water body. The experiment of Lin Wan-lian also proves on one aspect that it is a loss to use pig manure to grow grasses for fish farming so far as part of detritus, which can be utilized by fish, is concerned. Nevertheless, the good effects of pig-grass-fish integration can make up for the loss. What's more, the effects of detritus is not so good.

Fig. 7–4–1 Nutrient cycle and energy flow in pig-grass-fish integration
| - - - fish-pig | pig-grass-fish |
2. The economic efficiency of pig-grass-fish integration
On the basis of ecological principles and its good economic efficiency, the pig-grass-fish integration can get better economic efficiency than fish-cum-pig integration. In 1979, Zhangzhuan Aquaculture Brigade performed a productive test. 50 kg of pig exereta (pigsty effluent occupies 50%) or 50 kg of nightsoil can produce 56 kg of terrestrial grasses. 50 kg of net pig manure can produce 112 kg of grasses. The Food Conversion Coefficient of English rye grass and Sudan grass is 18.4–27.5, average 27. Thus, 100 kg of pig excreta through growing grass can be converted into 4.2 kg of herbivorous fish, bring along rearing 1.5 kg of filter-feeding and omnivorous fish, the total yield is 5.7 kg. According to the tests of Freshwater Fisheries Research Centre, 100 kg of pig excreta can be converted into 2.5 kg of fish, whereas 50 kg of net pig excreta through growing grass can produce 3.2 kg of fish, increasing 133 %. In pig-grass-fish integration, the dominant species are herbivorous fish, which can meet the demand of the market and gain much profit. 100 kg of pig excreta are used to grow grass then to culture fish, resulting in the increment of 2.90 Yuan which is 1.34 times that of fish farming by applying pig excreta directly.
3. Allocation of pig-grass-fish
In the combination of pig-grass link, the guide line is to facilitate grass planting and manure application. If grasses are planted on pond dykes only, the simple pig sty can be built near the pond; if there is a fodder field beside pond dyke, centralized pig shed near fodder field is taken into consideration. Firstly, the ratio of pig and grass depends on unit-area yield of pasture grasses. Below the critical level of high yield, the more the yield, the more the number of pigs. Secondly, the ratio also depends on the utilization of pond silt. The more pond silt is used, the fewer the number of pigs. Thirdly, it depends upon the quality of soil and pig manure and varieties of pasture grasses. On the basis of production test for ryegrass and sudan grass grown all the year round, the best allocation is 5–6 pigs per mu. The combination of fish-grass link has already been introduced in fish-cum-crop integration.
Section 5 Web of Integrated Management
In order to raise the utilization efficiency of energy, to decrease cost, to increase products and income, several models could be interwoven to an integration web thru longitudinal and transverse nutrients cycles and energy flow in line with the local conditions. There are three kinds of integration web so far.
1. Multi-level comprehensive utilization web
In the light of different utilization of nutrients by various specialized trader the trades can be connected in series with nutrient cycle and energy flow as a master line. An integration wed can be regarded as a number of connected nutrient cycles and energy flow. The popular form is recycling of animal manures.
| E.g. | chicken | pig | fish | |
| grass | fish | |||
| vegetables | chicken |
That is to say, in recycling of chicken manure, the spilt and undigested chicken feeds can be fully utilized. Sgan Bei Livestock and Aquaculture Farm adopts this kind of integration web. Not only can chicken manure be fully utilized but also it can save about 25kg of fine feeds for pig. increasing net income by 47 yuan/pig. Furthermore, through simple deodorization and sterilization, chicken manure is mixed with fine feeds as composite pellets, which can be used to feed chicken again and then chicken manure can be fed to pig.
In Zhejiang Province, there is a common multi-level comprehensive utilization model, that is, cow-mushroom-earthworm-duck-fish or cow-mushroombiogas-earthworm-duck-fish. Cow dung can be used to grow mushroom; cow urine for fish farming; mushroom soil for earthworm culture; and then, earthworm is fed to ducks, the excreta of which is applied to fish ponds. The levels can be rearranged in line with the local conditions. Thus, different constituents of cow excreta are utilized at different levels or the new constituent produced at the preceding level can be utilized by the next level.
2. Parallel-cennected web of multi-trades
With fish farming as the center, there may be a parallel connection of multi-trades, such as fish-livestock-crop integration to create sources of feeds and fertilizers. The products and wastes are utilized reciprocally among all trades. Most of integrated fish farms adopt this kind of integration web. (See Fig. 7–5–1) E.g. in Xiang Yang Aquaculture Farm, fish farming is combined with pig, cow and geese raising. Animal manures which is self-supporting are used for fish farming and for crops such as pasture grasses, squash, sweet potatoes and soybean and at the same time for cultivation of aquatic plants such as water hyacinth, Spirodella spp. and Wolffia arrihza which are used as feedstuff for fish, pig and geese. Although soybean is planted on pond dyke in the latter part of a year, water hyacinth can offer 80% of green fodder for fish and pig.
3. Fish-livestock-crop and agriculture-industry-commerce web
On the basis of parallel connection of fish-livestock-crop integration, all trades develop on both input and output ends. On input end, feedstuff processing industries can be set up and food can be utilized at multilevels; on the output end, the products of all trades needs processing and marketing. The waste of processing factories is used to raise livestock and poultry. This is a combination, which can raise the level of comprehensive utilization of natural resources and the rate of utilization of energy and can increase the products of fish, livestock and poultry resulting in the increment of value, income and job opportunity.
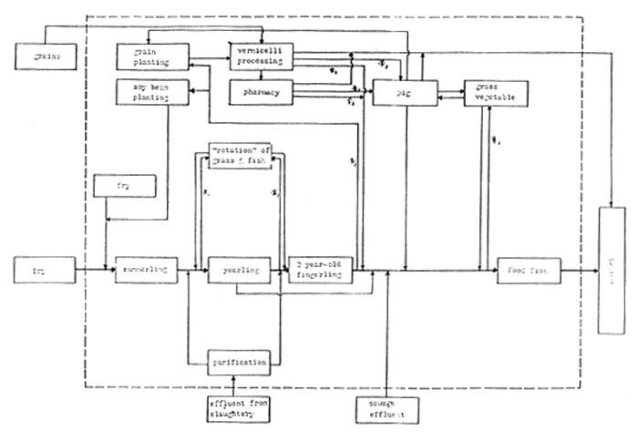
In 1970's, this type of integration web was set up in Dong Hu Fish Farm, Siang Yin County, Hunan Province ( See Fig. 7–5–2). In recent years, the management structure and the scale of this web have developed, further, e.g. Helei Fish Farm has developed into an aquaculture, industry and commerce combination. (See Fig. 7–5–3) On the axis of abscissae, they integrated fish farming with grass cultivation, pig, cow and duck. On the axis of ordinates, they process crops, pupae so as to provide green fodder, pupae waste water for fish, livestock and poultry at the end of input; at the end of output, they process the products of livestock. e.g. making preserved egg, slaughtering ducks. The waste of processing factories can be used as feeds for fish, livestock and poultry or fertilizers for fish ponds. The processed products go to market home and abroad. Thus, the economic efficiency can be raised greatly. For example, in 1982, the average net profit was 6.78 Yuan/duck. The people who are engaged in duck raising and egg processing occupy 17% of the personnel of the farm while the net profit accounted for 43%.

Fig. 7-5-1 Integrated Fish Farming Network in Xiang Yang Aquaculture Farm, Wuxi
Note: *1 silt; *2 cow dung, pig manure; *3 milk and meat pig; dash line means out of the unit.

Fig. 7-5-2 Integrated Fish Farming Network of Donghu Fish Farm in Xiang County, Hunan Province
Note: *1 silt; *2 by products and wastes; dash line means out of the unit.

Fig. 7-5-3 Integrated Fish Farming Network of Helei Fish Farm
Note: *1 pig, cow excrement; *2 duck manure; *3 wastes from duck slaughtery; *4 pupae; *5 pupae, waste water from pupae and water hyacinth; *7 silt; dash line means out of the unit.