Previous Page Table of Contents Next Page


6. Livestock house and biogas system


6.1. Animal feeding and its house
6.2. Biogas production
6.3. Biogas as a substitute for diesel fuel
6.4. Cogeneration units


To build a biogas system associated with livestock raising is one of the important contents of a Energy Integrated Demonstration Base. Livestock feeding can make use of the agricultural grain production, stalk, and other biomass, which are produced by the Base. And the system can also supply meat and other animal products. The agricultural waste materials such as dung, and distiller's grains from ethanol production are better materials to produce biogas. The biogas is a kind of high quality fuel which can provide heat energy for the Base.

The schematic diagram of livestock raising and biogas system is shown in Fig.6.1

Fig. 6.1. Schematic diagram of livestock raising and biogas system

6.1. Animal feeding and its house

6.1.1. The varieties of livestock

There are several choices to determine the varieties of livestock in the Base. The main factors considered are as follows:

- Certain quantity and variety of forages provided by the Base.
- Animal dropping and sewage suited for producing biogas.
- Profit and adaptability of the animal production in the market.
- Ability and experience of feeding animals.

When all the factors are considered comprehensively, the kinds of live stock that can be selected are pig, chicken and cattle. The chicken may be egg or meat chicken, and the cattle may be beef or milk cow. In the Base, there are several tens hectors of land that can provide enough soybean, maize and sorghum as forage for the livestock. Sweet sorghum which has a high sugar content in its stem can be used as high quantity forage of cattle after the juice in the stem is squeezed out to refine ethanol. However, after all the conditions of the Base, especially from the economic and equipment points of view, were considered, it is known that chicken feeding needs better conditions of the building, equipment, and epidemic prevention. Hence, the profit was not high; In addition, the cycle of cattle feeding was rather long and the speed of capital turnover was low. There fore, it was decided to give a priority to raise pig, at the same time to feed a few other animals experientially.

The scale of livestock feeding should be consistent with the scale of other projects in the Base. Since the land in the Base can provide enough forage, the only factors which determine the number of livestock are the size of the animal house, capacity of biogas digester, and the economic proportion of animal feeding in the Base as a whole. According to project document, the tasks of feeding 180 head pigs, building 25 m3 biogas digester to produce 25 m3 biogas were proposed. According to the calculation of six months growing up, twice selling yearly of pigs, the average number of living pigs is 90.

6.1.2. Pig house

A. Plastic-covered pigsties

On the basis of using plastic greenhouse experience in the fruit and vegetable production, many plastic-covered pigsties have been developed in northeastern cold regions of China in recent years, obtaining many benefits. The above type of pigsty was adopted in the Base. The design purpose was to make full use of sunshine and heat energy produced by the pigs in order to keep a suitable growing-up temperature indoor without using conventional energy. In this case, the pigsty wall should be protected by heat resistance materials. At the same time, the ventilation and excluding humid should be practised. After the climate becomes warmer, the plastic cover should be uncovered gradually to promote ventilation. Finally, the plastic cover was taken off completely during the summer.

B. Selection of pigsty location

Originally, there was a row of simple old storage houses which stored tools, seeds and fertilizers in the north part of the Base. During the construction of the Base, a new pigsty was built on the foundations of old storage houses in order to decrease the construction costs. Because this pigsty is located on the high ground, the manure of pigs can flow out automatically. The pigsty orientates toward the south so that it can make full use of solar energy. There is a enclosing wall to the north of pigsty. The wall can prevent the pigs from the cold wind during winter. The pigsty is located on north side of the Base. This is advantage for the sanitation and epidemic prevention. On the open space to the east of the pigsty, two similar pigsties were built so that the number of pigs was increased. Under the pigsty, a hydraulic biogas digester was built to produce biogas from the manure of pigs directly.

C. Pigsty area and feeding density

The actual calculating dimensions of the reconstructed pigsty are as follows: The total length is 24 m, which is divided into seven parts; The pigsty span is 5.4 m, except the walk channel. The net area of each part is 10 m2, which includes pig beds, eating and walking spaces of pigs. The feeding density is the number of pigs per unit area in the pigsty which is expressed by head/m2 or m2head. The feeding density influences not only the sanitation inside the pig sty, but also the group behavior, the health and the growing of pigs. In addition, the feeding density is also related to the pig's weight. Generally speaking, the density is 0.6 m2/head and 1.10 m2/head when the weight of pigs are 35 kg-50 kg and 75 kg - 100 kg, respectively. According to the above regulations, each part of pigsty can raise 8-9 heads of pigs. If the two additional pig houses in the eastern side are included, about 70 heads of pigs can be fed in the Base.

D. Construction design

The front and behind walls of the pigsty are constructed with bricks. The front one is 24 cm thick and 1 m high, The behind one is 37 cm thick and 1.8 m high. The left and right walls are all 37 cm thick. The roof of the pig house is consist of several covers. From the bottom to top, there are successively f 120 purlin, 120, mm thick pearlite layer of insulation, the cement mortar with 1: 3 proportion plane, and the waterproof layer. The pig beds were built with the concrete insulating brick whose dimension is 600x300x100 mm. And the three-join layer including earth, stone, and brick, is 120 mm thick. The pig bed is toward the exist and the neighbor pig house to form a slope of 2% so that the pig waste can flow down to the manure ditch automatically. Because the pig bed has floor with leaks, the liquid flows into the manure ditch after the pig wastes reach the floor. And the solid waste is trampled into the ditch. A small amount of waste left in the beds can be treated by the machines or manpower. The walk channel of single row pigsty should be arranged in the northern side. However, the pig house was built on the foundation of the old storage house, the pig bed was already set to the southern side. In this circumstance, the walk channel can only be arranged to the southern side with 1 mm wide. The height of channel must be convenient for workers to walk. Therefore, it is 1.75 m high in the Base.

E. Dip angle and solar radiation energy

The cover of pig house is a plastic film with 0.08-0.12 mm thick. Besides the texture and thickness, the solar incident angle also affect the penetrate rate of sunshine of plastic film. These relations can be seen in figure 6.2. When the incident angle is below 45 °, the penetrate rate can be above 80%.

Fig.6.2 The penetrate rate of plastic film

The latitude of Shenyang areas is 41 ° 46' in November, December, January February, and March of winter each year, the lowest solar altitude angle is 25° (December) and the highest is 48°(March) at noon. In order to enlarge radiation energy through the plastic film, the slope of plastics should be arranged at 50 ° -55°. In this way, it is difficult to see the back height of span and setting indoor. In fact, the slope of plastic film of pig house in this Base are as follows: The top part is 15°, the part against front wall of pig house is 55°, which are slightly different from the required values. However it still assures that the penetrate rate of sunshine is above 80%.

F. Ventilation and excluding humidity of pig houses

After the plastic film on the pig houses is covered, ventilation and excluding humid become glaring problems. The pig house temperature indoor by absorbing the solar energy radiation and the heat energy which the pigs giving off is much higher than that outdoor (in winter). At the same time, the dung, forage, washing water, and pig bodies continuously evaporate the vapor, leading to an increase of humidity indoor. A lot of dripping water is often condensed on the plastic film. In order to have a good ventilation and to exclude the humid, the ventilation exits are installed, and small drought fan is used to ventilate when necessary.

G. Results contrast between feeding pigs in a pigsty with plastic film-shed and outdoor

There is a better effect to raise pigs in the plastic film shed in the Base, obtaining a certain amount of economic benefits. Although there is only one winter experience, the similar situations of practical experience for many years in the northeast regions of China can be referenced. It can be seen from the experiences that raising pigs in the pigsties with plastic film shed has many advantages over feeding pigs outdoors. They are as follows: During period of growing up, the pigs raised in the pigsty with plastic film shed increase the weight by 14% than that in outdoors. And the forage is saved by 8%. The average temperature indoor is 5.2°C higher than that outdoors. Of which, the average of the highest temperature and the average of lowest temperature indoors are 4.9 °C and 5.6 °C higher than those outdoors, respectively. In the pigsties, the relative humidity increases and the low temperature continued time shortens, the wind speed decreases, and the cool effects of wind to the pig house weaken. All of these may promote the pigs growing well, and produce the distinct economic benefit. The conditions of feeding pigs in the Base will be better in future. And the same benefits will be gained too. In accordance with the practical experience, when the temperature outdoor is below 5°C, the plastic film cover should be closed on the whole day. When the temperature outdoor is 5-15°C, the ventilation should be practised around noon. When the temperature outdoor is 15-20 °C, the plastic film should be uncovered during day, and closed or half-closed during night. It is advisable not to use plastic covered film as the temperature is above 20 °C.

6.2. Biogas production

6.2.1. Materials of biogas production

Two kinds of materials are used to produce biogas in this Base: Dung (pig waste) and distiller's grains.

In a small pig farm, the quantity of dung collection is 4 kg/d per head. There are 90 heads of pigs in the Base, so the quantity of dung each day equals to 360 kg/d. The total solids (TS) is 18%. If the fermentation materials entering the digester are calculated by 8% of TS concentration, the quantity of input mixed materials of digester is 810 kg. In the different fermentation process and digester construction, the outputs of biogas are different. If using a small hydraulic biogas digester, 13 m³/d of biogas can be produced; If the mesophyllic fermentation is practised, the biogas yield will increase greatly. The distiller's grains is stillage of ethanol production excluding from the workshop with high temperature of 80 ° C. The distiller's grains can be used not only for the raw materials alone of biogas fermentation but also for a mixed material with dung so that the higher temperature of the distiller's grains is beneficial for increasing the temperature of fermentation slurry. Because the ethanol production from sweet sorghum may be only carried out during the harvest season, the distiller's grains as raw materials of biogas fermentation will not be supplied continuously. Therefore, the pig waste will be the main raw materials of biogas fermentation throughout the year.

6.2.2. Digester

There are three kinds of digesters: hydraulic, half-plastics, and anaerobic filter with sludge bed which were respectively built under the ground of pig houses, beside the pig house, and on the slope to form a biogas supplied system jointly.

A. Hydraulic biogas digester

Two round hydraulic digesters were built under the ground to the eastern side of pigsty, each of them has 10 m3 volume and 2.6 m diameters. On the basis of 80% of volume to input materials, each digester can be inputted 8000 kg slurry to produce the biogas which will be used directly for the biogas stove and lamp in the pig houses. Combined with other digesters, the biogas produced can be provide to the generator as a power fuel. Because the hydraulic biogas digester was built under the ground of pig houses, and the pig house was covered by the plastic film, the digester can avoid the severe cold during the cold seasons and in winter safely. The biogas residue is a kind of high quality organic manure.

B. Plastic covered digester

The plastic covered digester is a rectangle half-underground pool with 6 m long, 2.6 m wide, and 3 m deep, the pool is covered and sealed by the black red-mud plastics. After the digester is filled with the materials in batch (according to 60% of volume), the digester start-up and produce the biogas which is led out through the duct on the plastic cover and delivered to the biogas tank. In order to increase the outlet pressure of biodigester, a certain load can be added to the plastic cover to adjust the pressure. Because of the bigger area of plastic cover, when the solar radiation is intense, it can have the slurry gain more heat energy, which enables to have an active biogas production process and a high production rate. However this kind of digester does not work during the severe cold seasons. In this case the digester is only as a dung tank. The biogas residues of the digesters after fermentation need to be pumped out.

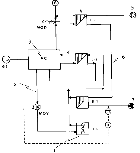
C. Sludge bed + Anaerobic digester (UASB + AF)

This digester will be built on the slope in front of the pigsty. It consists of biogas engineering system with slurry collector, pretreater of raw materials, slurry measuring metre, biogas tank, biogas hydroextrator, desulphurising and post-treatment equipment. The schematic diagram is shown in Fig.6.3. The structures and effects of each part are as follows:

Fig. 6.3. The schematic diagram of Sludge: bed + Anaerobic filter digester

a. Slurry collector: The solid dung is collected into the slurry collector, the water after washing the cement floor and the waste water of ethanol workshop through the heat exchanger flow into the slurry collector to wait for using.

b. Pretreatment equipment: The slurry after getting rid of big solid, with the aid of the natural slope, flow onto the pretreater through the filter. The concentration of the slurry must be above 7% TS, and PH value should meet the needs of biogas fermentation.

c. Measurer: The fermentation materials were introduced to the digester according digester requirements. At the same time, the temperature of the slurry should reach the requirements for mesophyllic fermentation.

d. Digester: The digester is cylinder, folding style, made of reinforced concrete with 25 m diameters, 7 m high and 36 m3 volume. This is because the Base is located at high ground, the digester is not suitable at a place too high, and should avoid wind and preserve heat energy. The digester is consists of two cylinders, the one outside is anaerobic sludge bed digester and the one inside is anaerobic filter. The digester is located at half underground and a greenhouse is arranged on it to enhance the temperature of digester. The slurry is processed by mesophyllic fermentation (35°C).The slurry in the filter was pumped into digester after getting heat energy from the cooling water of the cogenerator and the waste water of ethanol workshop to ferment. This kind of UASB + AF digester has two advantages, namely promoting the biogas production rate and decreasing the hydraulic retention time to make the digester function steady. The materials inletted a day is 1600 kg, and the hydraulic retention time is 21 days.

e. Biogas storage vessel: The storage vessel adopts the pillow type, with a attached weight plate, increasing the pressure to 350 mm of water column to meet the requests of biogas generator.

f. Hydroextracted and desulphurizing equipment: In order to prevent the generator from the erosion of biogas, the centrifugal hydroextractor and the ferrous oxide should be used to get rid of H2S in the biogas.

g. Post-treatment equipment: The exhausted materials are separated into solid and liquid. The liquid flows into the fish pool and solid residue is used as manure.

The start-up of USAB process: After the sludge granules are cultivated, it can improve the subsidence ability of sludge, avoid the sludge upfloat, and make digester work at a high volumetric COD loading to ensure the system to have a steady ability. The granule sludge can stay in the digester for a long time and hence long average cell retention time, so it may accumulate a lot of methanogens to make sludge have higher activity. The biofilm of the granule can protect methanogenens against unfavorable impacts, such as, shock loadings and low pH in the short term, etc. The granule forming of the sludge is the key to UASB digestive process. To keep a long steady ability of the sludge is very important to the normal function.

As the seed sludge is selected, the thicker types of digested sewage sludge can be considered as proper seed materials for UASB digester .If no this condition, the small amount of crushed granule sludge should be added to the seed materials to promote the bacteria growing and divisive. This attached loading is particularly important to stimulate the sludge curdy. Experimental results obtained indicate that 12-15 kg Vss/m3 suffices are adopted when a thick digester sewage sludge is applied for mesophyllic digester start-up, whereas 6 kg Vss/m3 is recommended in the case the seed sludge is relatively thin (<40 kg TS/m3).

The factors which affect cultivating granular sludge are mainly the kinds of substrate, control and operation conditions, nutrients and environmental conditions.

* Slurry concentration and nutritious substance: In the mesophyllic fermentation using pig dung, it is suitable to use 5% TS of slurry in the beginning. And 7% TS should be added after start-up. The method of backflow sludge is recommended when the concentration of inlet water is high.

Trace elements have significant effect on the growth of bacteria in an anaerobic fermentation system. The researches show that the supplementary enzyme F420 of the methanogen contains Nickel. The addition of trace elements, such as Ni, Co, Mo, and ZnSO4, into digesters results in positive effects. All theses elements should be considered during the cultivation of granule.

* Operation and control conditions: The experiments show the main control conditions influencing the process of forming sludge granule is the sludge loading. The granule will be cultivated when the pig dung is 5% TS, and after functioning for a period of time, 7% TS should be added.

* Environmental conditions: All the conditions which are suitable to bacteria growing will promote cultivation of sludge granule. The suitable temperature suggested for the cultivation of granule sludge is ranged within 35° C to 38° C. And PH is kept between 6.5-7.2. The toxic substance which inhibits the bacteria should be avoided.

6.3. Biogas as a substitute for diesel fuel

6.3.1. Introduction

Because of the current energy shortage, there has been much interest in developing new fuels as alternatives to petroleum fuels. Biogas appears to be a feasible fuel for internal combustion engines because it can be derived from agricultural surpluses and residues which provide the raw material for biogas production. By feeding the byproduct of the biogas production process, a farmer may even incorporate the production of his own fuel as an integral part of the food production system. Because a majority of Chinese farmers are equipped with diesel-powered farm machinery and this trend is growing rapidly, it is important to have a clear understanding of the effects of the use of biogas in diesel engines.

6.3.2. Objectives

The objective of the research was to demonstrate the feasibility of using biogas as a alternative fuel for diesel engines, and to determine any associated problem. More specific objectives were to modify diesel engines of types commonly used on farms so that they would operate as efficient as possible on biogas alone, or a mixture of biogas and diesel fuel, and to study the performance of the modified engines.

6.3.3. Performance of biogas alone in L195 diesel engine

A. Equipment

A L195 diesel engine which was coupled to a water-brake dynamometer was converted to biogas alone. Engine specifications are given in Table 6.1. Biogas from digester of brewer's grain liquid was chosen as a fuel. The composition of the biogas was 63 percent methane, 31 percent carbon dioxide and traces of CO, H2 and H2S. The lower heating value of the biogas was 3000 kcal/m3 And the average pressure for biogas inside the storage tank was 600 mm of water column.

Table 6.1. Specifications of LI 95 engine

Number of cylinders

1

Displacement (cm3)

815

Compression ratio

20

Combustion chamber

Indirect injection

Governed speed (RPM)

2000

12 hr. power (hp)

12

Specific fuel consumption (g/hp· hr)

195

B. Modifications of the engine

Several modifications were done. They are as follows:

a. Adding a gas carburettor

Fig.6.4 Gas carburettor

Fig. 6.5 Schematic diagram of the gas supply system

A gas carburettor, especially designed for biogas, was used to mix the gas and the air. It contains a control valve and a T-tube with a venturi throat. Fig.6.4 shows its schematic diagram. the amount of biogas was controlled by the throttle valve of the carburettor to improve the properties of biogas and air mixture. Fig.6.5 presents a schematic diagram of the gas supply system. The gas carburettor was installed in the inlet manifold. In this way, the biogas was first mixed with air from air filter inside venturi throat of the gas carburettor. And then, the mixture of biogas and air was introduced to the combustion chamber of the engine.

b. Modifying combustion chamber

Because the LI 95 engine has a indirect injection combustion chamber, an intensive eddy of air will be produced during operation of the engine. This makes it difficult to start the engine, and to maintain a stable inflammation. Therefore, the area of combustion chamber section was increased in order to eliminate the above problems. After modification of the combustion chamber, the compression ratio also had a slight decrease.

c. Installing a spark ignition system

The original fuel injection system was eliminated. A spark plug was installed in the position of the original diesel injector orifice. The spark plug should be considerably chosen so that its electrodes could be located at a proper position of the combustion chamber.

d. Appending a biogas control apparatus

A conical valve was used in order to control the amount of biogas admitted to the gas carburettor. In addition, a linkage which connects the conical throttle of the gas carburettor and governor of the engine was mounted on the engine. Moreover, a main valve was used for controlling the flow of biogas. A gas flow meter was used for measuring the flow rate of biogas. And a U-shape manometer was used for measuring the pressure of biogas, and a pressure regulator for maintaining pressure of biogas was installed on the engine.

C. Testing procedure

Variables measured were: torque, speed, flow rate of biogas, and exhaust temperature. The torque output and engine speed were measured using a water-brake dynamometer (Model SCJ-l).The temperature of the exhaust gases was determined by thermocouple connected to a potentiometer. The flow rate of biogas was measured by the gas flow meter (Model LZB-25).The compression ratio was changed through increasing or reducing the numbers of cylinder head gaskets. The tests were carried out at different compression ratio conditions, such as 13.4: 1, 16.5: 1 and 17.4: 1. A proper spark timing was determined under each compression ratio after comparison. A piezoelectric pressure transducer was installed in the cylinder head to measure the pressure in the combustion chamber when the compression ratios were 13.4: 1 and 16.5: 1. From the pressure curves, it can be seen that no denotation and misfire occurred. When load performance of the engine, using biogas alone, was tested, the amount of biogas supply was controlled manually.

D. Results

a. Load Performance of the engine

The load performances of the engine at three compression ratios were tested. The results are shown in Fig.6.6. Specifically, when the engine using biogas alone operated at 2000 RPM with 39.2° rank angle of spark timing and compression ratio being 17.4: 1, its load performance data are shown in Table 6.2.

Fig.6.6 The load performances of the engine at three compression ratios

Table 6.2. The load performance of L195 engine using biogas

Force (kg)

Power (HP)

Biogas consumption (m³/hr)

Specific biogas consumption (m³/hp· hr)

2

2.45

5.43

2.22

4

4.89

5.85

1.20

6

7.34

6.06

0.83

8

9.79

6.27

0.64

9

11.02

6.89

0.63

10

12.24

7.52

0.62

From the Fig.6.6 and the Table 6.2, it can be seen that the maximum power of the engine operating on biogas alone was about the 90 percent that of the engine's original power. The temperature of the exhaust gases were ranged within 550 °C to 610"C, which was slightly higher than the usual temperature level. The heat consumption rate was 3000 kcal/hp· hr.

C. Stability of engine performance at low speed

The engine using biogas alone showed a stable operation at a low speed. No vibration occurred. And the engine running with biogas alone performed well at low speed (around 400-500 RPM).

D. Start performance

The engine using biogas alone could be started well as other gasoline engines do. No other fuels were needed to start the engine.

Discussion

The compression ratio has a great effect on thermal efficiency and combustion performance of the engine. High compression ratio means a high thermal efficiency. However, too big in a increase of the compression ratio may cause detonation of the engine. It was unknown what was the maximum compression ratio. However, according to experiments, when the compression ratio reached 17.4: 1, no severe combustion and detonations were observed. From the Fig.6.6, it can be seen that the specific biogas consumption was not very high within a very wide load range when the combustion ratio was 17.4. And the power was also not lower than that of engine's original power. This suggests that biogas has a higher anti-detonation value. Therefore, to increase compression ration is an effective way for improving the performance of the engine operating on biogas alone.

6.3.4. Dual-fueling a 2100 diesel engine with biogas

A. Equipment and procedure

The engine used in this study was a case model 2100 2-cylinder, direct injection diesel engine which was connected to a 12 kw generator. The engine was rated to 22 hp at 1500 RPM. The compression ratio was 16: 1, Because the engine could not reach its maximum loads under the regulated electric load, a baseline study was run in which all of the fuel energy was supplied by diesel oil before it was converted to diesel/biogas blended fuel. The load performance of the engine using diesel oil alone is shown in Table 6.3. Latter, the original diesel supply system was maintained in order to supply diesel oil as a pilot fuel. A gas carburettor was used to mix the gas and air. The converted engine was loaded in a similar manner while diesel/biogas blended fuel was used. Thus, the performance of the engine using blended fuel could be compared to that of engine operating on diesel only.

Table 6.3. Load performance of 2100 diesel engine running on diesel oil alone at 1510 RPM

Power (hp)

Fuel consumption (kg/hr) GT

Specific fuel consumption (g/hp· hr)

0

1.01

-

5.66

1.82

321

12.24

2.79

228

16.46

3.43

206

18.36

-

-

19.72

3.93

199

During experiments, both the compression ratio (16: 1) and the original injection timing were maintained. The flow rate of biogas was also measured by the gas flow meter (Model LZB-25). An automatic fuel weighing system (Model TCY-69) was used to measure diesel consumption. In order to avoid instability of working load, several lamps were used as loads of the dynamo. Each time when the load was added, the amount of biogas and diesel oil were adjusted manually and automatically, respectively. The percentage of biogas should be increased as much as possible as long as normal combustion was achieved, and the speed and voltage were stable.

B. Results and discussions

The 2100 diesel engine using biogas/diesel blended fuel could perform very well at its original power levels. Table 6.4 shows the performance data of the engine with duel fuel at 1510 RPM.

From the Table 6.4, it can be seen that percentage of the pilot diesel fuel was ranged within 10.4% to 17.7% when the load of the engine varied from zero to one hundred. And the percentage of pilot diesel fuel was 15% at medium and full loads. In addition, the relative saving rate of diesel fuel was slightly higher than that which is wanted. Because the high relative saving rate of diesel fuel means the small amount of pilot fuel, leading to instability of combustion. Hence, it is suggested that the pilot diesel fuel should not be less than 15%-20%, and the relative saving rate of diesel fuel should be controlled within 75%-80%. From the tests, it is known that the biogas consumption was 0.6 m³ (at standard atmospheric conditions) when 1 kw · hr electricity was generated.

Table 6.4. Performance of 2100 diesel engine using diesel/biogas Dual fuel at 1510 RPM

Power

Fuel consumption

Specific fuel consumption

Pilot

R

Heat consumption

Diesel

Biogas

Diesel

Biogas

fuel

diesel

(hp) (kcal/hp hr)

(kg/hr)

(m³/hr) G'T

(g/hp · hr)

m³/hp · hr)

(%)

F

(%)

Diesel

Biogas

0

0.41

4.18

-

-


10.4

59.4

-

-

5.66

0.70

4.08

124.0

0.721


17.7

61.5

1265

3605

12.24

0.49

6.58

40.0

0.538


12.4

82.5

408

2690

16.46

0.48

7.63

29.2

0.464


12.1

86.0

299

2320

18.36

0.49

8.15

26.7

0.444


12.4

-

272

2220

19.72

0.53

8.15

26.9

0.413


13.4

86.5

274

2065

Note: GT -See Table 6.3

F =(GT-G'T) /GT x 100%, at the same performance conditions
R-Relative saving rate of diesel fuel
The volume of biogas was measured at standard atmospheric conditions

After experiments, the engine unit was put into real production. It operated more than 132 hours, generating more than 1000 kw · hr electricity. The data from production practice were about the same as that from the tests.

Conclusions

The modifications of a conventional diesel engine to operate on the dual-fuel system using carburetted biogas and injected diesel fuel as proposed in this paper is practicable. When there is no biogas available, the engine can be switched over to diesel oil alone easily.

The engines running on biogas alone or diesel/biogas dual-fuel can perform well at a very wide load range.

6.4. Cogeneration units

6.4.1. Definitions

The term cogeneration means the combined production of electricity and thermal energy; cogeneration allows a remarkable increase in the total output of primary energy exploitation.

Considering that the production of electricity can have a maximum transformation output equivalent to about 40%, by recovering heat, otherwise lost, the total output can be higher than 80%.

Equipment or, more in general, plants utilized for cogeneration are:

-back-pressure steam turbines
-gas turbines
-reciprocating internal combustion engines

As for the production of electricity, the different types of plants are connected to electrical generations, while the thermal energy recovery is carried out by regenerative water-tube type boilers. The main parameters characterizing the different systems are:

-the electric index given by the ratio between the produced electricity and the recovered thermal energy:

le=Ee/Et

-enthalpy to which it is possible to recover heat;

-the electric efficiency given by the ratio between the produced electricity and the primary energy input (fuel);

electric efficiency=Ee/Ep

As regards the cogeneration sets running the following operating modes are possible:

-imposed thermal output system: the cogeneration system follows the thermal demand of the user.
-imposed electric output system: the cogeneration system follows the electric demand of the user.

6.4.2 Reciprocating internal combustion engines

Apart from thermodynamic cycle (Otto or Diesel), cogeneration systems using reciprocating sets allow the thermal energy production by recovering the heat from exhaust gases, cooling water and lubricating oil.

In the case of supercharged engines it is possible to regenerate heat by cooling the combustion air coming out from the turbocompressor.

The thermal recovery is carried out by water/oil, water/water and water/gas in series heat exchangers. A plant diagram is outlined in Fig.6.7.

Fig. 6.7 one-line diagram of plants with reciprocating engine for thermal recovery

1 - emergency radiator
2 - engine cooling water circuit
3 - reciprocating engine
4 - exhaust gases to smoke stack
5 - hot water to user
6 - user circuit
7 - from user max 20°C

Both Otto and Diesel cycle engines are available in small size (10-15 KWe).

The electrical efficiency, according to the type of thermodynamic cycle, is the following:

-Otto cycle engine
electric efficiency =25-31%

-Diesel cycle engine

electric efficiency =32-38%

Since thermal characteristic (temperature) and quantity (flow rate) are different, the recovered heat can be available in various forms.

Assuming 100 as the recoverable heat (equivalent to 55% of the inlet primary energy) follows that about 30% is in the exhaust gases (outlet temperature about 400 °C) while the remaining 70% is in the cooling water (outlet temperature about 80-85 ° C) and in the lubricating oil (outlet temperature about 75-80 °C).

Considering the diagram in Fig 6.7, it is evident that the total heat recovery produces water at 90 °C while a cooling temperature of 60-65 °C is required.

When the temperature of the secondary circuit fluid is higher, it is necessary to give up the recovery of the heat from the oil, which in this case must be cooled with and independent dissipating system.

In a similar way, if the heat enthalpic level to be recovered is higher than 80-90 ° C (superheated water or low pressure steam) the recovery will involve just the heat held in the exhaust gases.

The average electric index of cogeneration sets composed of reciprocating engines, assuming the thermal energy total recovery (production of hot water at 90 °C with a temperature drop of 30 °C) is the following:

- Otto cycle engines le-0.63-0.71
- Diesel cycle engines le=0.71-0.91

It is be noted that in Otto cycle sets, usually fed with gas, the exhaust gases temperatures can be lowered to 120 °C while in diesel cycle sets, fed with liquid fuels (gasoil), the exhaust gases temperature must not be lowered below 150 °C in order to avoid corrosion phenomena due to acid condensate on the flue gases side of the heat exchanger.

Considering the total recovery, the overall efficiency is about 80-85% in both the cases.

A typical energy balance of a Diesel engine is outlined in Fig.6.8.

Fig. 6.8 Energy balance of a cogeneration set with a diesel engine

As regards the operating flexibility, the reciprocating engines can be easily regulated up to 25% of the rated capacity.

The setting up periods are relatively low (few minutes) depending essentially on thermal problems (engines heating)

Fuels which can be used are respectively:

- Otto cycle engines: methane, biogas, sewer gas, air gas (1.300 kcal/m3), gasoline, LPG.
- Diesel cycle engines: gasoil and fluid oil 3/5 Angler degrees for sizes over 600-700 KWe.

A TOTEM cogeneration unit with capacity of 15 KW has been installed on the Base. Performances of the unit are as follows:

electric power = 15 (KW)
biogas consumption=8.4 Nm3
thermal power (KW):

engine =22 (KW)
gas=17 (KW)
total=39 (KW)

References

1. Research group, 1989. Study report on Ecological Benefit of Pig house Covered with plastic Film in Western Liaoning Province of China.

2. Murry, W.P., and L.Van den Berg. 1980. Apl. Environ. Microbiol., 42, 502-50

3. Wan Renxin, 1993, The technical and controlling conditions for biogas fermentation, Biomass Energy.

4. Wan Renxin, Liang Zichao, 1985. Biogas as an Alternative fuel for Diesel Engines. Shenyang Agricultural University.


Previous Page Top of Page Next Page