Les recommandations et les contrôles s'appuient sur des normes internationales, européennes, et nationales existantes et sur des publications spécialisées. Elles utilisent également les connaissances et la pratique des experts travaillant sur ce projet et l'expérience des auteurs sur les applications de pesticides dans les pays en voie de développement.
Les caractéristiques sont présentées selon un modèle qui a été développé par les auteurs sur la base du document de la FAO "Guide de la FAO pour la sélection de pulvérisateurs agricoles de pesticides, Juin 1995", afin d'aider la FAO et les autres agences d'achats dans le choix des pulvérisateurs agricoles.
Chaque module se réfère à un composant principal ou à un groupe de composants fonctionnels à partir desquels les caractéristiques concernant les pulvérisateurs complets peuvent être logiquement réunies. Les différents éléments composants les pulvérisateurs portables sont présentés dans la Figure 1.
Les modules sont divisés en plusieurs parties, chacune présentant une spécification ou une recommandation séparées. Les spécifications n'ont pas pour objectif de définir la forme même du pulvérisateur, elles décrivent les nécessités fonctionnelles ou opérationnelles, et ne doivent en aucune manière restreindre l'imagination du fabricant concernant la conception.
Parce que les exigences et les procédures sont exactement les mêmes, les mêmes modules, paragraphes et mots ont été utilisés. Cela s'applique si le pulvérisateur appartient au groupe des quatre principaux types de pulvérisateurs portables ou à un pulvérisateur porté ou tiré par un véhicule. Par exemple, le module de base sur la pression hydraulique des buses est utilisé aussi bien pour les pulvérisateurs portatifs que pour les pulvérisateurs portés ou tirés par des tracteurs. Le contrôle de la qualité de la pulvérisation va être le même pour tous.
Elles sont présentées en séquences successives pour aider les contrôleurs avec clarté et cohérence. Le but est d'employer un langage clair et simple, sans compromettre la précision technique.
Pour développer ce système, plusieurs Centres de Contrôle internationaux vont être accrédités par la FAO. Ces centres vont tous utiliser la méthode de contrôle décrite dans ce document et l'uniformité entre tous ces centres va être pilotée par la FAO.
L'élément clef de ce système est la méthode employée pour décerner le label "Agréé par la FAO". La méthode FAO de vérification de la conformité est basée sur le simple système de réponse par "OUI" ou "NON" Quand une évaluation chiffrée entre en jeu, celle-ci est basée soit sur des normes standards, soit sur le jugement des auteurs du document et de leur équipe de conseil. Ils doivent toujours garder à l'esprit que les critères utilisés doivent être liés aux besoins de l'utilisation sur le terrain et à celle de la procédure de fabrication.
Le système implique, à la fin de chaque paragraphe de spécifications, de définir (pour chaque élément ou critère de performance) l'opérations ou la série d'opérations de contrôle à mener. Ces opérations sont regroupées en quatre catégories: vérifier, mesurer, contrôler et procédure de contrôle, dont la définition est la suivante:
VERIFIER: Quand une simple observation est suffisante pour établir si le pulvérisateur est conforme ou pas. Par exemple, "Tous les tuyaux doivent indiquer le taux de pression".
MESURER: Quand une simple mesure suffit. Par exemple pour le volume, l'épaisseur, la longueur, la pression.
CONTROLER: Dans certains cas, les contrôles exigés sont évidents et ne nécessitent donc pas une procédure de contrôle plus poussée. Par exemple, le pulvérisateur devrait être stable et tenir debout sans tomber quand il est posé sur une pente jusqu'à 10 %, quelle que soit la quantité de liquide dans le réservoir.
PROCEDURE DE CONTROLE: Série de contrôles, étape par étape, à effectuer comme indiqué dans chaque partie de ce volume.
* obligatoire pour les pulvérisateurs avec reservoir de plus de 1000 litres

Figure 4 : Eléments composant les pulvérisateurs portés ou traînés par un véhicule
Les caractéristiques qui suivent concernent tous les pulvérisateurs agricoles portés ou tirés par des tracteurs, montés sur un châssis construit spécialement, ou intégré à un porte-outils universel agricole ou horticole. Pour des raisons pratiques, tout au long de cette partie, ce type d'appareil sera simplement appelé "pulvérisateur".
Les caractéristiques présentées ci-dessous doivent être lues en se référant à la Figure 4.
Les pulvérisateurs doivent être sûrs, résistants, fiables et aptes à un travail efficace dans les conditions pratiques sur le terrain.
Ils doivent être fabriqués dans des matériaux résistants qui excluent toute possibilité de détérioration pendant le travail au champ, détériorations dont les conséquences affecteraient performance et sécurité à cause de problèmes de corrosion, de rouille, de déformation, ou d'usure prématurée.
Pour obtenir le label "Agréé par la FAO", les pulvérisateurs doivent répondre aux exigences suivantes:
1.1 Les éléments des pulvérisateurs doivent être fixés au véhicule porteur ou tracteur de manière sûre. VERIFIER
1.2 Tous les axes de commande doivent être protégés de manière à ce qu'aucune des parties en mouvement ne soit exposée. VERIFIER
1.3 Tous les éléments qui peuvent causer des blessures, par exemple le système d'articulation de la rampe ou le mécanisme de réglage de la hauteur, doivent être équipés de dispositifs de sécurité là où c'est possible. Quand l'élément en question ne le permet pas, le danger doit être signalé de manière claire et appropriée sur le pulvérisateur VERIFIER
1.4 Toutes les poignées ou points d'appui ne doivent pas être placées à moins de 300 mm d'un point d'articulation. MESURER
1.5 Les raccordements hydrauliques pour l'huile doivent être conçus de manière à limiter les fuites à 2,5 ml maximum pour chaque opération de branchement et de débranchement à une pression de 175 bars. CONTROLER
Les fuites doivent être mesurées à la pression de travail maximale à chaque fois que l'appareil est branché ou débranché, au moyen d'un coton propre et absorbant dont le poids est connu. Le total de fuites est mesuré par différence de poids.
1.6 Les pulvérisateurs dont la capacité de réservoir est de 1.000 litres ou plus doivent être équipés avec un système de remplissage pour l'eau et les produits chimiques placé à faible hauteur. Quand le remplissage se fait manuellement, il doit être possible d'ajouter les produits chimiques et l'eau dans le réservoir, l'utilisateur étant placé soit sur le sol, soit sur une plate-forme de 0,5 m2 au minimum spécialement conçue. MESURER
1.7 Quand les pulvérisateurs sont équipés d'une plate-forme, elle doit avoir un plancher antidérapant et des barrières de protection. VERIFIER
1.8 La distance des points à atteindre verticalement depuis le sol ou la plate-forme ne doit pas excéder 1,0 m et il doit y avoir une zone libre de tout obstacle de 0,3 m horizontalement autour de la plate-forme MESURER
1.9 Le système de remplissage du réservoir du pulvérisateur doit permettre un remplissage facile en toute sécurité jusqu'à la limite maximale prescrite sans débordement ni éclaboussures. CONTROLER
1.10 Le pulvérisateur ne doit pas avoir de fuites au delà des limites permises dans n'importe quelles conditions de travail et à n'importe quel niveau de débit et de pression recommandés. PROCEDURE DE CONTROLE 1
1.11 Toutes les parties extérieures du pulvérisateur doivent être conçues de manière à ce que la bouillie ne puisse être retenue à la surface de l'appareil et que les résidus chimiques accumulés puissent être facilement lavés selon une procédure pratique de nettoyage indiquée dans le manuel d'entretien (voir paragraphe 1.16). VERIFIER
1.12 Quand le pulvérisateur est vide après un travail de pulvérisation normal, la quantité de bouillie restant dans l'appareil (pas seulement le réservoir) ne doit pas excéder 2% du volume du réservoir, ou 30 litres. PROCEDURE DE CONTROLE 6
1.13 Il ne doit pas y avoir d'angles aigus, de surfaces abrasives ou de parties saillantes qui pourraient blesser l'utilisateur. VERIFIER
1.14 Quand il s'agit d'un pulvérisateur traîné, il doit rester d'abord stable lorsqu'on le détache. Il doit rester debout quand il est stationné sur une pente jusqu'à 10% et orienté dans n'importe quelle direction et ce quel que soit le niveau de remplissage du réservoir. CONTROLER
1.15 Les réglages du pulvérisateur, les consignes de maintenance, la vidange et le nettoyage doivent être facilement réalisés sans avoir besoin d'outils spéciaux (des outils spécialement conçus pour le pulvérisateur contrôlé). VERIFIER
1.16 Les fabricants doivent fournir un manuel d'instructions clair, simple et illustré, dans la langue du pays où il a été fabriqué, et en Français, en Anglais ou en Espagnol (langues officielles de la FAO).
L'agrément ne sera donné que si le manuel d'instructions est dans la langue utilisée dans le pays où le pulvérisateur est vendu. VERIFIER
1.17 Le manuel d'instruction doit présenter les procédures pour :
· le montage initial de l'appareil ;
· l'identification de toutes les pièces de rechange accompagnées d'une vue éclatée de l'ensemble ;
· le réglage et le calibrage de l'appareil ;
· minimiser la quantité de pesticides dilués qui doit être jetée ;
· le nettoyage et la décontamination, comment disposer ensuite des eaux de lavage ;
· les consignes de maintenance.
VERIFIER
Il doit également fournir des informations sur:
· la manipulation sans risques des pesticides non dilués, le mélange de produits chimiques, le remplissage de la cuve et comment se débarrasser des excès de bouillie et des emballages vides de pesticides ;
· le débit des buses et la qualité de la pulvérisation (voir paragraphe 10.1) ;
· la taille maximale des buses et la pression à utiliser dans le pulvérisateur ;
· les précautions à prendre pour réduire les risques de contamination de l'utilisateur et de l'environnement ;
· les procédures pour une utilisation précise sur le terrain ;
VERIFIER
1.18 Le pulvérisateur doit être marqué clairement et durablement pour indiquer les nom et adresse du fabricant, le nom du pulvérisateur, le modèle et l'année de sa fabrication. VERIFIER
1.19 Le fabricant doit pouvoir prouver au Centre de Contrôle, qu'un système fonctionnel a été mis en place au niveau de l'usine pour enregistrer les caractéristiques du pulvérisateur testé (modèle, année, etc...) de manière à ce que les pièces de rechange puissent être fournies pour une période minimum de cinq ans après la date de fabrication. VERIFIER
1.20 Les commandes de contrôle doivent être clairement affichées et facilement atteintes par l'utilisateur en position normale de travail. VERIFIER
1.21 Tous les éléments du pulvérisateur qui entrent en contact direct avec les produits de pulvérisation, doivent être fabriqués dans des matériaux non-absorbants qui ne doivent pas être affectés par les composants chimiques des pesticides agréés. PROCEDURE DE CONTROLE 2
1.22 Toutes les parties du pulvérisateur qui sont exposées à la lumière du jour doivent être fabriquées dans des matériaux non dégradables sous une exposition continue aux U.V. VERIFIER
1.23 Le pulvérisateur porté par un tracteur approprié doit être construit pour supporter un travail au champ de 1.000 heures simulé sur un "tapis roulant" (avec le circuit de pulvérisation fermé et les rampes doivent en position normale de travail) et pouvoir encore répondre aux autres exigences présentées dans ce module. Les consignes de maintenance doivent être appliquées normalement. CONTROLER
Les réservoirs des pulvériseurs
Il y a souvent plusieurs réservoirs ou assimilés adaptés au pulvérisateur:
· la cuve principale qui contient l'eau de pulvérisation ou une solution diluée de pesticide ;
· un réservoir pour le rinçage contenant de l'eau propre pour permettre de laver l'intérieur du réservoir et les circuits de pulvérisation ;
· un réservoir d'eau propre (lave-mains) pour le nettoyage ou la décontamination des utilisateurs,
· une trémie d'incorporation (ou un bac) pour la réception du produit chimique brut pour aider à faciliter son transfert vers le réservoir principal.
Pour pouvoir être agrée par la FAO, un pulvérisateur doit être équipé avec une cuve principale de pulvérisation et un réservoir d'eau propre de lavage pour les personnes qui obéissent respectivement aux exigences des modules 2 et 3.
Les pulvérisateurs ayant une cuve d'une capacité égale ou supérieure à 1.000 litres doivent être équipés d'un trémie d'incorporation et d'un réservoir de rinçage qui doivent répondre aux exigences des modules 13 et 14.
2.1 Les cuves à bouillie doivent être construites de façon à avoir durablement une bonne résistance mécanique. PROCEDURE DE CONTROLE 3
2.2 Les ouvertures des cuves doivent être équipées de couvercles hermétiques attachés de manière permanente à la cuve. VERIFIER
2.3 Les couvercles doivent être équipés d'un système de fermeture mécanique qui peut être actionné par l'utilisateur portant des gants (les gants qui sont utilisés ici et mentionnés ailleurs dans ce texte doivent toujours être d'une épaisseur minimale de 0,5 mm).
2.4 Les ouvertures des cuves qui font plus de 400 mm de diamètre, ou quand ils sont rectangulaires plus de 400 mm x 300 mm, doivent être équipés avec une grille qui ne peut être enlevée sans outils. VERIFIER
2.5 Les ouvertures des cuves qui peuvent être utilisées pour le remplissage doivent être équipées d'un filtre dont la taille des mailles ne dépasse pas 1,0 mm. MESURER
2.6 Les filtres des cuves doivent facilement pouvoir être retirés et replacés par une personne portant des gants (voir paragraphe 2.3 concernant les gants). VERIFIER
2.7 Les filtres doivent être bien fixés et ne doivent pas bouger pendant le remplissage. L'espace entre le filtre et le logement de la cuve ne doit pas dépasser la taille des mailles du filtre (1 mm). MESURER
2.8 Les cuves du pulvérisateur doivent clairement et durablement indiquer le niveau de remplissage maximum qui ne dépasse pas 95% du volume total. MESURER
2.9 Le pulvérisateur doit être équipé d'un système d'indication du niveau du liquide dans la cuve de pulvérisation. VERIFIER
Le système d'indication du niveau de liquide est constitué par une échelle divisée en intervalles dont la valeur ne dépasse pas 20% du volume de la cuve. Les subdivisions doivent avoir une précision au moins égale à 1,5% du volume total du réservoir. CONTROLER
Il faut remplir la cuve de pulvérisation avec de l'eau et vérifier l'échelle à 5 volumes différents entre 10 et 80% de sa capacité avec un compteur d'eau ou en pesant le pulvérisateur.
2.10 Le système d'indication de niveau du liquide doit être clairement visible par l'utilisateur quand il conduit et pendant le remplissage. VERIFIER
2.11 Pour faciliter le nettoyage des cuves de pulvérisation, les surfaces intérieures et extérieures doivent avoir un niveau de polissage supérieur à ry = 100
m (mesure de rugosité) MESURER
2.12 La cuve doit comporter un système pratique et sûr pour permettre de récupérer la bouillie pendant la vidange puis de la jeter en respectant les règles de sécurité. VERIFIER
2.13 Le volume de liquide restant dans la cuve après qu'il ait été égoutté ne doit pas dépasser 1,5% du volume maximal recommandé du réservoir, ou 5 litres. MESURER
2.14 La pression dans la cuve ne doit pas différer de la pression atmosphérique de plus de 0,3 bar dans n'importe quelles conditions de travail.
CONTROLER Ce contrôle doit être conduit en utilisant un manomètre ou une jauge de pression raccordé par un tuyau positionné de façon à mesurer la pression dans le haut de la cuve. Le contrôle doit être conduit avec le couvercle hermétiquement fermé.
2.15 La cuve doit être équipée d'un système d'agitation qui doit satisfaire aux exigences de la PROCEDURE DE CONTROLE 4. La seule exception à cette exigence est quand le pulvérisateur est conçu pour être utilisé avec un système de contrôle dans lequel l'eau et les pesticides concentrés sont contrôlés d'une manière indépendante. VERIFIER
3.1 Le réservoir de lavage des utilisateurs, les tuyaux et les contrôles qui lui sont associés ne doivent contenir que de l'eau propre et doivent être totalement isolés des circuits du pulvérisateur qui contiennent des produits chimiques. VERIFIER
3.2 Le réservoir lave-mains doit contenir un volume minimum de 15 l. VERIFIER
3.3 Il doit être bien fixé au pulvérisateur. VERIFIER
3.4 Il doit être construit dans des matériaux qui ne rouillent pas ou ne se corrodent pas de manière à ne pas contaminer l'eau. VERIFIER
4.1 A vitesse de rotation nominale la pompe doit avoir une surcapacité d'au moins 20% pour alimenter correctement toutes les buses de la plus grande taille à la pression maximale recommandées afin de tenir compte des tolérances sur les buses et d'assurer l'agitation dans le réservoir. CONTROLER
4.2 Il doit être possible de retirer la pompe du pulvérisateur sans avoir à vider les réservoirs.
VERIFIER
4.3 La pompe doit indiquer les éléments suivants:
- le débit maximal et la pression à utiliser ;
- les vitesses de rotation nominale et maximale recommandées ;
- le nom et l'adresse du fabricant ;
- le modèle, le type et l'année de fabrication.
VERIFIER
5.1 Les pulvérisateurs équipés de pompes qui fonctionnent à l'aide de valves doivent être équipés d'un filtre du côté de l'aspiration dont les mailles ont une dimension maximale de 0,5 mm. MESURER
5.2 Tous les pulvérisateurs devraient être équipés d'un filtre, du côté sous pression dont la taille des mailles ne dépasse pas 0,5 mm. MESURER
5.3 Les filtres des circuits doivent avoir une surface totale suffisamment grande pour permettre le passage du débit maximal recommandé le filtre étant à moitié bouché sans que cela augmente la pression dans la pompe de plus de 10%. MESURER
5.4 Tous les filtres doivent être facilement accessibles pour permettre leur nettoyage et leur maintenance. VERIFIER
5.5 Il doit être possible de nettoyer tous les filtres sans avoir à vider les réservoirs. VERIFIER
5.6 Tous les tuyaux montés sur le pulvérisateur doivent supporter un taux de pression égal ou supérieur au taux de pression maximum recommandé, plus 50% (voir paragraphe 5.1). VERIFIER
5.7 Tous les tuyaux doivent être marqués pour indiquer le taux de pression maximum. VERIFIER
5.8 Ils doivent être disposés de manière à ce que l'utilisateur ne puisse être souillé en cas de rupture. Les tuyaux ne doivent pas traverser la cabine du véhicule. Quand il n'y a pas de cabine, les tuyaux placés près de l'utilisateur doivent être isolés pour prévenir les risques de souillure en cas de rupture. VERIFIER
5.9 Les tuyaux utilisés pour le remplissage des pulvérisateurs doivent être équipés d'un filtre dont la dimension des mailles n'excède pas 1 mm. MESURER
5.10 Les tuyaux doivent être installés de telle manière qu'il n'y ait pas de plis ni de torsions qui puissent réduire le calibre du tuyau. VERIFIER
5.11 Les raccords de tuyaux doivent être facilement ajustables avec des outils standards par une personne portant des gants (voir paragraphe 2.3 concernant les gants). Ils doivent pouvoir être remis en place sans fuites ni modification des performances. VERIFIER
6.1 Tous les pulvérisateurs doivent être équipés de soupapes de sécurité pour éviter les surpressions dans n'importe quelle partie du pulvérisateur quand la pression dépasse de 20% la pression maximale recommandée par le fabricant. MESURER
6.2 La soupape de sécurité doit être conçue de telle manière qu'elle renvoie la bouillie vers le réservoir principal quand elle est sollicitée. VERIFIER
6.3 Le pulvérisateur doit être équipé de valves pour identifier la pression d'alimentation de la bouillie à l'intérieur de chaque section de la rampe. VERIFIER
6.4 Quand on fait fonctionner l'alimentation à des sections de la rampe, selon des combinaisons variées, le débit mesuré à n'importe quelle buse (avec la plus grande taille de buses recommandée) ne doit pas varier de plus de 5% par rapport à la pression nominale. MESURER
6.5 Le débit d'une section de rampe doit être stabilisé dans les dix secondes qui suivent sa mise en service. PROCEDURE DE CONTROLE 5
6.6 Le pulvérisateur doit être équipé d'une seule commande de contrôle d'alimentation "marche-arrêt" qui alimente les différentes sections de la rampe. VERIFIER
6.7 Des vannes doivent être incorporées aux circuits du pulvérisateur pour réduire les pertes de bouillie aux buses d'une section de rampe qui a été fermée. La fuite maximale au niveau d'une buse ne doit pas dépasser 2 ml pour une période de 5 minutes commençant 8 secondes après que la rampe ait été fermée. MESURER
6.8 L'ajout de vannes anti-fuites sur les tuyaux d'alimentation des buses ne doit pas réduire le débit de plus de 2,5% en travaillant avec la plus grande taille de buses recommandée par le fabricant. MESURER
6.9 Un clapet anti-retour doit être installé sur le pulvérisateur pour empêcher le retour de liquide par siphonnage pour le remplissage de la cuve et du réservoir de rinçage. CONTROLER
6.10 Les pulvérisateurs conçus pour être utilisés avec des buses à pression hydraulique doivent être équipés de jauges de pression qui soient clairement visibles par l'utilisateur en position de travail. Dans le cas d'un cadran de lecture analogique, celui-ci devra avoir un diamètre minimum de:
· 63 mm s'il est à porté de main de l'utilisateur quand il est en position de travail ;
· 100 mm dans tous les autres cas.
Les autres formes de lectures (digitale par exemple) doivent être clairement visibles. VERIFIER
6.11 L'indicateur de pression doit assurer une lecture stable. VERIFIER
6.12 La jauge de pression doit être calibrée pour une précision de � 0,2 bars pour les jauges jusqu'à 10 bars et de � 0,5 bars pour des pressions plus fortes. MESURER
6.13 Les écarts dans le circuit de pression doivent être aussi de 0,2 bar pour les jauges jusqu'à 10 bars et de 0,5 bar pour des pressions plus fortes. MESURER
6.14 Quand la jauge de pression est installée dans le cabine du tracteur, son logement doit être isolé de la bouillie de manière à ce que l'utilisateur ne soit pas souillé en cas de défaillance et de fuite. VERIFIER
7.1 Les rampes doivent être construites de manière rigide de telle sorte que les buses soient placées à la même hauteur dans les 50 mm au dessus de la cible. MESURER
7.2 Les tronçons de la rampe doivent être équipés de tuyaux et de valves indépendants de façon à pouvoir y contrôler individuellement l'alimentation de la bouillie. VERIFIER
7.3 La hauteur de la rampe au-dessus du sol doit être réglable avec une marge minimale d'un mètre. MESURER
7.4 La force nécessaire pour régler la hauteur de la rampe ne doit pas excéder 250 N.
VERIFIER
7.5 Un système de sécurité doit être installé avec le mécanisme de réglage de la hauteur afin d'éviter une chute de la rampe de plus de 0,2 m causée par une défaillance du mécanisme. CONTROLER
Pour les systèmes manuels il s'agit d'un mécanisme anti-chute qui se ferme automatiquement.
VERIFIER
7.6 Pour les systèmes assistés, le pulvérisateur sera équipé soit:
· avec un mécanisme anti-chute qui se ferme automatiquement ou ;VERIFIER
· avec une butée qui limite la hauteur de la rampe à un minimal de 0,5 m au dessus du sol. MESURER
7.7 Le réglage de la hauteur de la rampe en dessous de 0,5 m ne doit être possible qu'en cas de déblocage manuel de la butée de sécurité. VERIFIER
7.8 Tous les systèmes de réglage de la hauteur de la rampe doivent être équipé d'un mécanisme de blocage. VERIFIER
7.9 Les pulvérisateurs dont la rampe dépasse 10 m de large doivent être équipés d'un mécanisme qui isole la rampe des mouvements du véhicule dans sa progression. Le mécanisme de suspension de la rampe doit être conforme avec les exigences de la PROCEDURE DE CONTROLE 9.
7.10 Les déplacements brutaux du véhicule doivent être amortis de façon à protéger la rampe. Quand la rampe est en position de travail et que le véhicule est arrêté il doit être possible de déplacer horizontalement les extrémités de la rampe sur une distance de 20 mm pour chaque mètre de rampe sans que cela la déforme. VERIFIER
7.11 La rampe doit être équipée à ses extrémités d'un système d'escamotage pour 10% de sa longueur pour le cas où elle buterait sur un obstacle fixe en cours d'avancement afin d'éviter des dégradations sur la rampe elle-même ou n'importe quelle partie du pulvérisateur. Après avoir frappé l'obstacle la partie escamotable doit se remettre automatiquement et rapidement dans sa position de travail initiale.
CONTROLER Ce contrôle doit être effectué à une vitesse d'avancement de 2,5 m/s.
7.12 Quand les rampes sont pliées pour le transport, les tronçons ne doivent pas:
· gêner l'accès au poste de conduite. VERIFIER
· avoir les buses placées au-dessus de l'accès aux postes de travail sauf si une protection est installée pour éviter que les produits de pulvérisation ne tombent sur le conducteur. VERIFIER
7.13 Les différents tronçons de rampe doivent être équipés d'un mécanisme de blocage en position de transport. VERIFIER
7.14 Pour réduire le risque de contact avec des câbles électriques aériens pendant les opérations de pliage aucune partie du pulvérisateur ou de ses rampes ne doit dépasser une hauteur de 5 m au-dessus du sol. MESURER
7.15 Les pulvérisateurs dépassant une hauteur de 3,5 m au-dessus du sol doivent être équipés de signaux avertisseurs indiquant le danger potentiel dû à la présence de câbles. Ces signaux doivent être clairement visibles et facilement compréhensibles par l'utilisateur. VERIFIER
7.16 Les rampes doivent être conçues de manière à ce que les buses soient protégées des dommages qui pourraient résulter d'un contact avec le sol. VERIFIER
7.17 Les pulvérisateurs à rampes conçus pour fonctionner avec assistance de l'air (jet porté) doivent obéir à toutes les recommandations données dans les paragraphes 7.1 à 7.12. De plus, les fabricants de ce type de pulvérisateur doivent inclure dans le manuel d'utilisation (voir paragraphe 1.15) :
· les détails concernant la vitesse de l'air pour les différentes conditions d'utilisation incluant celles où il n'y a pas besoin d'air. VERIFIER
· les procédures de maintenance spécifiques concernant la production d'air et sa distribution. VERIFIER
7.18 Quand un ventilateur est utilisé pour générer les flux d'air, le pulvérisateur doit obéir aux recommandations du Module 9. VERIFIER
Ce module couvre les structures de rampes pour les pulvérisateurs à jet porté pour les vergers et les plantations.
8.1 La rampe doit être conçue pour permettre le contrôle de la quantité de bouillie pulvérisée indépendamment de chaque côté du pulvérisateur. VERIFIER
8.2 La rampe doit être fixée au pulvérisateur de manière rigide. VERIFIER
8.3 Quand la rampe est conçue pour être utilisée dans différentes positions en relation avec le courant d'air, des instructions claires et détaillées doivent figurer dans le manuel d'utilisation (voir paragraphe 1.15) décrivant les réglages pour un travail effectif dans les différentes conditions de temps et de cultures. VERIFIER
8.4 Quand les systèmes sont conçus pour travailler sans l'assistance d'air, des informations détaillées doivent être jointes au manuel d'utilisation décrivant installer le pulvérisateur pour traiter différents types de cibles. VERIFIER
9.1 La commande du ventilateur doit pouvoir être coupée sans que cela n'affecte le mécanisme de circulation et d'agitation de la bouillie dans le pulvérisateur. VERIFIER
9.2 L'entrée dans le ventilateur doit être conçue et positionnée de telle manière qu'à débit d'air maximal, aucun débris ne puisse être entraîné à l'intérieur. VERIFIER
9.3 La partie la plus basse de l'entrée du ventilateur ne doit pas être située à moins de 25 cm du sol. MESURER
9.4 Le ventilateur doit être protégé de façon adéquate et permanente et quand il y a des grilles la dimension minimum des mailles doit être de 25 mm au maximum. MESURER
9.5 Quand le pulvérisateur des véhicules automoteurs équipés d'une cabine fonctionne au débit d'air maximum, le volume sonore ne doit pas dépasser 90 décibels aux oreilles de l'utilisateur. MESURER. NB : Ce niveau sonore est situé plus haut que pour certains équipements portatifs en tenant compte du fait qu'un tel engin permet vraisemblablement à l'utilisateur d'être exposé moins longtemps au bruit.
Quand le pulvérisateur est équipé ou fourni avec des buses hydrauliques; il est de la responsabilité du constructeur de s'assurer que les buses recommandées et fournies avec l'appareil sont conformes aux exigences suivantes, même si ces informations doivent normalement provenir du fabricant des buses.
10.1 Le fabricant du pulvérisateur doit indiquer dans le manuel d'instruction (voir paragraphe 1.17), des informations sur :
· le taux de débit des buses à des pressions de 2, 3 et 4 bars ;
· la qualité de la pulvérisation (exprimée selon la distribution des dimensions des gouttelettes), produite par le débit de la buse à une pression de 2, 3 et 4 bars. PROCEDURE DE CONTROLE 7
· les caractéristiques d'application de la bouillie (forme et angle) à des pressions de 2, 3 et 4 bars ;
· quand l'utilisation d'une rampe est recommandée pour obtenir un volume de distribution uniforme de la bouillie au niveau de la cible, il faut spécifier la hauteur et l'espacement des buses ;
· une procédure de contrôle pour déterminer quand les buses sont usées et doivent être remplacées. La méthode doit déterminer si les buses dépassent de 10% le niveau de débit spécifié pour une pression recommandée par le fabricant et donc qu'il faut les remplacer.
VERIFIER
NB: Les informations sur les points énoncés ci-dessus sont fournies par le fabricant du pulvérisateur et sont vérifiées par le Centre de Contrôle.
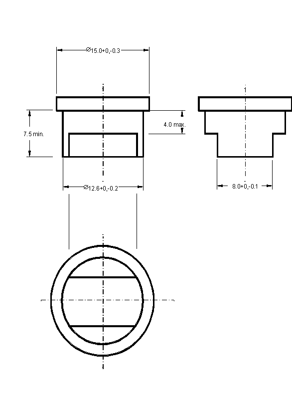
10.2 Les dimensions extérieures des buses doivent être conformes aux indications de la Figure 5. MESURER
10.3 Le débit d'une buse doit se situer au débit nominal � 5% à toutes les pressions spécifiées. MESURER
10.4 Le débit des buses qui équipent une rampe et qui ont le même code d'identification (qui prétendent par exemple avoir les mêmes caractéristiques) ne doit varier qu'entre � 10% par rapport au débit nominal à toutes les pressions spécifiées. MESURER
10.5 Pour les buses à pression de liquide formant un motif de pulvérisation en forme d'éventail plat (buses à fente) la caractéristique de leur distribution doit répondre aux exigences de la PROCEDURE DE CONTROLE 8.
10.6 Pour les buses à fente, le système de fixation doit inclure un moyen permettant une orientation correcte de la buse à l'intérieur du support. VERIFIER
Cet équipement pulvérise par l'alimentation sous pression de la bouillie et de l'air à travers un corps de buse.
Quand le pulvérisateur est équipé ou fourni avec ces buses; il est de la responsabilité du constructeur de s'assurer que les buses recommandées et fournies avec l'appareil sont conformes aux exigences suivantes, même si ces informations doivent normalement provenir du fabricant des buses.
11.1 Les pulvérisateurs sur lesquels ces buses sont montées doivent posséder des équipements de mesure séparés pour contrôler indépendamment les alimentation de bouillie et d'air. VERIFIER
11.2 Le fabricant doit indiquer dans le manuel d'utilisation (voir paragraphe 1.15):
· les niveaux de pression et de débit pour lesquels le pulvérisateur est conçu;
VERIFIER
· le débit et la qualité de pulvérisation, selon la PROCEDURE DE CONTROLE 7, qui peuvent être obtenus suivant des pressions définies d'air et de liquide à la buse ;
VERIFIER
· les recommandations spécifiques pour la maintenance des buses ; VERIFIER
· les instructions spécifiques pour l'utilisation des buses. VERIFIER
11.3 Le débit des buses qui fonctionnent sur une rampe ne doit pas varier de plus de 5%. MESURER
Quand le pulvérisateur est équipé ou fourni avec ces éléments; il est de la responsabilité du constructeur de s'assurer que les pièces recommandées et fournies avec l'appareil sont conformes aux exigences suivantes, même si ces informations doivent normalement provenir du fabricant des buses.
12.1 En complément des recommandations (voir paragraphe 10.1) le fabricant doit fournir des informations avec le manuel d'utilisation (voir paragraphe 1.15) concernant:
· les vitesses et les réglages spécifiques pour les principales cultures et les conditions de travail au champ ; VERIFIER
· la qualité de la pulvérisation qu'on doit pouvoir obtenir, selon la PROCEDURE DE CONTROLE 7. VERIFIER
12.2 Le générateur de pulvérisation doit être apte à fonctionner en continu pendant 50 heures et ce à vitesse maximale, sans que cela nécessite de travaux de maintenance. CONTROLER
12.3 Le débit et la vitesse de rotation des unités montées sur une rampe ne doivent pas varier de plus de 5%. MESURER

Figure 5 : Dimensions extérieures des buses (en mm selon les normes ISO)
AVERTISSEMENT
Les modules suivants sont essentiels pour que les pulvérisateurs dont la cuve a une capacité égale ou supérieure à 1.000 litres pour obtenir le label "Agréé par la FAO". Ils doivent répondre aux exigences suivantes.
La trémie est un récipient où les produits chimiques bruts peuvent être versés et manipulés commodément et sans danger. L'eau est ensuite introduite à l'intérieur pour dissoudre ou diluer les pesticides et pour les transférer à l'intérieur du circuit hydraulique du pulvérisateur.
Quand le pulvérisateur est équipé ou fourni avec une trémie d'incorporation; il est de la responsabilité du constructeur de s'assurer qu'elle est conforme aux normes, même si ces informations doivent normalement provenir du fabricant des buses.
Pour obtenir le label "Agréé par la FAO", la trémie d'incorporation doit répondre aux exigences suivantes (basées sur la norme britannique BS 6356 Pt 8):
13.1 Elle doit être conçue pour recevoir toutes sortes de pesticides formulés de manière à être mélangés à l'eau qu'ils soient liquides, en poudres, en granulés ou en sachets solubles. VERIFIER
13.2 La trémie doit pouvoir contenir un volume minimum de 15 l. MESURER
13.3 Elle doit avoir un système d'indication qui montre clairement le niveau maximum contenu qui ne doit pas dépasser 95% de son volume total. MESURER
13.4 La trémie doit être fournie avec un couvercle qui lui est attaché. VERIFIER
13.5 L'ouverture de remplissage de la trémie doit avoir une dimension minimale de 250 mm.
MESURER
13.6 L'ouverture par laquelle les produits chimiques sont introduits doit être placée à une hauteur de 0,5 à 1 m à partir du sol. MESURER
13.7 Il doit y avoir une zone dégagée (c'est à dire vide de tout obstacle) d'environ 500 mm de large comme indiqué sur le schéma de la Figure 6. MESURER
13.8 La trémie doit être équipée d'un système permettant de nettoyer les emballages de pesticides de telle sorte que moins de 0,01% de produit reste à l'intérieur selon une procédure définie.
13.9 Tous les éléments de la trémie doivent être fabriqués dans des matériaux adaptés à son utilisation conformément aux recommandations indiquées au paragraphe 1.20. VERIFIER
13.10 Toutes les instructions concernant l'utilisation de la trémie doivent être indiquées clairement et durablement sur le pulvérisateur ou sur elle-même. VERIFIER
13.11 Le fabricant doit fournir un mode d'emploi clair concernant la trémie avec des instructions illustrées comme il est spécifié dans les paragraphes 1.14 et 1.15. VERIFIER
13.12 Le manuel d'utilisation doit aussi donner des précisions sur:
· le type et la taille des emballages (boite, sachet, etc...) des pesticides avec lesquels la trémie est supposée fonctionner ;
· les instructions claires, simples et illustrées concernant la sécurité et l'installation de la trémie sur le pulvérisateur sans que l'emploi d'outils spéciaux soit nécessaire ;
· les instructions concernant le réglage des débits et sur tout autre besoin spécifique ;
· l'identification des pièces de rechange ;
· les procédures de nettoyage appropriées.
VERIFIER
14.1 Ce réservoir doit être conçu et incorporé au pulvérisateur de manière à ce qu'il ne puisse pas être utilisé pour le nettoyage des personnes. VERIFIER
14.2 La capacité de ce réservoir doit être au moins égale à 10 % de la capacité du réservoir principal. MESURER
15.1 Quand les fabricants installent des casiers de rangement de vêtements, ils doivent en prévoir deux: un pour le rangement des vêtements propres et le deuxième pour les vêtements souillés. VERIFIER
15.2 Ils doivent être placés aussi loin que possible du point de remplissage du pulvérisateur.
VERIFIER
15.3 Leurs dimensions minimales doivent être de 450 x 450 x 300 mm. MESURER
15.4 Ils doivent clairement et durablement indiquer:
· la nature du casier: "propre" ou "sale"
· une mise en garde contre le rangement de produits chimiques à l'intérieur.
VERIFIER

Figure 6 : Zones libres autour de la tr�mie d'incorporation (en mm)(selon la norme Britannique BS 6356 Pt 8)