Ownership patterns
Movement
General management
Management case studies
The numbers of households and people who own cattle, as well actual numbers owned, vary between the rice and the mines subsystems. The farming system practiced is also reflected in the ownership of farm equipment. In Table 7, some of these differences are shown for the two subsystems in central Mali. The higher percentages evident for rice farmers result partly from a readier access to credit through the parastatal irrigation scheme, the Office du Niger.
Ownership patterns established from official statistics give only a general idea of the variations in numbers of people owning livestock and of the importance of the animals in the whole system. In the Niono area the Office du Niger carries out its own 'census' of animals within the irrigated perimeter. Its figures are additional to the official administrative census and there is seldom any relationship between the two. Our own observations have shown that the Office du Niger has no apparent interest in small ruminants, and these classes of stock are largely ignored in their census. The figures for small ruminants are not only misleading in terms of ownership and total numbers but also in respect of the ratio of goats to sheep. In the official census, where goats and sheep are counted separately (it being evident from Table 7 that this is not always the case), individual families are usually shown to have equal numbers of each. Our own observations confirm the numerical importance of goats over sheep at a ratio of 5.4:1 in the millet subsystem and 1.4:1 in the rice subsystem. Table 8 details the ownership patterns of 43 small ruminant flocks in the Niono area censused by us.
The ownership of principal means of production, work oxen and ploughs, is also rather uneven, especially within the millet subsystem. As can be seen from Figure 17, most families own only one plough while a smaller number own pairs of oxen. It might be inferred from this that there is a tendency for a plough to be acquired before oxen, and that the hiring and renting of oxen are not uncommon practices in the area.
Some additional data relating to ownership patterns are presented in Table 9 for various ethnic groups and subsystems. It needs to be stressed that all the animals in individual ownership are rarely herded as a single unit; a family may split its herd and put a number of animals into several other groups for the purposes of day-to-day management. In the case of cattle such groups vary in size from about 50 to 200-300 head, depending on the system, the nature of the terrain and the time of year. Occasionally, bigger herds of over 500 head may be constituted. The ownership structure of such herds is usually very complex (Table 10).
The extent of movement varies with a number of factors. These include the need to keep animals away from crops during the growing season, the principal occupation of the owner, the necessity of searching out the best fodder and water resources in the dry season, and the need to escape from the Niger floodplain during the period when this is inundated.
The longest annual movements are undertaken by the Fulani who normally reside in the inundation zone. Beginning in July each year, these people make treks of 300 km to the Mema and to southeast Mauritania. The reverse journey is made in October after the short Sahel rains have stopped and the annual flood in the inundation zone begins to recede. Similar but shorter seasonal treks are made into the Seno-Mango, southeast of the floodplain, with some herds continuing south into Burkina Faso. The Moors also spend the rainy season in Mauritania and move south to Mali in the dry season. Here, they pasture their animals on the crop residues of the Bambara sedentary cultivators, providing manure in exchange for water from wells which the farmers have dug in their fields (Figure 18).
Table 7. Holdings of livestock and farm implements according to official statistics for a sample of villages in the milks and rice subsystems of central Mali.
|
Subsystem/village (No. of households)
|
Cattle |
Sheep |
Goats |
Donkeys |
Ploughs |
Carts |
|||||
|
% owning |
range in numbersa |
% owning |
range in numbers |
% owning |
range in numbers |
% owning |
range in numbers |
% owning |
% owning |
||
|
Milletb |
|||||||||||
|
|
Pogo (62) |
71.6 |
1 - 79 |
70.0 |
1 - 50 |
80.0 |
2 - 150 |
51.7 |
1 - 4 |
66.7 |
43.3 |
|
|
Kamono (10) |
100.0 |
1 - 50 |
90.0 |
5 - 60 |
80.0 |
8 - 60 |
80.0 |
1 - 2 |
80.0 |
70.0 |
|
|
Sissako (33) |
75.8 |
1 - 40 |
81.8 |
3 - 20 |
87.9 |
5 - 20 |
36.4 |
1 - 10 |
45.5 |
24.2 |
|
|
Teninzana (29) |
72.4 |
2 - 30 |
72.4 |
5 - 55 |
75.9 |
5 - 55 |
65.5 |
1 - 3 |
62.1 |
20.7 |
|
|
Siguine (21) |
80.9 |
1 - 25 |
85.7 |
2 - 35 |
85.7 |
2 - 35 |
71.4 |
1 - 2 |
57.1 |
23.8 |
|
|
Thing (40) |
75.0 |
1 - 50 |
77.5 |
2 - 66 |
75.0 |
3 - 66 |
57.7 |
1 - 22 |
60.0 |
50.0 |
|
|
Siraouma (26) |
96.2 |
1 - 12 |
0.0 |
- |
88.5 |
5 - 20 |
53.9 |
1 |
84.6 |
57.7 |
|
|
Ndebougou (114) |
53.5 |
2 - 30 |
0.0 |
- |
54.4 |
2 - 30 |
44.7 |
1 - 2 |
40.5 |
5.6 |
|
|
Ntila (62) |
38.7 |
2 - 22 |
3.2 |
2 |
38.7 |
2 - 50 |
29.0 |
1 - 3 |
27.4 |
1.6 |
|
|
Bamada (39) |
23.1 |
1 - 14 |
5.1 |
2 - 8 |
20.5 |
1 - 15 |
30.8 |
1 - 3 |
41.0 |
28.2 |
|
Riceb |
|||||||||||
|
|
N6 (35) |
85.7 |
2 - 140 |
0.0 |
- |
8.6 |
10 - 18 |
60.0 |
1 - 2 |
71.4 |
57.1 |
|
|
N9 (72) |
63.9 |
2 - 40 |
1.4 |
5 |
4.2 |
5 - 10 |
43.1 |
1 - 2 |
59.7 |
34.7 |
|
|
N5 (27) |
85.2 |
2 - 50 |
21.7 |
2 - 10 |
0.0 |
- |
48.1 |
1 - 2 |
92.6 |
48.2 |
|
|
N10 (53) |
83.0 |
1 - 38 |
0.0 |
- |
3.8 |
5 |
54.7 |
1 - 2 |
84.9 |
77.3 |
|
|
B1 (55) |
96.4 |
1 - 39 |
7.3 |
1 - 3 |
21.8 |
1 - |
70.9 |
1 - 2 |
98.2 |
67.3 |
|
|
B6 (39) |
89.7 |
1 - 15 |
33.3 |
1 - 8 |
33.3 |
1 - 8 |
69.7 |
1 |
100.0 |
54.6 |
a Nil holdings excluded for all species.b Data for the millet subsystem were taken from the administrative census; those for the rice subsystem from the Office du Niger census.
Table 8. Ownership pattern and flock sizes for small ruminants in the agropastoral system of central Mali.
|
|
Millet villages |
Rice villages |
||
|
Goats |
Sheep |
Goats |
Sheep |
|
|
Total number of flocks |
16 |
27 |
||
|
Number owning species |
16 |
7 |
26 |
15 |
|
Number owning goats only |
9 |
12 |
||
|
Number owning sheep only |
0 |
1 |
||
|
Mean flock sizea |
38.19 |
7.46 |
8.96 |
6.41 |
|
Mean flock sizeb |
38.19 |
12.56 |
9.31 |
11.53 |
|
Range in flock size |
2-91 |
0-58 |
0-23 |
0-58 |
a Irrespective of whether the holding of one or both species is nil.
b Nil holdings excluded.
Figure 17. Ownership of ploughs and oxen pairs in a central Malian village.
The animals owned by the cultivators of the Office du Niger irrigation scheme migrate over shorter distances. Except for a few work oxen, cattle in this subsystem move out of the irrigated area at cropping time. On returning to the irrigated area after the harvest, they benefit from the abundant crop residues, and certain groups, notably work oxen, may receive some special supplementary feeding. Cattle which move least are those of the rainfed millet cultivators and those owned by the urban populations in such centres as Ségou, Mopti and Niono. The latter are kept by town dwellers, including civil servants and military personnel, mainly as an investment or as a source of milk. A supply of milk for sedentary family members in other subsystems is assured by retaining a few milking cows at the homestead when other cattle go on their annual transhumance.
In the rainfed millet cropping zone sheep are managed under sedentary conditions, and seasonal movements, other than short-distance ones away from the farmed areas during the growing season, are not part of the management strategy. Some supplementary feeding is practiced either from crop residues or from cut and carried browse (especially Pterocarpus lucens) during periods of food scarcity. In the irrigated rice areas of the Office du Niger the patterns are similar but more supplementary feeding is possible on account of the greater availability of crop residues and the fodder provided by weedy regrowth in fields and on the borders of irrigation canals. Goats are more important than sheep in these primarily agricultural areas, outnumbering sheep in a ratio varying from 1.7 to 2.7:1.
A transhumant system of management - in which animals migrate seasonally but return to a fixed base is practiced by the agropastoral Fulani of the inundation zone, the Fulani of the Gourma, the Moors and some Tuareg who live close to the Niger river.
The Fulani of the inundation zone cultivate rice under the annual flood regime of the Niger. Because of the flood they are forced to move most of their sheep on to the adjacent dry areas each year. The extent of this movement can be judged from Figure 19. The Fulani also have a sophisticated system of flock stratification (Table 16) which involves leaving some sheep behind on the village mounds in the flood area to provide milk for those family members remaining to cultivate the rice. Flock sizes are large with 69% of all flocks having more than 100 head. Goats are of little importance in this system, being outnumbered by sheep in the ratio of 7:1.
Table 9. Ownership of cattle and other stock by different ethnic groups in central Mali.
|
Group/subsystem
|
No. of household
|
Average households size
|
No. (average or range) of animals owned per household |
|||
|
Cattle |
Goats and sheep |
Camels |
Donkeys |
|||
|
Bambara/sedentary, millet |
30 |
16.7 |
25.0 |
31.7 |
0.0 |
2.1 |
|
Rimaibe/sedentary, millet |
29 |
6.4 |
5.2 |
20.3 |
0.1 |
1.7 |
|
Fulani/transhumant, millet |
27 |
7.5 |
24.5 |
9.5 |
0.3 |
0.1 |
|
Fulani/professional herders |
10 |
5.0 |
1.0 |
35.0 |
0.0 |
0.0 |
|
Moora/transhumant, millet |
9 |
6 |
3-5 |
30-50 |
10-20 |
3-4 |
|
Tuarega/transhumant, millet |
- |
17 |
30-50 |
50-60 |
2-3 |
2-3 |
a From Fofana (1974).
Table 10. Structure of two cattle management units in the Niger inundation zone, by main profession of owner.
|
Profession of owner |
Structure (%) |
|
|
Herd 1 (n = 220) |
Herd 2 (n = 263) |
|
|
Professional herder |
23 |
18 |
|
Other livestock owner |
37 |
32 |
|
Cultivator |
2 |
3 |
|
'Investor' |
13 |
30 |
|
Unknown |
25 |
17 |
|
Total number of owners |
48 |
29 |
The Moors spend the rainy season in Mauritania where they cultivate small patches of bulrush millet (Pennisetum typhoides) on an opportunistic basis. They are drawn south to Mali during the dry season where fodder conditions on the open range are marginally better. The Moors have a close relationship with the settled cultivators in the areas in which they spend the dry season. This involves the cultivators' digging wells on their farmed land and offering the water to the Moors. The latter then camp on the farmed areas and their animals enrich the soil with their droppings and urine. Sheep are of relatively less importance to this group than to the Fulani of the inundation zone but still outnumber goats in the ratio of 1.6:1. Flock sizes generally exceed 80 head.
Transhumant Fulani roam over most of central Mali, following more or less fixed orbits, each one particular to its own area. Cattle are paramount to their way of life but small ruminants occupy an important subsidiary position, with sheep being outnumbered by goats in a ratio of about 1.0:1:6. The average flock size is about 25 head. Conflicts between the Fulani and settled cultivators are not infrequent towards the end of the cropping season, as Fulani cattle encroach on cultivated areas in their constant search for nourishment. On the other hand, the farmers are to, some extent dependent on the Fulani for manure and they also make use of traditional Fulani husbandry skills by having them herd their own animals. Fulani in the drier areas of the Gourma have less contact with cultivators and have wider seasonal orbits than their contemporaries in the areas where rainfall is more regular.
Some Tuareg use the Niger river as a permanent focal point and cultivate either rainfed or 'falling-flood' crops to supplement income from livestock. Most Tuareg, however, are more typically nomadic with no permanent base and with almost all their income deriving from livestock. This would include cash income from transport of, for example, salt by camels, or of grain from cultivators to the market by camels or by donkeys. Sheep are milked by this group (as they are to some extent by the Moors), the milk being conserved in times of plenty as a form of hard curd. Sheep are more important than goats to the Tuareg, the ratio being 1.4:1 and flock size about 50 animals.
Some idea of the complexity of the movement patterns as practiced by different ethnic groups in central Mali can be obtained from Table 11.
Figure 18. Pastoral cattle feeding on stubble in an agro-sylvo-pastoral system in central Mali.
Most livestock owners in developed countries would not consider the practices pursued by central Malian traditional owners to be 'management'. Nonetheless, the sum of such practices must be considered to constitute management.
Breeding in cattle or goats is not controlled, and the seasonality that occurs (Sections 7 and 11) is a result of the natural environmental conditions acting through the feed supply. Breeding control is occasionally practiced for sheep, especially by the more mobile ethnic groups: the method used is the kunan, a cord stretched from the scrotum to the prepuce, which deflects the penis at erection thus preventing intromission.
Management of young stock is practiced: young animals are not allowed out to graze until they are 3 to 4 months of age, and they are prevented from suckling when milk from their dams is required for humans (Figure 20). During this period, calves are restrained in groups by a simple individual rope halter attached to a long general line, also of rope. Lambs and kids are treated similarly or kept in the owners' houses. There is evidence (Diallo and Wagenaar, 1983) that some owners are aware of the milking capabilities of their cows and milk most heavily those cows with higher yields. Calves from such cows still grow at a faster rate than the offspring of lower-yielding cows.
The control and manipulation of the demography of the herds (Section 6) also indicates a level of management, the population structure being adjusted so that the herds or flocks are most productive under the prevailing circumstances. The seasonal movements already described in this section also constitute a carefully planned management strategy.
An example of the annual management of cattle in a sedentary village which takes in transhumant cattle during the dry season, is given in Figure 21. In such a village, it is very probable that the village-owned cattle will be herded by a professional herdsman of a different ethnic group who receives milk and possibly part of the calf crop in lieu of all or a portion of cash wages. He may also be allowed to keep one or two of his own animals in the herd.
In the agropastoral system, management at the micro-level is almost invariably comprised of herding by day (either in individually owned herds and flocks or in herding groups which are composites of several owners' animals herded on a rotational basis or by a professional herder) and close penning or individual attachment at night. In the dry season, and particularly in the upland millet areas, it is not unusual for goats (and occasionally sheep and cattle) to be unguarded during the day. The practice of not herding animals often results in considerable numbers of 'lost' animals. The numbers of lost animals vary between flocks. This is just one of the factors contributing to the great variations in overall flock productivity which will be discussed further in the relevant sections on cattle and small ruminants.
Landscape units of the Niger inundation zone and seasonal distribution of Macina sheep.
Figure 19. a) Landscape units
Figure 19. b) Seasonal distribution
Table 11. Seasonal distribution of livestock according to ownership groups.
|
Wet season grazing areas |
Dry-season grazing areas |
|||
|
Deep wells in 'Sahel' end millet areas |
Irrigated rice areas |
Delta area |
||
|
'old' burgu |
'new' burgu |
|||
|
Northern pastoral areas ('sahel') |
Maure |
Fulani without traditional rights in the delta |
Tuareg dependent |
Fulani with traditional rights in the delta |
|
Rice subsystem |
Maure dependents |
Rice farmers |
Merchants using Fulani herders |
Fulani dependents |
|
Millet subsystem |
Millet farmers |
Merchants |
Civil servants |
Fulani livestock traders |
In an agricultural village, the management of work oxen differs from that of the general herd. In the dry season, they are herded with the bulk of the village cattle on fields close to the homestead. Late in the dry season or very early in the wet season, they are withdrawn from the main herd which goes on its annual short transhumance. The oxen are then kept in the house compound at night while being allowed to continue grazing freely throughout the day, when not required for ploughing or transport purposes. Supplementary feeding is not very common (although its incidence is perhaps increasing) but some household salt, or salt of other type, may be provided during this season.
Mouton de case in the Niono area
Management of Macina sheep in the inundation zone
Almost all West African animal husbandry is of an extensive nature. Occasionally a few animals, particularly sheep, are kept under more intensive conditions. This smallholder fattening is generally known as the mouton de case system and can be defined as one in which sheep are tethered or confined near the house of the owner and receive a supplement of good-quality roughages and concentrates (Figure 22). The system uses male sheep in the main, these being selected out of the flock or specially bought for fattening over a relatively short period. It is most common where a high proportion of the population is devout Moslem, as one of the principal reasons for this fattening system is to have a sheep for slaughter (or for sale) at the annual religious festival known as Tabaski.
Figure 20. A net pouch of baobab string used to restrain calf suckling.
Figure 21. Annual pattern of cattle management in a sedentary village in central Mali.
Although this system is supposedly common, it is often difficult to distinguish between it and more extensive ones (Coulomb et al, 1980). In Chad, Dumas (1978) felt that several problems needed to be overcome before a definition of mouton de case could be finalised. In an attempt to define more precisely this special case, a specific study was undertaken. Management data were collected from five rice and six millet villages with totals respectively of 123 and 71 confined sheep.
Of the 159 and 148 households visited in the rice and mines subsystems, 39% and 24.3% respectively kept moutons de case. The differences between the subsystems just failed to be significant at the 5% level (X² = 3.43, d.f. = 1). The mean number kept per owning household was almost the same being 1.98 in the rice subsystem and 2.19 in the millet subsystem, with a considerably greater percentage of millet households owning two sheep (Figure 23).
Not all animals being fattened are confined for whole periods of 24 hours, this factor in part leading to the difficulty of defining a mouton de case. Of the 194 sheep in the 11 villages visited a total of 54 (27.8%) were not continuously tied up. There were no significant differences (P>0.05) between the rice (28.5%) and millet (26.8%) subsystems in this practice.
The relationships between the keeping of moutons de case and three other classes of stock (work oxen, all other cattle and total sheep) were also examined. Table 12 shows the regression analyses calculated on the data obtained on ownership of the other three classes of stock. Significant positive correlations were found between the keeping of moutons de case and all cattle in the rice subsystem. There were no significant correlations between the keeping of moutons de case and all cattle in the millet subsystem and total sheep kept in either subsystem.
Figure 22. A mouton de case ram in a stall in central Mali.
Not all confined sheep are kept with slaughter or sale in view. A proportion is kept for breeding, this being equivalent to 15.4% in the rice villages and 25.7% in the millet villages. The difference just failed to be significant between systems at the 5% level (X² = 3.62, d.f. = 1). Only two of the 39 sheep said to be kept for breeding, one in each subsystem, were males. No females were kept for slaughter or sale purposes. The breakdown by sex and by age of sheep kept confined for whatever period is shown in Tables 13 and 14. There were no significant differences (P>0.05) between subsystems for either sex or age distribution.
Figure 23. Ownership of moutons de case in the rice and millet subsystems
There were no significant differences (X² = 3.48, d.f. = 1, P>0.05) between the subsystems in sheep being fattened for sale - 56.7% in the rice villages and 78.4% in the millet villages - but there was a significant difference (X² = 7.14, d.f. = 1, P<0.05) in those being kept for home slaughter in the rice subsystem (40.3%) and in the mines subsystem (19.6%). The fate of the remaining 2.9% and 2.0% in the respective subsystems had not been decided at the time of the enquiry. A slight majority of all animals (59.6% and 41.2% respectively in the two subsystems) was destined for slaughter at the current year's Tabaski ceremony.
In the rice subsystem, 76.4% of confined sheep were bought compared to 38% in the millet subsystem, this difference being significant at the 5% level (X² = 6.44, d.f. = 1). Birth in the owner's flock was the reason for entry for 23.6% of sheep in the rice subsystem and 50.7% in the millet subsystem, the difference again being significant at the 5% level (X² = 9.88, d.f. = 1). In the millet subsystem, owners were unable to give the precise entry reason for 11.3% of animals.
Table 12. Regression analyses and correlations between the ownership of moutons de case and other classes of livestock.
|
System |
Class of stock |
Calculated regression |
Statistical value |
|||
|
a |
b |
d.f. |
r |
P |
||
|
Rice
|
Work oxen |
3.6 |
25.6 |
4 |
0.943 |
** |
|
All cattle |
1.8 |
31.5 |
2 |
0.979 |
* |
|
|
All sheep |
0.3 |
43.4 |
3 |
0.155 |
n.s. |
|
|
Millet
|
Work oxen |
5.7 |
20.4 |
4 |
0.926 |
** |
|
All cattle |
2.5 |
35.0 |
2 |
0.890 |
n.s. |
|
|
All sheep |
1.1 |
39.0 |
3 |
0.850 |
n.s. |
|
Notes:
a = slope, b = intercept.
**P<0.01; *P<0.05; n.s. = not significant.
Table 13. Percentage distribution of all confined sheep by sex.
|
Sex |
System |
|
|
Rice |
Millet |
|
|
Male, entire |
79.9 |
72.9 |
|
Male, castrate |
4.9 |
1.4 |
|
Female |
15.4 |
25.7 |
Table 14. Percentage distribution of confined male sheep by age group.
|
Physiological age |
System |
||
|
Rice |
Millet |
||
|
Milk teeth |
50.0 |
49.0 |
|
|
Permanent incisors |
|||
|
|
1 pair |
21.2 |
23.5 |
|
|
2 pairs |
4.8 |
7.8 |
|
|
3 pairs |
0.1 |
3.9 |
|
|
4 pairs |
0.0 |
15.7 |
|
Unknown |
24.0 |
15.7 |
|
The number of months during which male sheep (excluding animals kept for under 1 month) had been confined is summarised in Figure 24. The most common period was between 4 and 6 months in both subsystems (34.6 and 35.3% of all sheep). However, in the rice subsystem, significantly (X² = 5.97, d.f. = 1, P<0.05) more sheep (24% of all animals) were confined for a period of 7 to 9 months than in the millet subsystem (9.8%). The reverse was the case for animals confined for more than 12 months, with significantly less sheep (X² = 12.85, d.f. = 1, P<0.001) being confined in the rice subsystem (8.7%) than in the millet subsystem (39.4%).
A wide variety of green fodder roughages and crop byproducts was fed to the sheep. Seasonal availability was obviously a major factor in determining what feedstuffs were fed at any given period. It was, however, the system which had the greatest effect on the type of feed fed.
Table 15 summarises for each subsystem questionnaire responses on the agricultural byproducts and salt offered by 62 owners with 123 sheep in the rice subsystem and 36 owners with 79 sheep in the millet subsystem. Rice products were fed by a significantly greater number of owners in the rice subsystem than in the millet subsystem. The number of rice growers feeding cotton seed was also significantly greater than that of millet growers feeding it. More rice owners fed sweet potato haulm than did millet owners, although this difference was not significant. Millet, cowpea and groundnut products were fed by a significantly greater number of millet than rice-growing owners. The percentage of owners offering salt did not differ significantly between subsystems.
Figure 24. Length of confinement for moutons de case in the rice and millet subsystems.
Table 15. Percentage of owners offering different types of feed to moutons de case in the rice and millet subsystems and percentage of owners offering who buy the products.
|
Type of feed
|
Percentage of owners offering |
Percentage of those offering who buy |
|||
|
Rice subsystem (n = 62) |
Millet subsystem (n = 36) |
Rice subsystem (n = 62) |
Millet subsystem (n = 36) |
||
|
Rice (Oryza sativa) |
|||||
|
|
Straw |
27.4 |
0.0 |
0.0 |
0.0 |
|
|
Grain |
27.4 |
0.0 |
5.9 |
0.0 |
|
|
Bran |
88.7 |
17.7 |
40.0 |
100.0 |
|
Millet (Pennisetum typhoides) |
|||||
|
|
Grain |
24.2 |
77.8 |
53.3 |
10.7 |
|
|
Bran |
54.8 |
99.4 |
44.1 |
5.9 |
|
Cotton (Gossypium hirsutum) seeds |
16.1 |
5.6 |
100.0 |
100.0 |
|
|
Cowpea (Vigna sinensis) haulm |
45.2 |
75.0 |
3.6 |
0.0 |
|
|
Groundnut (Arachis hypogaea) haulm |
17.7 |
75.0 |
0.0 |
0.0 |
|
|
Sweet potato (Ipomaea batatas) haulm |
52.6 |
36.1 |
0.0 |
0.0 |
|
|
Salt |
67.7 |
83.3 |
100.0 |
100.0 |
|
With the general exception of salt and cotton seed, most other products were home produced (Table 15). Exceptions to this general statement are that all the millet farmers who fed rice bran had to buy it and a proportion of rice farmers who fed millet products also needed to buy those. These figures need to be viewed with some circumspection as feedstuffs were not bought entirely for feeding to moutons de case, and their use for fattening animals was often to the detriment of the work oxen for which much of them were primarily destined.
Feedstuffs of non-agricultural origin were also provided in both subsystems although in a much wider variety in the rice than in the millet subsystem. In the rice subsystem, in addition to grass, the leaves of a locally grown Ipomaea sp. were most commonly fed, followed by those of Khaya senegalensis (an introduced shade and timber tree whose leaves are not selected on the tree by free-ranging animals) and Pterocarpus lucens. Leaves from a further nine plant species were identified in the rice subsystem and other species were undoubtedly fed. In the millet subsystem, P. lucens was the unique non-agricultural feed offered. All feedstuffs in this category were cut and carted by family labour although there is an active commercial trade in most of these items in the Niono urban centre.
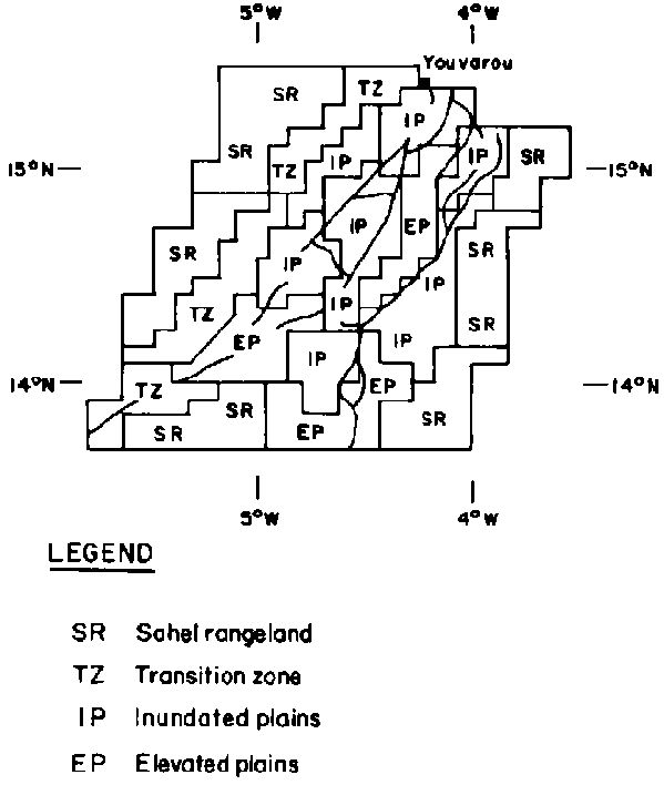
Macina sheep are managed under a transhumant system, its base being in the 'inundated' (i.e. the lower-level) plains of the inundation zone. The hydraulic regime of this zone is such that the area is under the flood waters of the Niger from late July or August through to February or March, although the southern parts of the zone begin to dry out in November or December following the retreat of flood water northwards. The majority of animals must thus leave the zone on annual migration in early July. The migration route for most of the sheep is to the north and west, where there is typical Sahelian pasture. The emigration from the inundation zone coincides with the short Sahelian rainy season so the sheep are, at least to some extent, still in conditions (green pastures and a humid climate) which are favourable to them. The extent of the seasonal movement and its intensity can be gauged from Figure 19 which shows the densities and distribution of small ruminants at the end of the rainy season, when the central zone is still inundated, and in February and March, when the floods have receded. While distances are relatively short, there is an almost total evacuation of animals from the 'inundated' plains to the 'transition' zone in the northwest and, to a lesser extent, to the 'Sahel' pastures farther northwest and to the east. This movement is paralleled by that of cattle although these animals move over much longer distances.
During the flood season some 80% of sheep are found outside both the 'inundated' and 'elevated' plains of the central zone, leaving some 50 000 head only in this area at a density of about three animals per km². These sheep are mostly on the small eminences within the floodplains on which permanent village bases are established. After the flood has fallen the situation is almost exactly reversed, with 70% of all small ruminants found on the plains at a density of 8 per km² on the elevated and 20 per km² on the inundated plains.
The Fulani shepherds recognise four seasons: indiewde, which is roughly the post-rains period of October and November; dabunde, the cold dry period from December to February; cedu, the hot dry season of March to June; and ndungu, the rainy season of July, August and September. Major movements are governed by the seasonal calendar which in itself is subordinate to the flood regime. The wet-season transhumance cycle is dictated to some extent by the needs of the sheep for a mineral supplement, which is usually provided by salt earths although salt may occasionally be bought.
The main body of sheep move back into the inundated plains at the start of the cedu, but the factors which govern the actual timing include the extent to which the pastures have dried out, the occupation of the area by cattle-owning groups who have precedence, and the whim of the 'chief shepherd' who is the elected representative of a village or area and who is usually the largest owner. For obvious reasons it was not possible to obtain much information on actual ownership patterns. Management units (flocks) in the transhumant system are usually large but some stratification is practiced. The inundation zone is a series of water meadows topographically flat, with good visibility and a dense herbage cover. There are thus advantages in maintaining large grazing groups under the responsibility of one or two herders. During the period spent in the inundation zone itself these groups are seldom composed of less than 300 head and more than 500 head is not uncommon. In an intensive ground survey, 69% of all groups in the flood zone were greater than 100 head in size and a further 23% were between 50 and 100 head. The analysis of aerial survey results showed a similar situation with some 75% of groups having more than 100 head of sheep in the 'Sahel' end 'transition' lend units during the rains. That these were mainly Macina groups was easily confirmed by the homogeneity of colouring as opposed to the varied colours of mixed flocks of hair sheep and goats.
Because of the need to ensure a constant supply of milk and meat for the family members remaining in the inundation zone during the flood season, a sophisticated system of stratification has developed. This is undoubtedly based in part on a similar system used by cattle-owning Fulani, although the terms used and the type of groupings are not generally the same. The principal characteristics of this stratification are shown in Table 16.
In 85% of cases weaning takes place at about 4 months, usually by removing the lambs to another management group. Where this is not possible the teats are blocked with dung or tied with a cord. Castration is carried out either shortly after weaning (at 6 or 7 months in 30% of cases) or at about 1 year (48%). The common practice is attrition of the cord by beating with two sticks although the open method is occasionally used. There is little or no attempt to control breeding season, but most owners (74%) thought that the main supping period was during the rains, giving rise to births in the latter part of the cold season or in the early hot season.
Shearing, if such it can be called, is done with a double-bladed knife. In general this activity can be considered the poorest of the management practices of the traditional husbandman. Individual sheep are shorn as many as four times in a year. It is perhaps worth noting that the French colonial power enacted legislation regulating the number (two) and the timing (before and after the rains) of shearings: at independence this law passed into the Malian code but, while still on the Statute Book, its existence is ignored by the owners and the responsible livestock authorities have neither the personnel nor the logistic support to enforce it. There is generally no specific period assigned to shearing nor are all sheep in one flock shorn together. There is thus a constant source of new wool for spinning and weaving by the local village industry, with supply being perhaps geared to periods when labour would otherwise not be utilised.
Table 16. Stratification of Macina flocks with demographic characteristics and management objectives of each group.
|
Flock name |
Group size
|
Use
|
Composition |
Notes |
||
|
General |
Males (%) |
Females (%) |
||||
|
Beydi |
Generally small |
Nurse flock |
Newly lambed females, ewes in advanced pregnancy, weak and aged animals |
26 |
74 |
Kept in the village; herded by infants. |
|
Tarancaradji |
Medium |
Sale/slaughter |
Largely male, generally young, with some older females |
60 |
40 |
Kept in the village, generally not herded. |
|
Njarniri |
Small |
Slaughter |
Overwhelmingly male |
95 |
5 |
Individually tied and zero-grazed; women's responsibility. |
|
Bucal |
Medium |
Milk |
Predominantly female |
25 |
75 |
Individual ownership but commonly grazed on reserved pastures by paid
herder or by family labour in rotation. |
|
Bendi |
|
|
|
|
|
Similar to bucal. Term used mainly by owners of hair sheep. |
|
Horey |
Large |
Wool/meat |
Predominantly female |
24 |
76 |
Main flocks which transhume. |